Efficiency of using heat pumps in a geothermal heat supply system
- Authors: Ogurechnikov L.A.1
-
Affiliations:
- Institute of Thermal Physics. S.S. Kutateladze SB RAS
- Issue: Vol 90, No 6 (2001)
- Pages: 10-12
- Section: Articles
- URL: https://freezetech.ru/0023-124X/article/view/105036
- DOI: https://doi.org/10.17816/RF105036
- ID: 105036
Cite item
Full Text
Abstract
Possible technical solutions in the systems of self-contained heat supply are considered. Thret technological directions are analyzed: traditional one with hot water boilers, a combined block installation containing a steam boiler and an absorption lithium-bromide heat pump, and vapor- compression heat pump equipment with electrical drive. Energy and cost efficiency of use of low- temperature energy-saving heat pump technologies in the systems of geothermal heat supply в shown. Scheme solutions on vapor-compression heat pumps allow to increase their competitiventA at the market for heat energy.
Keywords
Full Text
Как показал анализ состояния автономных систем теплоснабжения в городах и поселках городского типа России, они имеют низкую техническую и экономическую эффективность. Это стало следствием физического износа морально устаревшего водогрейного котельного оборудования малой тепловой мощности (400...700 кВт), работающего на твердом топливе с эксплуатационным КПД 50-66 %; роста отпускной цены угля примерно на 70 % за счет НДС и повышения расходов на его транспортировку от мест добычи к местам потребления (доставка железнодорожным транспортом, самовывоз грузовым автотранспортом с погрузочно-разгрузочными работами), которая сопровождается потерями до 16 % топлива. Из-за отсутствия необходимой водоподготовки питьевой воды снижается эксплуатационная надежность котлов, возрастают затраты на ремонтно-восстановительные работы и подпитку тепловых сетей вследствие открытого водоразбора. В целом себестоимость тепловой энергии, вырабатываемой такими теплосистемами, достаточно высока и составляет 12... 14 долл. США/Гкал(1 Гкал = 4,186 ГДж) в зависимости от стоимости сжигаемого угля 23...28 долл/т. Отопительный режим соответствует графику 65/52 °C.
Ранее было показано [1], что использование низкотемпературных теплонаносных абсорбционных и парокомпрессионных технологий в системах отопления и горячего водоснабжения наиболее эффективно в тех районах, где цена на топливо самая высокая, поскольку расход первичных высокопотенциальных энергоресурсов удается сократить путем вовлечения в процесс низкопотенциальных теплоносителей.
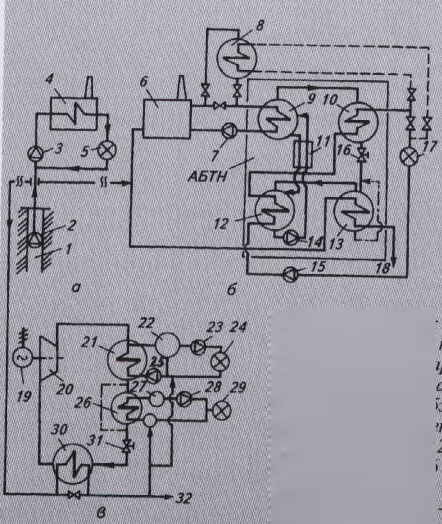
Рис. 1. Принципиальные технологические схемы выработки теплоты для систем геотермального теплоснабжения: а — водогрейная котельная установка; б — комбинированный блок; в - парокомпрессионный тепловой насос; 1 — геотермальная скважина; 2 — погружной насос скважины; 3, 7, 14, 15, 23, 25, 28 — циркуляционные, насосы; 4 - водогрейный котел; 5, 17, 2 4 - потребители систем отопления; 6 — паровой коптел; 8 — бойлер; 9 - генератор; 10 — конденсатор; 11 — теплообменник растворов; 12 - абсорбер; 13 — испаритель АБТН; 16, 31 - регулирующие клапаны; 18. 32 - вход соответственно в систему водоснабжения и реинжекционную скважину; 19 — электродвигатель; 20 - компрессор; 21 — конденсатор; 22 — бак-аккумулятор в системе отопления ТНУ; 26 - охладитель жидкости; 27 - бак-аккумулятор в системе раздельного горячего водоснабжения; 29 — потребители горячего водоснабжения; 30 —испаритель ТНУ
Рассмотрим три возможных технологических направления, связанных с техническим перевооружением автономных котельных (рис. 1):
- традиционное с заменой устаревшего котельного оборудования на современные водогрейные котлы (рис. 1, а);
- применение комбинированного блока, включающего паровой котел и абсорбционный бромистолитиевый тепловой насос (АБТН) с паровым обогревом генератора (рис. 1, б);
- использование парокомпрессионной теплонаносной установки (ТНУ) с электроприводом. Каждая из этих технологий находит применение в промышленности.
Особенность технологической схемы комбинированного блока (см. рис. 1,6) — наличие абсорбционного мистолитиевого теплового насоса (с одноступенчатой регенерацией винною раствора бромистого лития), используемого в качестве энергосберегающей приставки к паровому котлу, которая увеличивает тепловую мощность последнего в 1,6...1,7 раза. При этом тепловую нагрузку на паровой котел создает генератор теплового насоса. Работа парокомпрессионного теплового насоса совместно с баком аккумулятором рассматривается в системе отопления и горячего водоснабжения (рис. 1, в).
Низкотемпературным источником теплоты служат эксплуатируемые геотермальные скважины, где вода имеет температуру 25...35 °C. Такие источники с водой питьевого качества имеется в Новосибирской и Омской областях. Скважины предназначены для доснабжсния населенных пунктов, испытывающих дефицит пресной золы. Охлажденная на 15 °C геотермальная вода после испарителей тепловых насосов направляется в системы водоснабжения, хладоснабжения ни в инжекционную скважину.
Чтобы рассчитать капиталовложения в применяемое в рассматриваемых технологиях оборудование, были выполнены термодинамические и теплотехнические исследования для определения характеристик его элементов на основе данных отечественных фирм и заводов-изготовителей.
Эксплуатационные расходы включали: амортизационные отчисления; ремонтный фонд; фонд оплаты труда; финансовые затраты на покупку высокопотенциальных энергоресурсов (уголь, электроэнергия); затраты, связанные с использованием геотермальных энергоресурсов; общепроизводственные расходы; налоговые отчисления и прочие затраты по эксплуатации.
Методы и критерии оценки эффективности анализирусмых технических решений выбрали, как для систем с рыночными экономическими отношениями. Ставку дисконта приняли равной 8 %, исходя из зарубежной практики.
Рис. 2. Термодинамический цикл парокомпрессионного теплового насоса в Т,s-диаграмме: Q.., количество теплоты соответственно низкопотенциального геотермального источника; сжатия в компрессоре, направляемое в систему отопления и горячего водоснабжения
Расчеты проводили при следующих исходных данных:
• рассматривается закрытая система отопления при 3%-ном восполнении потерь теплоносителя от утечек;
• по всем технологическим направлениям не учитываются затраты на здание для размещения оборудования рассматриваемых установок и стоимость тепловых сетей для систем отопления и горячего водоснабжения;
• геотермальная вода для питания котлов и испарителей теплонаносных установок поднимается с глубины 140 м герметичным насосом, имеющим КПД 60 % и обеспечивающим при этом динамический напор в 27 м; непрерывная продувка парового котла (см. рис. 1, б) составляет 3 %;
• потребляемая электрическая мощность приводных механизмов определяется через эффективную мощность и КПД преобразования, равный 0,9; рабочим веществом в теплонаносной установке служит R134а.
Срок строительства объектов не превышает одного года. При определении амортизационных отчислений по теплонаносной установке использовали метод ускоренной амортизации. Для всех рассмотренных вариантов в конце последнего шага расчета экономической эффективности не учитывали реализацию активов.
Система показателей, характеризующая технико-экономическую эффективность каждого из представленных вариантов (без НДС), приведена в таблице, из которой следует, что все рассмотренные варианты экономически эффективны.
Котельная установка с водогрейными котлами характеризуется относительно низкими капиталовложениями в размере 26 тыс. долл/(Гкал/ч). Это обеспечивает высокий индекс доходности и малый срок окупаемости котельных установок при сравнительно низком дисконтированном доходе, обусловленном высокими эксплуатационными затратами на топливо, которые в полных издержках производства составляют 73 % при стоимости угля 23 долл/т.
Комбинированный блок, включающий паровой котел и понижающий термотрансформатор (абсорбционный бромистолитиевый тепловой насос), — капиталоемкое сооружение, характеризуемое удельными капиталовложениями в размере 75-80 тыс. долл/( Гкал/ч), в том числе на долю теплового насоса приходится от 48 до 54 тыс. долл/ (Гкал/ч) установленной тепловой мощности. Наличие в комбинированном блоке парового котла расчетной мощностью 0,77 Гкал/ч, обеспечивающего процесс регенерации водного раствора бромистого лития в генераторе теплового насоса, связано с необходимостью использования первичных высокопотенциальных энергоресурсов. При одинаковом энергетическом эффекте у потребителя расход высокопотенциальных энергоресурсов на 40 % ниже, чем в котельной установке, в результате использования теплоты низкопотенциальных теплоносителей. При этом собственные нужды блока, связанные с расходом электроэнергии на привод насосов, составляют 10,8 %, из которых большая часть приходится на подъем из скважины геотермального теплоносителя и его циркуляцию в испарителе абсорбционного бромистолитиевого теплового насоса.
Несмотря на значительные капиталовложения в комбинированный блок по сравнению с капиталовложениями в котельную установку, интегральный эффект от блока на 16 % выше, чем от водогрейного котла, из-за меньших эксплуатационных затрат на топливо.
Парокомпрессионные тепловые насосы характеризую такими основными факторами, определяющими их экономичность, как меньшие капиталовложения, большая эффективность процесса преобразования энергии и благоприятное соотношение цен на электрическую и тепловую энергию.
Результаты технико-экономического анализа, представленные в таблице, соответствуют моновалентному режиму работы парокомпрессионного теплового насоса. Высокая эффективность его работы в системе отопления, критерием которой является чистый дисконтированный доход в течение принятого горизонта расчета, обеспечивается вследствие большего (по сравнению с комбинированным блоком) количества пизкопотенциальной теплоты, вовлеченной в систему геотермального теплоснабжения
QнТНу=1191кВт>QнАБТН = 610кВт, где QнТНУ, QнАБТН — количество низкопотенциальной теплоты соответственно при использовании парокомпрессионного и абсорбционного теплового насоса, а также в результате наличия баков-аккумуляторов в системах отопления и горячего водоснабжения при одинаковой установленной мощности источников теплоты. Однако особенность комбинированного блока, заключающаяся в том, что расход низкотемпературного геотермального теплоносителя в нем меньше, может быть в некоторых случаях определяющей для реализации необходимой мощности при ограничениях по дебету скважины (с ухудшением экономической эффективности).
Как показали исследования, при постоянной работе компрессора в течение отопительного периода (5472 ч) парокомпрессионная теплонаносная установка обеспечивает экономию первичных энергоресурсов (Втну = 831т условного топлива). Однако при стоимости электроэнергии 2 цента за 1 кВт • ч и рассматриваемом соотношении цен на электрическую и тепловую энергию Ц э/Ц т, = 2,15 система показателей, характеризующая экономическую эффективность системы отопления парокомпрессионной теплонаносной установки, хуже, чем у котельной установки и комбинированного блока (NPV = 102 тыс. долл.).
С целью повышения конкурентоспособности парокомпрессионной теплонаносной установки на рынке тепловой энергии при опережающем росте цен на электрическую энергию по сравнению с тепловой были рассмотрены схемные решения с размещением в системах отопления и горячего водоснабжения баков-аккумуляторов [2].
Наличие охладителя жидкости (конденсата греющего пара R134а) позволяет создать систему горячего водоснабжения, с помощью которой можно снабжать потребителей горячей водой с температурой 54...55 °C в течение 3312 ч отопительного периода и привлечь дополнительно от 422 до 658 Гкал (6...9 %) теплоты (процесс d—e на рис. 2) за счет низкопотенциального источника (процесс f—m) и затрат электроэнергии на привод глубинного насоса скважины. Это привело к экономии электроэнергии на привод компрессора и группы насосов, создав возможность для их циклической работы.
Эксплуатационный режим теплонаносной установки определяется работой компрессора в течение 1 ч и работой от баков-аккумуляторов в течение 0,57 ч. При этом обеспечивается непрерывное теплоснабжение потребителей, что позволяет снизить расход топлива до минимальных значений (73 кг на выработанную 1 Гкал теплоты) и повысить экономическую эффективность парокомпрессионной теплонаносной установки, чистый дисконтированный доход от которой для тепловой мощности 1,5 М Вт и горизонта расчета 15 лет составляет 285 тыс. долл, при сроке окупаемости около 2 лет.
Расход условного топлива по каждому из рассмотренных направлений служит объективным показателем энергосбережения, и в связи с этим использование парокомпрессионных тепловых насосов является наиболее перспективным.
Во-первых, с позиций системного подхода парокомпрессионные тепловые насосы по сравнению с котельными установками позволяют максимально экономить первичные высокопотенциальные энергоресурсы (до 60 % и выше в зависимости от коэффициента преобразования энергии).
Во-вторых, выработка электроэнергии на электростанциях энерго-объединений осуществляется по прогрессивным технологиям, наиболее эффективными способами, направленными на сокращение расхода топлива при производстве электроэнергии, что создает благоприятные предпосылки для будущего развития парокомпрессионных тепловых насосов.
В-третьих, при использовании парокомпрессионных тепловых насосов обеспечивается экологическая чистота окружающей среды и сокращается объем физического труда обслуживающего оперативного персонала.
Автор выражает благодарность академику В.Е.Пакорякову и канд. экон, наук Л. С. Черному за обсуждение и финансовую поддержку этой работы.
About the authors
L. A. Ogurechnikov
Institute of Thermal Physics. S.S. Kutateladze SB RAS
Author for correspondence.
Email: info@eco-vector.com
Doctor of Engineering, Sciences
Russian FederationReferences
Supplementary files





