Refrigeration of air conditioning systems in the restored Cathedral of Christ the Savior in Moscow
- Authors: Kokorin O.Y.1
- 
							Affiliations: 
							- MGSU
 
- Issue: Vol 90, No 4 (2001)
- Pages: 27-29
- Section: Articles
- URL: https://freezetech.ru/0023-124X/article/view/105431
- DOI: https://doi.org/10.17816/RF105431
- ID: 105431
Cite item
Full Text
Abstract
In the 830s, the building of the Cathedral of Christ the Savior was blown up and the construction of a high-rise building of the Palace of Soviets began in its place.
A huge pit was dug and the metal structures of the foundation of the high-rise building were erected. At the beginning of the Great Patriotic War, construction was stopped, the metal structures were cut off and used as anti-tank barriers in the defense of Moscow. After the end of the war, the construction of the Palace of Soviets was not resumed, and an outdoor swimming pool was built on the site of the foundation pit.
In the mid-90s, with the active participation of Moscow Mayor Yu.M. Luzhkov, a decision was made to eliminate the pool and restore the Cathedral of Christ the Savior on this site. The design and architectural work on the reconstruction of the temple was led by the director of the Mosproekt-2 Institute M.M. Posokhin
Keywords
Full Text
В восстановленном основном здании храма Христа Спасителя расположен верхний храм вместимостью. До 16 000 человек. В большом котловане на глубине 14 м от нулевой метки построены: нижний храм, трапезная, Соборный зал, помещения для технических служб и инженерного оборудования.
В храме Христа Спасителя первоначальной постройки использовать воздушное печное отопление, заполнении храма прихожан (до 12 000 человек) создавались благоприятные условия потемпературе, влажности и газовому составу внутренней воздушной среды.
В новом храме Христа Спасителя е помещения обслуживаются сигмами кондиционирования воздуха (CKB), спроектированными институтом «Моспроект-2».
Для обеспечения круглогодового режима работы СКВ расчетная потребность в холоде составит (кВт): верхний храм - 2060; нижний храм - 877; Соборный зал - 861; трапезная - 675, всего 4573 кВт.
Для учета потерь холода в коммутациях принят коэффициент 1,1, завышающий расчетную холодопроизводительность: 14573-1,1 = 5030 кВт.
Потребность СКВ различных падений в холоде не совпадает. Это обозначается коэффициентом одновременности использования холода (0,8). Тогда проектная производительность холодильных машин составит: 5030* 0,8 = 4024 кВт.
По проекту, разработанному под руководством С.С.Амирджанова, в машинном зале площадью 310 м2 были установлены две холодильные машины типа CVGE56-KC-PC холодопроизводительностью r расчетном режиме 2000 кВт каждая производства фирмы «Трейн» (рис.1).
Рис. 1. Холодильная машина CVGE56-KC-PC производства фирмы «Трейн» в машинном зале храма
При большой холодопроизводительности целесообразно использовать компактные центробежные компрессоры.
Фирма «Трейн» имеет 50-летний опыт разработки и производства центробежных компрессоров для мощных холодильных машин холодопроизводительностью от 930 до 4000 кВт. В последних конструкциях центробежных компрессоров, работающих на R134а, осуществлен принцип двухступенчатого сжатия. Применение двухступенчатых компрессоров новой конструкции позволяет выдерживать значительные колебания давления на стороне нагнетания, устойчиво работать в диапазоне изменения тепловой нагрузки от 100 до 20 % и сократить габариты холодильной машины, что весьма важно при ограниченных размерах помещения.
Применение электродвигателя, охлаждаемого жидким хладагентом, а также герметичность конструкции позволили повысить надежность машины.
На заводе-изготовителе полностью собранная холодильная машина проходит испытания согласно программе фирмы «Трейн» по обеспечению высокого качества.
Для снижения шума и вибрации машина монтируется на пружинных амортизаторах, работающих в широком диапазоне массовой нагрузки.
Водяные конденсаторы холодильных машин охлаждаются водой, поступающей при температуре 27 °C от двух вентиляторных градирен.
Чтобы не нарушить общей архитектурной композиции храма, градирни были размещены в выемках откосов котлована. Для устранения шума при их работе установили на входе и выходе наружного воздуха эффективные глушители. Меры по шумоглушению обязательны при использовании оборудования СКВ в центре города и обслуживании общественных помещений.
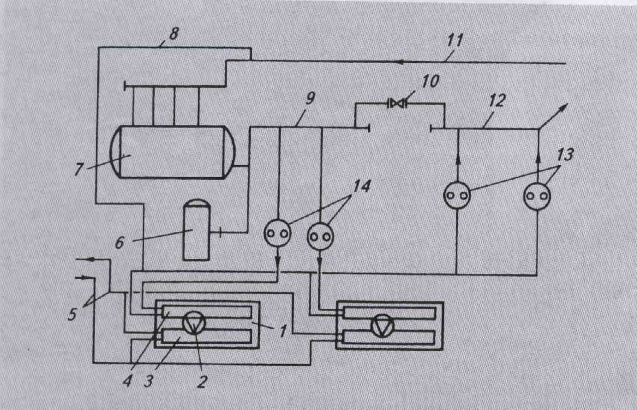
Принципиальная схема системы холодоснабжения СКВ приведена на рис. 2.
Рис. 2. Принципиальная схема центральной системы холодоснабжения: 1 — холодильная машина; 2 — двухступенчатый турбокомпрессор; 3 — конденсатор; 4 — испаритель; 5 — трубопроводы оборотного водоснабжения; 6 — мембранный расширительный бак для воды: 7 — сборный герметичный бак; 8 - отводной трубопровод; 9 — общий обратный коллектор; 10 — регулятор перепада давлений охлажденной воды; 11 — общий обратный трубопровод; 12— подающий коллектор; 13, 14 циркуляционные сдвоенные насосы
Две холодильные машины 1 параллельно подключены к трубопроводам 5 охлаждающей воды, которая проходит через конденсаторы 3 и вентиляторные градирни (на схеме рис. 2 не показаны). Из испарителей 4 вода при температуре 7 °C подается двумя циркуляционными насосами 13 в коллектор 12 диаметром 426 мм, а затем по трубопроводам ответвлений поступает к воздухоохладителям центральных кондиционеров и вентиляторных доводчиков, расположенных в помещениях храма Христа Спасителя.
Нагретая в воздухоохладителях вода поступает по общему обратному трубопроводу 11 диаметром 426 мм в сборный герметичный бак 7 объемом 25 м3. Для выравнивания расхода обратной воды служит отводной трубопровод 8 диаметром 219 мм.
Из бака 7 вода поступает в общий обратный коллектор 9 диаметром 426 мм и циркуляционными насосами 14 подается в испарители 4. Для выравнивания давления в обратных трубопроводах служит мембранный расширительный бак объемом 2 м3. Для предотвращения повышения давления воды в подающем коллекторе 12 служит регулятор перепада давлений 10.
В циркуляционных насосах CDM210 сдвоенной конструкции производства фирмы «Грундфос» два рабочих колеса расположены в одном корпусе. Каждое колесо имеет автономный электропривод.
Внутри корпуса сдвоенного насоса расположен перекидной клапан закрывающий проточную часть работающего колеса. В случае не исправности одного из колес или его привода перекидывается внутренний клапан и включается в paботу второе колесо в едином корпусе. Это повышает надежность СКВ.
Работа всех элементов систем холодоснабжения автоматизирована.
Холодильные машины типа CVGe поставляются с микропроцессорным модулем управления и контроля типа UCP2 (на рис. 1 модуль показан в виде шкафа, смонтированного на раме холодильного аппарата).
Данный модуль выполняет следующие основные функции:
- обеспечение безопасной работы холодильных машин;
- работы водоохладительного агрегата с потребностями в холоде СКВ;
- оптимизацию энергопотребления водоохладительных агрегатов;
- достижение полного восстановления требуемых режимов работы водоохладительных агрегатов;
- вызов изображения схем СКВ на экран дисплея;
- минимизацию числа необходимых сервисных наблюдений за системой холодоснабжения;
- контроль работы водяных насосов системы холодоснабжения;
Следует особо отметить, что с помощью микропроцессорного модуля UCP2 можно обеспечить вывод параметров работы холодильной машины на центральный пульт управления инженерными системам здания, что и было реализовано в храме Христа Спасителя.
Высокое качество оборудования фирмы «Трейн», базирующееся на многолетнем опыте работы, позволяет создавать высокоэффективные, надежные в эксплуатаци простые в обслуживании холодильные станции для различных объектов. Реализованная в храме Христа Спасителя система холодоснабжения подтверждает эти выводы и высокую оценку качества оборудования фирмы «Трейн».
About the authors
O. Ya. Kokorin
MGSU
							Author for correspondence.
							Email: info@eco-vector.com
				                					                																			                								
Dr. tech. sciences, prof.
Russian FederationReferences
Supplementary files
 
				
			 
					 
						 
						 
									




