СКВ с четырехтрубным снабжением холодной и горячей водой теплообменников местных агрегатов
- Авторы: Кокорин О.Я.1, Невский В.В.1
- 
							Учреждения: 
							- Московский государственный строительный университет
 
- Выпуск: Том 90, № 1 (2001)
- Страницы: 26-27
- Раздел: Статьи
- URL: https://freezetech.ru/0023-124X/article/view/105637
- DOI: https://doi.org/10.17816/RF105637
- ID: 105637
Цитировать
Полный текст
Аннотация
В местно-центральных СКВ расход энергии минимизируют путем обработки в центральном кондиционере санитарной нормы приточного наружного воздуха Lнп.min и тепловой обработки внутреннего воздуха в соответствии с условиями формирования температурного режима в каждом помещении [2]. В центральном кондиционере приточный наружный воздух энергетически рационально охлаждать до нижнего уровня теплового комфорта в помещении, характерного для теплого периода года, tв = tпн= 23 °C [5]. Это увеличивает время работы центрального кондиционера с использованием природного холода, так как в расчетные сутки даже теплого периода года температура наружного воздуха tн длительное время удерживается ниже tпн = 23 °C.
Полный текст
В местно-центральных СКВ расход энергии минимизируют путем обработки в центральном кондиционере санитарной нормы приточного наружного воздуха Lнп.min и тепловой обработки внутреннего воздуха в соответствии с условиями формирования температурного режима в каждом помещении [2]. В центральном кондиционере приточный наружный воздух энергетически рационально охлаждать до нижнего уровня теплового комфорта в помещении, характерного для теплого периода года, tв = tпн= 23 °C [5]. Это увеличивает время работы центрального кондиционера с использованием природного холода, так как в расчетные сутки даже теплого периода года температура наружного воздуха tн длительное время удерживается ниже tпн = 23 °C.
Основную долю тепловыделений в обслуживаемых помещениях (или зонах помещений значительной площади) энергетически рационально отводить в местных охладителях, через которые по двухтрубной сети под действием насоса циркулирует вода, охлаждаемая в центральной холодильной станции. В переходный и холодный периоды года циркуляционную воду энергетически целесообразно охлаждать нагреваемым приточным наружным воздухом.
Тепловой режим в помещениях зависит от внешних и внутренних условий. Наибольшее влияние извне оказывает солнечная радиация на прозрачные строительные ограждения здания. При солнечной радиации на окна даже в холодные дни в помещение поступают дополнителпительные теплопритоки, которые целесообразно отводить приточным наружным воздухом с температурой tпн < tв Применение эжекторных воздухораспределителей позволяет подавать в помещения от центрального кондиционера приточный воздух с температурой до tпн = 8,6 °C [5]. При точный воздух нагревается до требуемой температуры tп в воздухонагревателях местных агрегатов, к которым по двухтрубной сети подается вода от теплового пункта (ИТП) здания.
Применение четырехтрубной схемы тепло- и холодоснабжения местных агрегатов позволяет потреблять тепло и холод согласно индивидуальным особенностям формирования теплового режима в помещении.
Фирмой “Данфосс" разработаны и производятся регуляторы для четырехтрубных систем [1]. В местном агрегате расположено два теплообменника, через которые вентилятором или эжекторным побудителем подается внутренний воздух.
Каждый теплообменник по двухтрубной схеме соединяется с центральным источником охлаждения и нагрева циркуляционной воды.
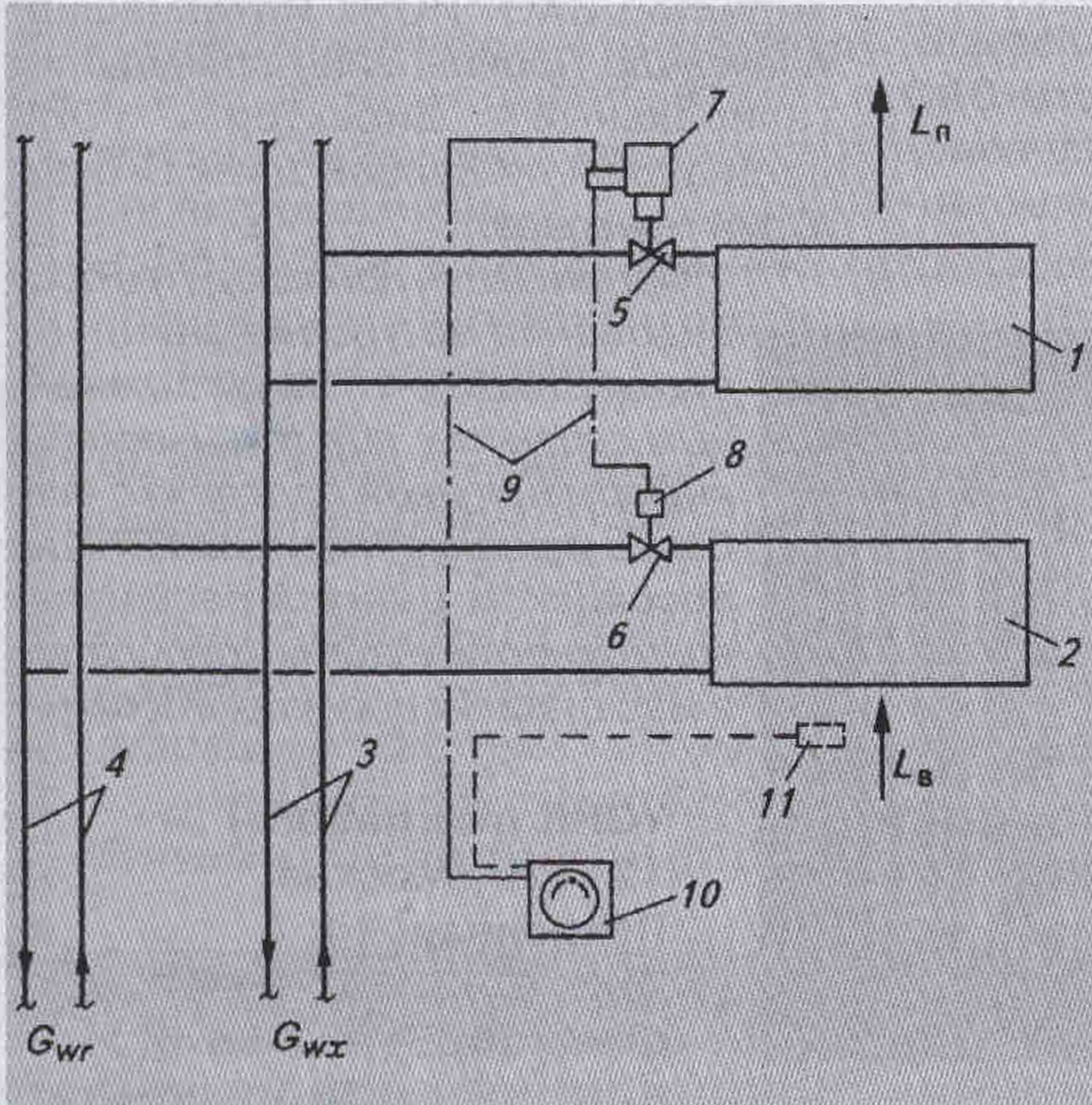
Рис. 1. Четырехтрубная система тепло- и холодоснабжения местного агрегата с терморегулятором типа FED: 1-воздухоохладитель; 2-воздухонагреватель; 3-двухтрубная схема снабжения холодной водой Gwj 4-двухтрубная схема снабжения горячей водой Gx 5-регулирующий клапан RA-C; 6 - регулирующий клапан RA-N; 7-гидравлический привод клапана RA-C с адаптером; 8-гидравлический привод клапана RA-N; 9 - капиллярная трубка; 10 - элемент дистанционного управления терморегулятора; 11 - выносной датчик температуры (для конструктивного варианта FED-FF)
На рис. 1 показана принципиальная схема четырехтрубной системы тепло- и холодоснабжения местного агрегата с регулятором типа FED фирмы “Данфосс’’. В местном aiperaTe на пути прохождения внутреннего воздуха Lв последовательно установлены воздухоохладитель 1 и воздухонагреватель 2, которые по двухтрубным схемам соединены трубопроводами 3 и 4 соответственно с холодильным центром и ИТП. На подающих трубопроводах к аппаратам 1 и 2 смонтированы соответственно регулирующие клапаны 5 и б: типа RA-C для холодной и типа RA-N для горячей воды. По сравнению с клапаном RA-N клапан RA-C имеет большую пропускную способность, поскольку расход холодной воды, как правило, превосходит расход горячей. Оба клапана оснащены устройствами для изменения их пропускной способности в процессе гидравлической наладки системы. После проведения наладочных работ па клапаны устанавливают термостатические гидроприводы 7 и 8, связанные через капиллярные трубки 9 с элементом дистанционного управления 10 терморегулятора FED.
Фирма “Данфосс" предлагает два варианта регулятора FED: с датчиком температуры, встроенным в элемент дистанционного управления (FED-IF), и с выносным датчиком (FED-FF). Выносной датчик регулятора FED-FF можно расположить в потоке внутреннего воздуха на входе в теплообменник, а элемент дистанционного управления - на стене помещения или на декоративном ограждении местного агрегата. Настройка на поддержание желаемой температуры воздуха tв осуществляется по шкале регулятора FED. Среднее положение настроечной шкалы соответствует комфортной температуре 22 °C. При такой настройке в пределах нейтральной зоны (0,5...2,5 °C) оба клапана па подающих трубопроводах закрыты и в теплообменники 1 и 2 не поступает ни холодная, ни горячая вода. Внутренний воздух Lв проходит через агрегат без тепловой обработки в теплообменниках.
На рис. 2 представлен график последовательного изменения расходов горячей Gwt и холодной Gwx воды через теплообменники местного агрегата в зависимости от температуры воздуха, контролируемой датчиком регулятора FED. Нейтральная зона настройки регулятора FED соответствует диапазону изменения температуры воздуха от 21 до 23 °C, при котором не потребляется ни тепло, ни холод. Если температура воздуха в помещении ниже 21 °C, от регулятора FED через капиллярную трубку последует команда на открытие клапана для поступления горячей воды в теплообменник 2. В ходе дальнейшего снижения tu проходное сечение в клапане 6 будет увеличиваться, что приведет к возрастанию расхода горячей воды через теплообменник 2. При достижении Lв нижнего предела теплового комфорта (19 °C) расход горячей воды через теплообменник 2 будет соответствовать расчетному значению Gwt.p Тепловые нагрузки на местные воздухонагреватели максимальны зимой в ночные часы суток, когда температура наружного воздуха имеет наименьшее значение и внутренние тепловыделения малы. В дневные часы возрастание температуры наружного воздуха tH на 10- 15 °C [5] и выделение тепла рабочим персоналом (не менее 10 Вт/м2 [4J) приводят к росту к В этом случае регулятор FED будет подавать импульсы на закрытие клапана на патрубке горячей воды.
Рис. 2. График последовательного регулирования расходов горячей Gw, и холодной воды через теплообменники местного агрегата при изменении температуры воздуха в помещении tn зимой от 19 до 21 °C и летом от 23 до 25 °с
В дальнейшем при повышении tн и вследствие солнечной радиации на окна температура воздуха tв в помещениях превысит 23 °C и от регулятора FED поступит команда на открытие клапана на трубопроводе холодной воды. При достижении = 25 °C расход холодной воды через воздухоохладитель будет равен расчетному значению Gwx.p.
Из графика на рис. 2 следует, что расходы холодной и горячей воды достигают расчетных только в случаях предельных значений температуры воздуха в помещении tв соответственно в теплый и холодный периоды года. При промежуточных значениях tв (от 19 до 21 °C и от 23 до 25 °C) расходы соответственно холодной и теплой воды в местных агрегатах снижаются, а при средних комфортных значениях внутренних температур воздуха (от 21 до 23 °C) - отсутствуют.
Необходимо отметить, что в течение суток температура воздуха в помещениях изменяется, как правило, не более чем на 2 °C. Это объясняется большой теплоемкостью строительных конструкций и мебели. В переходный период года (при температурах наружного воздуха от 5 до 10 °C) для поддержания температуры внутреннего воздуха на уровне теплового комфорта может одновременно потребоваться охлаждение одних помещений здания и нагрев других.
В помещениях с южной стороны здания охлаждение целесообразно осуществлять подачей в них санитарной нормы приточного наружного воздуха при минимально возможной температуре tпн [2] и охлаждением циркуляционной воды в теплообменниках холодным наружным воздухом. В помещениях с северной стороны температура внутреннего воздуха может быть повышена путем подачи воды, нагретой воздухом из охлаждаемых помещений, в теплообменники местных агрегатов. Применение четырехтрубных систем циркуляции охлажденной и нагретой воды через теплообменники местных агрегатов позволяет передавать тепло от помещений здания, которые необходимо охлаждать, в те помещения, где требуется отопление. Энергетические преимущества и эксплуатационная надежность четырехтрубных систем на базе терморегуляторов фирмы “Данфосс” подтверждены их успешной работой с 1983 г. в СКВ здания Совета Федерации в Москве (Б. Дмитровка, 26).
Об авторах
О. Я. Кокорин
Московский государственный строительный университет
							Автор, ответственный за переписку.
							Email: info@eco-vector.com
				                					                																			                								
Д-р техн. наук, проф.
РоссияВ. В. Невский
														Email: romzes.efremov@gmail.com
				                					                																			                								
ЗАО “Данфосс"
РоссияСписок литературы
- Каталог оборудования фирмы “Дан- фосс”.
- Кокорин О.Я. Энергосберегающие технологии функционирования систем вентиляции, отопления, кондиционирования воздуха (систем ВОК). - М.: Проспект, 1999.
- Кокорин О.Я., Кронфельд Я.Г., Левин И.Е. Энергосберегающие СКВ в гостинице “Гранд Отель” в Москвс//Холодильная техника. 1999. № 8.
- МГСН 2.01-99. Энергосбережение в зданиях. Нормативы по теплозащите и тепловодо-энергоснабжению.- М.: ГУП “НИАЦ”, 1999.
- СНиП2.04.05-91*. Отопление, вентиляция и кондиционирование. - М.: ГП ЦПП. 1997
Дополнительные файлы
 
				
			 
						 
					 
						 
									




