Защитная ширма при ангиографии
- Авторы: Мусин М.Ф.1
-
Учреждения:
- Медицинский институт им. С. В Курашова
- Выпуск: Том 50, № 5 (1969)
- Страницы: 86-87
- Раздел: Рационализаторские предложения
- Статья получена: 26.03.2022
- Статья одобрена: 26.03.2022
- Статья опубликована: 15.10.1969
- URL: https://kazanmedjournal.ru/kazanmedj/article/view/105446
- DOI: https://doi.org/10.17816/kazmj105446
- ID: 105446
Цитировать
Полный текст
Аннотация
Ангиография более других методов рентгеновского исследования связана с опасной лучевой нагрузкой на персонал и больного (К. Б. Тихонов, 1962; Ларссон, 1956).
Ключевые слова
Полный текст
Ангиография более других методов рентгеновского исследования связана с опасной лучевой нагрузкой на персонал и больного (К. Б. Тихонов, 1962; Ларссон, 1956).
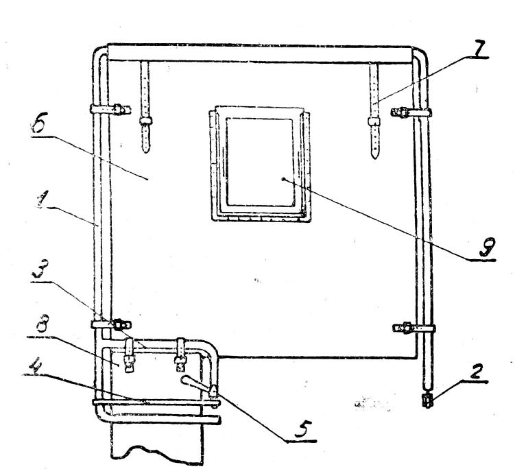
Нами сконструирована ширма для защиты от рентгеновых лучей при ангиографии (рис. 1 и 2). Она состоит из рамы 1, на одном конце которой расположено самоориентирующее колесо 2, а на втором — кронштейн 3, соединенный при помощи винта 5 с поджимной планкой 4. К раме ремнями 7 крепится основной фартук 6 из просвинцованной резины. На кронштейн 3 надевается дополнительный фартук 8, На основном фартуке имеется окно 9 из просвинцованного стекла. Один край рамы при помощи поджимной планки 4 и винта 5 закрепляют на диагностическом столе 10 рентгеновского аппарата (рис. 2). Другой, свободный край ширмы благодаря самоориентирующему колесу можно поворачивать практически на любой нужный угол от 0 до 180° относительно оси трохоскопа. При выборе нужной точки крепления края ширмы можно создать любое необходимое положение самой ширмы как в поперечном сечении по отношению к трохоскопу, так и в продольном. Регулирование высоты фартуков обеспечивается ремнями 7. Наблюдение за состоянием пациента осуществляется через окно 9.
Рис.1
Рис. 2
Рис. 3. Момент артериографии левой нижней конечности с использованием защитной ширмы.
При проведении ангиографии ширму развертывают над трохоскопом перпендикулярно его оси по длине. В зависимости от полноты больного и исследуемой области основной защитный фартук 6 поднимают или опускают и укрепляют ремнями в нужном положении. Дополнительный фартук для защиты ног исследователя опускают вниз до пола. Рентгеновская трубка и исследуемая область больного при этом оказываются по одну сторону, а оператор и пунктируемый участок для введения контрастного вещества — по другую сторону ширмы. Таким образом, сконструированная нами ширма не только надежно защищает оператора, но и позволяет значительно уменьшить лучевую нагрузку на больного, особенно при ангиографии сосудов головного мозга, при артериографии конечностей и транслюмбальной аортографии, поскольку большая часть тела больного, не подлежащая исследованию, находится за ширмой, не на стороне рентгеновской трубки.
Ранее предложенные защитные устройства при ангиографии — ширмы Ф. Ф. Теличко (1960), Бэрвольффа и Шахерла (1958) имеют ряд существенных недостатков. Они крепятся к краю трохоскопа рентгеновского аппарата, за которым находится оператор. Часть туловища, руки оператора при введении контрастного вещества открыты для действия лучей. Для полной защиты исследователя эти ширмы должны иметь еще дополнительные приспособления типа «шприц-автомат» или удлинители к шприцам, которые не всегда применимы даже при их наличии из-за возможных осложнений при введении контрастного вещества в сосуды (К. Б. Тихонов).
Защитные качества предложенной нами ширмы проверены с помощью современных дозиметрических приборов, показания которых за ширмой были равны нулю. Ширма может быть широко использована в клинической практике и в научно-исследовательской работе при контрастном исследовании периферических сосудов с помощью рентгеновых лучей. В практической медицины указанная ширма может быть применена при артерио- и флебографии конечностей, аортографии, ангиографии сосудов головного мозга, при спленопортографии; а также при фистулографии и лимфографии конечностей, при применении различных контрастных веществ.
Об авторах
М. Ф. Мусин
Медицинский институт им. С. В Курашова
Автор, ответственный за переписку.
Email: info@eco-vector.com
Кафедра рентгенологии и радиологии
Россия, КазаньСписок литературы
- Теличко Ф. Ф. Вестн. рентгенол. и радиол., 1960, 5.
- Тихонов К. Б. Ангиография, Медгиз, М., 1962.
- Baerwalff G., Schacherl M. Fortschr Rôntgenstr., 1958, 89, 1, 100.
- Larsson L. E. Acta radiol., 1956, 46, 5, 680.





