ШПРИЦ-АВТОМАТ НЕПРЕРЫВНОГО ДЕЙСТВИЯ ДЛЯ МЕСТНОЙ АНЕСТЕЗИИ И ОТСАСЫВАНИЯ ЖИДКОСТЕЙ
- Авторы: Поляков В.М.1
-
Учреждения:
- Медсанчасть нефтепромыслового управления «Альметьевнефть» Татарской АССР (главный врач — Р. 3. Бадретдинов, заведующий хирургическим отделением — В. М. Поляков)
- Выпуск: Том 40, № 2 (1959)
- Страницы: 91-92
- Раздел: Статьи
- Статья получена: 13.02.2021
- Статья одобрена: 13.02.2021
- Статья опубликована: 30.03.1959
- URL: https://kazanmedjournal.ru/kazanmedj/article/view/60785
- DOI: https://doi.org/10.17816/kazmj60785
- ID: 60785
Цитировать
Полный текст
Аннотация
Широкое применение местной анестезии диктует необходимость иметь для техники выполнения этого вида обезболивания простой и надежный шприц-автомат. В настоящее время шприцы непрерывного действия и аппараты проф. П. В. Маненкова, кандидатов медицинских наук Б. Ф. Сметанина, Т. Ф. Рыжкова, врачей К. С. Фаттахова,. С. Н. Поликарпова удовлетворяют поставленным требованиям, но имеют ряд недостатков.
Ключевые слова
Полный текст
Широкое применение местной анестезии диктует необходимость иметь для техники выполнения этого вида обезболивания простой и надежный шприц-автомат. В настоящее время шприцы непрерывного действия и аппараты проф. П. В. Маненкова, кандидатов медицинских наук Б. Ф. Сметанина, Т. Ф. Рыжкова, врачей К. С. Фаттахова,. С. Н. Поликарпова удовлетворяют поставленным требованиям, но имеют ряд недостатков.
Мы предлагаем шприц, лишенный этих недостатков.
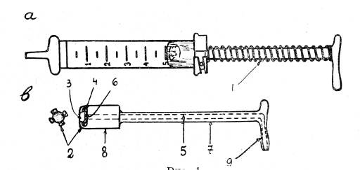
Рис. 1.
К 5 мл-шприцу типа «Рекорд» (рис. 1) добавляются дополнительные детали: спиральная возвратная пружина (1) и резиновый (пластмассовый) клапан звездчатообразной формы (2), вмонтированный в поршень шприца (8). Сносившийся клапан можно сменять. В дне поршня имеется углубленный в стенку циркулярный паз (4) большего диаметра, чем диаметр наружного отверстия поршня (3). Основной канал (5), идущий через шток (7) и поршень (8), имеет наименьший диаметр.
Диаметр клапана больше диаметра гнезда для него. Клапан вставляется в паз надавливанием на клапан по центру анатомическим глазным пинцетом. Ввиду большего диаметра клапана, он, будучи вставленным на свое место (6), благодаря наличию выпуклости прикрывает отверстие канала поршня. Звездчатообразные концы клапана должны упираться в наружную кромку паза. Такое расположение клапана исключает потребность в металлической пружине для прижатия клапана.
Раствор поступает через канюлю (9), расположенную на конце штока (7) через резиновую трубку, которая не мешает работе шприца. Банка с раствором новокаина должна помещаться выше рабочего уровня шприца.
Принцип сифона облегчает работу шприца. Для зарядки шприца несколькими движениями поршня нужно заполнить его жидкостью. Это достигается прикрыванием отверстия канюли стерильным шариком. В неасептичных условиях для введения, например, физиологического раствора в подкожную клетчатку, достаточно заряжать шприц с насаженной на канюлю иглой, по принципу сифона. Шприц работает непрерывно и автоматически, когда игла находится в тканях.
Во избежание засасывания воздуха, необходимо придерживаться следующего правила: не вынимать иглу из тканей до тех пор, пока поршень не отойдет под действием пружины в верхнее крайнее положение. Заполненный шприц должен быстро переноситься и вкалываться в другие участки тканей.
Когда шприц, наполненный жидкостью, лежит у операционного поля в нерабочем состоянии, операционная сестра зажимом Мора пережимает резиновую трубку. Это предотвращает вытекание жидкости из иглы.
Описанный шприц с успехом заменяет аппарат Боброва и позволяет в несколько раз быстрее вводить жидкость под кожу.
Шприц можно использовать и для отсасывания жидкостей, для чего свободный конец резиновой трубки надевается на канюлю с иглой и подводится к жидкости. Во время отсасывания канюлю шприца необходимо при отведении поршня прикрывать пальцем, чтобы создать в шприце вакуум.
Шприц испытан в хирургическом отделении медсанчасти НПУ г. Альметьевска.
Об авторах
В. М. Поляков
Медсанчасть нефтепромыслового управления «Альметьевнефть» Татарской АССР (главный врач — Р. 3. Бадретдинов, заведующий хирургическим отделением — В. М. Поляков)
Автор, ответственный за переписку.
Email: info@eco-vector.com
Россия
Список литературы
- Маненков П. В., Андрезен Н. В. Наша техника местной инфильтрационной анестезии при акушерско-гинекологических операциях. Пособие для врачей.. Казань, 1956.
- Поликарпов С. Н. Хирургия, 1954, 8.
- Рыжков Т. Ф. Хирургия, 1954, 9.
- Сметанин Б. Ф. Инструментальное оснащение при проведении местного обезболивания по методу тугого: ползучего инфильтрата А. В. Вишневского. Канд, дисс., Казань, 1950.
- Цимхес И. Л., Палкин-Милославский. Каз. мед. журн., 1933, 11—12.
Дополнительные файлы




