Костная фреза
- Авторы: Сабитов В.X., Зеленое Е.С., Гафаров X.З.
- Выпуск: Том 66, № 6 (1985)
- Страницы: 459-460
- Раздел: Статьи
- Статья получена: 28.02.2021
- Статья одобрена: 28.02.2021
- Статья опубликована: 15.12.1985
- URL: https://kazanmedjournal.ru/kazanmedj/article/view/62243
- DOI: https://doi.org/10.17816/kazmj62243
- ID: 62243
Цитировать
Полный текст
Ключевые слова
Полный текст
Известно большое количество разнообразных фрез, предназначенных для обработки кости,— шаровые, цилиндрические,, конусные, обратноконусные и др. Однако выпускаемые отечественной медицинской промышленностью подобные фрезы (Ленинградское производственное объединение «Красногвардеец», Казанский медико-инструментальный завод) предназначены для поверхностной обработки кости, например, для удаления некротических очагов, секвестров и т. п. Для разрезания кости выпускаются специальные инструменты — дисковые пилы. Поскольку они весьма неудобны при работе в глубоких ранах, в некоторых случаях пользуются пилой Джигли, которая не предназначена для вырезания отдельных участков кости. Выпускаемые же фрезы при таких операциях быстро «засаливаются», и кость начинает «гореть».
Нами предложена костная фреза, позволяющая разрезать кость по контуру, при этом обеспечивается минимальная травматизация кости за счет уменьшения теплового потока.
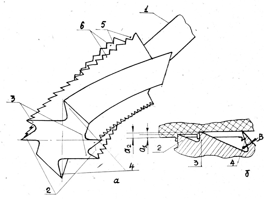
Костная фреза (рис. 1а, б) имеет хвостовик (/) и рабочую часть, состоящую из групп зубьев по три в каждой. Высота первого зуба (2) меньше, чем у второго (?) и третьего (4) зубьев (высоты которых равны), а на режущих кромках первого и второго зубьев по длине выполнены треугольные выемки (5), образующие треугольные выступы (6). При этом диаметр описанной окружности первого зуба больше, чем у второго и третьего зубьев на 0,4 мм.
Перед работой костную фрезу зажимают в патрон механизированного привода и подводят к тому месту, откуда следует начинать выпиливание. При вращении фрезу перемещают вдоль предполагаемой линии разреза, в результате чего образуется паз по всей толщине кости с шириной, равной диаметру фрезы (в нашем случае 6,4 мм).
При постоянном давлений на фрезу в направлении, перпендикулярном ее продольной оси,, первый слой кости срезает первый зуб (2) на толщину а составляющую около половины общей толщины среза а2, срезаемой за один проход группы зубьев. ‘ После прохождения второго зуба (?) на кости остаются зубцы высотой а2у далее третий зуб (4) срезает оставшиеся зубцы (рис. 1 б).
На третий зуб со стороны обрабатываемой кости действует меньшая сила, чем при наличии зубьев равной высоты, поскольку срез представляет собою не прямоугольник, а ряд треугольных элементов, соответствующих форме выемок на режущей кромке второго зуба (известно, что сила поверхность режущего клина инструмента пропорциональна площади среза). Следовательно, к такому зубу' могут быть предъявлены пониженные требования по прочностным характеристикам и третий зуб можно выполнить с, меньшим углом заострения (в нашем случае |3 = 30о). Это уменьшит тепловой поток из зоны резания в кость (при этом передний угол равен 15°, задний — 45°) и, как следствие, вызовет меньшую травматизацию костной структуры.
Предлагаемая костная фреза проста в изготовлении, имеет значительной величины стружечную канавку, у всех стружечных канавок одинаковый угол раствора и выполняются они одной профильной фрезой (в нашем случае с углом 75°).
Об авторах
В. X. Сабитов
Автор, ответственный за переписку.
Email: info@eco-vector.com
Россия
Е. С. Зеленое
Email: info@eco-vector.com
Россия
X. З. Гафаров
Email: info@eco-vector.com
Россия
Список литературы
Дополнительные файлы




