Removable retainer of hooks to the frame retractor
- Authors: Avdeev A.A.
- Issue: Vol 66, No 6 (1985)
- Pages: 460-461
- Section: Articles
- Submitted: 28.02.2021
- Accepted: 28.02.2021
- Published: 15.12.1985
- URL: https://kazanmedjournal.ru/kazanmedj/article/view/62246
- DOI: https://doi.org/10.17816/kazmj62246
- ID: 62246
Cite item
Full Text
Keywords
Full Text
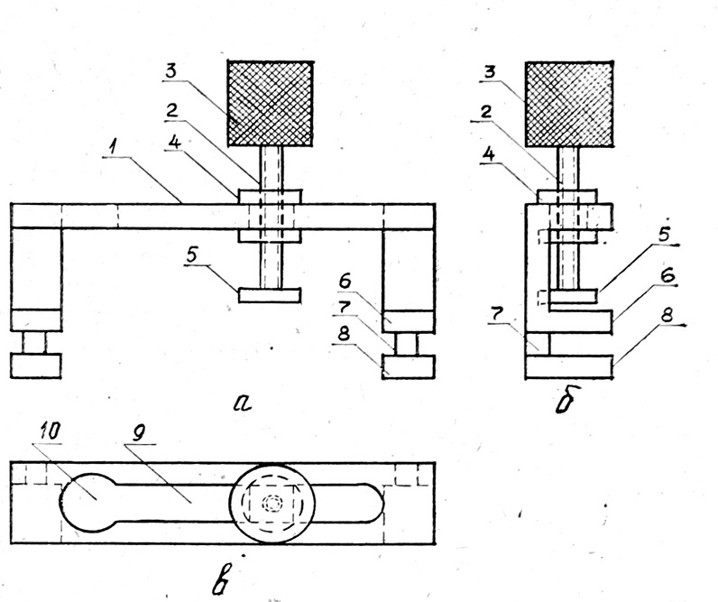
Для удобства проведения манипуляций в операционном поле при полостных оперативных вмешательствах необходимо обеспечить локальный доступ к патологическому очагу. Отведение органов крючками требует дополнительной помощи ассистента, действия которого ограничены удерживанием крючков.
В связи с этим нами изготовлен и внедрен в клиническую практику съемный фиксатор крючков к рамочному ранорасширителю (рационализаторское удостоверение № 223, выданное Казанским ГИДУВом им. В. И. Ленина 17.04.1981 г.).
Общий вид приспособления представлен схематически. На рис. 1: а — вид спереди, б — вид сбоку, в — вид сверху. Приспособление состоит из рамки (/), винта (2) с ручкой (5), гайки- ползуна (4). Рамка (/) в нижней части заканчивается лапками (б, 8), которые соединены между собой стойкой (7). В верхней части рамки выполнена сквозная прорезь (9) с отверстием (10). Винт с ручкой вмонтированы в гайку- ползун и заканчиваются пяткой (5), которая шарнирно соединена с винтом. При сборке приспособления к работе гайку-ползун вставляют в прорезь (9) рамки через отверстие (10). После раз ведения краев операционной раны paмочным ранорасширителем на него со стороны зубцов насаживают съемный фиксатор крючков лапками (6, 8), при этом стойку (7) располагают между зубцами. Ручку крючка для отведения органов заво дят спереди в рамку приспособления. После отведения органов в необходимое поло жение крючок фиксируют винтом (2) к рамочному ранорасширителю. При этом пятка винта при завинчивании последнего жестко фиксирует крючок к ранорасши рителю
About the authors
A. A. Avdeev
Author for correspondence.
Email: info@eco-vector.com
Russian Federation
References
Supplementary files
