Анатомические предпосылки компрессии полового нерва у человека
- Авторы: Ризаматова С.Р.1, Гречко О.А.1
-
Учреждения:
- Казанский медицинский институт имени С.В. Курашова
- Выпуск: Том 67, № 3 (1986)
- Страницы: 188-190
- Раздел: Статьи
- Статья получена: 29.04.2021
- Статья одобрена: 29.04.2021
- Статья опубликована: 15.05.1986
- URL: https://kazanmedjournal.ru/kazanmedj/article/view/66779
- DOI: https://doi.org/10.17816/kazmj66779
- ID: 66779
Цитировать
Полный текст
Аннотация
Исследование топографоанатомических отношений полового нерва с упомянутыми связками и грушевидной мышцей проводили на 12 трупах не позднее чем через 3 ч после наступления смерти и на 4 фиксированных в формалине трупах людей обоего пола, умерших в возрасте от 30 до 62 лет (всего 24 препарата). Обращали внимание на расположение полового нерва по отношению к костным образованиям таза, грушевидной мышце, крестцово-остистой и крестцово-бугорной связкам.
Ключевые слова
Полный текст
В большинстве современных анатомических руководств половой нерв рассматривается как короткий нерв крестцового сплетения, формирующийся из I—IV крестцовых нервов [4, 6]. Покидая таз из подгрушевидного отверстия, половой нерв выходит в сопровождении медиально лежащих от него внутренних половых сосудов, огибает седалищную ость и, проходя через малое седалищное отверстие, ложится на латеральную стенку седалищно-прямокишечной ямки в толще фасции внутренней запирательной мышцы, где делится на свои конечные ветви: нижние прямокишечные нервы, нервы промежности и дорзальный нерв полового члена или клитора. А. Раубер [5] считал, что нижний прямокишечный нерв отходит часто до входа полового нерва в малое седалищное отверстие.
В клинике хорошо известны подгрушевидные синдромы седалищной нейропатии [21. перемежающейся хромоты Ill, пудендонейропатии [31. Их связывают с воздействием напряженной мышцы на расположенные под ней сосудисто-нервные образования. Однако многие стороны соответствующих клинико-анатомических отношений нельзя считать достаточно изученными. Ниже приведены результаты исследования взаимоотношений грушевидной мышцы и связок, расположенных медиальнее и каудальнее этой мышцы (крестцово-бугорной, крестцоворстистой) и полового нерва. Изучены анатомические предпосылки компрессии полового нерва в покое, а также при пробах, используемых в клинике для выявления признаков пудендонейропатии на 16 трупах.
Давление, оказываемое на половой сосудисто-нервный пучок, моделировалось следующим образом. На трупе рядом с нервно-сосудистым пучком, удалив предварительно жировую клетчатку, располагали тонкую резиновую трубку соответственно диаметру нерва. Давление дистиллированной воды в трубке измеряли в миллиметрах водного столба, как при определении ликворного давления.
Исследование топографоанатомических отношений полового нерва с упомянутыми связками и грушевидной мышцей проводили на 12 трупах не позднее чем через 3 ч после наступления смерти и на 4 фиксированных в формалине трупах людей обоего пола, умерших в возрасте от 30 до 62 лет (всего 24 препарата). Обращали внимание на расположение полового нерва по отношению к костным образованиям таза, грушевидной мышце, крестцово-остистой и крестцово-бугорной связкам.
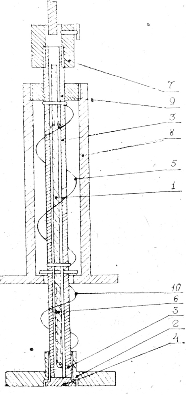
Деформацию связок и мышц определяли миотонометром путем дозирования давления груза массой от 0 до 4 кг в покое и при их натяжении (рис. 1).
Рис. 1. Схема миотонометра. Объяснения в тексте.
С помощью прибора устанавливали амплитуды деформации связки или мышцы (в мм) при определенной силе (в кг) давления стерший прибора. Прибор имеет шток (1), соединенный с опорной площадкой (2), позволяющий передавать перемещения опорной площадки и щупа по отношению друг к другу. Щуп (3) с резиновым наконечником (4) погружают в толщу мышцы или прижимают к поверхности связки под влиянием пружины (5), заключенной в кожух (6). Сила сжатия пружины определяется по шкале (7), нанесенной на корпус щупа в верхней части. Сжимаясь, пружина выдвигает щуп и погружает его в мышцу или прижимает к связке, при этом опорная площадка остается на поверхности мышцы, связки. Разница уровней передается штоку, свободно перемещающемуся в прорези (8), вверх к втулке (9) с укрепленными на ней измерительными приборами или передаточным устройством линейных перемещений (часовой индикатор, резистор и пр.). Пружина (10) служит для возврата опорной площадки к исходному уровню.
Растяжение связок достигали приведением колена трупа к его противоположному плечу (для крестцово-остистой) или к одноименному плечу (для крестцово-бугорной), грушевидной мышцы — приведением и ротацией внутрь бедра, согнутого в тазобедренном суставе.
Из 16 обследованных трупов на 17 препаратах половой нерв выходил из-под брюшка грушевидной мышцы одним стволом, на 6 — двумя, на 1 препарате — тремя стволами. Половой сосудисто-нервный пучок на 20 препаратах проходил по крестцово-остистой связке у вершины седалищной ости, а на 4 — выше седалищной ости на мобильной части крестцово-остистой связки (рис. 2).
Рис. 2. Фотография зоны подгрушевидного пространства. 1—половой нерв; 2 — крестцово-бугорная связка; 3 — грушевидная мышца (верхнее брюшко); За — грушевидная мышца (нижнее брюшко); 6 — седалищный нерв (оба нерва на данном препарате — с высоким делением на два ствола); 7 — внутренняя запирательная мышца, над ней — верхняя близнецовая.
Топографоанатомические взаимоотношения элементов полового сосудисто-нервного пучка не везде были «классическими». По нашим наблюдениям, эти элементы внутри окружающей их клетчатки и фасции располагаются на нижней крестцово-остистой связке в форме трех косых шнуров, пересекающих ее в направлении снаружи внутрь, и сверху вниз. Взаимоотношения этих трех элементов в направлении сверху вниз показаны в таблице.
Наиболее часто встречаются такие взаимоотношения, когда нерв в половом пучке находится в крайнем верхнемедиальном положении. Расположение полового нерва
у конца мобильной части крестцово-остистой связки создает благоприятные условия для его компрессии — у места прикрепления к крестцовой кости этой связки и крестцово-бугорной связки. В узком пространстве между ними, у самой вершины острого межсвязочного угла, и располагается, как было указано выше, половой нерв. При верхнемедиальном положении внутренних половых кровеносных сосудов возникают условия для соответствующих изменений гемодинамики в аногенитальной области и ноги.
Крестцово-бугорная связка на свежем трупе даже в покое — довольно ригидное образование. Под давлением более чем в 1/2 кг она смещается всего на 0,5—0,6 мм, а при растяжении связки даже под давлением в 4 кг — меньше чем на 0,1 мм. Грушевидная мышца свежего трупа, весьма податливая в покое, становится такой же натянутой, неподатливой в условиях её натяжения. Напомним, что такое натяжение и создается в клинике при пробе Бонне—Бобровниковой, при пробе «колено—плечо». В таких условиях уменьшаются размеры подгрушевидной щели и угол между крестцово-остистой и крестцово-бугорной связками в месте их прикрепления к крестцу.
На трупах давление на резиновую трубку при моделировании компрессии полового нерва меняется в зависимости от придаваемой ему позы: в месте прохождения полового нерва оно значительно возрастает с 0—4 мм водного столба в условиях сближения колена с одноименным и противоположным плечом до 9—40 мм водного столба. Описываемая щель (межсвязочный угол) и подгрушевидное отверстие на трупах оказывались различными по величине слева и справа; часто эта асимметрия была двукратной.
Неблагоприятное положение полового нерва в малом седалищном отверстии у некоторых людей предрасполагает к возникновению компрессионной пудендонейропатии. Возникновение наблюдаемых в клинике симптомов нейропатии и вазопатии в области иннервации и кровоснабжения полового сосудисто-нервного пучка возможно за счет сдавления последнего в подгрушевидном отверстии, а также между крестцово-остистой и крестцово-бугорной связками.
Об авторах
С. Р. Ризаматова
Казанский медицинский институт имени С.В. Курашова
Автор, ответственный за переписку.
Email: info@eco-vector.com
Россия
О. А. Гречко
Казанский медицинский институт имени С.В. Курашова
Email: info@eco-vector.com
Россия
Список литературы
- Попелянский Я. Ю. В кн.: Синдромы позвоночного остеохондроза. Казань, 1978.
- Попелянский Я. Ю., Бобровникова Т. И. Журн. невропат. и психиатр., 1968, 5, 656.
- Попелянский Я. Ю., Ризаматова С. Р. В кн.: Спондилогенные и миогенные заболевания нервной системы. Казань, 1983.
- Привес М. Г. и др. Анатомия человека. Л., Медицина, 1974.
- Раубер А. Руководство по анатомии человека. СПб, 1911, 5, 435.
- Синельников Р. Д. Атлас анатомии человека. М., Медицина, 1974, т. 3.
Дополнительные файлы





