Infusion machine
- Authors: Morozov V.G.
- Issue: Vol 42, No 6 (1961)
- Pages: 77-78
- Section: Articles
- Submitted: 06.08.2021
- Accepted: 06.08.2021
- Published: 04.09.2021
- URL: https://kazanmedjournal.ru/kazanmedj/article/view/77494
- DOI: https://doi.org/10.17816/kazmj77494
- ID: 77494
Cite item
Full Text
Abstract
Subcutaneous administration of fluids is very common.
Keywords
Full Text
Подкожное введение жидкостей применяется весьма часто.
С давних времен идут поиски прибора, который бы мог облегчить эту манипуляцию, позволил бы производить ее в более короткий срок, без большой травмы для больного и при меньшей затрате труда персонала. До сих пор еще используется аппарат А. А. Боброва),, имеющий ряд недостатков: 1) он недостаточно прочен; 2) требует герметичности при работе; 3) требует повышенного давления для своего действия, что часто приводит к порче баллона Ричардсона; 4) он мало пригоден для введения небольшого количества жидкости; 5) стерилизация его неудобна.
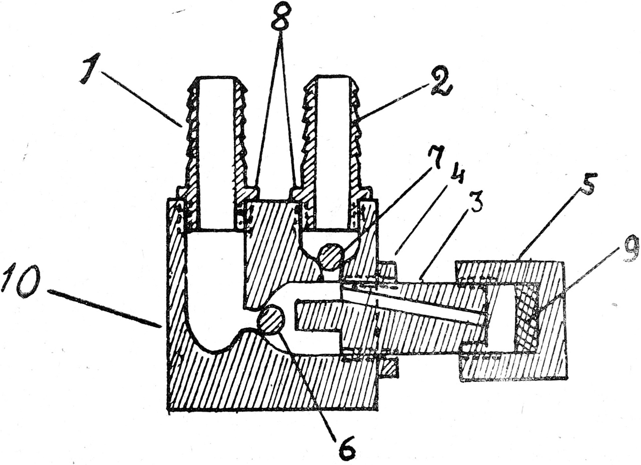
Рис. 1. Схема корпуса клапанной коробки.
Рис. 1. Схема корпуса клапанной коробки.
Выпущен аппарат Титаренко, имеются шприцы П. В. Маненкова, Б. Ф. Сметанина, В. М. Полякова, но они не вполне удовлетворяют работающих с ними.
Рис. 2. 1 —корпус клапанной коробки; 2 — 20 мл шприц «Рекорд»; 3 — фиксатор; 4 — нагнетательный штуцер; 5 — всасывающий штуцер; 6 — клапан-гайка спускового вентиля.
Рис. 2. 1 —корпус клапанной коробки; 2 — 20 мл шприц «Рекорд»; 3 — фиксатор; 4 — нагнетательный штуцер; 5 — всасывающий штуцер; 6 — клапан-гайка спускового вентиля.
С 1957 г. мы в клинике пользуемся аппаратом, состоящим из трех основных частей: корпуса клапанной коробки, 20 мл рекордовского шприца и фиксатора.
Корпус клапанной коробки (10) (см. схему, рис. 1) состоит из: всасывающего штуцера (1), нагнетательного штуцера (2), регулировочного клапана-гайки спускового вентиля (5), всасывающего клапана (6), нагнетательного клапана (7), буртиков- штуцеров (8), резиновой подушечки (9).
Действие аппарата основано на шариковых клапанах.
На рис. 2 представлен аппарат в собранном виде.
Аппарат портативен, прост в обращении, безотказен в работе, легко стерилизуется. Вместе с резиновыми трубочками он умещается в небольшой коробочке (16X7X4 см). Может быть использован также и для отсасывания, например, содержимого плевральной полости.
About the authors
V. G. Morozov
Author for correspondence.
Email: info@eco-vector.com
Russian Federation
References
Supplementary files





