Численный анализ нелинейных колебаний пластины на вязкоупругом основании под действием подвижной осциллирующей нагрузки на основе моделей с дробными производными
- Авторы: Круссер А.И.1, Шитикова М.В.1,2
-
Учреждения:
- Воронежский государственный технический университет
- Национальный исследовательский Московский государственный строительный университет
- Выпуск: Том 26, № 4 (2022)
- Страницы: 694-714
- Раздел: Механика деформируемого твердого тела
- URL: https://journals.eco-vector.com/1991-8615/article/view/111001
- DOI: https://doi.org/10.14498/vsgtu1957
- ID: 111001
Цитировать
Полный текст
Аннотация
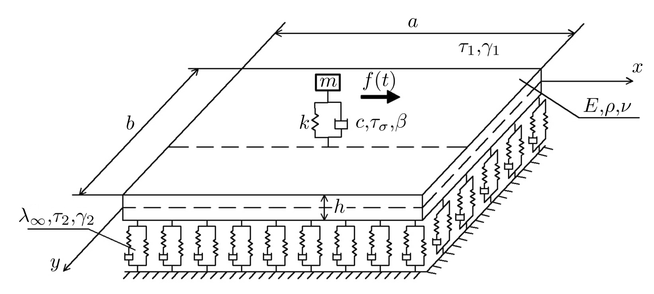
Цель. Исследуются нелинейные колебания упругой шарнирно опертой пластины на вязкоупругом основании под действием подвижной осциллирующей нагрузки в случае внутреннего резонанса 1:1, сопровождаемого внешним резонансом. Свойства вязкоупругого основания задаются с помощью обобщенной модели Фусса–Винклера, в которой сила демпфирования описывается моделью стандартного линейного твердого тела с дробной производной Римана–Лиувилля. Внешняя нагрузка задается при помощи линейного вязкоупругого осциллятора на основе модели Кельвина–Фойгта с дробной производной в случае, когда вязкость осциллятора считается малой величиной. Динамическое поведение пластины описывается системой нелинейных обыкновенных дифференциальных уравнений второго порядка по времени относительно обобщенных перемещений. Методы. Для решения полученной системы уравнений используется метод многих временных масштабов в сочетании с методом разложения дробной производной в ряд Тейлора. Результаты. Получены разрешающие уравнения для определения нелинейных амплитуд и фаз вынужденных колебаний, решение которых получено численно. Данная система уравнений позволяет управлять не только демпфирующими свойствами окружающей среды и основания за счет изменения параметров дробности, но также регулировать параметры демпфирования внешней нагрузки. Выводы. Численный анализ показал, что в рассматриваемой системе «пластина на вязкоупругом основании + подвижная осциллирующая нагрузка» происходит перекачка энергии между взаимодействующими модами колебаний. Представлено сравнение результатов численных исследований для различных значений внешней нагрузки, а также показана зависимость амплитуд нелинейных колебаний от значений параметров дробности окружающей среды и основания.
Об авторах
Анастасия Игоревна Круссер
Воронежский государственный технический университет
Email: an.krusser@yandex.ru
ORCID iD: 0000-0001-6203-2495
SPIN-код: 7199-6920
Scopus Author ID: 57191108680
ResearcherId: U-1872-2019
http://www.mathnet.ru/person190843
аспирант; младший научный сотрудник; Международный научный центр по фундаментальным исследованиям в области естественных и строительных наук им. Заслуженного деятеля науки РФ, профессора Россихина Ю.А
Россия, 394006, Воронеж, ул. 20-летия Октября, 84Марина Вячеславовна Шитикова
Воронежский государственный технический университет; Национальный исследовательский Московский государственный строительный университет
Автор, ответственный за переписку.
Email: mvs@vgasu.vrn.ru
ORCID iD: 0000-0003-2186-1881
SPIN-код: 5023-9854
Scopus Author ID: 7004708164
ResearcherId: A-9834-2010
http://www.mathnet.ru/person148201
доктор физико-математических наук, профессор; главный научный сотрудник; Международный научный центр по фундаментальным исследованиям в области естественных и строительных наук им. Заслуженного деятеля науки РФ, профессора Россихина Ю.А.1; профессор; каф. строительной и теоретической механики2
Россия, 394006, Воронеж, ул. 20-летия Октября, 84; 129337, Москва, Ярославское ш., 26Список литературы
- Герасимов С. И., Ерофеев В. И., Колесов Д. А., Лисенкова Е. Е. Динамика деформируемых систем, несущих движущиеся нагрузки (обзор публикаций и диссертационных исследований) // Вестник научно-технического развития, 2021. №160. С. 25–47. EDN: HJJKPJ. DOI: https://doi.org/10.18411/vntr2021-160-3.
- Frýba L. Vibration of Solids and Structures under Moving Loads / Mechanics of Structural Systems. vol. 1. Springer: Dordrecht, 1973. 484+xxvii pp. DOI: https://doi.org/10.1007/978-94-011-9685-7.
- Younesian D., Hosseinkhani A., Askari H., Esmailzadeh E. Elastic and viscoelastic foundations: a review on linear and nonlinear vibration modeling and applications // Nonlinear Dyn., 2019. vol. 97, no. 1. pp. 853–895. DOI: https://doi.org/10.1007/s11071-019-04977-9.
- Rajabi K., Kargarnovin M. H., Gharini M. Dynamic analysis of a functionally graded simply supported Euler–Bernoulli beam subjected to a moving oscillator // Acta Mech., 2013. vol. 224, no. 2. pp. 425–446. DOI: https://doi.org/10.1007/s00707-012-0769-y.
- Almbaidin A., Abu-Alshaikh I. Vibration of functionally graded beam subjected to moving oscillator using Caputo–Fabrizio fractional derivative model // Romanian Journal of Acoustics and Vibration, 2019. vol. 16, no. 2. pp. 137–146.
- Sawant V. A., Patil V. A., Deb K. Effect of vehicle–pavement interaction on dynamic response of rigid pavements // Geomech. Geoeng., 2011. vol. 6, no. 1. pp. 31–39. DOI: https://doi.org/10.1080/17486025.2010.521591.
- Patil V. A., Sawant V. A., Deb K. Finite element analysis of rigid pavement on a nonlinear two parameter foundation model // Int. J. Geotech. Eng., 2012. vol. 6, no. 3. pp. 275–286. DOI: https://doi.org/10.3328/IJGE.2012.06.03.274-286.
- Ding H., Yang Y., Chen L.-Q., Yang S.-P. Vibration of vehicle–pavement coupled system based on a Timoshenko beam on a nonlinear foundation // J. Sound Vib., 2014. vol. 333, no. 24. pp. 6623–6636. DOI: https://doi.org/10.1016/j.jsv.2014.07.016.
- Yang S., Chen L., Li S. Modeling and dynamic analysis of vehicle-road coupled systems / Dynamics of Vehicle-Road Coupled System. Berlin: Springer, 2015. pp. 215–250. DOI: https://doi.org/10.1007/978-3-662-45957-7_7.
- Meshkov S. I., Pachevskaya G. N., Postnikov V. S., Rossikhin Yu. A. Integral representations of $\varepsilon_\gamma$-functions and their application to problems in linear viscoelasticity // Int. J. Eng. Sci., 1971. vol. 9, no. 4. pp. 387–398. EDN: ZYMWGP. DOI: https://doi.org/10.1016/0020-7225(71)90059-0.
- Rossikhin Yu. A., Shitikova M. V. Applications of fractional calculus to dynamic problems of linear and nonlinear hereditary mechanics of solids // Appl. Mech. Rev., 1997. vol. 57, no. 1. pp. 15–67. EDN: LELUNP. DOI: https://doi.org/10.1115/1.3101682.
- Огородников Е. Н., Яшагин Н. С. Вынужденные колебания дробных осцилляторов / Труды пятой Всероссийской научной конференции с международным участием (29–31 мая 2008 г.). Часть 1: Математические модели механики, прочности и надёжности элементов конструкций / Матем. моделирование и краев. задачи. Самара: СамГТУ, 2008. С. 215–221. EDN: TGYYDN.
- Rossikhin Yu. A., Shitikova M. V. New approach for the analysis of damped vibrations of fractional oscillators // Shock and Vibration, 2009. vol. 16, no. 4, 387676. EDN: MWZYVP. DOI: https://doi.org/10.1155/2009/387676.
- Rossikhin Yu. A., Shitikova M. V. Application of fractional calculus for dynamic problems of solid mechanics: Novel trends and recent results // Appl. Mech. Rev., 2010. vol. 63, no. 1, 010801. EDN: CUFMBA. DOI: https://doi.org/10.1115/1.4000563.
- Огородников Е. Н., Радченко В. П., Яшагин Н. С. Реологические модели вязкоупругого тела с памятью и дифференциальные уравнения дробных осцилляторов // Вестн. Сам. гос. техн. ун-та. Сер. Физ.-мат. науки, 2011. №1(22). С. 255–268. EDN: NUPPZB. DOI: https://doi.org/10.14498/vsgtu932.
- Паровик Р. И., Зуннунов Р. Т. Анализ вынужденных колебаний дробного осциллятора // Пробл. механ., 2019. №4. С. 20–23. EDN: GREHHQ.
- Kerr A. D. Elastic and viscoelastic foundation models // J. Appl. Mech., 1964. vol. 31, no. 3. pp. 491–498. DOI: https://doi.org/10.1115/1.3629667.
- Winkler E. Die Lehre von der Elasticität und Festigkeit. Prague: Dominicius, 1867. 388 pp. (In German)
- Zimmerman H. Die Berechnung des Eisenbahnoberbaues. Berlin: Verlag von Ernst & Korn, 1888. 326 pp.
- Фусс Н. И. Опыт теории о сопротивлении причиняемом дорогами всякаго рода четыреколесным и двуколесным повозкам, с определением обстоятельств, при которых одне из сих повозок полезнее других / Академические сочинения, выбранные из первого тома Деяний Императорской Академии наук, Ч. 1. СПб., 1801. С. 373–422.
- Власов В. З., Леонтьев Н. Н. Балки, плиты, оболочки на упругом основании. М.: Физ.-мат. лит., 1960. 492 с.
- Цытович Н. А. Механика грунтов. М., 1963. 637 с.
- Lai J., Mao S., Qiu J., Fan H., Zhang Q., Hu Z., Chen J. Investigation progresses and applications of fractional derivative model in geotechnical engineering // Math. Probl. Eng., 2016. vol. 2016, no. 3, 9183296. DOI: https://doi.org/10.1155/2016/9183296.
- Taheri M. R., Ting E. C. Dynamic response of plate to moving loads: Structural impedancemethod // Comput. Struct., 1989. vol. 33, no. 6. pp. 1379–1393. DOI: https://doi.org/10.1016/0045-7949(89)90478-1.
- Zaman M., Taheri M. R., Alvappillai A. Dynamic response of a thick plate on viscoelastic foundation to moving loads // Int. J. Numer. Analytical Methods Geomech., 1991. vol. 15, no. 9. pp. 627–647. DOI: https://doi.org/10.1002/nag.1610150903.
- Yang S., Li S., Lu Y. Investigation on dynamical interaction between a heavy vehicle and road pavement // Int. J. Vehicle Mech. Mob., 2010. vol. 48, no. 8. pp. 923–944. DOI: https://doi.org/10.1080/00423110903243166.
- Li S., Yang S., Chen L. A nonlinear vehicle-road coupled model for dynamics research // J. Comput. Nonlinear Dynam., 2013. vol. 8, no. 2, 021001. DOI: https://doi.org/10.1115/1.4006784.
- Amabili M. Nonlinear vibrations of viscoelastic rectangular plates validation // J. Sound Vib., 2016. vol. 362. pp. 142–156. DOI: https://doi.org/10.1016/j.jsv.2015.09.035.
- Amabili M. Nonlinear damping in nonlinear vibrations of rectangular plates: Derivation from viscoelasticity and experimental validation // J. Mech. Phys. Solids, 2018. vol. 118. pp. 275–292. DOI: https://doi.org/10.1016/j.jmps.2018.06.004.
- Шитикова М. В., Канду В. В. Анализ нелинейных колебаний упругой пластинки на вязкоупругом основании при наличии внутреннего резонанса один-к-одному // Изв. вузов. Строительство, 2020. №3. С. 5–22. EDN: VUGFIN.
- Shitikova M. V., Krusser A. I. Nonlinear vibrations of an elastic plate on a viscoelastic foundation modeled by the fractional derivative standard linear solid model / EURODYN 2020, Proc. of the XI International Conference on Structural Dynamics. Athens: National Techn. Univ. of Athens, 2020. pp. 355–368. EDN: UAGFCT. DOI: https://doi.org/10.47964/1120.9028.20091.
- Shitikova M. V., Krusser A. I. Force driven vibrations of nonlinear plates on a viscoelastic Winkler foundation under the harmonic moving load // Int. J. Comput. Civil Struct. Eng., 2021. vol. 17, no. 4. pp. 161–180. EDN: QLTGPZ. DOI: https://doi.org/10.22337/2587-9618-2021-17-4-161-180.
- Вольмир А. С. Нелинейная динамика пластинок и оболочек. М.: Наука, 1972. 432 с.
- Самко С. Г. Килбас А. А., Маричев О. И. Интегралы и производные дробного порядка и некоторые их приложения. Минск: Наука и техника, 1987. 688 с.
- Rossikhin Yu. A., Shitikova M. V. Fractional operator models of viscoelasticity / Encyclopedia of Continuum Mechanics. Berlin: Springer, 2020. pp. 971–982. DOI: https://doi.org/QFEFJE. DOI: https://doi.org/10.1007/978-3-662-55771-6_77.
- Rossikhin Yu. A., Shitikova M. V. Centennial jubilee of Academician Rabotnov and contemporary handling of his fractional operator // Fract. Calc. Appl. Anal., 2014. vol. 17, no. 3. pp. 674–683. EDN: UELRWP. DOI: https://doi.org/10.2478/s13540-014-0192-2.
- Shitikova M. V. The fractional derivative expansion method in nonlinear dynamic analysis of structures // Nonlinear Dyn., 2020. vol. 99, no. 1. pp. 109–122. EDN: JRPYST. DOI: https://doi.org/10.1007/s11071-019-05055-w.
- Nayfeh A. H. Perturbation Technique. New York: Wiley, 1973. 441 pp.
- Rossikhin Yu. A., Shitikova M. V. Application of fractional calculus for analysis of nonlinear damped vibrations of suspension bridges // J. Eng. Mech., 1998. vol. 124, no. 9. pp. 1029–1036. EDN: LEXPPL. DOI: https://doi.org/10.1061/(ASCE)0733-9399(1998)124:9(1029).
- Nayfeh A. H., Mook D. T. Nonlinear Oscillations: Wiley, 1995. 705 pp.
- Rossikhin Yu. A., Krusser A. I., Shitikova M. V. Impact response of a nonlinear viscoelastic auxetic doubly curved shallow shell / ICSV 2017, Proc. of the 24th International Congress on Sound and Vibration. London: Int. Inst. Acoust. Vibration, 2017. EDN: ZGNMET.
- Shitikova M. V., Kandu V. V. Force driven vibrations of fractionally damped plates subjected to primary and internal resonances // Eur. Phys. J. Plus, 2019. vol. 134, no. 9, 423. EDN: GLZXPS. DOI: https://doi.org/10.1140/epjp/i2019-12812-x.
Дополнительные файлы






