Оценка вероятности столкновения разноразмерных частиц порошков при формировании композиционных покрытий детонационным способом
- Авторы: Ганигин С.Ю.1, Гречухина М.С.1, Нечаев А.С.1
-
Учреждения:
- Самарский государственный технический университет
- Выпуск: Том 27, № 4 (2023)
- Страницы: 753-764
- Раздел: Краткие сообщения
- URL: https://journals.eco-vector.com/1991-8615/article/view/629478
- DOI: https://doi.org/10.14498/vsgtu2039
- EDN: https://elibrary.ru/ZOLSXS
- ID: 629478
Цитировать
Полный текст
Аннотация
Представлены результаты оценки вероятности столкновения разноразмерных частиц материалов при получении композиционных покрытий детонационным способом на кумулятивные облицовки перфорационных систем, использующихся при вскрытии нефтяных и газовых пластов. Вследствие разных свойств исходных металлических порошков, используемых для получения композиционных покрытий, взаимодействие их частиц между собой в газотермическом потоке может привести к преждевременному протеканию химических реакций, что приведет к снижению эффективности получаемого покрытия. Предварительный расчет вероятности столкновения частиц металлических порошков позволяет обосновать применяемые технологические режимы нанесения покрытий.
Ключевые слова
Полный текст
1. Введение
Для повышения глубины пробития нефтяных и газовых пластов перспективно использовать кумулятивные облицовки в многослойном исполнении с покрытием из высокоплотных композиционных материалов [1–3], в том числе реакционных [4]. Для получения таких покрытий оптимизируют комплекс факторов, определяющих поведение частиц различного размера напыляемой смеси металлических порошков с момента появления их в стволе детонационной пушки и до слияния их в материале покрытия [5–8].
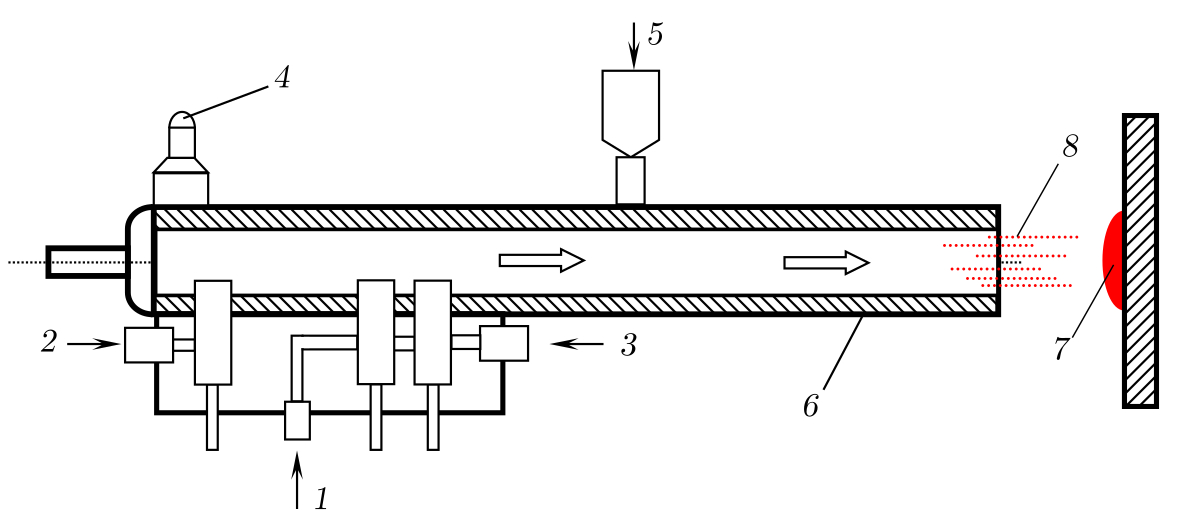
Принципиальная схема детонационной установки и процесс движения частиц порошка в ней показан на рис. 1. Разноразмерные частицы после вылета из дозатора подачи порошка попадают в ствол детонационной установки, проходя путь, равный длине ствола пушки, а также расстояние от среза ствола до облицовки [9]. Максимальные значения производительности и коэффициента использования порошка наблюдаются при минимальной дистанции напыления в 60 мм [10], но качество покрытий при этом снижается.
Рис. 1. Принципиальная схема детонационной установки: 1 — горючее; 2 — инертный газ; 3 — кислород; 4 — свеча зажигания; 5 — дозатор подачи порошка; 6 — ствол детонационной пушки; 7 — кумулятивная облицовка, 8 — поток частиц
[Figure 1. Schematic diagram of the detonation unit: 1 — fuel; 2 — inert gas; 3 — oxygen; 4 — spark plug; 5 — powder supply dispenser; 6 — the barrel of the detonation cannon; 7 — cumulative cladding; 8 — particle flow]
В связи с этим, основываясь на ранее проведенных исследованиях [3], дистанцию напыления для реакционных порошков принимаем равной 150 мм.
Одними из основных требований являются отсутствие реакции между компонентами порошковой смеси, находящейся в стволе детонационной установки в момент нанесения покрытия [11], и исключение возможности столкновения их частиц друг с другом на участке от среза ствола до поверхности кумулятивной облицовки.
2. Оценка вероятности столкновения частиц порошков при детонационном напылении
Вероятность, с которой частицы могут сталкиваться в процессе нанесения покрытия детонационным методом, зависит от ряда факторов: количества частиц в навеске, их массы и дисперсности, расстояния между навесками в канале ствола, динамики движения частиц, которая определяется скоростью и траекторией полета и т.д. Без принятия ряда допущений задача оценки вероятности столкновения частиц становится весьма трудной, а зачастую — нерешаемой из-за отсутствия необходимых начальных данных. В связи с этим были введены некоторые условия, позволяющие упростить постановку задачи, что не окажет значительного влияния на получение функциональной зависимости вероятности столкновения частиц, отражающей физические принципы протекающего процесса [12]:
- будем считать, что поток частиц имеет линейную траекторию движения, а циркуляционные потоки возникают лишь в процессе отражения детонационного потока от подложки, что уже не сказывается на формировании покрытия;
- распределение частиц в процессе их движения носит равномерный характер в рассматриваемом объеме, а вероятности нахождения частиц веществ в рассматриваемом рабочем пространстве не зависят друг от друга;
- поскольку, проходя через порошковые сита при производстве, частицы приобретают многогранную полиэдрическую форму [13], для получения численных значений искомых показателей примем, что частицы имеют сферическую форму, и это позволяет считать линейные размеры частиц постоянными;
- влияние внутренней поверхности ствола на движение и вероятность столкновения частиц в стволе будем считать незначительным, что обосновывается достаточно существенным значением отношения количества частиц, не соприкасающихся с внутренней стенкой ствола и соприкасающихся с ней при ламинарном движении потока;
- столкновение частиц будем считать абсолютно неупругим ударом.
На рис. 2 схематично представлено распределение частиц по длине в канале ствола, где показано распределение малых и больших частиц с учетом указанных выше допущений. На данном рисунке окружность, выделенная пунктирной линией, отражает область около больших частиц, указывающую на то пространство, где нахождение малой частицы соответствует условию их столкновения.
Рис. 2. Схема распределения разноразмерных частиц в стволе детонационной установки
[Figure 2. The scheme of distribution of different-sized particles in the barrel of the detonation unit]
Принимаем, что в определенный момент времени на одном участке поперечного среза ствола находится некоторое количество частиц $N$ большого радиуса и частиц $n$ малого радиуса. В этом случае выражение для оценки вероятности столкновения частиц $P(nN)$ может быть представлено в виде
\[ \begin{equation}
P(nN) = \sum_{i=1}^{[x/\Delta]} \frac{N_in_i(r_b+r_s)^2}{R^2},
\end{equation} \tag{1} \]
где $N_i$ — количество частиц большого радиуса на $i$-том участке траектории длиной $\Delta$; $n_i$ — количество частиц малого радиуса на $i$-том участке траектории длиной $\Delta$; $R$ — внутренний радиус канала ствола; $r_b$ и $r_s$ — радиусы большой и малой частиц соответственно; $[x/\Delta]$ — целое количество малых дискретных длин $\Delta$ на всем расстоянии $x$.
Выражение (1) определяет вероятность того, что хотя бы одна частица малого размера столкнется с частицей большого размера в ракурсе поперечного среза ствола установки детонационного напыления. Для определения вероятности контакта частиц двух веществ во всей этой области удобнее рассмотреть вероятность контакта частиц в малом объеме [11], из которого путем сложения счетного их количества можно получить вероятность контакта частиц во всем исследуемом объеме. Исходя из этого, можно принять универсальную величину малого объема, получаемую из площади поперечного сечения ствола детонационной установки, длиной $\Delta$.
Вероятность того, что хотя бы одна малая частица одного вещества войдет в область контакта хотя бы одной большой частицы другого вещества в определенном нами малом объеме, будет выражаться так:
\[ \begin{equation*}
P(n_\Delta N_\Delta) = \frac{2N_\Delta n_\Delta (r_b+r_s)^2}{3R^2},
\end{equation*} \]
где $N_\Delta$ и $n_\Delta$ — количество больших и малых частиц вещества в заданном малом объеме.
Для всей рассматриваемой области вероятность контакта $P_x(nN)$ больших и малых частиц при равномерном распределении частиц во всем времени протекания процесса будет определяться выражением
\[ \begin{equation}
P_x(n_\Delta N_\Delta) = 1 - \Bigl(1- \frac{2N_\Delta n_\Delta (r_b+r_s)^2}{3R^2}\Bigr)^{[x/\Delta]}.
\end{equation} \tag{2} \]
При несоблюдении условия линейности траектории движения частиц или при непостоянстве скорости потока возникает ошибка при расчетах по предложенной модели (2). В этом случае для коррекции модели предлагается рассматривать малые объемы, считая скорость потока частиц в них постоянной и равной усредненному значению скоростей частиц на входе и на выходе этой зоны.
Зависимость (2) можно считать выражением, дающим оценку вероятности столкновения частиц порошков двух металлов в процессе детонационного напыления с учетом приведенных допущений. Из этого выражения также следует, что при больших величинах $N_\Delta$ и $n_\Delta$ вероятность контакта двух частиц будет велика, однако нужно понимать, что исходя из условия проведения численного эксперимента величины $N_\Delta$ и $n_\Delta$ будут ограничены размерами самих частиц и внутренним радиусом ствола.
3. Проверка соответствия зависимости для оценки вероятности столкновения частиц в процессе детонационного напыления экспериментальным данным
Для проверки работоспособности полученной зависимости были произведены математические расчеты. Для расчета были выбраны размеры больших и малых частиц двух металлических порошков с дисперсностью 6 и 3 мкм соответственно. Диаметр ствола детонационной пушки принимается равным 5 мм. Расстояние от границы среза ствола до получаемой детали (кумулятивной облицовки) варьируется в зависимости от свойств исходных наносимых порошков.
Считаем, что частицы после вылета из ствола продолжают двигаться прямолинейно и конечная площадь нанесения композиционного покрытия соответствует диаметру ствола детонационной установки.
Для оценки данных процесса детонационного напыления будем использовать вероятность столкновения минимум двух частиц (одной большой и одной малой) при определенных условиях с помощью формулы (2).
2.1. Исследование вероятности столкновения частиц порошков с одинаковым количеством одного и второго компонентов.
Проведем несколько расчетов, изменяя количество напыляемых частиц и дальность их полета, по формуле (2). В табл. 1 представлены данные расчета вероятности столкновения частиц по формуле (2). Здесь в строках приведена зависимость вероятности столкновения частиц от величины $[x/\Delta]$, которая напрямую зависит от расстояния между дулом ствола экспериментальной установки и подложки при постоянном значении количества частиц. В столбцах приведены значения вероятностей столкновения частиц при постоянном значении $[x/\Delta]$, но изменяющихся значениях $n=N$.
| $x$, mm | 0.05 | 0.1 | 0.28 | 0.46 | 0.64 |
| $n=N$ $\backslash$ $[x/\Delta]$ | 3 | 5 | 15 | 25 | 35 |
| 50 | 0.0019 | 0.0018 | 0.00036 | 0.00021 | 0.0001 |
| 100 | 0.0077 | 0.0043 | 0.0014 | 0.00086 | 0.0006 |
| 200 | 0.0311 | 0.0172 | 0.0057 | 0.0034 | 0.0024 |
| 300 | 0.0699 | 0.0388 | 0.0129 | 0.0078 | 0.0055 |
| 400 | 0.1244 | 0.0691 | 0.0230 | 0.0138 | 0.0098 |
| 500 | 0.1944 | 0.1080 | 0.0360 | 0.0216 | 0.0154 |
| 700 | 0.3810 | 0.2116 | 0.0705 | 0.0423 | 0.0302 |
| 900 | 0.6298 | 0.3499 | 0.1166 | 0.0699 | 0.0499 |
| 1200 | 1.1197 | 0.6220 | 0.2073 | 0.1244 | 0.0889 |
| 1350 | 1.4171 | 0.7873 | 0.2624 | 0.1574 | 0.1124 |
Из приведенных в табл. 1 расчетов видно, что при достижении определенной величины количества частиц вероятность их столкновения превышает единицу,1 что является невозможным, поэтому необходимо модернизировать ранее полученную формулу (2).
В [14] описывается возможность использования показательного закона распределения при анализе физических закономерностей диффузии частиц в различных воздушных и гидродинамических потоках. Это распределение характеризуется интенсивностью столкновения частиц, которая является удобным параметром, используемым в математических моделях и расчетах. Исходя из этого примем закон распределения вероятности как изменение от числа больших и малых частиц по показательному закону:
\[ \begin{equation*}
f(a) =
\begin{cases}
0, & a< 0, \\
1- \exp(-\lambda a), & a \geqslant 0,
\end{cases}
\end{equation*} \]
где $\lambda$ — феноменологический параметр.
Под экспоненту вместо постоянной безразмерной величины $\lambda$ поставим выражение, отражающее отношение объема присутствующих частиц к объему области движения частиц:
\[ \begin{equation*}
\lambda = [x/\Delta]\frac{2 (r_b+r_s)^2}{3R^2}.
\end{equation*} \]
Тогда окончательно получим
\[ \begin{equation}
f(N_\Delta n_\Delta) = 1- \exp\Bigl(- [x/\Delta] \frac{2(r_b+r_s)^2}{3R^2} N_\Delta n_\Delta \Bigr).
\end{equation} \tag{3} \]
В табл. 2 представлены данные расчета вероятности столкновения частиц по формуле (3).
| $x$, mm | 0.05 | 0.1 | 0.28 | 0.46 | 0.64 |
| $n=N$ $\backslash$ $[x/\Delta]$ | 3 | 5 | 15 | 25 | 35 |
| 50 | 0.0019 | 0.0010 | 0.00035 | 0.00021 | 0.0001 |
| 100 | 0.0077 | 0.0043 | 0.0014 | 0.00086 | 0.0006 |
| 200 | 0.0306 | 0.0171 | 0.0057 | 0.0034 | 0.0024 |
| 300 | 0.0675 | 0.0381 | 0.0128 | 0.0077 | 0.0055 |
| 400 | 0.1169 | 0.0667 | 0.0227 | 0.0137 | 0.0098 |
| 500 | 0.1766 | 0.1023 | 0.0353 | 0.0213 | 0.0153 |
| 700 | 0.3168 | 0.1907 | 0.0680 | 0.0414 | 0.0297 |
| 900 | 0.4673 | 0.2952 | 0.1100 | 0.0675 | 0.0487 |
| 1200 | 0.6736 | 0.4631 | 0.1872 | 0.1169 | 0.0850 |
| 1350 | 0.7576 | 0.5449 | 0.2308 | 0.1456 | 0.1063 |
Из приведенных расчетных данных видно, что при малом количестве частиц значения вероятностных характеристик соотношений (2) и (3) практически совпадают, а при большом количестве частиц формула (3) дает лучшее соответствие физическому процессу.
В табл. 3 приведены расчеты по формуле (3) при больших значениях $[x/\Delta]$, которые отражают вероятностную оценку столкновения частиц при большем отдалении облицовки от выхода канала ствола.
| $x$, m | 0.1 | 0.12 | 0.14 | 0.16 |
| $n=N$ $\backslash$ $[x/\Delta]$ | 5560 | 6670 | 7780 | 8890 |
| 100 | $3.887 \cdot 10 ^{-6}$ | $3.239 \cdot 10 ^{-6}$ | $2.777 \cdot 10 ^{-6}$ | $2.43 \cdot 10 ^{-6}$ |
| 300 | $3.499 \cdot 10 ^{-5}$ | $2.915 \cdot 10 ^{-5}$ | $2.499 \cdot 10 ^{-5}$ | $2.187 \cdot 10 ^{-5}$ |
| 500 | $9.719 \cdot 10 ^{-5}$ | $8.099 \cdot 10 ^{-5}$ | $6.942 \cdot 10 ^{-5}$ | $6.074 \cdot 10 ^{-5}$ |
| 700 | $19.049 \cdot 10 ^{-5}$ | $15.874 \cdot 10 ^{-5}$ | $13.607 \cdot 10 ^{-5}$ | $11.906 \cdot 10 ^{-5}$ |
| 1200 | $55.971 \cdot 10 ^{-5}$ | $46.645 \cdot 10 ^{-5}$ | $39.982 \cdot 10 ^{-5}$ | $34.985 \cdot 10 ^{-5}$ |
| 1350 | $70.833 \cdot 10 ^{-5}$ | $59.031 \cdot 10 ^{-5}$ | $50.6 \cdot 10 ^{-5}$ | $44.276 \cdot 10 ^{-5}$ |
Из результатов, приведенных в табл. 3, видно, что при условии равномерности распределения частиц по всему рабочему объему вероятность столкновения частиц уменьшается с ростом расстояния между облицовкой и дулом ствола. Полученные значения могут использоваться в качестве некоторой критериальной оценки при размещении облицовки в процессе отработки технологических режимов детонационного напыления.
2.2. Исследование вероятности столкновения частиц металлических порошков с одинаковой массой насыпок.
Найдем массу одной частицы каждого из напыляемых порошков. Для этого примем отношение плотностей одного металла ко второму равным 6 (соотношение плотностей, используемых для напыления металлических порошков).
Из условия постоянства линейных размеров частиц ранее были выбраны большие и малые частицы дисперсностью 6 и 3 мкм соответственно. Принимая во внимание тот факт, что частицы имеют сферическую форму с известным диаметром и известным отношением плотностей, можно достаточно просто определить количество больших и малых частиц в насыпках металла, имеющих равную массу. Авторами было определено количество частиц большого $N$ и малого $n$ размеров, имеющих одинаковую массу насыпок, значения которых приведены в первых столбцах табл. 4 и 5. По формуле (3) были рассчитаны вероятности столкновения частиц в канале ствола до их соударения с облицовкой в зависимости от числа частиц большого и малого размера (см. табл. 4).
| $x$, mm | 0.05 | 0.1 | 0.28 | 0.46 | 0.64 |
| $N$; $n$ $\backslash$ $[x/\Delta]$ | 3 | 5 | 15 | 25 | 35 |
| $N = 12$; $n = 92$ | 0.00079 | 0.00047 | 0.00015 | $9.5 \cdot 10^{-5}$ | $6.813\cdot 10^{-5}$ |
| $N = 20$; $n = 154$ | 0.0022 | 0.0013 | 0.00044 | 0.00026 | 0.00019 |
| $N = 46$; $n = 370$ | 0.0121 | 0.0073 | 0.0024 | 0.00146 | 0.00104 |
| $N = 65$; $n = 524$ | 0.0242 | 0.0146 | 0.0048 | 0.0029 | 0.0020 |
| $N = 85$; $n = 679$ | 0.0407 | 0.0246 | 0.0082 | 0.0049 | 0.0035 |
| $N = 104$; $n = 833$ | 0.0604 | 0.0367 | 0.0123 | 0.0074 | 0.0053 |
| $N = 150$; $n = 1203$ | 0.1218 | 0.0749 | 0.0256 | 0.0154 | 0.0110 |
| $N = 208$; $n = 1666$ | 0.2208 | 0.1390 | 0.04867 | 0.0294 | 0.0211 |
| $N = 266$; $n = 2129$ | 0.3348 | 0.2170 | 0.0783 | 0.0477 | 0.0343 |
| $N = 293$; $n = 2345$ | 0.3902 | 0.2568 | 0.0942 | 0.0576 | 0.0415 |
В табл. 5 приведены результаты расчета при больших значениях $[x/\Delta]$, полученные по формуле (3), что соответствует большему удалению облицовки от среза канала ствола, при равенстве масс насыпок.
| $x$, m | 0.1 | 0.12 | 0.14 | 0.16 |
| $N$; $n$ $\backslash$ $[x/\Delta]$ | 5560 | 6670 | 7780 | 8890 |
| $N = 20$; $n = 154$ | $1.197 \cdot 10^{-7}$ | $9.979 \cdot 10^{-7}$ | $8.553 \cdot 10^{-7}$ | $7.484 \cdot 10^{-7}$ |
| $N = 65$; $n = 524$ | $1.324 \cdot 10^{-5}$ | $1.103 \cdot 10^{-5}$ | $9.459 \cdot 10^{-6}$ | $8.276 \cdot 10^{-6}$ |
| $N = 104$; $n = 833$ | $3.368 \cdot 10^{-5}$ | $2.806 \cdot 10^{-5}$ | $2.405 \cdot 10^{-5}$ | $2.105 \cdot 10^{-5}$ |
| $N = 150$; $n = 1203$ | $7.015 \cdot 10^{-5}$ | $5.846 \cdot 10^{-5}$ | $5.011 \cdot 10^{-5}$ | $4.384 \cdot 10^{-5}$ |
| $N = 266$; $n = 2129$ | $22.015 \cdot 10^{-5}$ | $18.346 \cdot 10^{-5}$ | $15.726 \cdot 10^{-5}$ | $13.760 \cdot 10^{-5}$ |
| $N = 293$; $n = 2345$ | $26.710 \cdot 10^{-5}$ | $22.259 \cdot 10^{-5}$ | $19.079 \cdot 10^{-5}$ | $16.694 \cdot 10^{-5}$ |
Из результатов расчетов, приведенных в табл. 3–5, можно сделать выводы о том, что при соблюдении условий равенства масс насыпок вероятность столкновения частиц в процессе движения вдоль канала ствола будет значительно меньше, чем при соблюдении условия равенства количества частиц в насыпках. Полученные результаты дают возможность прогнозировать равномерность наложения слоев облицовки в зависимости от количества частиц, их размера и массы насыпок.
Заключение
В результате проведенных теоретических исследований получена зависимость, дающая оценку вероятности столкновения разноразмерных частиц при формировании композиционных покрытий в процессе детонационного напыления.
С помощью предлагаемого предварительного расчета можно непосредственно перед напылением обосновать технологические режимы получения покрытий на кумулятивные облицовки с необходимыми адгезионными и прочностными характеристиками.
Конкурирующие интересы. В публикации статьи отсутствуют конкурирующие финансовые или нефинансовые интересы.
Авторский вклад и ответственность. Все авторы принимали участие в разработке концепции статьи и в написании рукописи. Авторы несут полную ответственность за предоставление окончательной рукописи в печать. Окончательная версия рукописи была одобрена всеми авторами.
Финансирование. Исследование выполнено при финансовой поддержке Министерства науки и высшего образования Российской Федерации в рамках государственного задания (тема № АААА-А12-2110800012-0).
1Данный результат расчета связан со слишком плотной упаковкой рассматриваемого количества частиц в малом объеме.
Об авторах
Сергей Юрьевич Ганигин
Самарский государственный технический университет
Email: ganigin.s.yu@yandex.ru
ORCID iD: 0000-0001-5778-6516
https://www.mathnet.ru/person38985
доктор технических наук, доцент; декан; инженерно-технологический факультет
Россия, 443100, Самара, ул. Молодогвардейская, 244Мария Сергеевна Гречухина
Самарский государственный технический университет
Автор, ответственный за переписку.
Email: mariya_grechukhina@mail.ru
ORCID iD: 0000-0001-7797-3802
https://www.mathnet.ru/person191499
кандидат технических наук; старший научный сотрудник; лаб. цифровых двойников материалов и технологических процессов их обработки
Россия, 443100, Самара, ул. Молодогвардейская, 244Александр Сергеевич Нечаев
Самарский государственный технический университет
Email: nechaev-as@mail.ru
ORCID iD: 0000-0002-0939-8292
https://www.mathnet.ru/person53600
кандидат технических наук; доцент; каф. радиотехнических устройств
Россия, 443100, Самара, ул. Молодогвардейская, 244Список литературы
- Ненашев М. В., Калашников В. В., Ибатуллин И. Д. [и др.] Оптимизация технологии нанесения детонационных покрытий на опоры буровых долот с использованием // Изв. Самар. научн. центра РАН, 2010. Т. 12, №1. С. 462–466. EDN: NDXTXD.
- Калашников В. В., Деморецкий Д. А., Ненашев М. В. [и др.] Детонационный способ и технология изготовления многослойных облицовок зарядов кумулятивных перфораторов // Вестн. Сам. гос. техн. ун-та. Сер. Техн. науки, 2011. №3(31). С. 213–218. EDN: OXTREH.
- Патент № RU 2744805 C1: Способ нанесения реакционноспособного композиционного покрытия на основе Ni-Al / М. В. Ненашев, Д. А. Деморецкий, С. Ю. Ганигин, И. В. Нечаев, И. А. Кузнецов, А. А. Новиков, В. Л. Симогин, А. Ю. Мурзин, А. Г. Попов, А. Т. Нурмухаметов, Н. С. Альдебенев, М. С. Гречухина, И. Р. Тонеев. Патентообладатель: ФГБОУ ВО «СамГТУ». Номер заявки: 2020113997. Дата регистрации: 03.04.2020. Дата публикации: 15.03.2021, 2021. http://www.fips.ru/cdfi/fips.dll/ru?ty=29&docid=2744805. EDN: XVKCSP.
- Aly Y., Schoenitz M., Dreizin E. L. Aluminum-metal reactive composites // Combustion Science and Technology, 2011. vol. 183, no. 10. pp. 1107–1132. DOI: https://doi.org/10.1080/00102202.2011.584090.
- Штерцер А. А., Ульяницкий В.Ю., Рыбин Д. К Суспензионное детонационное напыление керамических покрытий // Физика горения и взрыва, 2019. Т. 55, №4. С. 121–128. EDN: DPXZRY. DOI: https://doi.org/10.15372/FGV20190416.
- Ulianitsky V. Yu., Dudina D. V., Shtertser A. A., Smurov I. Computer-controlled detonation spraying: Flexible control of the coating chemistry and microstructure // Metals, 2019. vol. 9, no. 12, 1244. EDN: IRTUWE. DOI: https://doi.org/10.3390/met9121244.
- Батраев И. С., Рыбин Д. К., Ульяницкий В. Ю. Параметры детонации смесей, создаваемых при инжекции газовых компонентов в ствол импульсного газодетонационного аппарата // Физика горения и взрыва, 2021. Т. 57, №1. С. 27–33. EDN: WXKKTG. DOI: https://doi.org/10.15372/FGV20210103.
- Батраев И. С., Прохоров Е. С., Ульяницкий В. Ю. Ускорение дисперсных частиц продуктами газовой детонации в расширяющемся канале // Физика горения и взрыва, 2021. Т. 57, №5. С. 86–95. EDN: XLPYRN. DOI: https://doi.org/10.15372/FGV20210508.
- Ulianitsky V. Yu., Shtertser A. A., Batraev I. S., Rybin D. K. Fabrication of layered ceramic-metal composites by detonation spraying // Ceramics Intern., 2020. vol. 46, no. 17. pp. 27903–27908. EDN: PAVTPA. DOI: https://doi.org/10.1016/j.ceramint.2020.07.225.
- Rybin D. K., Batraev I. S., Dudina D. V., Ukhina A. V., Ulianitsky V. Yu. Deposition of tungsten coatings by detonation spraying // Surf. Coat. Technol., 2021. vol. 409, 126943. EDN: EUTKJS. DOI: https://doi.org/10.1016/j.surfcoat.2021.126943.
- Ганигин С. Ю., Гречухина М. С., Нечаев А. С., Мурзин А. Ю., Воронцова В. А. Математическое прогнозирование вероятности столкновения частиц в процессе детонационного напыления // Вестн. Сам. гос. техн. ун-та. Сер. Физ.-мат. науки, 2022. Т. 26, №4. С. 789–801. EDN: FPLFZP. DOI: https://doi.org/10.14498/vsgtu1975.
- Nechaeva I., Nechaev A. Method of assessing the sensitivity of the dust-air mixture to thermal effects caused by electric discharge / 2019 XXI International Conference Complex Systems: Control and Modeling Problems (CSCMP), 2019. pp. 553–557. EDN: DMELHU. DOI: https://doi.org/10.1109/CSCMP45713.2019.8976612.
- Зенина М. В. Производство металлических порошков (гранул) для сырьевого обеспечения аддитивных технологий в машиностроении // Технология легких сплавов, 2015. №3. С. 32–38. EDN: UQEPYP.
- Levi M. Classical Mechanics with Calculus of Variations and Optimal Control: An Intuitive Introduction / Student Mathematical Library. vol. 69. Providence, RI: Amer. Math. Soc., 2014. xx+299 pp.
Дополнительные файлы





