Анализ энергоемкости гальванического комплекса машиностроительного производства
- Autores: 1, 1, 1, 1
-
Afiliações:
- Самарский государственный технический университет
- Edição: Volume 1 (2022)
- Páginas: 495-497
- Seção: Теплоэнергетика и теплотехника
- URL: https://journals.eco-vector.com/osnk-sr/article/view/107091
- ID: 107091
Citar
Texto integral
Resumo
Обоснование. Рассмотрены проблемы энергоэффективности продукции крупного машиностроительного предприятия, связанные с затруднительностью регулирования при централизованном паропотреблении и сезонностью изменения энергопотребления [1]. Проведен анализ потребления энергетических ресурсов типичным крупным машиностроительным предприятием мелкосерийного и единичного типа производства. Выявлены причины нерационального использования энергоресурсов, связанные с невозможностью регулировки режима работы энергооборудования в зависимости от коэффициента загрузки производственных мощностей (гальванических ванн) при централизованном пароснабжении. Установлено, что гальванический комплекс достаточно энергоемок. Повышенные энергозатраты (например, тепловые потери паропровода, простои при энергопотреблении и т.п.) влекут за собой увеличение себестоимости продукции и снижение конкурентоспособности [2, 3].
Цель — снижение энергозатрат предприятия и себестоимости продукции.
Методы. Составлен энергобаланс энергоемкого технологического участка — гальванического комплекса [4, 5], отражающий расчетные тепловые нагрузки при нагреве электролита и поддержании теплового режима в зависимости от времени работы ванн и массы обрабатываемых деталей с учетом особенностей работы технологического оборудования.
Определены наиболее эффективные способы энергообеспечения в зависимости от коэффициента загрузки и используемого топливно-энергетического ресурса (ТЭР) ванн гальванического комплекса [6]. Рассмотрены несколько вариантов схем технологического энергоснабжения в зависимости от коэффициента загрузки оборудования и технической возможности его параллельно-последовательного включения.
Для выбора мощности источника энергоснабжения и режима его работы определены тепловые нагрузки при энергоснабжении гальванических ванн, связанные с выводом на режим и его поддержанием, исходя из времени работы каждой ванны.
Энергетический баланс нагрева электролита (Дж) складывается из количества теплоты, необходимой для разогрева ванн до заданной по технологическим условиям температуры, и количества теплоты для поддержания рабочей температуры ванны, т.е. компенсации тепловых потерь в окружающую среду [7, 8].
Qн = Q1 + Q2 = (C1G1 + C2G2 + C3G3) (tк – tн) + Q2. (1)
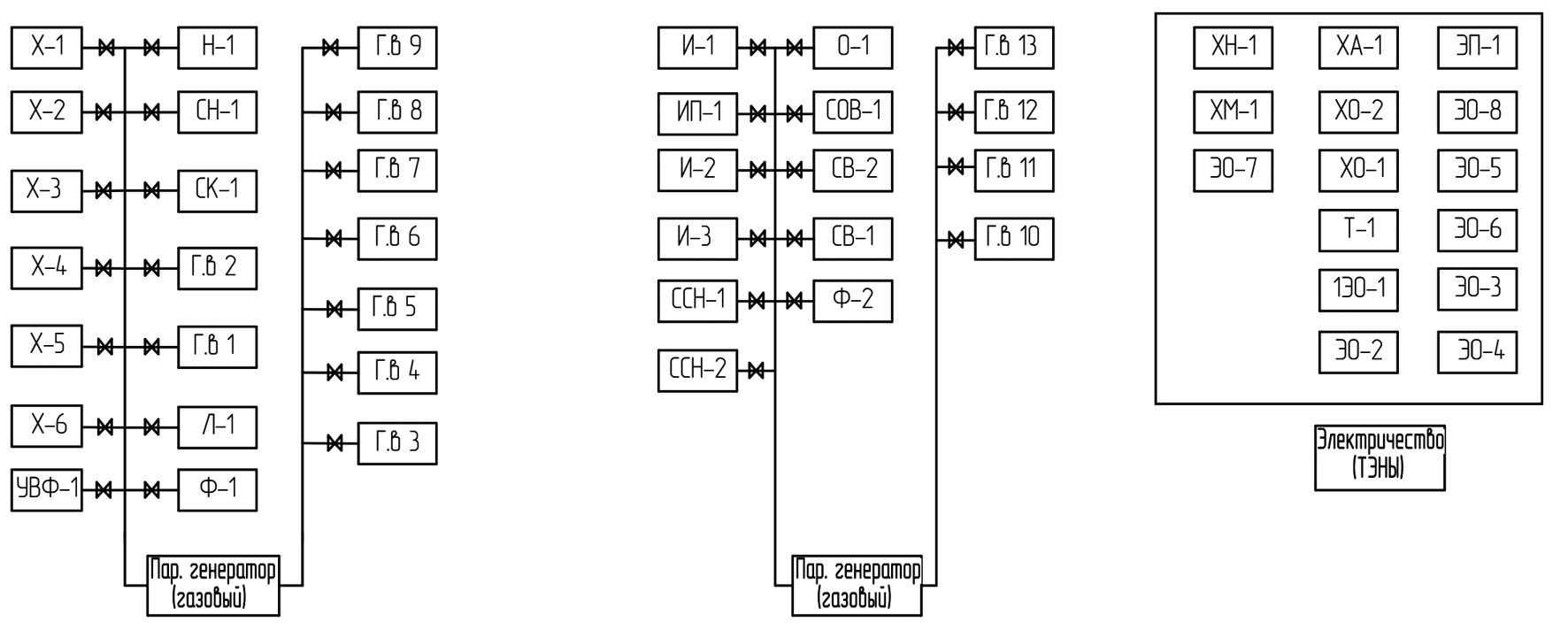
Рис. Схема планировки цеха с учетом последовательности гальванических процессов, их температурных параметров, коэффициента загрузки и возможности параллельно-последовательной работы для выравнивания загрузки парогенераторов
Результаты. Установлено, что использование альтернативных децентрализованных источников теплоснабжения приводит к повышению энергетической эффективности использования ТЭР, и к снижению затрат на энергообеспечение технологических процессов по сравнению с централизованным пароснабжением. Выявлено, что при организации работы технологического оборудования по параллельно-последовательной схеме (см. рисунок) обеспечивается равномерная эффективная загрузка парогенераторов и высокая энергетическая эффективность гальванического производства. Для энергообеспечения гальванического комплекса предложена комбинированная схема теплоснабжения локальными теплоисточниками от электросети и газовых парогенераторов с учетом наиболее полной их загрузки.
Таблица. Потребление ТЭР при альтернативных вариантах теплообеспечения и централизованного пароснабжения
Вариант 2 (с параллельно-последовательным включением оборудования) | |||||
Источник | Потребляемый ТЭР | Единицы измерения | Потребление ТЭР в натуральных единицах | Затраты, тыс.руб | Суммарное потребление ТЭР по вариантам, т.у.т |
Парогенератор 1 | Газ | тыс. м3 | 204,6 | 1264,44 | – |
Парогенератор 2 | Газ | тыс. м3 | 78,24 | 483,49 | – |
Электрические ТЭНы | Электричество | кВт/ч | 1247435,94 | 4155,45 | – |
Итого | 5903,38 | 479,83 | |||
Базовый вариант (централизованое пароснабжение) | |||||
Централизованное пароснабжение | Пар | Гкал | 106999 | 151973,66 | 15300,86 |
Из таблицы видно, что при организации энергообеспечения по схеме (см. рисунок) потребление энергии уменьшается по сравнению с базовым вариантом. Энергетическая эффективность обусловливается тем, что рассматриваемые варианты теплоснабжения зависят от коэффициента загрузки оборудования и по сравнению с централизованным пароснабжением имеют минимальные тепловые потери.
Выводы. Централизованое пароснабжение гальванического мелкосерийного производства неэффективно, так как низкий коэффициент загрузки приводит к нерациональному энергопотреблению. При организации теплоснабжения гальванического производства выявлено, что с учетом коэффициента загрузки наиболее эффективно запитывать ванны с низким коэффициентом (до 5 %) загрузки от гибко управляемых ТЭНов. Остальные ванны — от газовых парогенераторов с учетом параллельно-последовательного их включения для экономичной работы источника теплоснабжения. Установлено, что при децентрализованном теплоснабжении сезонные теплопотери минимальны, так как при этом теплообеспечение гальванического комплекса не имеет внешних сетей в отличие от централизованого пароснабжения и поэтому наиболее эффективно используются энергоресурсы для обеспечения технологического процесса.
Texto integral
Обоснование. Рассмотрены проблемы энергоэффективности продукции крупного машиностроительного предприятия, связанные с затруднительностью регулирования при централизованном паропотреблении и сезонностью изменения энергопотребления [1]. Проведен анализ потребления энергетических ресурсов типичным крупным машиностроительным предприятием мелкосерийного и единичного типа производства. Выявлены причины нерационального использования энергоресурсов, связанные с невозможностью регулировки режима работы энергооборудования в зависимости от коэффициента загрузки производственных мощностей (гальванических ванн) при централизованном пароснабжении. Установлено, что гальванический комплекс достаточно энергоемок. Повышенные энергозатраты (например, тепловые потери паропровода, простои при энергопотреблении и т.п.) влекут за собой увеличение себестоимости продукции и снижение конкурентоспособности [2, 3].
Цель — снижение энергозатрат предприятия и себестоимости продукции.
Методы. Составлен энергобаланс энергоемкого технологического участка — гальванического комплекса [4, 5], отражающий расчетные тепловые нагрузки при нагреве электролита и поддержании теплового режима в зависимости от времени работы ванн и массы обрабатываемых деталей с учетом особенностей работы технологического оборудования.
Определены наиболее эффективные способы энергообеспечения в зависимости от коэффициента загрузки и используемого топливно-энергетического ресурса (ТЭР) ванн гальванического комплекса [6]. Рассмотрены несколько вариантов схем технологического энергоснабжения в зависимости от коэффициента загрузки оборудования и технической возможности его параллельно-последовательного включения.
Для выбора мощности источника энергоснабжения и режима его работы определены тепловые нагрузки при энергоснабжении гальванических ванн, связанные с выводом на режим и его поддержанием, исходя из времени работы каждой ванны.
Энергетический баланс нагрева электролита (Дж) складывается из количества теплоты, необходимой для разогрева ванн до заданной по технологическим условиям температуры, и количества теплоты для поддержания рабочей температуры ванны, т.е. компенсации тепловых потерь в окружающую среду [7, 8].
Qн = Q1 + Q2 = (C1G1 + C2G2 + C3G3) (tк – tн) + Q2. (1)
Рис. Схема планировки цеха с учетом последовательности гальванических процессов, их температурных параметров, коэффициента загрузки и возможности параллельно-последовательной работы для выравнивания загрузки парогенераторов
Результаты. Установлено, что использование альтернативных децентрализованных источников теплоснабжения приводит к повышению энергетической эффективности использования ТЭР, и к снижению затрат на энергообеспечение технологических процессов по сравнению с централизованным пароснабжением. Выявлено, что при организации работы технологического оборудования по параллельно-последовательной схеме (см. рисунок) обеспечивается равномерная эффективная загрузка парогенераторов и высокая энергетическая эффективность гальванического производства. Для энергообеспечения гальванического комплекса предложена комбинированная схема теплоснабжения локальными теплоисточниками от электросети и газовых парогенераторов с учетом наиболее полной их загрузки.
Таблица. Потребление ТЭР при альтернативных вариантах теплообеспечения и централизованного пароснабжения
Вариант 2 (с параллельно-последовательным включением оборудования) | |||||
Источник | Потребляемый ТЭР | Единицы измерения | Потребление ТЭР в натуральных единицах | Затраты, тыс.руб | Суммарное потребление ТЭР по вариантам, т.у.т |
Парогенератор 1 | Газ | тыс. м3 | 204,6 | 1264,44 | – |
Парогенератор 2 | Газ | тыс. м3 | 78,24 | 483,49 | – |
Электрические ТЭНы | Электричество | кВт/ч | 1247435,94 | 4155,45 | – |
Итого | 5903,38 | 479,83 | |||
Базовый вариант (централизованое пароснабжение) | |||||
Централизованное пароснабжение | Пар | Гкал | 106999 | 151973,66 | 15300,86 |
Из таблицы видно, что при организации энергообеспечения по схеме (см. рисунок) потребление энергии уменьшается по сравнению с базовым вариантом. Энергетическая эффективность обусловливается тем, что рассматриваемые варианты теплоснабжения зависят от коэффициента загрузки оборудования и по сравнению с централизованным пароснабжением имеют минимальные тепловые потери.
Выводы. Централизованое пароснабжение гальванического мелкосерийного производства неэффективно, так как низкий коэффициент загрузки приводит к нерациональному энергопотреблению. При организации теплоснабжения гальванического производства выявлено, что с учетом коэффициента загрузки наиболее эффективно запитывать ванны с низким коэффициентом (до 5 %) загрузки от гибко управляемых ТЭНов. Остальные ванны — от газовых парогенераторов с учетом параллельно-последовательного их включения для экономичной работы источника теплоснабжения. Установлено, что при децентрализованном теплоснабжении сезонные теплопотери минимальны, так как при этом теплообеспечение гальванического комплекса не имеет внешних сетей в отличие от централизованого пароснабжения и поэтому наиболее эффективно используются энергоресурсы для обеспечения технологического процесса.
Sobre autores
Самарский государственный технический университет
Email: mikhaillivshits@gmail.com
научный руководитель, доктор технических наук, профессор; заведующий кафедрой управления и системного анализа теплоэнергетических и социотехнических комплексов
Rússia, СамараСамарский государственный технический университет
Email: alyona512@yandex.ru
аспирант, инженер, кафедра управления и системного анализа теплоэнергетических и социотехнических комплексов
Rússia, СамараСамарский государственный технический университет
Email: mmikushi@mail.ru
студент, группа 2-ТЭФ-1М
Rússia, СамараСамарский государственный технический университет
Autor responsável pela correspondência
Email: voevodinaleksandr98@mail.ru
студент, группа 2-ТЭФ-1М
Rússia, СамараBibliografia
- Мещерякова Т.С. Анализ энергозатрат промышленных предприятий в современных условиях // НП АВОК. Энергосбережение. 2015. № 4. С. 36–42.
- Kogan M.V., Mitchenko I.A. Economic risk planning of the industrial enterprises // Eur J Econom Stud. 2012. Vol. 1, No. 1. P. 30–36.
- Баранчикова С.Г., Дашкова Т.Е., Ершова И.В., и др. Управление машиностроительным предприятием: учебное пособие. Екатеринбург: Изд-во Уральского университа, 2015. 252 с.
- Lishnskii G.Ya., Kachanova N.P., Raznorovich T.V., Grishin I.A. Ekectrodeposition of chromium in pulsed current regimes // Protection of Metals. 1990. Vol. 26, No. 1. P. 130–132.
- Мельников П.С. Справочник по гальванопокрытиям в машиностроении. Москва: Машиностроение, 1979. 296 с.
- Щепилло Л.В. Разработка и исследование энергетических схем предприятий по термической переработке отходов с парогазовым циклом энергопроизводства: автореф. дисс. … канд. техн. наук. Москва: МГУИЭ, 2005.
- Плеханов И.Ф. Расчет и конструирование устройств для нанесения гальванических покрытий. Москва: Машиностроение, 1988. 224 с.
- Нащокин В.В. Техническая термодинамика и теплопередача: учебное пособие для вузов. Москва: Высшая школа, 1959. 560 с.
Arquivos suplementares
