Улучшение конструкции уплотнения вала с целью повышения его надежности
- Authors: 1
-
Affiliations:
- Филиал Самарского государственного технического университета
- Issue: Vol 1 (2024)
- Pages: 325-326
- Section: ЧАСТЬ I. Технологии производства и ремонта машин и аппаратуры
- URL: https://journals.eco-vector.com/osnk-sr2024/article/view/631345
- ID: 631345
Cite item
Full Text
Abstract
Филиал Самарского государственного технического университета, Сызрань, Россия
Обоснование. В контактных уплотнениях вала агрегата гидротурбины истираются поверхности механического контакта. Это возникает из-за наличия различных включений в речной воде, недостаточной очистки охлаждающей жидкости, а также при высоких температурах в зоне пары трения [1].
В настоящее время при работе с торцевыми углеграфитовыми уплотнениями, наиболее часто применяемыми в высоконапорных турбинах, возникали проблемы, которые приводили к полной остановке агрегата и требовали полной замены секторов, составляющих пару трения.
Цель — повышение долговечности конструкции уплотнения вала гидротурбины.
Методы:
- анализ базовой конструкции узла;
- анализ существующих аналогов уплотнения вала;
- выбор прототипа;
- разработка предлагаемой конструкции уплотнения вала.
На данном этапе предлагается разработать комбинированное уплотнение вала турбины, которое позволит повысить срок службы данного узла.
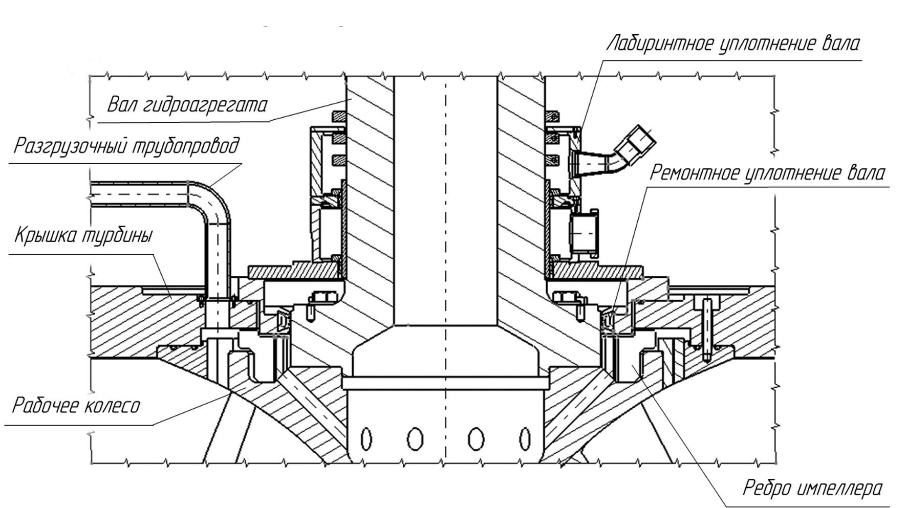
Результаты. Разработана конструкция уплотнения вала импеллерно-лабиринтного типа (рис. 1), включающая разгрузочные трубопроводы в крышке турбины.
Рис. 1. Схема предлагаемой конструкции
При вращении ротора импеллер также вращается. На воду, поступившую в зону импеллера из проточной части, действует сила гидростатического давления, а также противоположно направленная ей центробежная сила [2]. Импеллер уводит основной объем жидкости к трубопроводам. По ним вода поступает в отсасывающую трубу. Часть жидкости, оставшейся в зоне ступицы рабочего колеса, может попасть в зону лабиринтного уплотнения. Из верхней полости этого уплотнения жидкость уводится через слив. Лабиринтное уплотнение имеет минимальный износ [3], импеллеры, как правило, изготавливаются из нержавеющих материалов [2], в результате чего комбинированное уплотнение данного типа имеет высокий срок службы.
Выводы. Предлагаемая комбинация уплотнений позволит увеличить долговечность узла, а также снизить трудовые и денежные затраты на внеплановые ремонты и обслуживание.
Full Text
Обоснование. В контактных уплотнениях вала агрегата гидротурбины истираются поверхности механического контакта. Это возникает из-за наличия различных включений в речной воде, недостаточной очистки охлаждающей жидкости, а также при высоких температурах в зоне пары трения [1].
В настоящее время при работе с торцевыми углеграфитовыми уплотнениями, наиболее часто применяемыми в высоконапорных турбинах, возникали проблемы, которые приводили к полной остановке агрегата и требовали полной замены секторов, составляющих пару трения.
Цель — повышение долговечности конструкции уплотнения вала гидротурбины.
Методы:
- анализ базовой конструкции узла;
- анализ существующих аналогов уплотнения вала;
- выбор прототипа;
- разработка предлагаемой конструкции уплотнения вала.
На данном этапе предлагается разработать комбинированное уплотнение вала турбины, которое позволит повысить срок службы данного узла.
Результаты. Разработана конструкция уплотнения вала импеллерно-лабиринтного типа (рис. 1), включающая разгрузочные трубопроводы в крышке турбины.
Рис. 1. Схема предлагаемой конструкции
При вращении ротора импеллер также вращается. На воду, поступившую в зону импеллера из проточной части, действует сила гидростатического давления, а также противоположно направленная ей центробежная сила [2]. Импеллер уводит основной объем жидкости к трубопроводам. По ним вода поступает в отсасывающую трубу. Часть жидкости, оставшейся в зоне ступицы рабочего колеса, может попасть в зону лабиринтного уплотнения. Из верхней полости этого уплотнения жидкость уводится через слив. Лабиринтное уплотнение имеет минимальный износ [3], импеллеры, как правило, изготавливаются из нержавеющих материалов [2], в результате чего комбинированное уплотнение данного типа имеет высокий срок службы.
Выводы. Предлагаемая комбинация уплотнений позволит увеличить долговечность узла, а также снизить трудовые и денежные затраты на внеплановые ремонты и обслуживание.
About the authors
Филиал Самарского государственного технического университета
Author for correspondence.
Email: alisanames199@gmail.com
студентка, группа МТ-202
Russian Federation, СызраньReferences
- Гальперин М.И., Андриенко Б.К., Майзель Ю.П. Подшипники гидротурбин. Москва: Энергоатомиздат, 1986. 112 с.
- Белоусов А.И., Зрелов В.А. Конструкция и проектирование уплотнений вращающихся валов турбомашин двигателей летательных аппаратов: учебное пособие. Куйбышев: Издательство Куйбышевского авиационного института, 1989. 108 с.
- tskazan.ru [Электронный ресурс]. Основные преимущества лабиринтных и магнитных уплотнений перед манжетными [дата обращения: 14.04.2024]. Режим доступа: https://tskazan.ru/blog/osnovnye-preimushchestva-labirintnykh-i-magnitnykh-uplotneniy-pered-manzhetnymi/
Supplementary files



