Hydrogeochemistry of urban areas in the Southern Urals
- 作者: Abdrakhmanov R.F.1
-
隶属关系:
- Institute of Geology ― Subdivision of the Ufa Federal Research Centre of the Russian Academy of Sciences
- 期: 卷 64, 编号 7 (2019)
- 页面: 733-741
- 栏目: Articles
- URL: https://journals.eco-vector.com/0016-7525/article/view/15324
- DOI: https://doi.org/10.31857/S0016-7525647733-741
- ID: 15324
如何引用文章
全文:
详细
On the basis of full-scale studies the features of the formation of the chemical composition of groundwater in urban areas of the Southern Urals have been clarified. Changes in the salt composition of pore solutions of clay rocks and their exchange-adsorption properties, distribution and accumulation of supertoxicants in rocks and water have been established. The influence of changes in the chemical composition of water on hazardous geological processes was evaluated. It was found that the most intense impact of the geological environment is exposed to the surface to a depth of 15−20 m. Dioxins and heavy metals in soils on the territory of industrial enterprises are concentrated in the near-surface zone (up to 5−7 m). In the range of depths from 5−7 m to 20 m their content is significantly reduced. Liquid organic pollutants and water-soluble salts penetrate almost the entire zone of active circulation. The processes of self-purification of aquifers and restoration of natural conditions even after the elimination of the source of pollution continue for tens or even hundreds of years, i.e. exceed the life of one generation.
全文:
ВВЕДЕНИЕ
В пределах урбанизированных территорий геологическая среда представляет собой сложную, постоянно изменяющуюся природно-техногенную систему. Здесь происходит интенсивная трансформация химического состава вод и изменение естественного взаимодействия в системе подземная вода-порода. В формирующихся техногенных водоносных горизонтах обнаруживаются высокие концентрации различных химических элементов, аномальные для естественных условий существования подземных вод (Бахирева и др., 1989; Зайнуллин и др., 2005; Крайнов и др., 2012; Лисенков, Алентьев, 2016; Москва…, 1997; Abdrakhmanov, 1997; De Vivo, 2008; Johnson, 2011; Milde, 1990, и др.).
Объекты исследований
Объектами исследований являются расположенные в Южном Предуралье крупные промышленные (нефтеперерабатывающие, нефтехимические, химические и др.) центры (Уфа, Салават, Стерлитамак, Ишимбай).
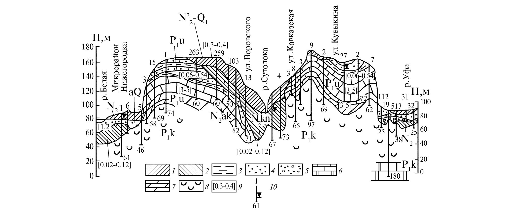
Город Уфа расположен в пределах Бельско-Уфимского междуречья, так называемого Уфимского полуострова. Междуречье от долин рек отделяется крутым уступом высотой 50−100 м. Ширина этого полуострова колеблется от 2 км в центральной части до 7 км в северной и южной частях города, а протяженность его с севера на юг составляет 30 км (рис. 1). Территория города сложена кунгурскими (P1k) галогенными карстующимися породами. Они перекрыты терригенными, терригенно-карбонатными и песчано-глинистыми осадками уфимского (P1u), неогенового (N) и четвертичного (Q) возраста мощностью от 3−5 до 40−60 м (рис. 1, 2). Первые включают в себя скопления межпластовых безнапорных или слабонапорных порово-трещинных и трещинно-карстовых вод, а вторые ― воды грунтового типа, развитые как в долинах рек (Белая, Уфа, Шугуровка), так и на междуречном пространстве.
Рис. 1. Схема гидрохимического опробования водопунктов Бельско-Уфимского междуречья: 1 ― гидростратиграфическая граница; 2 ― граница развития грунтовых вод в неоген-четвертичных отложениях; 3 ― участок Южного водозабора; 4 ― линия гидрогеологического разреза; водопункты: 5 ― источник, 6 ― скважина.
Другие объекты исследований в гг. Ишимбай, Салават, Стерлитамак (территории закрытого Ишимбайского НПЗ, ООО “Газпром нефтехим Салават” (СНОС), “Каустик”, “Синтез-Каучук” и др.) расположены на левобережье р. Белой в пределах первой и второй надпойменных террас, сложенных аллювиальными (песок, гравий, галька (aQ)) мощностью 1.5−11.0 м и перекрытых сверху перигляциальными (глины, суглинки (pglQ)) неоген-четвертичными образованиями мощностью 2.0−7.9 м.
Рис. 2. Гидрогеологический разрез Бельско-Уфимского междуречья по линии II−II: 1–8 ― водоносные породы: 1 ― суглинки, 2 ― глины, 3 ― глины аргиллитоподобные, алевролиты, 4 ― пески, песчаники, 5 ― песчано-галечниковые отложения, 6 ― известняки, доломиты, 7 ― мергели, 8 ― гипсы; 9 ― коэффициент фильтрации пород (м/сут); 10 ― скважина: наверху ― номер по первоисточнику, внизу ― глубина скважины, справа штрихами показан уровень грунтовых вод.
Питание всех водоносных горизонтов происходит путем инфильтрации атмосферных осадков. Кроме атмосферных осадков в последние десятилетия значительную роль в пополнении запасов подземных вод, особенно первого от поверхности неоген-четвертичного водоносного горизонта грунтового типа, стали играть утечки из водопроводной и канализационной сетей, технологических установок, прудов-накопителей, биологических прудов и прочих искусственных емкостей. Доля техногенного источника в пополнении подземных вод составляет 25−30%, достигая 50% на отдельных промышленных площадках от природных (Абдрахманов, 2005). Именно горизонт грунтовых вод в силу особенностей своего строения и залегания оказался наиболее подверженным загрязнению различными токсичными компонентами. Глинистые отложения (важный показатель при оценке защищенности подземных вод от загрязнения) здесь маломощны или локально развиты. Развиты горизонты, пласты, линзы со сложным соотношением уровней подземных вод. Выполненные расчеты времени проникновения загрязненных вод в этажно расположенные водоносные горизонты свидетельствуют о том, что в верхний из них загрязняющие вещества проникают менее чем за год. Время проникновения загрязнения в нижележащие (до 30 м) водоносные горизонты с глубиной увеличивается от 3−5 до 15 лет. По отдельным гидрогеологическим “окнам” этот процесс происходит и за год.
Методы исследований
Для решения сложных задач, касающихся эколого-гидрогеохимического состояния этих территорий, был проведен комплекс натурных исследований, включающий в себя бурение скважин с отбором проб горных пород и подземных вод с разных водоносных горизонтов. Опробовались также естественные выходы (источники) подземных вод, атмосферные осадки и поверхностные воды. Кроме того, изучался общий ионно-солевой, микрокомпонентный и газовый состав подземных вод, анализировались водорастворимый и поглощенный комплексы почв и горных пород, их минералогический и гранулометрический составы, определялись концентрации нефтепродуктов, тяжелых металлов (ТМ) в породах и подземных водах. Концентрации Pb, Cd, Cu определялись методом инверсионной вольтамперометрии на полярографе “ИВА-3”, концентрации Со, Ni, Zn, Мn ― методом атомно-адсорбционной спектрофотометрии на приборе Carl Zeiss Jena марки ААS-3, а содержание Hg ― на анализаторе “Юлия-2М” методом атомной адсорбции холодного пара.
Диоксины анализировались на хромато-масс-спектрометрах фирмы Finnigar МАТ INCOS 50 (США) с чувствительностью 100 пг по 2,3,7,8-ТХДД и Auto Spec-Ultima фирмы VG (Англия) чувствительностью 1 пг по 2,3,7,8-ТХДД. Методика анализа основана на экстракции диоксинов органическими растворителями из проб воды грунтов, в которые предварительно вводится изотопно-меченый стандарт. Далее экстракт очищается от сопутствующих соединений, мешающих определению диоксинов, и анализируется с помощью сочетания газовой хроматографии и массоспектрометрии в режиме селективного детектирования ионов с заданными массами (Диоксины…, 1990).
Результаты и их обсуждение
Выполненные на территории города Уфа исследования показывают, что химический состав грунтовых вод в южной (селитебной) части города преимущественно гидрокарбонатный, сульфатно-гидрокарбонатный и гидрокарбонатно-хлоридный магниево-кальциевый, магниево-кальциево-натриевый, типы их II и IIIа, согласно классификации Алекина−Посохова (Алекин, 1970; Посохов, 1975), минерализация воды 0.66−1.29 г/дм3, pH 7.2–7.62, T от 7–9 до 15–18ºС (рис. 1, табл. 1, №№ 1−5).
Основными показателями загрязнения подземных вод в южной части города Уфы являются соединения азота (NH4+…→… NO3–). Среди них геохимически наиболее устойчив нитрат-ион, содержание которого колеблется от 4 (0.8%) до 200 мг/дм3 (18.1%). Иногда в неглубоких колодцах частных домов концентрация его достигает 1100–1530 мг/дм3 (45.7–67.6%). Содержание микроэлементов в целом ниже ПДК. Только марганец в отдельных источниках превышает ПДК в 5.5–6.5 раза. В районе Уфимского приборостроительного объединения отмечено превышение по хрому (2.2 ПДК), ртути (до 2 ПДК) и некоторым другим элементам. Практически во всех источниках при опробовании в зимнее время (февраль) отмечено присутствие нефтепродуктов (до 0.1–0.2 мг/дм3, иногда до 0.72 мг/дм3), фенолов (до 30 ПДК) и других органических примесей. По микробиологическим показателям вода источников также мало благоприятна. Режимные наблюдения за химическим составом и минерализацией воды источников свидетельствуют о том, что на участках, где антропогенное воздействие на подземные воды небольшое, эти показатели более стабильны. На участках, где вмешательство человека постоянное, они испытывают значительные колебания по сезонам года (максимальные концентрации в январе-феврале и июне-июле).
В промышленной (северной) части города (территории нефтеперерабатывающих заводов АНК “Башнефть”, завода “Синтезспирт”, закрытого завода “Химпром”, городской свалки (полигона ТБО) и др.) грунтовые воды часто приобретают сульфатно-гидрокарбонатный, гидрокарбонатно-хлоридный и хлоридно-гидрокарбонатный кальциевый, кальциево-натриевый, натриево-кальциевый, натриево-магниево-кальциевый, аммонийно-натриевый состав. Тип воды II (сульфатно-натриевый) переходит в IIIа (хлормагниевый) и IIIб (хлоркальциевый), одновременно возрастает минерализация подземных вод до 6–11.5 г/дм3 (рис. 1, табл. 1, №№ 6−13). В них присутствуют тяжелые металлы, нефтепродукты, пестициды, фенолы, диоксины и пр.
Таблица 1. Химический состав подземных вод урбанизированных территорий
№ по рис. 1 | Водовмещаю-щие породы, возраст | Глубина отбора, м | рН | Сумма ионов, г/дм3 | Главные ионы, мг/дм3, % моль | Индекс состава воды | |||||||
HCO3− | SO42− | Cl− | NO3− | Ca2+ | Mg2+ | Na++K+ | NH4+ | ||||||
1 | Суглинки dQ | источник | 7.62 | 0.66 | 415.0 78.2 | 44.0 10.3 | 25.0 8.0 | 18.4 3.5 | 122.0 69.3 | 28.0 26.1 | 9.4 4.6 | 0.1 | CIIIаMgCa |
2 | Песчаники, известняки P1u | « | 7.6 | 1.13 | 396.0 42.1 | 250.0 33.7 | 64.0 11.7 | 120.0 12.5 | 208.0 66.2 | 39.0 20.4 | 49.0 13.4 | 0.1 | SCIIMgCa |
3 | Гипсы P1k | « | 7.6 | 1.29 | 403.0 37.3 | 271.0 32.3 | 78.0 12.4 | 200.0 18.1 | 228.0 63.5 | 44.0 20.1 | 69.1 16.4 | 0.1 | SCIIMgCa |
4 | Песчаники, известняки, P1u | 33.3 | 7.9 | 0.68 | 323.3 57.0 | 88.9 19.9 | 76.4 23.1 | 6.7 | 114.0 61.3 | 22.8 30.4 | 39.2 18.3 | 10.2 | SClCIIIaMgCa |
5 | Песчаники, известняки, P1u | 28.9 | 7.2 | 1.2 | 280.0 24.9 | 85.6 9.7 | 426.0 65.0 | 4.0 | 129.4 35.1 | 45.3 25.2 | 189.8 44.7 | 0.1 | CClIIIaMgCaNa |
6 | Глины, N23−Q1 | 6−7 | 7.2 | 1.16 | 689.0 73.3 | 124.0 16.8 | 33.0 4.7 | 34.7 3.8 | 182.4 63.8 | 20.7 11.9 | 80.1 24.3 | 1.4 | CIINaCa |
7 | Известняки, алевролиты, P1u | источник | 7.75 | 0.69 | 335.0 58.6 | 138.0 30.9 | 21.0 6.4 | 23.5 4.1 | 132.0 72.1 | 24.0 21.8 | 13.5 6.1 | 0.1 | SСIIIaMgCa |
8 | Глины, N23 | 0.9−8.0 | 7.45 | 2.20 | 592.0 28.0 | 258.0 15.6 | 693.0 56.3 | 2.0 0.1 | 461.9 67.1 | 75.4 18.1 | 115.7 14.8 | 1.0 | CClIIIбCa |
9 | Отходы +глины, Q4 | 1.9 | 7.69 | 0.68 | 457.5 87.6 | 29.0 7.0 | 16.4 5.4 | – | 121.4 71.1 | 6.1 5.7 | 45.1 23.2 | 0.9 | СINaCa |
10 | Глины, N2 | 54.70 | 8.56 | 1.19 | 463.6 45.9 | 392.6 49.4 | 27.7 4.7 | – | 148.6 44.8 | 56.1 27.8 | 104.2 27.4 | 0.7 | СSIINaMgCa |
11 | Отходы +глины, Q4 | 2.4 | 7.42 | 3.85 | 957.7 25.5 | 108.7 3.7 | 1546 70.8 | – | 581.3 47.1 | 107.1 14.3 | 546.4 38.6 | 3.0 | ССlIIIбNaCa |
12 | Глины, dQ | источник | 6.88 | 6.27 | 1781 30.1 | 65.0 1.4 | 2351 68.5 | – | 931.1 47.7 | 29.4 2.5 | 1103 49.3 | 9.0 0.5 | ССlIIIбCaNa |
13 | Отходы, Q4 | 5.1 | 7.32 | 11.41 | 5612 67.0 | 50.0 0.8 | 1531 31.5 | 63.8 0.8 | 202.4 4.9 | 122.8 4.9 | 2670.0 57.9 | 1160 33.9 | ClСINH4Na |
14 | Глины, суглинки, pglQ | 2.0 | 7.9 | 0.7 | 426.0 71.7 | 35.0 7.5 | 72.0 20.8 | – | 34.0 16.2 | 53.0 41.5 | 102.2 42.3 | 3.6 | ClCIMgNa |
15 | Глины, суглинки, pglQ | 2.3 | 7.9 | 1.1 | 614.0 60.1 | 145.0 18.0 | 130.0 21.9 | – | 34.0 13.5 | 20.0 13.0 | 104.0 35.8 | 86.0 37.7 | ClCIINaNH4 |
16 | Глины, суглинки, pglQ | 2.6 м | 7.3 | 1.8 | 259.0 13.3 | 151.0 9.8 | 869.0 76.9 | – | 124.2 22.6 | 103.0 30.9 | 293.1 46.5 | 0.40 | ClIIIaCaMgNa |
1 Максимально допустимое содержание диоксинов в воде (ПГ = 10-12 мг/дм3, а НГ = 10-9 мг/дм3), принятое в России в 1991 г. — 20 пг/дм3 (до 1991 г. — 0,26, а в США — 0,013 пг/ дм3 (Федоров, 1993).
Таблица 2. Содержание диоксинов и тяжелых металлов в грунтовых водах
Территория АО «Химпром» | Диоксины, нг/дм3 | ТХДД | суммарн. | 0.3−7.5 |
2,3,7,8 | 0.3−2.06 | |||
ТХДФ | суммарн. | 0.25−0.3 | ||
2,3,7,8 | 0.09−0.3 | |||
Территория городской свалки | ТХДД | суммарн. | 1.0−18.57 | |
2,3,7,8 | 0.25−1.45 | |||
ТХДФ | суммарн. | 1.05−6.72 | ||
2,3,7,8 | 0.25−0.9 | |||
Тяжелые металлы, мг/дм3 | Cu | 0.02−27.9 | ||
Pb | 0.04−9.4 | |||
Cd | 0.003−1.29 | |||
Zn | 13.0−63.6 | |||
Mn | 7.2−31.6 | |||
Cr | 0.8−15.6 | |||
Fe | 421−2540 | |||
На территории полигона ТБО, находящегося на метановой стадии (мощность слоя отходов до 25−30 м), развиты воды грунтового типа (табл. 1, №№ 9−13) в отходах и подстилающих их глинистых породах на глубине 1.9−5.1 м гидрокарбонатного, гидрокарбонатно-сульфатного, гидрокарбонатно-хлоридного, хлоридно-гидрокарбонатного кальциево-натриевого, натриево-кальциевого, натрия-магниевого-кальциевого, аммонийно-натриевого состава с минерализацией 0.68−11.4 г/дм3, pH 6.88–8.56. Концентрация CH4 в грунтах (Зайнуллин и др., 1997) на разных участках ТБО колеблется от 5,07 (глубина 1 м) до 156,72 мг/м3 (глубина 2 м). Содержание тяжелых металлов в воде изменяется (мг/дм3): меди ― 0.002–27.9, свинца ― 0.05–9.4, кадмия ― 0.0003–1.29, цинка ― 13.0–63.6, железа ― 420.8–2540, марганца ― 7.2–31.6, хрома ― 0.8–15.3 (табл. 2). Суммарное содержание диоксинов в грунтовых водах на свалке от 1.01 до 18.57 нг/дм3 (51–929 ПДК)1, в том числе 2,3,7,8-ТХДД (полихлорированных дибензо-n-диоксинов) ― от 0.25 до 1.45 нг/дм3. Кроме того, суммарное содержание полихлорированных дибензофуранов (ТХДФ) от 1.05 до 6.72 нг/дм3, в том числе токсичных 2,3,7,8-ТХДФ от 0.25 до 0.9 нг/дм3 (табл. 2).
Высокие концентрации диоксинов, фенолов, тяжелых металлов отмечаются и в горных породах, заключающих подземные воды. На территории свалки суммарное содержание ТХДФ на глубине 2 м достигает 12 330 нг/кг, а наиболее токсичных 2,3,7,8–ТХДД ― 2530–7540 нг/кг (рис. 3). На глубине 4 м концентрация 2,3,7,8-ТХДД составляет 500 нг/кг, а суммарное содержание ТХДД ― 1510 нг/кг. Концентрация (мг/ кг) ТМ существенно изменяется с глубиной: меди ― от 9191–500 (глубина 2–3 м) до 46.0 (5 м) и до 28 (16 м), свинца, соответственно, ― 296–18.5, кадмия ― 27.78–0,6, ртути ― 2.8–0.04.
Рис. 3. Изменение концентраций диоксинов (а) и ТМ (б) в горных породах на территории городской свалки в зависимости от глубины: 1 ― суммарное содержание ТХДД; 2 ― содержание 2,3,7,8-ТХДД, 3 ― суммарное содержание ТХДФ; 4 ― уровень грунтовых вод.
В нижележащих водоносных горизонтах (P1u, P1k) отмечены также высокие концентрации нитратов и нефтепродуктов, например, до 200–300 мг/дм3 нитратов и до 85 мг/дм3 нефтепродуктов в уфимском водоносном горизонте. Даже воды кунгурских отложений, залегающие на глубине свыше 30–50 м, включая прилегающие к свалке территории заводов, содержат в очень высоких концентрациях нефтепродукты (до 26–104 мг/дм3), фенолы (до 0.035–9 мг/дм3), различные металлы (мг/дм3): железо ― 18.8–44.4, марганец ― 0.67–1.4, алюминий ― 0.22–0.93 и пр.
Исследования показывают, что наиболее интенсивному воздействию геологическая среда подвергнута с поверхности до глубины 15–20 м. Диоксины и тяжелые металлы в грунтах на территории промышленных предприятий концентрируются в приповерхностной зоне (до 5–7 м). В интервале глубин от 5–7 м до 20 м содержание их значительно уменьшается. Жидкие органические загрязнители и водорастворимые соли проникают практически на всю зону активной циркуляции.
Результатом являются источники, разгружающиеся из аллювиальных четвертичных галечников и гипсов кунгурского яруса в основании обрывистого склона долины р. Белой (рис. 1, табл. 1, № 7). У нефтеналивных причалов 1 и 2 Уфимского нефтеперерабатывающего завода (Башнефть-УНПЗ) они представляют собой пластовые (до 40 м) выходы с суммарным дебитом 0.5–1.5 л/с и превышением над урезом воды р. Белой 0.5–0.7 м. Вода источников содержит сероводород (от 0.1–0.2 до 1.5–2 мг/дм3). Породы насыщены нефтью, местами они покрыты сухим битумом (площадью 5×40 м). Здесь в результате взаимодействия сульфатнасыщенных подземных вод и органических веществ происходит процесс сульфатредукции, протекающий с участием десульфирующих бактерий по схеме:
SO42– + 2CОРГ + H2O → 2HCO3– + H2S.
Как отмечают С.Р. Крайнов и др. (2012), процесс сульфатредукции в нейтральной среде может начинаться и при положительных значениях Eh. Вода источников имеет рН 7.4–7.78, а Еh колеблется от –10 до +100–150 мВ, минерализация воды ― 0.9–2.3 г/дм3; состав ― гидрокарбонатный, сульфатно-гидрокарбонатный магниево-кальциевый.
Опытными работами установлено, что сорбция фенолов глинистыми породами наиболее интенсивно протекает в течение первых пяти часов контакта грунта с загрязненным раствором, достигая 40% сорбируемости пород. Затем интенсивность резко падает и за сутки достигает 50%. В дальнейшем процесс сорбции протекает равномерно и за 4–5 суток происходит “сработка” потенциальной поглотительной способности. На пятые сутки 80% фенолов инфильтруются через грунт, не подвергаясь сорбции. Фенолы (С6Н5ОН ― одноатомный, С6Н4(ОН)2 ― двухатомный, С6Н3(ОН)3 ― трехатомный), имея удельную массу 1.071–1.453 г/дм3, при длительном поступлении путем свободной конвекции способны глубоко проникать в горные породы (Абдрахманов, 2005).
Пестициды, которые относятся к хлорированным углеводородам, слаборастворимы в воде. При поступлении в породы они удерживаются сорбционными силами. Концентрация пестицидов в грунтах находится в прямой зависимости от минерального состава пород, присутствия других органических веществ, рН среды, температуры и пр. Интенсивность сорбции пестицидов зависит от суммарной удельной поверхности сорбентов, которая падает от глин к супесям. Она максимальна для монтмориллонитовых глин ― до 500–800 м2/г. Отмечается зависимость комплексообразования пестицидов и от состава обменных катионов глинистых минералов.
На территории ОАО “Химпром”, сложенной глинистыми плиоценовыми породами, на глубине до 20 м установлено присутствие как в подземных водах, так и в породах фенолов, пестицидов (2,4-Д, 2,6-Д, 2,4-6Т и др.). Содержание фенолов (мг/дм3) в воде 0.4−2575 (в породах 0.26−500), пестицидов: 2,4-Д ― 0,21−425 (в породах 0.03–584), 2,6-Д ― 0.04−100 (в породах 0.001–320), 2,4-6Т ― 0.004−230 (в породах 0.005–200). В скважине глубиной 75 м, пробуренной на территории ОАО “Уфаоргсинтез” (рис. 1, табл. 1, № 6) и вскрывшей породы четвертичного, неогенового, уфимского и кунгурского возраста, отмечено повсеместное присутствие фенолов. Причем с глубиной содержание их увеличивается и в интервале 59−75 м достигает 9 мг/дм3.
Неогеново-четвертичные глинистые породы, развитые в промышленной зоне, обладают в целом высокими сорбционными свойствами. Емкость поглощенного комплекса (ПК) их составляет 43.2–46.1 ммоль /100 г (рис. 4). В нем доминируют двухвалентные катионы (до 97.5–98.6%): кальций ― 83.2–87.8% и магний ― 10.3–14.1%. Глинистые минералы представлены группой монтмориллонита (80–85%), содержание гидрослюд не превышает 10–15%, а каолинита ― 3–5%.
Рис. 4. Изменение емкости поглощенного комплекса и состава поровых растворов глинистых пород (рис. 1, табл. 1, № 8) на территории «Уфанефтехим» (8, 8а) и за его пределами (8б) с глубиной: 1–7 ― ионы: 1 ― кальциевый, 2 ― магниевый, 3 ― натриевый и калиевый, 4 ― гидрокарбонатный, 5 ― сульфатный, 6 ― хлоридный, 7 ― нитратный.
Воздействие стоков химических и других предприятий, как уже отмечалось, особенно интенсивно проявляется до глубины 10–20 м. В стоках этих предприятий обычно присутствуют, наряду с поглощаемыми, и непоглощаемые вещества, а также лиганды (адденды), которые с катионами раствора образуют комплексные соединения, сильно снижающие адсорбцию катионов и емкость ПК до 24.9–11.65 ммоль/100 г. При этом содержание кальция в ПК падает до 43.3%, соответственно, резко возрастает концентрация натрия (до 47.1%). Калий в ПК пород присутствует в небольших количествах ― 0.9–2.3%.
На территории свалки и нефтехимических предприятий происходят резкие изменения и в составе водорастворимых солей глинистых отложений. Если за пределами этих предприятий водные вытяжки из пород имеют минерализацию всего 76.6–105.6 мг/100 г (Попов, Абдрахманов, 2013), то на их территории концентрация растворов достигает 936–1222 мг/100 г. Среди анионов преобладают хлоридный (23.5–41.1%) и нитратный (22.9–59.5%) ионы. Доля гидрокарбонат-иона падает до 12.9%. Среди катионов доминирует ион натрия (39.1–74.4%). При этом содержание кальция снижается до 23.1–12.4% против 80.2–56.7%. Концентрация магния невысокая (3.1–10.4%, иногда до 19.3%), а калия ― в пределах 0.7–10.1%. С глубины 8–10 м минерализация водных вытяжек снижается до 200–307 мг-экв/100 г. Здесь же максимальны показатели ПК (46.4–53.9 ммоль/100 г).
Геохимия диоксинов в геологической среде слабо изучена. Известно (Диоксины..., 1990), что диоксины весьма стойкие соединения. Они слаборастворимы в воде, но хорошо растворяются в органических растворителях, образуются как побочные продукты при некоторых химических процессах. В геологической среде г. Уфы появление диоксинов главным образом было связано с крупнейшим не только в России, но и в мире производством хлорсодержащих гербицидов 2,4-Д, 2,6-Д, 2,4-6Т в “Уфанефтехим”. Диоксины сильно абсорбируются грунтами, где они, благодаря химической стабильности к биоразложению, могут сохраняться в течение многих лет. Период полураспада в почве наиболее токсичных 2,3,7,8-ТХДД составляет 10–20 лет, причем он считается сильно заниженным (Федоров, 1993).
Миграционные возможности диоксинов в подземной гидросфере не изучены. В ряде работ (Диоксины…, 1990; Федоров, 1993) предполагалась возможность проникновения их в почвенный слой на незначительную глубину. В целом считалось, что диоксины накапливаются только в гумусовом горизонте (до глубины 20–30 см). Данные для г. Уфы, полученные в ходе исследований по программе “Диоксины” (Диоксины…, 1995), позволяют утверждать, что диоксины вместе с другими органическими соединениями проникают в подземные воды на значительную глубину. По неполным пока данным, на территории “Уфанефтехим” в высоких концентрациях они обнаруживаются на глубинах до 10–15 м, а на территории городской свалки ― до 20 м (Abdrakhmanov, 1997).
Параметры миграции диоксинов и тяжелых металлов в подземной гидросфере, по-видимому, близки. Это подтверждается сравнением глубины проникновения диоксинов и тяжелых металлов в глинистые породы на территории городской свалки. Как видно из рис. 3, характер миграции и глубина проникновения этих веществ совпадают. Миграция происходит в водонасыщенной среде (рН 6.73–6.83).
Изменения гидрогеохимических условий значительно активизировали карстовые процессы в городе Уфе (рис. 5). Одним из наиболее существенных факторов активизации карста, как уже отмечалось, являются утечки из водонесущих коммуникаций (водопровод, канализация, теплосети и пр.), содержащих агрессивные компоненты по отношению к карстующимся породам. В результате на таких участках образуются провалы и проседания и, как следствие, происходят деформации трасс, зданий и сооружений, а также загрязнение подземных вод.
Рис. 5. Карта закарстованности территории г. Уфы: 1 ― карстовые воронки и провалы (территории неустойчивые и очень неустойчивые для строительства); 2 ― территории вокруг воронок (недостаточно устойчивые и несколько пониженной устойчивости); 3 ― территории за пределами карстовых полей (относительно устойчивые); 4 ― Уфимская городская свалка.
За последние 25 лет в Уфе количество аварийных и катастрофических ситуаций неуклонно увеличивается. Средняя частота проявлений техногенных процессов и связанных с этим аварий составляет 11–17 лет со дня ввода сооружений в эксплуатацию, причем в 90-е годы наметилась тенденция к уменьшению этого времени и к увеличению количества аварийных объектов. В весенне-летнее время деформации оснований зданий и сооружений по этой причине происходят чаще, чем зимой. Основной их причиной в 70–80% случаев являются техногенные факторы, вызывающие подтопление территории и, как следствие, активизацию развития карстово-суффозионного процесса.
Основная часть территории Уфимской городской свалки (рис. 5) по степени устойчивости к карстовым процессам относится к относительно устойчивым (5-я категория: карстовые полости в толще гипсов отсутствуют, глубина залегания кровли карстующихся пород около 60 м, слабая изрезанность кровли и др.). Обрамляющие свалку участки относятся к категории несколько пониженной устойчивости (4-я категория). На склонах долин рек Шугуровка, Стеклянка, Фирсов, в бассейне которых расположена свалка, выделяются небольшие участки, относящиеся к категориям недостаточной устойчивости, неустойчивой и очень неустойчивой (III, II, I категории).
Выполненными гидрогеохимическими исследованиями по программе “Диоксины” (Диоксины…, 1995) в другом южном промышленном узле Башкирии (Стерлитамак, Салават, Ишимбай) выявлена значительная загрязненность почв, горных пород и подземных вод диоксинами и родственными соединениями также в районах Михайловского и Цветаевского полигонов по захоронению токсичных промышленных отходов городов Стерлитамака и Салавата. Высокие концентрации диоксинов (до 71 580 нг/ кг) обнаруживаются в породах и на территории химических производств этих городов (Каустик, Синтез-Каучук и др.).
Территория левобережной части долины р. Белой в пределах I и II надпойменных террас на протяжении многих десятилетий находится в зоне воздействия нефтехимических производств гг. Ишимбая, Салавата и Стерлитамака. Грунты насыщены нефтепродуктами не только в пределах самих производств, но и далеко за их пределами. В подземных водах хлоридного, хлоридно-гидрокарбонатного магниево-натриевого, кальциево-магниево-натриевого, натриево-аммонийного состава (М 0.7−1.8 г/дм3, pH 7.3–7.9; табл. 1, №№ 14−16) обследованной территории обнаружены нефтепродукты, азот аммонийный, сульфаты, хлориды, нитриты, сульфиды, железо, ртуть, ПАВ, фенол и алкилфенолы, бензол и алкилбензолы, изомеры спиртов, алкалфталаты, бензойная кислота, карбоновые кислоты, ПАУ (в том числе бенз(а)пирен) и др., превышающие ПДК от 2−6 до 67−82 раз. Территория левобережья р. Белой между городами Ишимбай и Салават (25−27 км) загрязнена на всю проникаемую толщу горных пород нефтепродуктами. Движение нефтепродуктов происходит по направлению потока подземных вод (уклоны 0.0009−0.005, скорости 0.6–4 м/ сут) и разгружаются из аллювия (песчано-гравийных пород) на обрывистых берегах речных террас. По наблюдениям с проведением буровых работ, мощность слоя нефтепродуктов в породах на территории этих предприятий достигает нескольких метров. Нефтепродукты в местах выхода на обрывистых берегах террас р. Белой представлены жидкими фракциями. На участках их разгрузки гг. Ишимбай (старый НПЗ), Салават (ООО “Газпром нефтехим Салават”) организована добыча. Обводненность извлекаемых нефтепродуктов не превышает 3−8%. Общее количество добываемых за сутки нефтепродуктов только северной промзоны ООО “Газпром нефтехим Салават” достигает нескольких десятков тонн. В жаркое время отмечено самовозгорание паров нефтепродуктов на территории их разгрузки закрытого Ишимбайского НПЗ.
Заключение
В заключение важно подчеркнуть длительный период нахождения загрязняющих веществ в водоносных горизонтах. По данным натурных наблюдений и расчетам (Абдрахманов, 2005), он достигает многих десятков и даже сотен лет. Это связано с тем, что для полного вывода загрязненных вод из горизонта требуется несколько циклов полного водообмена. А продолжительность только одного цикла в зоне активной циркуляции Предуралья изменяется от 10−20 лет для интенсивно трещиноватых и закарстованных сульфатно-карбонатных пород до 100 лет для глинистых терригенных пород. Таким образом, процессы самоочищения водоносных горизонтов и восстановление природных условий даже после ликвидации источника загрязнения продолжаются в течение десятков и даже сотен лет, т.е. превышают время жизни одного поколения.
作者简介
R. Abdrakhmanov
Institute of Geology ― Subdivision of the Ufa Federal Research Centre of the Russian Academy of Sciences
编辑信件的主要联系方式.
Email: hydro@ufaras.ru
俄罗斯联邦, Ufa
参考
- Абдрахманов Р.Ф. (2005) Гидрогеоэкология Башкортостана. Уфа: Информреклама. 344 с.
- Алекин О.А. (1970) Основы гидрохимии. Л.: Гидрометеоиздат, 442 с.
- Бахирева Л.В., Жигалин А.Д., Карагодина М.В., Киселева Е.А., Кожевина Л.С., Коломенская В.Н., Котлов В.Ф., Кофф Г.Л., Лихачева Э.Л., Локшин Г.П., Мамонтова С.А. (1989) Рациональное использование и охрана окружающей среды городов. М.: Наука. 91 с.
- Диоксины в окружающей среде (1990) Научный доклад по загрязнениям 27. Лондон: Ее Величества правительственное издательство, 130 с.
- Диоксины: экологические проблемы и методы анализа. (1995) Уфа: ИППЭиП. 360 с.
- Зайнуллин Х.Н., Абдрахманов Р.Ф., Ибатуллин У.Г., Минигазимов И.Н., Минигазимов Н.С. (2005) Обращение с отходами производства и потребления. Уфа: Диалог. 292 с.
- Крайнов С.Р., Рыженко Б.Н., Швец В.М. (2012) Геохимия подземных вод. Теоретические, прикладные и экологические аспекты. М.: ЦентрЛитНефтеГаз. 672 с.
- Лисенков А.Б., Алентьев Ю.Ю. (2016) Использование информационного анализа для оценки загрязнений подземных вод четвертичных отложений в Истринском районе. Геология и разведка (1), 39−46.
- Москва. Геология и город / под ред. В.И. Осипова, О.П. Медведева. (1997) М.: Московские учебники и картолитография. 400 с.
- Попов В.Г., Абдрахманов Р.Ф. (2013) Ионообменная концепция в генетической гидрогеохимии. Уфа: Гилем. 356 с.
- Посохов Е.В. (1975) Общая гидрогеохимия. Л.: Недра. 208 с.
- Федоров Л.А. (1993) Диоксины как экологическая опасность: ретроспектива и перспективы. М.: Наука. 266 с.
- Abdrakhmanov R.F. (1997) Ecotoxicant geochemistry of groundwater of urban areas. Geochem. Int. 35(6), 551−556.
- DeVivo B., Belkin H., Lima A. (2008) Environmental Geochemistry: Site Characterization, Data Analysis and Case Histories. Amsterdam: Elsevier. 350 p.
- Johnson C.C., Demetriades A., Locutura J., Ottesen R.T. (2011) Mapping the Chemical Environment of Urban Areas. Chichester: Wiley. 640 p.
- Milde G., Kerndorf H., Schleyer R., Voigt H.J. (1990) Zur Bewertung hydrogeologischer Barrieren–Welche Moglichkeiten bietet der Grosranm Berlin. В.: Wirtschafts Symp. 27 p.
补充文件







