Thermobaric depth settings of sedimentary rock basins and their fluid dynamics: Communication 3. Superhigh pressures in the stratisphere and salt diapirs
- Authors: Kholodov V.N.1
-
Affiliations:
- Geological Institute, Russian Academy of Sciences
- Issue: No 2 (2019)
- Pages: 130-148
- Section: Articles
- URL: https://journals.eco-vector.com/0024-497X/article/view/11516
- DOI: https://doi.org/10.31857/S0024-497X20192130-148
- ID: 11516
Cite item
Full Text
Abstract
The article discusses the patterns of location and the conditions for the formation of salt diapirs. Their formation is associated with thick salt cjmpleses in which phase transformations within closed physicochemical systems form ultrahigh pressures. The latter are the cause of the flow of salts and their penetration through tectonic cracks and fractures to the earth's surface. The similarity of the formation of salt diapirs and mud volcanoes is emphasized. The possibility of the influence of ultrahigh pressures on the autonomous folding of the sedimentary cover is assumed.
Keywords
Full Text
ЗАКОНОМЕРНОСТИ РАСПРОСТРАНЕНИЯ СОЛЯНЫХ ДИАПИРОВ
Соляные диапиры, или штоки, имеют в природе очень широкое распространение. Обычно они ассоциируются с крупными солеродными бассейнами и, так же, как все соляные залежи, формируются в условиях аридного палеоклимата и режима тектонического прогибания, располагаясь в краевых впадинах платформ или передовых прогибах (Ф. Лотце, Н. М. Страхов, М. Г. Валяшко, М. П. Фивег, А. А. Иванов и Ю. Ф. Левицкий, А. А. Иванов, М. Л. Воронова и др.).
Огромное количество соляных диапиров располагается в краевых частях Восточно-Европейской (Русской) платформы, а также в прилегающих к ней передовых прогибах Урала и Днепровско-Донецкого авлакогена.
Здесь центром развития соляной тектоники является огромная Прикаспийская впадина, кристаллический фундамент которой по одной версии располагается на глубине 20‒25 км, а по другой — на глубине 25‒27 км [Карцев и др., 1986; Фоменко, 1972].
Среди палеозойско-мезозойских осадочных от- ложений особенно выделяется диапироматеринская солеродная пермская толща, реконструированная мощность которой достигает величины 3 км. Она явилась основой для образования около 2000 соляных штоков, прорывающих вышележащие толщи. Схематический профиль Предкаспийской впадины, по данным В. Е. Хаина [1971], приведен на рис. 1, а подробное описание геологии этого района было выполнено нами в предыдущих работах [Холодов, 2013а, б]. На приведенном рисунке хорошо видно, что в центральной части впадины располагаются огромные столбы соли, обычно выходящие на дневную поверхность. Эти мегакупола (Челкарский, Круглый, Индерский) занимают площадь от 800 до 2500 км2, тогда как кровля подсолевых отложений здесь располагается на глубинах 8‒10 км.
Рис. 1. Строение осадочно-породных бассейнов, солеродные толщи и соляные купола ([Хаин, 1977] с изменениями). а — строение Прикаспийской впадины и кунгурские солеродные отложения: 1 — верхний плиоцен, 2 — палеоген, мезозой и верхняя пермь, 3 — соляные штоки и гряды, 4 — подсолевые отложения, 5 — “гранитный” слой консолидированной коры, 6 — “базальтовый” слой коры, 7 — верхняя мантия, 8 — слой с промежуточными свойствами между “гранитным” и “базальтовым” слоями (возможно, низы осадочного слоя), 9 — разломы; цифры на рисунке — граничные скорости продольных волн; б — профиль (I‒II) через североморскую часть Средне-Европейской синеклизы; в — профиль через Аквитанский осадочно-породный бассейн Западно-Европейской платформы: 1 — третичные отложения, 2 — верхний мел, 3 — нижний мел, 4 — юра, 5 — соленосный триас, 6 — нижний триас, 7 — пермь, 8 — стефан, 9 — карбон, 10 –девон, 11 — додевонские образования, 12 — граниты; г — геологический профиль Габонского палеобассейна: 1 — фундамент, 2 — подсолевая толща, 3 — соленосная толща и купола, 4 — надсолевая толща, 5 — сбросы.
По направлению к периферическим частям депрессии мегакупола постепенно сменяются соляными штоками и соляными валами. При этом штоки далеко не всегда выходят на дневную поверхность и часто перекрываются осадочными толщами мощностью в 250–400 м. По размерам штоков заметно уступают мегакуполам и обычно не превышают 5‒10 км в диаметре.
Характерно, что многие мегакупола и соляные штоки покрыты “гипсовыми шляпами”: последние отличаются от основной солевой массы построек концентрацией гипса и ангидрита, обломков различных пород, а также сильным закарстованием.
Соляные валы располагаются в наиболее глубокой части впадины и вблизи поверхности на ее периферии. Они имеют значительную протяженность и весьма причудливую тонкослоистую текстуру солей. Благодаря исследованиям А. И. Дзенс-Литовского [1942], а также С. М. Кореневского и М. И. Вороновой [1966], удалось выяснить особенности сложных взаимоотношений солеродных толщ в диапировых постройках и реконструировать состав и строение солематеринского интервала пермского разреза, существовавших до начала солянокупольных деформаций.
Оказалось, что на карбонатных толщах сакмарского и артинского ярусов в пределах Предкаспийской впадины залегала тонкослоистая толща, галитная (галит, полигалит) с примесью сульфатов (ангидрит, кизерит и др.). Мощность ее достигала 1000–1200 м. Выше располагается интервал, в котором преобладают калийные (карналлит, сильвин) и магниевые соли (кизерит, бишофит), хотя наряду с ними развиты прослои галопелитов и ангидритов. Мощность интервала ~700 м. Выше вновь получает распространение толща галитов с примесью ангидрита, тенардита и, реже, калийных солей. Мощность этой верхней пачки, завершающей соленосный разрез кунгура, ~1000 м.
В целом, согласно расчетам Е. А. Айзенштадта и В. И. Герштейна, первоначальная мощность соленосного комплекса составляла 3.8 км, глубина его залегания достигала 9.6 км, а общий объем соли оценивался величиной 16×104 км3. Следует отметить, что минералогическая неоднородность соляных поднятий была впервые установлена немецкими геологами в Северо- Германской впадине [Fulda, 1935; Lotze, 1957 и др.], а затем эти наблюдения были продолжены в Прикаcпийской впадине [Дзенс-Литовский, 1942; Кореневский, Воронова, 1966; Московский и др., 2003], в Приуралье [Страхов, 1947 и др.] и других регионах континентального блока.
Таким образом, вместо обобщенного понятия “соль” или “соляная масса” геологи перешли к минеральной характеристике пород, слагающих диапиры. Как мы увидим дальше, такой подход позволил значительно полнее разобраться в механизме диапирообразования и соляной тектонике регионов.
В пределах Предуральского прогиба соляная тектоника местами получает очень широкое распространение. На участке прогиба, расположенном южнее Оренбурга, зафиксировано около 150 соляных куполов; по данным А. А. Иванова и М. Л. Вороновой [1972], площадь занятая такими поднятиями не превышает 40–70 км2, мощность галогенной толщи достигает здесь 2500 м и более, а подсолевое ложе располагается на глубине 3.5–4.0 км.
Севернее (в Бельской впадине) мощности солеродных толщ уменьшаются, и широкое распространение получают соляные валы и увалы.
Наиболее ярко выражена соляная тектоника в пределах Днепровско-Донецкого авлакогена, обрамляющего Восточно-Европейскую платформу с юга. Ее геолого-геохимические особенности были подробно описаны в одной из предыдущих работ [Холодов, 2012]. Здесь на территории Днепровско-Донецкой впадины и Большого Донбасса зафиксировано более 200 диапировых поднятий, тяготеющих к краевым разломам и образующих целые пояса структур. Корни этих соляных штоков уходят на глубину 7–8 км в западной части впадины и на 10–11 км в пределах Большого Донбасса. Онисвязаны с девонскими солеродными толщами.
По морфологии и тектоническому строению соляные постройки довольно разнообразны. Одни из них залегают на глубине и только приподнимают вышележащие осадочные толщи, формируя складки. Другие их прорывают и выходят на дневную поверхность. По форме среди соляных диапиров выделяются гребни, валы, линзы, столбовидные и грибоподобные штоки [Червинская и др., 1968].
Крупная область развития солянокупольных структур располагается в северной части Средне-Европейской платформы; она охватывает значительную часть Северо-Германской впадины, восточную Англию и прилегающую к ней часть Северного моря (см. рис. 1б). Здесь главным солематеринским интервалом являются верхнепермские отложения, которые во впадинах, осложняющих этот регион, достигают мощностей, превышающих 1300 м.
По материалам Е. Фульда [Fulda, 1935], Ф. Лотца [Lotze, 1957], Ю. А. Косыгина [1950], А. А. Иванова и М. Л. Вороновой [1972] и др., в пределах Магдебург-Хальберштадской мульды широко распространены солянокупольные структуры, осложненные диапировыми соляными штоками. Онихарактеризуются большой высотой подъема соли и дизьюнктивными контактами с вмещающими породами. Подсолевое ложе этих диапиров находится на глубине 5–6 км, тогда как в плане они имеют округлые или эллиптические очертания.
По данным В. Е. Хаина [1971], на территории Германии обнаружено более 200 соляных куполов и много крупных соляных антиклиналей.
Севернее этого района, во впадинах Северного моря (см. рис. 1б) обнаруживается еще несколько соляных диапиров; их основанием также являются пермские отложения.
Расположенная западнее Западно-Европейская платформа в своей приатлантической части осложнена Аквитанским прогибом; этот осадочный бассейн погружается в сторону Бискайского залива и в наиболее глубоких частях слагается соленосными толщами триаса. Как показано на рис. 1в, в области, прилегающей к поднятию Пиреней, соленосные толщи обнаруживают целый ряд соляных куполов, основанием которых служит соленосный триас.
В этом районе соленосные антиклинали и ва- лы местами переходят в соляные штоки, значительная часть которых не выходит на дневную поверхность.
В пределах Африкано-Аравийской платформы выделяются две области развития соляных диапиров: на юго-западе, в районе Гвинейского залива, ‒ это впадина Габона, на северо-востоке — погружение Аравийской плиты в районе Персидского залива и Красного моря.
Габонский бассейн, согласно представлениям П. Хинтца [Hintze, 1963], С. Е. Колотухиной, А. Е. Первухиной и А. В. Рожанец [1964], В. Е. Хаина [1971], принадлежит к группе приатлантических впадин. Здесь опускание фундамента в юрско‒меловое время привело к формированию мощной верхнеаптской соленосной толщи; ее мощность превышала 1800 м. Во время накопления верхнемеловых и палеогеновых отложений глубина погружения местами превышала 8 км. На базе меловых cсолеродных отложений в бассейне сформировалось более 100 соляных диапиров, распространение которых по- казано на профиле (см. рис. 1г).
Погружение Аравийской плиты в направлении Персидского залива и Красного моря формирует еще одну область развития соляной тектоники — Персидско-Красноморскую провинцию. Этот район был исследован С. Пауэрсом [Powers, 1930], В. Гаррисоном [Harrison, 1931], Г. М. Лийсом [1933] и рядом других известных геологов. Было установлено, что на территории Ирака, Ирана, Саудовской Аравии, Иордании и Израиля расположено более 130 соляных диапиров. По мнению В. Гаррисона, соляные купола Ирана генетически связаны с кембрийскими соленосными толщами, приподняты на высоту более 1500 м и иногда выходят на дневную поверхность, формируя соляные столбы, особенно хорошо сохраняющиеся в условиях жаркого, полупустынного климата. Их высота местами достигает 15–20 м.
Характеристику распространения соляной тектоники в пределах Евразии следует дополнить за счет соляных диапиров Румынии и северо-восточной части Сибирской платформы. Здесь соляная тектоника бурно проявилась в пределах Хатангской впадины, где согласно исследованиям И. П. Толмачева, Л. И. Березина, Т. М. Емельянцева, В. И. Лаппо, обобщенных в монографии А. А. Иванова и Ю. Ф. Левицкого [1960], солематеринские отложения девона образуют ряд диапировых поднятий.
На североамериканском континенте особое положение занимает газонефтяная провинция Голф-Кост, охватывающая северную часть Мексиканского залива, и прилегающие к ней штаты Техас, Луизиана и Миссисипи (США). Она располагается в южной части Северо-Американской платформы и, как это утверждали Н. С. Шатский [1945], а позднее Г. Е. Айзенштадт и М. В. Горфункель [1966], а также В. С. Журавлев [1974], является тектоническим аналогом Прикаспийской впадины.
Провинция захватывает всю северную часть Мексиканского залива, строение которого довольно своеобразно: он представляет собой округлую чашу, заполненную морской водой. Диаметр залива оценивается в 1700–1800 км, а глубина в его центральной части, именуемой впадиной Сигсби, превышает 4000 м.
Северный шельф Мексиканского залива и северное побережье, сложенное верхнеюрскими, меловыми и кайнозойскими отложениями, входят в состав провинции Голф-Кост; на северо-западе, на севере и северо-востоке она ограничена кайнозойскими складчатыми сооружениями.
Осадочный породный бассейн Голф-Кост, по данным G. E. Murrey, W. C. Hamilton, W. B. Myers и др. [Хаин, 1971], представляет собой впадину, фундамент которой располагается на глубине 12–16 км. Она выполнена мощной толщей пермо‒триасовых, верхнеюрских, меловых и кайнозойских отложений, в основании которых залегает соленосная толща, ее возраст датируется пермо‒триасом–юрой. Соленосная толща является диапироматеринской свитой региона; в пределах впадины Голф-Кост сосредоточено более 1000 соляных диапиров (рис. 2а).
Рис. 2. Особенности строения соляных диапиров района Голф-Кост (Мексиканский залив, США) ([Леворсен, 1970] с изменениями). а — геологическое строение дельты р. Миссисипи; б — карта мощностей надкупольной части олигоценовой формации Фрио на северо-востоке штата Техас; в — идеализированный разрез соляного купола; г — радиальные трещины и разломы на своде растущего соляного купола Клей-Крик (округ Вашингтона, штат Техас); д — деформации вмещающих пород в контакте соляного диапира.
Как утверждает А. Л. Леворсен [1970], кровли соляных построек залегают здесь на разных глубинных уровнях. Если кровля соляного штока выходит на дневную поверхность или залегает на глубинах, не превышающих 500–600 м, она поднимает пласты осадочных толщ и образует антиклинальные купола. Этот процесс нередко сопровождается образованием радиальных трещин (см. рис. 2г). Такие молодые соляные купола нередко связаны с конседиментационной складчатостью (см. рис. 2в); в рельефе региона они формируют холмы или впадины, нередко заполненные рассолом.
На глубинах от 500 до 1830‒2000 м формируются зрелые погруженные соляные купола; их общий облик можно представить себе так, как он изображен на рис. 2в. Здесь хорошо видно, что столб соли смешанного состава (хлориды и сульфаты Na, K, Ca, Mg) протыкает вышележащие осадочные пласты, деформируя их, поднимая вверх в соответствии с направлением своего движения и формируя диапировую складку. Пласты-коллекторы при этом нередко заполняются нефтяными углеводородами, образующими тектонически- и литологически-экранированные залежи.
В кровле купола образуется “кепрок” — шапочка, состоящая из скоплений труднорастворимых сульфатов типа ангидрита или гипса. По условиям залегания и механизму образования она напоминает скопление глинистого нерастворимого остатка, прикрывающего круглые столбики стилолитов.
Любопытно, что в контактах с соляными диапирами многие пласты вмещающих осадочных пород не только слабо наклоняются, но нередко опрокинуты и стоят “на головах”, причем в их кровле или подошве хорошо видны “зеркала скольжения”, типичные для тектонических разрывов (см. рис. 2д).
Зона трещиноватости, обычно сопровождающая верхнюю часть соляного столба, часто содержит скопления жидких углеводородов и рассолы.
Ниже глубин 2000 м располагаются древние соляные столбы; они пространственно связаны с солематеринскими толщами. По А. Л. Леворсену [1970], для них характерны мощные “кепроки”, развиты брекчии, растворенные в соляных телах и кольцевые синклинали, окружающие основание диапира.
Нельзя также не отметить, что исследования P. Тейлора [Taylor, 1937] и Б. Балка [Balk, 1949, 1953] позволили установить во внутренних частях соляных столбов сильно деформированную и спутанную слоистость, образованную разными минералами солей. Преобладает галит с примесью карбонатных включений; распространены калийные соли (карналлит, сильвин), ангидрит и гипс, минералы глин.
В целом очевидно, что огромные размеры провинции Голф-Кост, неравномерность расположения разведочных скважин и прихотливость локализации соляных диапиров не позволяют вполне оценить соляную тектонику этого района.
На северном погружении Северо-Американской платформы, в арктической части Канады располагается еще один крупный солеродный бассейн; он носит название Свердруп и охватывает значительную часть архипелага Королевы Елизаветы [Thorsteinsson, 1968; Davies, 1975; Mayr, 1975; Жарков, 1978].
Свердрупский солеродный бассейн включает острова Борден, Маккензи-Кинг, Эллеф-Рингнес, Амунго-Рингнес, Корнуэл, Аксель-Хайберг и на востоке граничит с Гренландией. Северная его граница расплывается на арктическом шельфе.
Основной солеродный горизонт этого региона, формация Отто-Фиорд (Otto Fiord), относится к карбону, слагается каменной солью (галитом), ангидритом и близкими к ним эвапоритовыми минералами. По данным М. А. Жаркова [1978], соленосные отложения занимают площадь около 200 тыс. км2. Вскрытая мощность превышает 5000 м. Верхнепермские отложения значительной мощности перекрывают залежи соли. Они представлены известняками, песчаниками, глинами и конгломератами. В них обнаруживаются диапировые столбы соли, количество которых превышает два‒три десятка структур.
В центральной части Австралийского материка расположен соленосный бассейн Амадеус; здесь установлены мощные кембрийские соленосные толщи, связанные с отложениями известняков Чандлер и вскрытые многочисленными глубокими скважинами [Panford et al., 1965; Wells et al., 1970; Cook, 1941]. По предположению М. А. Жаркова [1978], соленосные толщи этого региона прослеживаются далеко на юго-восток, где в них зафиксированы соляные купола.
Завершая на этом краткий обзор соляной тектоники Мира, следовало бы отметить, что диапировые структуры установлены в десяти самых крупных бассейнах континентального блока. Общее их количество таких структур несомненно превышает 4000, причем каждый год разведочное бурение открывает все новые соляные купола.
Существенную роль играют солеродные бассейны, расположенные на шельфе Мирового океана, но, по объективным причинам, их соляная тектоника исследована не полностью и ее характеристика, несомненно, представляет собой важнейшую задачу будущего.
О ПРЕОБРАЗОВАНИИ СОЛЕЙ В ПРОЦЕССЕ ПОГРУЖЕНИЯ ВГЛУБЬ СТРАТИСФЕРЫ И О МЕХАНИЗМЕ ОБРАЗОВАНИЯ СОЛЯНЫХ ДИАПИРОВ
Так же, как и для глинистых толщ, процесс погружения солей в более глубокие зоны стратисферы часто распадается на два этапа. Первый этап связан с уплотнением первоначально рыхлых соленосных осадков, содержащих в поровом пространстве значительное количество высококонцентрированных рассолов.
Общеизвестно, что количество рассолов, формирующихся в солеродных бассейнах особенно велико на первых стадиях осолонения (табл. 1).
Таблица 1. Соотношение объемов маточного рассола к объему выделившихся солей (по [Валяшко, 1963])
Стадия сгущения морской воды | Концентрация растворенных солей, г/кг | Концентрация растворенных солей, г/л | Выделившиеся в осадок соли | Объем рассолов/ объем солей |
Гипсово-карбонатная | 150–266 | 175–324 | Карбонаты кальция, магния, гипс | 1.85 |
Галитовая | 266‒320 | 324–418 | Карбонаты кальция, магния, гипс, галит | 1.88 |
Сульфатов магния | 320‒345 | 418–457 | Карбонаты кальция, магния, гипс, эпсомит, гексагидрит | 0.93 |
Карналлитовая | 345‒365 | 457–197 | Карбонаты кальция, магния, гипс, сильвин, карналлит | 0.50 |
Действительно, согласно работам М. Г. Валяшко [1963], на галитной стадии осолонения для формирования 1 км3 галита с примесями требуется 2 км3 исходного рассола. Господство рассолов в придонной воде солеродного бассейна отражается в составе поровой воды осадка. Первичный осадок соли имеет пористость около 70‒80% и заполнен высококонцентрированным маточным рассолом. По мере захоронения и погружения вглубь осадочно-породного бассейна происходит уменьшение пористости и удаление маточных рассолов. На глубине 2.5‒3.0 км пористость уменьшается до 7–10%, а во внешней (по отношению к соленосной толще) среде формируется аномально-высокое пластовое давление рассола (АВПД). В сочетании с гравитационной составляющей, экспериментально исследованной в работах М. Г. Валяшко и его сотрудников [Валяшко и др., 1962], вблизи соленосных отложений в проницаемых породах формируется элизионно-гравитационная система гидродинамики, к сожалению, еще очень слабо изученная гидрогеологами.
Дальнейшее уплотнение соленосных осадков приводит к образованию соляных покрышек; иначе говоря, так же, как и глинистые толщи, соляные скопления на глубине формируют закрытую физико-химическую систему; именно в ней зарождаются сверхвысокие давления, определяющие развитие соляного диапиризма.
Очевидно, что в замкнутой физико-химической среде любые изменения фазового состава солевой массы будут рождать сверхвысокие давления (СД), способствующие развитию соляного диапиризма.
Механизм образования соляных куполов и штоков в различных районах мира исследовали H. Stille, D. C. Barton, C. H. Ritz, I. Romanes, C. Smiedt, G. M. Lees, I. Harrison, A. Wade, R. E. Taylor, L. L. Nettleton, F. M. Van Toyl, Н. С. Шатский, Н. М. Страхов, В. В. Белоусов, П. Я. Авров, И. В. Неволин, Ю. А. Косыгин, М. П. Фивег, В. С. Журавлев, Ф. И. Хатьянов, Г. Е. Айзенштадт, Н. П. Балуховский, В. И. Китык, Р. Г. Горецкий и многие другие геологи.
Было установлено, что формирование соляных диапировых структур представляет собой сложный и многостадийный процесс, в котором важную роль играют процессы, происходящие в соленосных толщах, а также вес и плотность вышележащих пород и геотектоника региона.
В солевом интервале разреза, за счет кристаллизационной дегидратации, сопровождающей фазовый переход кристаллической соли в пластическое состояние, перераспределения рассолов и огромного коэффициента линейного расширения галита, инверсии плотностей и активного участия в этих процессах глинистых толщ подсолевого комплекса пород и мелкофокусных землетрясений, возникают сверхвысокие давления соли (СД), вызывающие рост диапировых соляных столбов.
Проблема дегидратации минералов, слагающих соляные толщи необычайно сложна.
После удаления из пор уплотняющихся соляных пород маточных рассолов, при погружении толщи на глубину в несколько километров, под действием высоких температур и давлений из нее удаляется кристаллизационная вода, ранее входившая в химический состав многих породообразующих минералов соленосных отложений (табл. 2).
Таблица 2. Преобразования наиболее распространенных минералов соленосных отложений
Гидратированные минералы | Экспериментальные условия дегидратации и минеральные преобразования | Негидратированные и частично гидратированные минералы |
Сульфаты | ||
Гипс(CaSO4·2H2O); удельный вес — 2.3 | Атмосферное давление: t = 80–90°С — начало дегидратации; t = 120–140°С — полугидрат. CaSO4·0.5H2O; t = 220°С — завершение процесса. | Ангидрит (CaSO4); удельный вес — 2.8–3.0 |
Эпсомит (MgSO4·7H2O); удельный вес — 2.0–2.5 | Дегидратация происходит этапами: при t = 100°С теряет 5 молекул воды, при t = 218–238°С — всю воду, обезвоживается при t >220°С. | Кизерит (MgSO4·H2O); удельный вес — 3.0–3.5 |
Мирабилит (Na2SO4·10H2O); удельный вес — 1.5–2.0 | При t ниже 33°С выпадает мирабилит, выше — тенардит. | Тенардит (Na2SO4); удельный вес — 2.6–3.0 |
Астраханит [Na2Mg(SO4)·4H2O]; удельный вес — 2.2–2.3 | При t = 100°С теряет часть H2O, следующие молекулы — при t = 120°С, а остальная вода при t = 220°С переходит в левеит. | Левеит [Na2Mg(SO4)] |
Хлориды | ||
Гидрогалит (NaCl·2H2O); удельный вес — 1.6 Криогалит (смесь NaCl со льдом) | Образуется при t = -10°С, при комнатной t распадается на NaCl + рассол, гигроскопичен. | Галит (NaCl); удельный вес — 2.1–2.2 |
Тахгидрит (2MgCl2·CaCl2·12H2O); удельный вес — 1.66 | Сильно гигроскопичен, на воздухе расплывается, образуя CaCl2 и MgCl2. | Бишофит (MgCl2·6H2O); удельный вес — 1.59–1.60 |
Карналлит (MgCl2·KCl·6H2O); удельный вес — 1.6 | Гигроскопичен, на воздухе расплывается, образуя KCl (сильвин) и MgCl2·6H2O (бишофит), растворяется в собственной кристаллизованной воде. | Сильвин (KCl); удельный вес — 1.97–1.99 Бишофит (MgCl2·6H2O); удельный вес — 1.59–1.6 |
Бишофит (MgCl2·6H2O); удельный вес — 1.59–1.6 | Гигроскопичен и неустойчив, в твердой фазе редок. | |
Наиболее активными в отношении дегидратации среди сульфатов являются пары гипс‒ангидрит и мирабилит‒тенардит, а среди хлоридов — карналлит‒сильвин и тахгидрит‒бишофит. При катагенетических преобразованиях они выделяют максимальное количество кристаллизационной воды, и этот фазовый переход в условиях закрытой физико-химической системы и последующего перераспределения жидкой фазы вносит свой значительный вклад в образование суммарных СД.
Последовательность катагенетических преобразований минералов солей исследована явно недостаточно, поскольку существуют многочисленные объективные причины. В качестве примера можно привести изучение пары гипс‒ангидрит, представления об образовании которых менялись неоднократно.
Еще в работе У. Х. Твенхофела [1936] утверждалось, что сернокислый кальций в аридных обстановках осаждается из воды в виде ангидрита; последующий его переход в гипс является заведомо вторичным явлением. Более поздние работы T. Posnjak [1938], W. M. Bandy [1956]. G. V. Douglas, N. R. Goodman [1957], R. F. Conley, W. M. Bandy [1958] показали, что это не так, и первичное осаждение ангидрита из морской воды невозможно.
В работе У. Д. Дира, Д. А. Хауи и Дж. Зусмана [1966] проблема освещается так: “… ангидрит почти всегда является вторичным минералам, образовавшемся в результате дегидратации гипса. Г. Дуглас и Н. Гудмен [Douglas, Goodman, 1957] экспериментально показали, что гипс остается устойчивым при давлении, равном весу толщи пород мощностью около 5500 м; следовательно, дегидратация гипса обусловлена, главным образом, термальным воздействием. Превращение гипса в ангидрит влечет за собой уменьшение объема твердой фазы…”. “Вода, освобождающаяся при дегидратации гипса может давать местные растворы, а также вызывать перераспределение и отложение растворимых солей окружающего осадка” [Дир и др., 1966] (курсив В. Н. Холодова).
К сказанному следует добавить, что общее погружение слоистой солевой толщи бассейна должно вызвать перераспределение скоплений дегидратационной воды в кровле каждого гипсоносного пласта; за счет сжатия ангидритовых слоев подошвы каждого пласта, отжатые воды в его кровле будут находиться под высоким давлением. Такая гидродинамическая ситуация будет благоприятствовать скольжению пластов друг по другу и обеспечит интенсивное складкообразование внутри соляных отложений. При- меры такой сложной внутриформационной складчатости в соляных толщах были описаны нами в предыдущих публикациях [Холодов, 2012, 2013а, б].
В общих чертах следует отметить, что процессы дегидратации и перераспределения выделенных вод играют более важную роль во вторичных изменениях сульфатов, нежели в превращениях хлоридов.
Для хлоридов и, в первую очередь, для хлоридов натрия (галит) характерна необычайная пластичность и способность из твердой фазы переходить в полужидкое состояние.
Изучение кристаллов поваренной соли, выполненное А. Ф. Иоффе [Лийс, 1933], показало, что интермолекулярное перемещение начинается при давлении 90 кг/см2 и возрастает с увеличением температуры. В горячей, ненасыщенной солью воде кристалл галита может быть деформирован пальцами человека.
Эксперименты Н. С. Курнакова и С. П. Жемчужного [1913] показали, что пластичность натровых хлоритов (галит) значительно уступает пластичности сильвина (калиевый хлорид). Кроме того, было установлено, что соли, содержащие кристаллизационную воду (например, мирабилит, Na2SO4·10H2O), обладают повышенной пластичностью.
Зависимость пластичности хлоридов от температуры была экспериментально изучена в работах Ю. А. Косыгина [1945, 1950]. При разных температурах в цилиндр с фиксированным давлением поршня и отверстием для истечения соли помещались мономинеральные образцы соли; начало истечения фиксировалось в значениях Т и Р. Результаты исследования представлены в табл. 3.
Таблица 3. Пластичность эвапоритовых минералов кг/см2 при разных температурах (по [Косыгин, 1950])
Минерал (химический состав) | T = 0°С | Т = 20°С | Т = 50°С | Т = 100°С | Т = 150°С | Т = 200°С | Т = 250°С |
Галит (NaCl) | 8300 | 7800 | 7150 | 6125 | 5300 | 4500 | 3850 |
Сильвин (KCl) | 6125 | 5770 | 5250 | 4400 | 3675 | 3000 | ‒ |
Карналлит (MgCl2·KCl·6H2O) | 8000 | 3000 | 1600 | 650 | 150 | ‒ | ‒ |
Бишофит (MgCl2·6H2O) | 3750 | 2445 | 1550 | 510 | ‒ | ‒ | ‒ |
При ее рассмотрении хорошо видно, что при возрастании температуры пластичность всех хлоридных минералов существенно увеличивается. При этом наименьшей пластичностью обладает галит; все калийные соли отличаются еще более высокой способностью истечения, подвижности и пластичности. Любопытно, что после достижения “порога пластичности” хлоридные соли продолжают долго оставаться в полужидком состоянии, причем на них не оказывает влияния даже небольшое понижение температуры [Muchlberger, 1959; Trusheim, 1960; Fertl, 1976].
Увеличение пластичности в хлоридных соляных толщах при погружении вглубь стратисферы сопровождается очень большим увеличением объема солевой массы.
Как это было показано Ф. Трусхеймом [Trusheim, 1960] и развито В. М. Гавшиным, Г. М. Волонтэй [1973], Р. Г. Горецким [1973], коэффициент линейного расширения каменной соли (галита) при нагревании значительно превосходит аналогичные показатели магматических, метаморфических и осадочных пород: по данным американских справочников их сравнительная оценка приведена в табл. 4.
Таблица 4. Коэффициента линейного расширения горных пород и минералов (по данным American Institute of Phisics, 1957, 1963)
Породы и минералы | Интервал температур, °С | Коэффициента линейного расширения, а·10-6 на 1°С |
Изверженные | 20–100 | 3.4–11.9 |
Осадочные | 20–100 | 2.7–12.2 |
Метаморфические | 20–100 | 2.3–11.0 |
Гранитоидные | 20–60 | 4.8–8.3 |
Сланцы | 20–100 | 6.3–8.3 |
Мраморы | 15 | 1.4–4.4 |
Мраморы | 25–50 | 5.0–16.0 |
Кварц //L3 | 20 | 7.5 |
Кварц ┴L3 | 20 | 13.7 |
Каменная соль (галит) | 0–5 | 38.9 |
Каменная соль (галит) | 5–100 | 41.9 |
Каменная соль (галит) | 100–200 | 44.1 |
Напомним, что коэффициент линейного расширения представляет собой отношение длины тела при нагревании на 1°С к его исходной величине. Хорошо видно (см. табл. 4), что эта величина для галитов весьма существенна и в 2–3 раза превышает характеристики самых распространенных осадочных пород.
Так как объемный коэффициент расширения галита равен трем его линейным коэффициентам, можно считать, что погружение солей в область высоких температур и давлений довольно сильно увеличивает их объем и в условиях замкнутой физико-химической системы рождает сверхвысокие давления.
Для доказательства реальности этого фактора В. М. Гавшин и Г. М. Волонтэй приводят следующие расчеты. Общий объем соли, заключенный в соляных штоках и находящийся в материнских пластах эвапоритов провинции Голф-Кост (США), Дж. Мюррей [Murray, 1966] оценивает в 160000 км3. Если всю эту массу опустить на 10 км и нагреть до температуры 150°С, то прирост объема солей будет оцениваться в 3000 км3. Отчетливо сознавая условность таких расчетов, следует, тем не менее, представлять себе большое значение внутренних сил, которые при нагревании возникают в соляных толщах, и которые, суммируясь, порождают движение диапировых тел снизу вверх.
Важным фактором, усиливающим сверхвысокое давление солей, является инверсия плотностей в разрезе осадочного чехла. Современные представления об изменениях плотности осадочных (в том числе и соленосных) отложений осадочных породных бассейнов при их погружении в стратисфере изображены на рис. 3а. В основу построения графика положена идея Л. Л. Неттлетона [Nettleton, 1934] о несоответствиях плотности разных осадочных толщ при нисходящих тектонических движениях. На рассматриваемой диаграмме в координатах “плотность пород — глубина погружения” изображена кривая уплотнения глинистых пород, построенная по материалам Н. Б. Вассоевича, В. Энгельгардта, В. М. Тихомирова, Дж. М. Уэллера, Е. И. Стетюхи и др. В интервале глубин 3–4.5 км кривая Н. Б. Вассоевича дополнена полуколичественными данными, характеризующими процессы дегидратации глин смектитового состава, которые связаны с трансформацией глинистых минералов [Холодов, 1983, 2013а]. На ту же диаграмму нанесена предполагаемая кривая уплотнения солей (хлоридного ряда); она показывает изменение удельного веса солей в интервале 1.6–2.2 г/см3. Сравнивая поведение обеих кривых, нетрудно заметить, что только на глубинах менее 0.7 км плотность хлоридной соли превышает плотность глинистого ила; на всем остальном поле погружения наблюдается обратная картина — удельный вес (плотность) глины значительно превышает плотность хлоридов. Иначе говоря, на всех глубинах свыше 700 м наблюдается инверсия плотностей глин и солей хлоридного ряда.
Рис. 3. Инверсия плотностей различных пород при погружении на большие глубины и диаграмма роста Индерского соляного купола. а — относительное изменение плотности различных типов пластических пород при погружении на глубину 10 км: 1 — уплотнение глин, 2 — уплотнение хлоридных солей, 3 — уплотнение песков и песчаников, 4 — уплотнение сульфатных солей, 5 — уплотнение карбонатных пород; 6 — изменение плотности монтмориллонитовых глин в связи с их иллитизацией; б — диаграмма роста Индерского соляного купола ([Мокринский, 1938] с изменениями).
На диаграмме (см. рис. 3а) приводятся также условные кривые, характеризующие изменение плотности известняков (1.8–2.8 г/см3) и песчаников (1.6–2.7 г/см3); при их построении, к сожалению, невозможно отразить изменения, обусловленные процессами гидролиза и растворения карбонатов в интервале 1.5–2.0 км [Прошляков, 1974; Минский, 1975; Холодов, 2006], а также прихотливые явления эпигенетической цементации песчаников, очень сильно искажающие закономерности уплотнения этих пород [Холодов и др., 1985; Прошляков и др., 1987]. На графике рис. 3а была также нанесена кривая изменения плотности сульфатных эвапоритовых пород при погружении на глубины до 10 км; очевидно, что на сравнительно небольших глубинах плотность этих образований уступает плотности песчаников, известняков и глин, но с погружением быстро возрастает и на глубинах 5–10 км становится рекордной. Очевидно, что инверсия плотностей, ярко выраженная при погружении хлоридов, не относится к сульфатной ветви эвапоритов.
В целом, анализируя график рис. 3а можно сделать два вывода.
1) Инверсия плотностей осадочных толщ и хлоридных солей может быть очень важным фактором выжимания пластичных хлоридных масс снизу вверх. Подобно тому, как в нефтяной залежи вода, нефть и газ в полном соответствии со своими плотностями распределяются по вертикали — сначала более тяжелая вода, затем более легкая нефть, а еще выше над ними — наименее плотный и легкий газ, легкая и пластичная масса соли будет стремиться подняться над более плотными осадочными толщами, отыскав для своего перемещения наиболее доступные пути (зоны трещиноватости и разломы).
2) Разные соотношения глин, песчаников, известняков и сульфатных пород в перекрывающих соляные пласты толщах должны определять разные глубины начала диапировых процессов. Действительно, в одних провинциях соляной диапиризм начинает проявляться на глубинах 1000 м (Эмбенский район Прикаспия [Шумилин, 1937]), тогда как в других регионах его начальная отметка опускается до глубины 2000–2500 м (Браунгшвейк, Германия [Ройенс, 1933]). А в некоторых случаях, как например в Иране, соляные столбы и поднятия возникают на глубинах 3.4–4.5 км от дневной поверхности [Harrison, 1931].
Имеются все основания предполагать, что такой разброс глубин обусловлен разными сочетаниями литологических типов пород и их плотностей в вышележащих осадочных отложениях, перекрывающих солеродную толщу.
Следует также иметь в виду, что в глубоких частях многих соленосных бассейнов довольно часто присутствуют мощные глинистые толщи, содержащие рассеянное органическое вещество. В условиях глубокого погружения и замкнутой физико-химической системы они рождают сверхвысокие давления, которые создают собственную элизионную систему, стимулируют образование и миграцию нефтяных углеводородов и воздействуют (через систему коллекторов, трещин и разломов) на вышележащие структуры гидрогеологических этажей. Их воздействие на вышележащие толщи осадочных отложений хорошо видно на примере подсолевых толщ Прикаспийского региона [Карцев и др., 1986; Холодов, 2013а, б].
Тесная пространственная, а возможно и генетическая связь соляных диапиров и глинистых отложений, перекрывающих соли, была описана в работах Х. А. Джонсона и Дж. Бредсона [Jonson, Bredeson, 1971], а также В. Н. Ферте [Fertl, 1976], Е. В. Кучерука и Л. П. Шендерия [1975]. На примере соляных куполов Луизианы (США) авторы утверждают влияние АВПД в глинах на рост соляных диапиров.
При образовании и развитии соляных диапировых поднятий, давления в подсолевых и перекрывающих их глинистых толщах несомненно интерферируют, суммируются с внутрисоляными давлениями и могут, по-видимому, существенно усиливать вертикальные перемещения солей.
В целом сверхвысокие давления, формирующие соляные диапиры, могут быть выражены следующей формулой:
Рсд = Рдег + Рпл+нагр + Ринв + Робщ,
где Рсд — сверхвысокое давление; Рдег — давление дегидратации (кристаллизационной воды); Рпл+нагр — давление перехода в пластичное состояние и нагревания; Ринв — давление, возникающее вследствие инверсии плотностей; Робщ — давление, возникающее в глинистых нефтематеринских толщах подсолевой части разреза.
Следует подчеркнуть, что в случае преобладания сульфатных солей в исходном солематеринском материале, наиболее действенным компонентом формулы сверхвысокого давления является Рдег и Робщ, тогда как в хлоридной части соляных толщ отчетливо преобладают Рпл+нагр, Ринв и Робщ. Величина термобарических показателей на глубинах 5–8 км, где в среднем располагается диапироносная толща солей, достигает величин 1350–2160 атм. геостатического давления и 150–240°С [Холодов, 2018, табл. 2]. Совершенно очевидно, что для прорыва диапира на дневную поверхность необходимы давления, превосходящие эту величину. Даже использование солью тектонически ослабленных участков (трещины и разломы) не упрощает картину и не вызывает никакого сомнения в том, что в данном случае мы имеем дело с мощнейшими геологическими явлениями. Это и отражается в диапировом поднятии прилегающих к структуре осадочных пластов, в формировании надкупольных антиклиналей и в омоложении рельефа вблизи куполов. Погружение соленосных отложений вглубь осадочно-породного бассейна после этапа уплотнения соли, уменьшение пористости и формирование АВПД, вызывают образование сверхвысоких давлений внутри соляной массы и в тектонически ослабленных участках (трещиноватость, разломы в перекрывающих отложениях) — рост соляных куполов.
Как это рассчитал Ф. М. Ван Тойл [Van Tоyl, 1930], сопротивление хлоридной соли пластическому течению окончательно преодолевается на глубине 3500 м.
А. И. Леворсен так представляет себе механизм роста диапировых поднятий: “Как только какая-либо часть соленосной толщи оказывается приподнятой над окружающими ее участками поверхности, возникает дифференцированное боковое давление, ибо мощность, а следовательно, и вес перекрывающих формаций над окружающими соляное поднятие участками несколько больше, чем над самим поднятием. Сочетание бокового давления и повышенной температуры, с одной стороны, и амплитуды поднятия в кровле соленосной толщи, с другой, в конце концов вызовут перемещение каменной соли, выступающей здесь как пластическая масса, вертикально вверх, По мере поднятия соляного штока боковое давление увеличивается и на место отжимаемой каменной соли поступают новые ее порции с территорий, окружающих шток” [Леворсен, 1970, с. 361–362].
Процесс роста Индерского диапира, расположенного в Прикаспийской впадине, в разрезе геологического времени был рассмотрен В. В. Мокринским [1938]; его результаты представлены на рис. 3б. Можно считать, что приведенная диаграмма типична для развития большинства диапиров. На рис. 3б отчетливо видно, что скорость роста соляного купола периодически меняется: медленное, но непрерывное поднятие сменяется остановками в развитии структуры. Отчетливая периодичность роста соляного диапира, скорее всего, объясняется внешними причинами. Так же, как и в случае грязевых вулканов, здесь можно предположить влияние мелкофокусных землетрясений, вызывающих периодическое встряхивание и тиксотропное разжижение соли. Это явление может служить своеобразным “спусковым механизмом”, открывающим новый этап поднятия и вплоть до прорыва соляной массы на дневную поверхность.
О РОЛИ ОСАДОЧНЫХ ПЛАСТИЧЕСКИХ ПОРОД В ОБРАЗОВАНИИ СВЕРХВЫСОКИХ ДАВЛЕНИЙ НА БОЛЬШИХ ГЛУБИНАХ
В одном из предыдущих сообщений [Холодов, 2013в] была показана тесная пространственная связь районов соляных диапиров и грязевых вулканов. Было установлено, что в ряде случаев провинции соляных куполов на своей периферии переходят в грязевулканические области (Прикаспийская впадина и Азербайджанско-Туркменский регион, район Голф-Кост и Венесуэла-Тринидад и др.). Более того, на рубеже этих двух различных зон нередко возникают комбинированные диапиры — поднятия, в которых ядро сложено солью, а периферия — глинистыми грязебрекчиями [Atwater, Forman, 1959; Hardin, Hardin, 1961; Jonson, Bredeson, 1971].
Нельзя также не отметить морфологическое сходство этих образований. И те, и другие формируют в рельефе местности холмы, отражающие форму жерла вулкана или ядра диапира. Нередко прорыв соли или грязебрекчий на дневную поверхность приводит к образованию соляных или грязевых столбов, иногда из участков прорыва соли или кратеров вулканов “сползают” вязкие “языки” соли или грязебрекчий, а с соляными или грязевыми постройками соседствуют провалы. Любопытно, что и соляные штоки, и грязевулканические структуры тесно связаны с формированием нефтяных и газовых месторождений. Именно благодаря внедрению соли или грязебрекчий в верхнем этаже осадочных породных бассейнов создаются литологически или тектонически экранированные ловушки, заполняемые мигрирующими по пластам-коллекторам жидкими или газообразными углеводородами.
Механизм формирования этих двух несколько различных образований также чрезвычайно сходен (рис. 4). И в том, и в другом случае причиной явления служат мощные и однородные пластические толщи пород. В процессе образования грязевых вулканов такой грязематеринской средой является толща сравнительно однородных глин, мощность которой превышает 2–3 км, а при формировании соляных диапиров, в подошве этих образований всегда обнаруживаются мощные (2–4 км) накопления солей, среди которых преобладают хлориды и сульфаты натрия и калия.
Рис. 4. Принципиальная схема строения грязевых вулканов (а), соляных штоков (б) и соляных диапиров (в). 1 — пески и песчаники; 2 — глины; 3 — глинистые грязебрекчии; 4 — жерловые образования грязевых вулканов, формирующиеся вдоль зон трещиноватости и разломов; 5 — сальзы и грифоны, поставляющие на поверхность воды, битумоиды и газы; 6 — песчаные плывуны; 7 — дневная поверхность; 8 — область аномально-высоких (сверхвысоких) поровых давлений; 9 — соль (галит) материнских пластов и диапиров; 10 — скопления углеводородов (битумоиды, нефть, газ).
Зарождение сверхвысоких давлений всегда происходит в сформировавшихся “покрышках” — осадочных толщах, полностью экранирующих разнообразные флюиды: нефть, газ и воду. Такое уплотнение соответствует физико-химическому понятию “закрытая система”.
В соответствии с законом Ле-Шателье, физико-химические реакции, протекающие в таких замкнутых системах, должны быть направлены на противодействие тем факторам, которые воздействуют на них со стороны окружающей среды, т. е. повышенным температурам и давлениям.
Это особенно четко проявляется в фазовых переходах из твердого состояния — в жидкое и газообразное. Действительно, превращение твердого рассеянного или сконцентрированного в глинах органического вещества в жидкие или газообразные углеводороды рождает в плотных глинах высокое давление флюидов. К тем же результатам приводит превращение твердой кристаллической соли в жидкую и полужидкую фазу, обладающую значительно большим объемом, по сравнению с исходным веществом.
Трансформация смектитовых глинистых минералов в смешанослойные глинистые образования и отделение жидкой фазы (воды) от твердых компонентов глин также создает часть избыточных, сверхвысоких давлений.
Менее детально исследованы поздние процессы хлоритизации, палагонитизации и мусковитизации, в сущности представляющие уже переход к метаморфизму.
Несмотря на ряд блестящих работ российских (А. Г. Коссовская, В. А. Дриц, Н. В. Логвиненко, Г. В. Карпова, Г. Н. Перозио и др.) и зарубежных исследователей (B. Kübler, J. Lucas, R. C. Reinolds, H. E. Roberson, J. Hower, L. P. J. Mufler, D. E. White и др.), проблема поведения воды при трансформации глинистых минералов в разных физико-химических системах практически не исследована. Лишь общие теоретические построения в области регионального метаморфизма, основанные на работах G. Barrow, A. Harker, V. M. Goldschmidt и обобщенные в монографии В. С. Файфа, Н. Д. Прайса и А. Б. Томсона [1981], позволяют предполагать, что в процессах региональной хлоритизации, палагонитизации и мусковитизации, происходящих в закрытых физико-химических системах покрышек, выделяющаяся вода вносит свой вклад в формирование сверхвысоких давлений глубин.
Судя по результатам деятельности грязевых вулканов и соляных диапиров, интенсивность сверхглубоких давлений в недрах осадочно-породных бассейнов чрезвычайно велика. В эпохи максимумов, при извержении огромных масс грязебрекчий, обломков пород и глыб, а также воды, нефти и газов или при диапировом “протыкании” соляными штоками мощной толщи вышележащих пород и складчатых деформациях, при возникновении и участии в этих явлениях мелкофокусных землетрясений, рассмотренные здесь явления приобретают геологическое значение. Поэтому совсем не ортодоксальными представляются построения Б. В. Григорьянца [2008] утверждавшего, что в глубоких осадочно-породных бассейнах, пространственно связанных с грязевым вулканизмом, под горизонтально залегающими молодыми осадочными отложениями могут формироваться автономные складчатые структуры, нередко осложненные крупными тектоническими разрывами.
Образование таких складчатых форм совсем не укладывается в современные тектонические взгляды, однако они хорошо увязываются с вышеизложенными построениями и с возникновением в мощных отложениях — покрышках на глубинах 8‒10 км прихотливо распределенных сверхвысоких давлений. В качестве примера широкого развития автономной складчатости, не связанной с обычными тектоническими процессами, можно привести тектонические структуры Южно-Каспийского осадочно-породного бассейна.
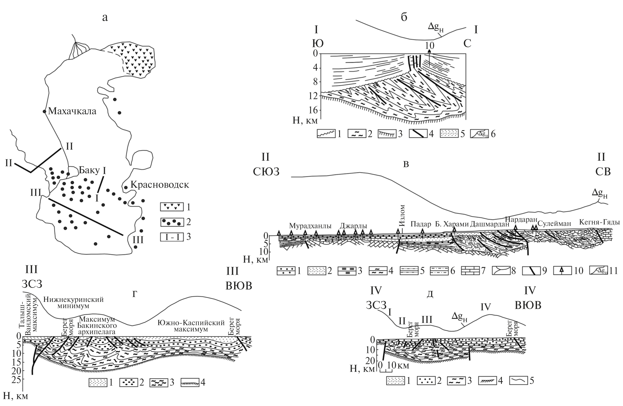
Особенности строения этого региона были исследованы Г. В. Абихом, Н. И. Андрусовым, А. Д. Архангельским, И. М. Губкиным, В. Ф. Со- ловьевым, В. Е. Хаиным, В. Н. Годиным, М. Ф. Мирчинком, В. П. Маловицким, И. С. Вольвовским, А. Е. Шлезингером, Л. И. Лебедевым, Б. В. Григорьянцем, А. К. Алиевым и др.
Осадочно-породный бассейн Каспийского моря с помощью Мангышлакского поднятия и Апшеронского порога распадается на три части (рис. 5).
Рис. 5. Схема глубин подошвы осадочного чехла Каспийского осадочно-породного бассейна ([Лебедев, 1978] с изменениями). 1 — изогипсы подошвы осадочного чехла (км), установленные и предполагаемые; 2 — тектонические нарушения; 3 — изобаты (м) глубины водоема.
Северный Каспий включает в себя южную краевую часть Прикаспийской впадины Восточно-Европейской платформы. Этот осадочно- породный бассейн расположен севернее Каспийского моря и осложнен большим количеством соляных диапиров, местами связанных с грязевулканическими проявлениями [Холодов, 2013в].
Средний Каспий, ограниченный Мангышлакским поднятием и Апшеронским порогом, представляет собой западное продолжение молодой Туранской плиты.
Южно-Каспийская впадина охватывает южную часть Каспийского бассейна и на юге граничит с предгорьями Эльбруса (Иран).
Осадочный чехол Южно-Каспийской впадины представлен фанерозойскими толщами, мощность которых достигает 15–20 км, впадины Среднего Каспия заполнены осадочными отложениями, мощность которых не превышает 8–10 км, а Северная часть впадины прогнута еще слабее (см. рис. 5), а мощность чехла здесь колеблется от 2.5 до 5.0 км.
Соответственно, меняется строение земной коры; по геофизическим данным К. Е. Фоменко [1972], в пределах Среднего и Северного Каспия она имеет трехслойное строение, и здесь на базальтовом основании последовательно залегают: “гранитный” слой, а над ним — осадочный, тогда как в пределах самых глубоких осадочно-породных бассейнов — Прикаспийской и Южно-Каспийской впадины, земная кора имеет типичное двухслойное строение. Здесь на базальтовом основании, без “гранитного” перехода, располагается мощная осадочно-вулканогенная толща, включающая не только мезозойско-кайнозойские молодые отложения, но и мощный палеозойский комплекс осадочных пород.
Очевидно, что с альгонкского периода эти два гигантских провала испытывали непрерывное погружение.
Сочетание результатов разведочного бурения, исследования сейсмических профилей и гравиметрии позволили Б. В. Григорьянцу [1982, 1989, 2008], а также Б. В. Григорьянцу и И. С. Гулиеву [1987] и В. П. Гаврилову, Б. В. Григорьянцу, П. В. Дворецкому и др. [2000] выявить зоны консолидации осадочных отложений, представленные складчатостью и многочисленными тектоническими нарушениями типа надвигов и сбросов, осложняющих нормальную стратиграфическую последовательность осадочных толщ Южно-Каспийской впадины (рис. 6). Как правило, интервалы тектонических деформаций располагаются на глубинах 8–10 км, перекрываются нормально залегающими более молодыми осадочными толщами и бывают не связаны с эпохами орогении и денудации возникших складчатых сооружений. Более того, вышележащие более молодые осадочные отложения отделяются от нижележащих, смятых в складки толщ, совсем небольшими временными перерывами. Б. В. Григорьянц и его соавторы приходят к выводу, что здесь геологи имеют дело с автономной складчатостью и нарушениями сплошности слоев, обусловленными саморазвитием осадочных толщ в породных бассейнах.
Рис. 6. Строение осадочного чехла Южно-Каспийской впадины. а — схема расположения геологических разрезов: 1 — зона развития соляных диапиров, 2 — зона распространения грязевых вулканов, 3 — расположение разрезов; б — геологический разрез Апшеронского порога в районе банки Губкина ([Григорьянц, 2008] с изменениями): 1 — подошва плиоцена, 2 — миоцен и палеоген, 3 — поверхность консолидированной коры, 4 — тектонические нарушения, 5 — предполагаемые (приразломные, жильные) скопления углеводородов, 6 — кривая наблюдаемого поля силы тяжести; в — геологический разрез северо-западной части Южно-Каспийской впадины ([Гаврилов, Григорьянц, 2000] с изменениями): 1 — верхний плиоцен и антропоген, 2 — нижний и средний плиоцен, 3 — средний и верхний миоцен, 4 — олигоцен и нижний миоцен, 5 — эоцен, 6 — палеоцен, 7 — мел, 8 — разрывы, 9 — предполагаемые зоны нефтегазонакопления, 10 — пробуренные скважины, 11 — кривая наблюденного поля силы тяжести (редукция Буге); г — геологический разрез чехла Южно- Каспийской впадины в широтном направлении ([Гаврилов, Григорьянц, 2000] с изменениями): 1 — верхний плиоцен и антропоген, 2 — нижний и средний плиоцен, 3 — палеоген и миоцен, 4 — поверхность консолидированной коры; линия — кривая изменения поля силы тяжести в редукции Буге; д — принципиальная схема структурных соотношений между кайнозойским чехлом и докайнозойским складчатым основанием впадины ([Григорьянц, Гулиев, 1987] с изменениями): возрастные комплексы отложений: 1 — квартер, 2 — плиоцен, 3 — миоцен, палеоген, 4 — поверхность докайнозойского складчатого основания, построенная по обобщенным материалам ГСЗ и данным бурения Саатлинской СГ, 5 — кривая наблюдаемого поля силы тяжести (ΔgH).
Любопытно, что границы таких консолидированных зон в разрезах довольно отчетливо меняют свое стратиграфическое положение. Это хорошо видно на примере Мангышлакского порога, где разрез вблизи от Банки Губкина (I‒I, см. рис. 6в) отличается сильными де- формациями миоцен‒палеогенового интервала и сравнительно спокойным залеганием, перекрывающей его красноцветной продуктивной толщи плиоцена.
Восточнее, в пределах острова Челекен, как это было показано в предыдущей работе [Холодов, 2019], зона консолидации охватывает плиоценовые отложения продуктивной толщи и перекрывается слабо деформированными морскими отложениями бакинского, хазарского, хвалынского и новокаспийского ярусов, принадлежащих четвертичной системе.
Как это хорошо видно на профиле II‒II (см. рис. 6в), сходное омоложение интервала автономной складчатости происходит и в западном направлении.
Таким образом, создается впечатление, что зона консолидации, или автономных деформаций, не имеет на площади Южно-Каспийской впадины четкой стратиграфической привязки и омолаживается в направлении от центра депрессии к ее обрамлению — системам Копетдага на востоке и Большого Кавказа на западе.
Как это утверждалось в работах Б. В. Григорьянца и его соавторов, между залеганием консолидированных осадочных толщ и их пологим перекрытием существуют обратные морфометрические взаимоотношения (см. рис. 6г, 6д); впадинам верхней части чехла соответствует поднятие зоны автономной складчатости.
Кроме того, пространственная связь деформированных частей разреза с мощными глинистыми толщами, ассоциация их с глубинами 8–10 км и корнями грязевых вулканов (см. рис. 6а) позволяют, как нам кажется, высказать предположение, что главной причиной таких автономных процессов являются сверхвысокие давления, широко развитые в замкнутых физико-химических системах глубоких осадочно-породных впадин.
ЗАКЛЮЧЕНИЕ
- Соляная тектоника имеет очень широкое распространение в краевых впадинах платформ и прилегающих к ним передовых прогибов. Проявления соляных диапиров группируются на континентальном блоке нашей планеты в 10 крупных провинций, включающих более 4000 соляных диапировых поднятий.
- Главной причиной возникновения соляных диапиров являются деформации осадочных солесодержащих отложений под действием возникающих в них сверхвысоких давлений. Последние являются следствием погружения пластических солей в область высоких температур и давлений, образования закрытой физико-химической системы, в которой большинство фазовых преобразований самих солей направлено на противодействие этим изменениям.
Образование сверхвысоких давлений в солеродных толщах происходит в результате суммирования ряда факторов по формуле:
Рсд = Рдег + Рпл+нагр + Ринв + Робщ,
где Рсд — сверхвысокое давление; Рдег — давление дегидратации кристаллизационной воды; Рпл+нагр — давление перехода в пластичное состояние и нагревания; Ринв — давление, возникающее вследствие инверсии плотностей; Робщ — давление, возникающее в смежных глинистых толщах вследствие фазовых изменений органического вещества.
- Морфологически, пространственно и генетически грязевые вулканы и соляные диапиры чрезвычайно сходны; оба эти явления возникают благодаря реализации сверхвысоких давлений в нижних структурных этажах стратисферы, как следствие уплотнения и фазовых преобразований пластических осадочных пород-покрышек.
- Изучение геологического строения осадочного чехла Южно-Каспийского бассейна позволяет предполагать, что консолидация и автономная складчатость отдельных стратиграфических интервалов также может быть тесно связана с возникновением и реализацией сверхвысоких давлений.
About the authors
V. N. Kholodov
Geological Institute, Russian Academy of Sciences
Author for correspondence.
Email: rostislavn@yandex.ru
Russian Federation, 7, Pyzhevskii per., Moscow, 119017
References
- Айзенштадт Г. Е., Горфункель М. В. О закономерностаях распределения сбросов на куполах юго-востока Прикаспийской впадины // Условия образования и нефтагазоносности солянокупольных структур. Киев: Наукова думка, 1966. С. 5–15.
- Валяшко М. Г. Генезис рассолов осадочной оболочки // Химия земной коры // Тр. геохимической конференции, посвященной 100-летию со дня рождения В. И. Вернадского. Т. I. М.: Изд-во АН СССР, 1963. С. 253–278.
- Валяшко М. Г., Поливанова А. И., Жеребцова И. К. и др. Геохимия и генезис рассолов Иркутского амфитеатра. М.: Наука, 1965. 160 с.
- Гавшин В. М., Волонтэй Г. М. Тепловое расширение как фактор соляного тектогенеза // Тектоника и нефтегазоносность солянокупольных областей СССР. Алма-Ата: Наука КазССР, 1973. С. 86–88.
- Гаврилов В. П., Григорьянц Б. В., Дворецкий В. П. и др. Зоны нефтегазонакопления жильного типа. М.: Недра, 2000. 152 с.
- Гарецкий Р. Г. Соляные структуры молодых платформ Евразии // Тектоника и нефтегазоносность солянокупольных областей СССР. Алма-Ата: Наука КазССР, 1973. С. 181–186.
- Григорьянц Б. В. Роль глинистых толщ в тектогенезе // Геотектоника. 1982. № 4. С. 42–53.
- Григорьянц Б. В. Возрастные соотношения осадочного чехла и консолидированной коры в Южно-Каспийской впадине и прилегающих территорий и их структурная значимость // Геодинамика Кавказа. М.: Наука, 1989. С. 130–138.
- Григорьянц Б. В. Автономное складкообразование и условия формирования в земной коре крупных месторождений нефти и газа // Вестник Ассоциации буроподрядчиков. 2008. № 4. С. 28–34.
- Григорьянц Б. В., Гулиев И. С. Обратные соотношения в складчатой структуре разновозрастных формационных комплексов отложений и возможные причины их возникновения (на примере Южно-Каспийской впадины) // Докл. АН Азербайджанской ССР. 1987. № 8. С. 72–76.
- Дзенс-Литовский А. И. Геологическое строение и струк- тура Илецкого соляного купола // Изв. АН СССР. Серия геол. 1942. № 5–6. С. 83–101.
- Дир У. А., Хауи Р. А., Зусман Д. Породообразующие минералы. Т. 3. М.: Мир, 1966. 317 с.
- Жарков М. А. История палеозойского соленакопления. Новосибирск: Наука, 1978. 272 с.
- Журавлев В. С. Проявление соляной тектоники в современных глубоких морях и океанических впадинах // Геология и полезные ископаемые соленосных толщ. Киев: Наукова думка, 1974. С. 25–32.
- Иванов А. А., Левицкий Ю. Ф. Геология галогенных отложений (формаций) СССР. М.: ГОНТИ, 1960. 424 с.
- Иванов А. А., Воронова М. Л. Галогенные формации. М.: Недра, 1972. 327 с.
- Карцев А. А., Вагин С. Б., Матусевич В. М. Гидрогеология нефтегазоносных бассейнов. М.: Недра, 1986. 224 с.
- Колотухина С. Е., Первухина А. Е., Рожанец А. В. Геология месторождений редких элементов Африки. М.: Наука, 1964. 304 с.
- Косыгин Ю. А. Тектоника поднятий Днепрово-Донецкой впадины // Бюлл. МОИП. Отд. геол. 1945. № 3. С. 9–58.
- Косыгин Ю. А. Соляная тектоника платформенных областей. М.: Гостоптехиздат, 1950. 284 с.
- Кореневский С. М., Воронова М. Л. Геология и условия формирования калийных месторождений Прикаспийской синеклизы и Южно-Приуральского прогиба. М.: Недра, 1966. 230 с.
- Курнаков Н. С., Жемчужный С. П. Давление, истечение и твердость пластических тел // Известия Политехнического института. 1913. Т. XIX. С. 31–68.
- Кучерук Е. В., Шендерей Л. П. Современные представления о природе аномально-высоких пластовых давлений // Итоги науки и техники. Серия “Месторождения горючих полезных ископаемых”. Т. 6. М.: Гос. комитет СовМин СССР по науке и технике, АН СССР, 1975. 165 с.
- Лебедев Л. И. Строение и нефтегазоносность современных патерогенных депрессий. М.: Наука, 1978. 110 с.
- Леворсен А. Геология нефти и газа. М.: Мир, 1970. 639 с.
- Лийс Г. М. Соль. Вопросы осаждения и деформации // Современное положение вопроса о соляных куполах. М.: ГОНТИ, 1933. С. 15–38.
- Минский Н. А. Формирование нефтеносных пород и ми- грация нефти. М.: Недра, 1975. 288 с.
- Мокринский В. В. Тектоника района Индерского поднятия // Индерские бораты. М.: ОНТИ, 1938. С. 15–28.
- Московский Г. А., Гончаренко О. П., Свидзинский С. А. и др. Пер- мский галогенез Прикаспия. Т. 1. Саратов: Научная книга, 2003. 59 с.
- Прошляков Б. К. Вторичные изменения терригенных пород-коллекторов нефти и газа. М.: Недра, 1974. 232 с.
- Прошляков Б. К., Гальянова Т. И., Пилонов Ю. Г. Коллекторские свойства осадочных пород на больших глубинах. М.: Недра, 1987. 201 с.
- Роиейнс Д. Соляные купола Северной Германии // Современное положение вопроса о соляных куполах. М.: ГОНТИ, 1933. С. 3–7.
- Страхов Н. М. Очерки геологии кунгура Ишимбаевского нефтеносного района. Ч. 1. Статиграфия и тектоника. М.: Изд-во МОИП, 1947. 144 с.
- Твенхофел У. Х. Учение об образовании осадков. М., Л.: ОНТИ НКТП СССР, 1936. 912 с.
- Файф В. С., Прайс Н. Д., Томсон А. Б. Флюиды в земной коре. М.: Мир, 1981. 432 с.
- Фоменко К. Е. Глубинное строение Прикаспийской впадины по геологическим данным // Бюлл. МОИП. Отд. геол. 1972. Вып. 5. Т. XVII. С. 103–111.
- Хаин В. Е. Региональная геотектоника (Северная и Южная Америка, Антарктида, Африка). М.: Недра, 1971. 547 с.
- Хаин В. Е. Региональная геотектоника (Внеальпийская Европа и Западная Азия). М.: Недра, 1977. 359 с.
- Холодов В. Н. Постседиментационные преобразования в элизионных бассейнах (на примере Восточного Предкавказья). М.: Наука, 1983. 150 с.
- Холодов В. Н. Геохимия осадочного процесса. М.: ГЕОС, 2006. 608 с.
- Холодов В. Н. Элизионные системы Днепрово-Донецкого авлакогена. Сообщение 2. Катагенетические процессы Днепрово-Донецкой и Припятской впадин и некоторые металлогенические особенности авлакогена // Литология и полез. ископаемые. 2012. № 1. С. 53–77.
- Холодов В. Н. Элизионные процессы и соляная тектоника. Сообщение 1. Катагенетические преобразования в соленосных толщах // Литология и полез. ископаемые. 2013а. № 4. С. 300–318.
- Холодов В. Н. Элизионные процессы и соляная тектоника. Сообщение 2. К проблеме формирования соляных диапиров // Литология и полез. ископаемые. 2013б. № 4. С. 319–340.
- Холодов В. Н. Закономерности размещения и условия образования соляных диапиров и грязевых вулканов // Литология и полез. ископаемые. 2013 в. № 5. С. 441–460.
- Холодов В. Н. Термобарические обстановки глубин осадочно-породных бассейнов и их флюидодинамика. Сообщение 1. Зональность строения стратисферы и условия образования аномально-высоких и сверхвысоких давлений флюидов // Литология и полез. ископаемые. 2018. № 6. С. 539–557.
- Холодов В. Н. Термобарические обстановки глубин оса- дочно-породных бассейнов и их флюидодинамика. Сообщение 2. Сверхвысокие давления и грязевые вулканы // Литология и полез. ископаемые. 2019. № 1. С. 44–59.
- Холодов В. Н., Дементьева О. Ф., Петрова Р. Н. Проблема формирования вторичной пористости в песчаных коллекторах элизионных бассейнов // Коллекторские свойства на больших глубинах / Под ред. Б. К. Прошлякова, В. Н. Холодова. М.: Наука, 1985. С. 13–25.
- Шатский Н. С. Основные черты строения и развития Восточно-Европейской платформы // Изв. АН СССР. Сер. геол. 1945. № 1. С. 35–70.
- Шумилин С. В. Геологическое строение Эмбенской нефтеносной области. Большая Эмба. М., Л.: ГОНТИ, 1937. 138 с.
- Червинская М. В., Забелин Г. Ф., Смекалина Л. В. Особенности строения фундамента Днепрово-Донецкой впадины // Геофизические исследования на Украине. Киев: Техника, 1968. С. 11–36.
- Atwater G. I., Forman M. J. Nature of growth of southern Louisiana salt domes and its effect on petroleum accumulation // AAPG Bull. 1959. V. 43. P. 2592–2622.
- Balk R. Structure of Grand Saline Salt Dome, Van Zandt Country, Texas // AAPG Bull. 1949. V. 33. P. 1791–1829.
- Balk R. Salt structure of Jefferson Island salt Dome Iberia and Vermillion Parishes Louisiana // AAPG Bull. 1953. V. 37. P. 2155–2474.
- Bandy W. M. Petrology of gypsum-anhydrite deposits in southwestern Indiana // J. Sed. Petrol. 1956. V. 26. P. 240–242.
- Conley R. F., Bandy W. M. Mechanism of gasification // Geochim. et Cosmochim. Acta. 1958. V. 15 (1–2). P. 57–72.
- Cook M. C. A metamorphic origin of selenite // Amer. J. Sci. 1941. V. 239. P. 658–660.
- Davies G. R. Paleozoic carbonates and evaporates in the Sverdrup Basin Canadian Arctic Archipelago // Report of activities part B. Geol. Survey Can. 1975. Paper 75-1B. P. 209‒214.
- Douglas G. V., Goodman N. R. The deposition of gypsums and anhydrite // Econ. Geol. 1957. V. 52. P. 831.
- Fertl W. N. Abnormal Formation Pressures (Implication to exploration, Drilling and Production of Oil and Gas Resourses). Amsterdam, Oxford, N. Y.: Elsevier Science Ltd, 1976. 400 p.
- Fulda Y. Zechstein Elsevier Handbuch der verleichunden stratigraphy Deutchlands. Berlin: Zeit. Pract, 1935. 150 p.
- Hardin E. R., Hardin G. C. Contemporaneous normal fanjets of Gulf Coast and their relation to flexures // AAPG Bull. 1961. V. 45. P. 239–248.
- Harrison J. V. Salt Domesis of Persia // Inst. Pet. 1931. V. 17. P. 300–320.
- Hintze I. Zur Lagerstätte und Morphology des Sizilianischen Schwefels // Auf schuss. 1963. № 9. S. 15–36.
- Jonson H. A., Bredeson D. H. Structural development of some shallow salt domes in Louisiana Miocene belt // AAPG Bull. 1971. V. 55. P. 204–226.
- Lotze F. Steisalz and Kalisalze. Berlin: Elsevier, 1957. 368 p.
- Mayr U. Correlation of Lower Paleozoic subsurface section, Devon Cornwallis and Somerset Island, District of Franklin // Geol Survey Can. Bull. 1975. V. 276. P. 255–266.
- Muchlberger W. R. Internal structure of the Grand Saline salt Dome Van Zandt County, Texas // Texas Univer. Bur, Eon. Geol. Rep. Invest. 1959. V. 153. P. 127.
- Murray D. E. Cenozoic deposits of Central Gulf Coastal Plain // AAPG Bull. 1966. V. 50. P. 11–18.
- Nettleton L. L. Fluid mechanics of salt domes in Goff Coast Oil Fields // AAPG Bull. 1934. V. 18. P. 1175–1204.
- Powers S. Structure of typical American Oil fields: Geological notes // AAPG Bull. 1930. V. 14. P. 628–631.
- Posnjak E. The system CaSO4–H2O // Am. J. Sci. 5th ser. 1938. V. 35A. P. 247–272.
- Panford L. C., Cock P. J., Wells A. F. The geology of the central part of the Amadeus Basin. Northern Territory // Report (Australia, Bureau of Mineral Resources, Geology and Geophysics). 1965. V. 86. P. 42–86.
- Taylor R. E. Water-insoluble Residues in Rock Salt of konisiana salt Plugs // AAPG Bull. 1937. V. 21. P. 1268–1310.
- Thorsteinsson R., Kerr J. W. Cornwallis Island and adjacent Smaller Island, Canadian Arctic Archipelago // Geol. Surv. Can. Paper. 1968. V. 16. P. 67–84.
- Trushein F. Mechanism of salt migration in Notthern Germagy // AAPG Bull. 1960. V. 44. P. 1519–1540.
- Wells A. T., Forman D. J., Ranford L. C., Cooc P. J. Geology of the Amadeus Basin Central Australia // Bull. Bur. Mineralia. 1970. V. 100. P. 1232–1260.
- Van Toyl F. M. Contribution to the Asalt Dome // AAPG Bull. 1930. V. 14. P. 324–342.
Supplementary files








