Методика определения характеристик пневматических упругих элементов с двумя ступенями давления и противодавлением
- Авторы: Наказной О.А.1, Ципилев А.А.1
- 
							Учреждения: 
							- Московский государственный технический университет им. Н.Э. Баумана
 
- Выпуск: Том 89, № 2 (2022)
- Страницы: 101-110
- Раздел: Новые машины и оборудование
- Статья получена: 07.02.2022
- Статья одобрена: 23.05.2022
- Статья опубликована: 18.11.2022
- URL: https://journals.eco-vector.com/0321-4443/article/view/100285
- DOI: https://doi.org/10.17816/0321-4443-100285
- ID: 100285
Цитировать
Полный текст
Аннотация
Введение. Вопросы выбора рациональных характеристик систем подрессоривания колесных машин, в том числе сельскохозяйственного назначения, являются актуальными и по сей день. Особенно актуальными они являются для машин, грузоподъемность которых сопоставима с их снаряженной массой. Следствием большой грузоподъемности становится значительная разница между статическими силами, действующими в подвеске при снаряженной и полной массах машины. Разница может быть двух- или трехкратной (в зависимости от распределения нагрузок на оси), причем от 70 до 80% массы перевозимого груза приходится при этом на задние оси.
Использование традиционных систем подрессоривания с металлическими упругими элементами не позволяет обеспечить требуемую нелинейность характеристики, при которой ненулевой статический ход подвески при снаряженной массе выдерживается с сохранением рационального значения периода собственных вертикальных колебаний при снаряженной и полной массах, а также величины коэффициента динамичности. Более совершенным решением являются пневматические упругие элементы с двумя ступенями давления, позволяющие осуществлять выбор жесткости в области малых и больших ходов подвески, за счет включения в работу разных ступеней давления, объемы которых выбраны из условия разной жесткости в области статического хода.
Целью исследований, результаты которых представлены в настоящей статье, является разработка методики определения основных конструктивных параметров и характеристик пневматических упругих элементов подвесок с двумя ступенями давления (жесткости) и противодавлением, пригодных для обеспечения ненулевого статического хода колеса машин снаряженной массы с сохранением заданного значения коэффициента динамичности.
Методы. Используются методы аналитического анализа.
Результаты. В качестве результатов исследований приведен пример реализации разработанной методики для грузового автомобиля КамАЗ-53215 Сельхозник.
Заключение. Представленные в настоящей статье зависимости позволяют производить определение основных конструктивных параметров неуправляемых пневматических подвесок с двумя ступенями давления (и жесткости) с противодавлением (ПД) для колесных машин, которые дают возможность обеспечить заданные значения статического хода и коэффициента динамичности, а также реализующие незначительное увеличение жесткости в сравнении с пневматическими подвесками без ПД.
Полный текст
ВВЕДЕНИЕ
Применение пневматических упругих элементов в подвесках специальных гусеничных и колесных машин актуально и перспективно, что подтверждается значительным числом научных работ в данном направлении [1–6]. Путям совершенствования подвесок посвящено множество научных работ, среди которых можно выделить [7–11], посвященные системам подрессоривания с пневматическими упругими элементами, в том числе – многоуровневым (фрактальным) системам подрессоривания.
Для транспортных машин со значительной разницей по массе между снаряженным и полным состоянием вопрос выбора рациональной характеристики имеет первостепенное значение. Известно [4, 5, 8], что период вертикальных колебаний подрессоренного корпуса должен иметь значение, близкое к единице, для обеспечения нормального самочувствия экипажа. При существенном снижении массы машины обеспечить близкое к единице значение периода вертикальных колебаний становится затруднительным. Однако можно обеспечить близкое к нижней границе значение в 0,5 с, которое является не самым желательным из-за восприятия подвески как «тряской», но тем не менее допустимым. Достичь этого можно за счет применения в конструкции ходовой части двухуровневой подвески с противодавлением (ПД), причем нужное значение статического хода и жесткости в области статического хода для машины снаряженной массы обеспечить, как с помощью уровня низкой жесткости, так и с помощью уровня высокой жесткости в зависимости от соотношения статических нагрузок при полной и снаряженной массах.
В настоящей статье представлена методика аналитического определения основных конструктивных параметров, построения статической и динамической упругих характеристик пневматических подвесок с двумя ступениями давления (жесткости) и противодавлением, а также дан пример ее реализации для грузового автомобиля КамАЗ-53215 Сельхозник.
МЕТОДЫ И СРЕДСТВА ПРОВЕДЕНИЯ ИССЛЕДОВАНИЙ
Определения и требуемые исходные данные
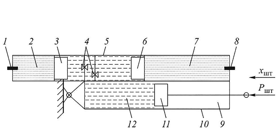
Для простоты понимания будем рассматривать пневматические элементы, конструктивно реализованные в виде гидропневматической рессоры (ГПР). Под ГПР с двумя ступенями давления будем понимать ГПР, в которой реализованы две пневматические полости, соединенные гидравлически с поршневой полостью гидроцилиндра (рис. 1).
Рис. 1. Конструктивная схема ДУ ГПР: 1, 8 – зарядный клапан; 2, 7 – пневматическая полость; 3, 6 – поршень-разделитель; 4 – дросселирующая система; 5 – пневмоцилиндры; 9 – штоковая полость гидроцилиндра; 10 – гидроцилиндр; 11 – поршень со штоком; 12 – поршневая полость гидроцилиндра; Xшт – направление перемещения штока при прямом ходе подвески; Pшт – направление действия силы. / Fig. 1. The design layout of the two-level (TL) hydropneumatic spring (HPS): 1, 8 – a charging valve; 2, 7 – an air cavity; 3, 6 – a piston-separator; 4 – throttling system; 5 – an air cylinder; 9 – rod side of a hydraulic cylinder; 10 – a hydraulic cylinder; 11 – a piston with a rod; 12 – a piston side of a hydraulic cylinder; Xшт – direction of rod displacement for bound suspension travel; Pшт – direction of force acting.
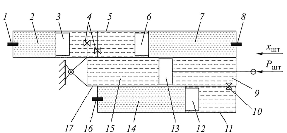
В области статического хода (для машины полной массы) эти полости могут реализовывать уровни разной жесткости, за счет чего такая подвеска считается двухуровневой. Однако двухуровневая (ДУ) ГПР даже при значительной разнице зарядных давлений не может обеспечить нулевую силу или отрицательную силу упругого сопротивления при нулевом ходе колеса (при вывешенном колесе). Обеспечение таких значений сил возможно за счет применения в конструкции ГПР противодавления. ГПР с противодавлением позволяет обеспечить также и ненулевой статический ход в случае уменьшения статической силы. Конструктивная схема ДУ ПГР с ПД представлена на рис. 2.
Рис. 2. Конструктивная схема ДУ ГПР с ПД: 1, 8, 16 – зарядный клапан; 2, 7, 14 – пневматическая полость; 3, 6, 12 – поршень-разделитель; 4, 10 – дросселирующая система; 5, 11 – пневмоцилиндры; 9 – штоковая полость гидроцилиндра; 13 – поршень со штоком; 15 – поршневая полость гидроцилиндра; 17 – гидроцилиндр; Xшт – направление перемещения штока при прямом ходе подвески; Pшт – направление действия силы. / Fig. 2. The design layout of the TL HPS with counterpressure (CP): 1, 8, 16 – a charging valve; 2, 7, 14 – an air cavity; 3, 6, 12 – a piston-separator; 4, 10 – throttling system; 5, 11 – air cylinders; 9 – rod side of a hydraulic cylinder; 13 – a piston with a rod; 15 – a piston side of a hydraulic cylinder; 17 – a hydraulic cylinder; Xшт – direction of rod displacement for bound suspension displacement; Pшт – direction of force acting.
Для определения основных конструктивных параметров и построения характеристик упругих элементов необходимо знать следующие величины:
1) статическую силу от веса подрессоренной массы, действующую на одну подвеску, Pст;
2) значения силовой передаточной функции u(f) при f=fст и f=fmax (подробно методика определения силовых и кинематических передаточных функций представлена в [12]);
3) значения статического xст=x(fст) и полного xполн=x(fполн) ходов штока;
4) коэффициент динамичности подвески Kд.
Определение характеристики сводится к нахождению основных конструктивных параметров – начальных объемов пневматических полостей и зарядных давлений газа при температуре Tзар. Цель определения основных конструктивных параметров – нахождение таких значений объемов и давлений, при которых для температуры Tзар выполняются условия:
,
где Pк – сила упругого сопротивления, приведенная к оси колеса, Н.
Введем в рассмотрение следующие величины, имеющие размерности согласно единицам СИ:
- эффективный диаметр поршня Dэ;
- эффективный диаметр поршня со стороны пневматической полости ПД, Dэ.пд=(D2п – d2шт)0,5, где dшт – диаметр штока ГПР;
- эффективная площадь поршня Sп=0,25πD2э;
- эффективная площадь поршня со стороны пневматической полости ПД Sпд=0,25πD2э.пд;
- начальный объем пневматической полости уровня высокой жесткости Vв.0;
- начальный объем пневматической полости уровня низкой жесткости Vн.0;
- начальный объем пневматической полости ПД Vпд.0;
- зарядное давление газа в пневматической полости высокой жесткости pв.0;
- зарядное давление газа в пневматической полости низкой жесткости pн.0;
- зарядное давление газа в пневматической полости ПД pпд.0;
- температура зарядки ПГР газом Tзар;
- предполагаемая температура установившегося теплового режима при работе ГПР Tраб.
Далее величины, означающие начальные объемы и зарядные давления газа в основных пневматических полостях при наличии ПД, будем отмечать верхним штрихом с сохранением индексов, соответствующих рассматриваемому случаю.
Основные расчетные зависимости
В общем виде характеристика упругого элемента двухуровневой ГПР с противодавлением имеет вид:
(1)
причем значение вертикального перемещения колеса fТ определяют по выполнению условия
,
а значение вертикального перемещения колеса fн.Т – при помощи следующего соотношения:
.
Если температура T столь велика, что Pшт(0, T)>Pст /u(0), принимают fT=0. Если температура T настолько мала, что Pшт(fполн, T)<Pст /u(fполн), принимают fT =fполн. Это ограничение обусловлено наличием ограничителей хода направляющего элемента в подвеске.
Величина x(fT) – перемещение штока под действием статической силы при температуре T. Если T=Tзар, то x(fT)=x(fст). На этапе проектного расчета подвески для оценки наибольших давлений газа задаются рабочей температурой Tраб. При этой температуре предполагается переход ГПР в стационарный тепловой режим работы.
Величина n – показатель политропы. Для статической характеристики принимают n=1,00, а для динамической – n=1,25…1,40, в зависимости от количества растворенного газа и интенсивности теплообмена (чем выше интенсивность, тем ниже показатель политропы). Для типовых условий работы подвесок колесных машин можно принимать n=1,25.
Определение начальных объемов и зарядных давлений газа в пневматических полостях производят, опираясь на методику нахождения данных величин ГПР без ПД [13]:
, (2)
. (3)
Для нахождения объемов и можно воспользоваться зависимостями
(4)
причем величины δV и δp вычисляют, решая численно или графически систему уравнений:
, (5)
(6)
где Vmin – минимальный объем пневматической полости ПД, его вычисляют как
. (7)
В свою очередь, начальный объем и зарядное давление в пневматической полости ПД:
, (8)
а зарядные давления в пневматических полостях высокой и низкой жесткостей:
. (9)
РЕЗУЛЬТАТЫ И ИХ ОБСУЖДЕНИЕ
Реализация методики на примере автомобиля КамАЗ 53215 Сельхозник
В соответствии с предлагаемой методикой рассмотрим получение характеристики упругого элемента подвески колес грузового автомобиля КамАЗ 53215 Сельхозник. Для него полная масса составляет 19 650 кг, а снаряженная – 8350 кг. Согласно данным производителя, нагрузка на переднюю ось составляет 3500 кг при снаряженной массе и 5080 кг при полной массе. Суммарная нагрузка на задние оси составляет 4850 кг для снаряженной массы и 14 570 кг при полной массе. Масса неподрессореных частей передней оси составляет 1000 кг, задних осей в сумме – 2000 кг. На одно колесо, таким образом, приходится статическая нагрузка:
- передняя ось: 12,3 кН – для снаряженной массы и 20 кН – для полной массы;
- задние оси: 7 кН – для снаряженной массы и 30,8 кН – для полной массы.
При расчете характеристик будем считать, что:
- силовое передаточное отношение постоянно u(f)=1, кроме того, x(f)=f;
- полный ход колес передней оси fполн=0,24 м, статический ход колес передней оси при полной массе машины fст=0,12 м;
- полный ход подвески задних осей fполн=0,34 м, статический ход колес задних осей при полной массе машины fст=0,24 м;
- коэффициент динамичности подвески передней оси Kдин=2,0;
- коэффициент динамичности подвески задней оси Kдин=2,0.
Особенность применения ГПР с двумя уровнями жесткости и ПД при условии разных зарядных давлений заключается в возможности выбора соотношения жесткостей уровней, а также того, какой из уровней будет включаться в работу раньше (т. е., для какого зарядное давление будет ниже). За счет этого можно реализовать достаточно сильно различающиеся по жесткости характеристики на малых и больших ходах подвески.
В случае, если разница в статическом весе велика, целесообразно раннее включение обеспечивать для уровня высокой жесткости, причем жесткость подвески при малом ходе не обязательно будет выше. При меньшей разнице статических сил целесообразно обеспечить раннее включение уровня низкой жесткости. Более того, для исключения нерационального соотношения жесткостей уровней при полной массе машины возможно использование следующей конструктивной схемы: на ходах подвески, меньших статического при полной массе машины, работает только уровень с более низким зарядным давлением. По достижении статического хода при полной массе машины в работу включается уровень высокого зарядного давления, начальный объем которого равен сумме расчетных объемов уровней, доступных при данном ходе подвески.
В соответствии с записанным рассчитаем основные конструктивные параметры двухуровневой ГПР с противодавлением и построим статическую и динамические характеристики ее упругого пневматического элемента. Для колес передней оси примем, что раньше в работу включается уровень низкой жесткости, а для колес задних осей – уровень высокой жесткости. Соотношение жесткостей при расчете примем 1:2 (уровень низкой жесткости при статическом ходе подвески, соответствующем полной массе машины, вдвое меньше той же величины для уровня высокой жесткости, k=2). При этом будем также считать, что по достижении статического хода, соответствующего полной массе машины, оба уровня объединяются в один с общим объемом газа. Эквивалентный диаметр основного поршня примем равным 0,12 м; эквивалентный диаметр поршня со стороны полости ПД – 0,058 м (соответствует диаметру штока 0,105 м).
Тогда для колес передней подвески (2, 3):
Обратим внимание, что индексы у зарядных давлений и начальных объемов не соответствуют представленным в соотношениях (2) и (3). Кроме того, в качестве величины k взята обратная величина. Это не ошибка, так как мы приняли, что ступень низкого давления образована уровнем низкой жесткости, соответственно, в новой системе измерения ступень низкого давления имеет жесткость вдвое ниже, чем ступень высокого давления, то есть, k =1/2.
Минимальный объем пневматической полости ПД (7):
Далее по формулам (5) и (6) вычислим значения величин δV и δp:
а по формулам (4), (8), (9) – фактические значения зарядных давлений и начальных объемов пневматических полостей (с учетом новых индексов и значения величины k):
Аналогично для колес задних осей:
При расчетном статическом ходе колес передней оси эквивалентный объем пневматических полостей высокой и низкой жесткости составляет 4,646 л; для колес задней оси – 2,951 л.
Далее по формуле (1) построим характеристики упругих элементов. На рис. 3 представлены реализации характеристик упругого элемента ДУ ГПР с ПД для температуры Tзар=293 К для колес передней оси, а на рис. 4 – те же данные для колес задних осей.
Рис. 3. Характеристики упругого элемента ДУ ГПР с ПД для передней оси: 1 – статическая характеристика (n=1,00); 2 – дннамическая характеристика при полной массе машины (n=1,25); 3 – динамическая характеристика при снаряженной массе машины (n=1,25); 4 – уровень статической силы при полной массе; 5 – уровень статической силы при снаряженной массе. / Fig. 3. Stiffness curves of the TL HPS with CP for a front axle: 1 – static stiffness (n=1.00); 2 – dynamic stiffness for total mass of a vehicle (n=1.25); 3 – dynamic stiffness for curb mass of a vehicle (n=1.25); 4 – level of static force for total mass; 5 – level of static force for curb mass.
При снаряженной массе машины статический ход подвески для колес передней оси составляет 0,067 м, а для колес задних осей – 0,103 м. Клиренс машины увеличивается на 0,053 м, статический ход передней подвески сокращается на 44%, задних – на 57%.
Рассчитаем период собственных вертикальных колебаний для автомобиля. Известна связь периода с жесткостью подвески [10]:
,
где mп – подрессоренная масса автомобиля, кг; cст – жесткость подвески в области статического хода, Н/м; nп – общее количество подвесок.
Жесткость подвески можно вычислить как
.
Для машины с полной массой:
- жесткость подвески колес передней оси
- жесткость подвески колес задней оси ;
со снаряженной массой:
- жесткость подвески колес передней оси ,
- жесткость подвески колес задней оси .
Период собственных вертикальных колебаний для машины с полной массой Tz=0,800 с, для машины со снаряженной массой Tz=0,545 с. При этом период собственных колебаний автомобиля полной массы с гидропневматической подвеской без ПД, параметры которой посчитаны по той же методике, Tz=0,856 с.
Таким образом, при использовании двух уровней жесткости подвеска с ПД в случае полной массы машины обеспечивает период собственных вертикальных колебаний подрессоренной массы практически такой же, как без ПД. Вместе с тем, использование ПД позволяет обеспечить ненулевой статический ход подвески в широком диапазоне масс.
Также на рис. 3 и 4 видно, что динамические характеристики имеют нулевое значение силы при ненулевых ходах подвески. Это обстоятельство позволяет использовать пневмополость ПД в качестве нижнего буфера – ограничителя хода подвески. Естественно, что при вывешивании машины и медленной реализации хода отбоя показатель политропы будет близок к единице, а сила упругого сопротивления при вывешенном колесе будет близка к нулю. Однако отсутствие специального ограничителя хода отбоя все равно будет компенсироваться полостью ПД, которая обеспечит требуемое отрицательное усилие в подвеске.
Рис. 4. Характеристики упругого элемента ОУ ГПР: поз. 1–5 – см. рис. 3. / Fig. 4. Stiffness curves of the TL HPS with CP for a rear axle: pos. 1–5 are the same as for fig. 3.
ЗАКЛЮЧЕНИЕ
Представленные в настоящей статье зависимости позволяют определять основные конструктивные параметры неуправляемых пневматических подвесок с двумя ступенями давления (и жесткости) с ПД для колесных машин, которые дают возможность обеспечить заданные значения статического хода и коэффициента динамичности, а также реализующие незначительное увеличение жесткости в сравнении с пневматическими подвесками без ПД. Комбинируя соотношение жесткостей уровней с выбором того или иного уровня в качестве ступени низкого давления, можно достичь требуемых значений ходов подвески для машины снаряженной массы в весьма широком диапазоне изменения масс, а также обеспечить приемлемые показатели периода собственных вертикальных колебаний. Кроме этого, введение в подвеску ПД позволяет использовать ее пневматическую полость в качестве нижнего буфера, что упрощает конструкцию ходовой части машины.
ДОПОЛНИТЕЛЬНАЯ ИНФОРМАЦИЯ
Вклад авторов. О.А. Наказной – поиск материалов, формализация идеи статьи, проверка основных расчетов, экспертная оценка, утверждение финальной версии; А.А. Ципилев – написание и редактирование текста рукописи, проведение расчетов. Все авторы подтверждают соответствие своего авторства международным критериям ICMJE (все авторы внесли равноправный вклад в разработку концепции, проведение исследования и подготовку статьи).
Конфликт интересов. Авторы декларируют отсутствие явных и потенциальных конфликтов интересов, связанных с публикацией настоящей статьи.
Источник финансирования. Авторы заявляют об отсутствии внешнего финансирования при проведении исследования.
ADDITIONAL INFORMATION
Authors’ contribution. O.A. Nakaznoy is responsible for analysis of research topic publications, article idea formalising, main calculations verification, expert evaluation, approving the final version of the manuscript; A.A. Tsipilev is responsible for the calculations, writing and editing the manuscript. All authors certify that they meet the ICMJE international criteria for authorship.
Competing interests. The authors declare no any transparent and potential conflict of interests in relation to this article publication.
Funding source. This study was not supported by any external sources of funding.
Об авторах
Олег Алексеевич Наказной
Московский государственный технический университет им. Н.Э. Баумана
														Email: nakaznoi@gmail.com
				                	ORCID iD: 0000-0003-4029-2434
				                	SPIN-код: 9767-0435
																		                								
д.т.н., профессор, кафедры «Многоцелевые гусеничные машины и мобильные роботы»
Россия, МоскваАлександр Анатольевич Ципилев
Московский государственный технический университет им. Н.Э. Баумана
							Автор, ответственный за переписку.
							Email: alexts@bmstu.ru
				                	ORCID iD: 0000-0002-5764-0506
				                	SPIN-код: 3877-2736
																		                								
к.т.н., доцент кафедры «Многоцелевые гусеничные машины и мобильные роботы»
Россия, 105005, Москва, Лефортовская наб., д. 1Список литературы
- Котиев Г.О., Смирнов А.А., Шилкин В.П. Исследование рабочих процессов в пневмогидравлических устройствах систем подрессоривания гусеничных машин. Москва: Изд-во МГТУ им. Н. Э. Баумана, 2001.
- Котиев Г.О., Сарач Е.Б. Комплексное подрессоривание высокоподвижных двухзвенных гусеничных машин. Москва: МГТУ им. Н.Э. Баумана, 2010.
- Сарач Е.Б., Котиев Г.О., Смирнов И.А. Перспективы развития системы подрессоривания быстроходных гусеничных машин // Инженерный журнал: наука и инновации. 2013. №. 10. С. 48.
- Жилейкин М.М., Котиев Г.О., Сарач Е.Б. Экспериментальное исследование нагрузочных характеристик двухкамерной пневмогидравлической рессоры подвески автомобильных платформ нового поколения средней и большой грузоподъемности // Наука и образование. МГТУ им. НЭ Баумана. 2011. №. 12.
- Жилейкин М М., Котиев Г.О., Сарач Е.Б. Методика подбора характеристик управляемой подвески с двумя уровнями демпфирования многоосных колесных машин // Машиностроение и компьютерные технологии. 2012. №. 2. С. 15.
- Жилейкин М.М., Котиев Г.О., Сарач Е.Б. Методика расчета характеристик пневмогидравлической управляемой подвески с двухуровневым демпфированием многоосных колесных машин // Электронное научно-техническое издание «Наука и образование». 2012. №. 1. С. 77.
- Котиев Г.О. Прогнозирование эксплуатационных свойств систем подрессоривания военных гусеничных машин: дис. … д-ра техн. наук. Москва: МГТУ, 2000. Режим доступа: https://tekhnosfera.com/prognozirovanie-ekspluatatsionnyh-svoystv-sistem-podressorivaniya-voennyh-gusenichnyh-mashin Дата обращения: 20.06.2022.
- Сарач Е.Б. Метод выбора характеристик системы подрессоривания с нецелым числом степеней свободы для быстроходной гусеничной машины: дис. … д-ра техн. наук. Москва: МГТУ: 2003. Режим доступа: https://cyberleninka.ru/article/n/metod-vybora-dempfiruyuschey-harakteristiki-sistemy-podressorivaniya-gusenichnoy-mashiny Дата обращения: 20.06.2022.
- Смирнов А.А. Математическое моделирование пневмогидравлических устройств систем подрессоривания транспортных средств: дис. … д-ра техн. наук. Москва: МГТУ, 1999. Режим доступа: https://www.dissercat.com/content/matematicheskoe-modelirovanie-pnevmogidravlicheskikh-ustroistv-sistem-podressorivaniya-trans Дата обращения: 20.06.2022.
- Сухоруков А.В. Управление демпфирующими элементами в системе подрессоривания быстроходной гусеничной машины: дисс. ... канд. техн. наук. Москва: 2003. Режим доступа: https://cyberleninka.ru/article/n/perspektivy-razvitiya-sistemy-podressorivaniya-bystrohodnyh-gusenichnyh-mashin Дата обращения: 20.06.2022.
- Ципилев А.А. Методы определения расчетных характеристик и оценки тепловой нагруженности пневмогидравлических устройств систем подрессоривания быстроходных гусеничных машин на этапе проектирования: дис. ... канд. техн. наук. Москва: МГТУ им. Н. Э. Баумана, 2017. Режим доступа: https://studizba.com/files/tehnicheskie-nauki/dissertation/201490-metody-opredelenija-raschetnyh-harakteri.html Дата обращения: 20.06.2022.
- Сарач Е.Б., Ципилев А.А. Основы расчетов пневмогидравлических систем подрессоривания. Учебное пособие. Москва: Издательство МГТУ им. Н.Э. Баумана, 2017.
- А.А. Ципилев. Основы расчетов пневмогидравлических систем подрессоривания. Учебно-методическое пособие. Москва: Издательство МГТУ им. Н.Э. Баумана. 2020.
Дополнительные файлы
 
				
			 
						 
					 
						 
									
 
  
  
  
  
  Отправить статью по E-mail
			Отправить статью по E-mail 






 СМИ зарегистрировано Федеральной службой по надзору в сфере связи, информационных технологий и массовых коммуникаций (Роскомнадзор).
 СМИ зарегистрировано Федеральной службой по надзору в сфере связи, информационных технологий и массовых коммуникаций (Роскомнадзор).