Mathematical model of the movement of a tracked train for off-road container transportation
- Authors: Yevseyev K.B.1
-
Affiliations:
- Bauman Moscow State Technical University
- Issue: Vol 88, No 5 (2021)
- Pages: 18-29
- Section: Theory, designing, testing
- Submitted: 30.03.2022
- Published: 15.10.2021
- URL: https://journals.eco-vector.com/0321-4443/article/view/105662
- DOI: https://doi.org/10.31992/0321-4443-2021-5-18-29
- ID: 105662
Cite item
Full Text
Abstract
To determine the indicators of the mobility properties of unmanned tracked trains and the formation of traffic control laws, it is advisable to use mathematical simulation. On the example of a tracked semitrailer train, a mathematical model is being developed. It consists of a large number of rigid bodies connected by kinematic and power connections; therefore, it is proposed to use software systems that make it possible to synthesize a system of equations for the dynamics of a tracked train in an automated mode. The article discusses general approaches to the formation of such systems of equations in modern software packages for automated analysis of the dynamics of body systems. There are given a structural diagram of the developed mathematical model of a tracked train and a description of its main structural elements (blocks), which are responsible for the operation of various systems: a power plant, transmission and running system.
The features of the interaction of active sections of a caterpillar propeller with a low-deformable support base of the “dense soil” type are considered. On the example of the maneuver “turn with a given radius”, an imitation mathematical modeling of the movement of a caterpillar train was carried out, and on the basis of an analysis of the results obtained, the operability of the developed mathematical model was confirmed. The developed mathematical model of the movement of a tracked semitrailer train makes it possible to study its movement in space, taking into account the mutual influence of the tractor and the semitrailer, taking into account the interaction of the active sections of the tracked propeller with the sup-port base and taking into account the modeling of the working processes of its systems.
Based on the study, it can be concluded that the use of the method of computer modeling of the dynamics of body systems is an effective tool for predicting the performance indicators of tracked trains, determining the laws of traffic control, and also for assessing energy efficiency when performing virtual maneuvers. The developed mathematical model of the dynamics of a tracked train allows a wide range of studies to assess the mobility of tracked trains of various design and layout.
Full Text
Введение
В последние десятилетия наблюдается существенный рост объема контейнерных перевозок по сравнению с другими видами грузов [1]. Для наземной транспортировки контейнеров вне дорог могут быть использованы автопоезда с колесным и гусеничным движителем. Однако использование многоосных колесных транспортных средств и автопоездов все же требует подготовленного опорного основания [2].
В качестве варианта транспортного средства для контейнерных перевозок вне дорог в статье будем рассматривать гусеничный одношарнирный седельный полуприцепной поезд, схема конструктивно-компоновочного исполнения которого представлена на рис. 1. Повышение проходимости такого гусеничного поезда может быть осуществлено путем использования активного полуприцепного звена. Для достижения высоких эксплуатационных показателей на вновь разрабатываемых транспортных средствах следует применять новые схемы трансмиссий (в первую очередь – электромеханические), а также частичную или полную автоматизацию движения, так как управление крупногабаритными машинами является достаточной сложной задачей и требует высокого уровня квалификации водителя-оператора. Поэтому для обеспечения безопасности движения предполагается применение беспилотных или дистанционно управляемых транспортных средств.
Рис. 1. Конструктивно-компоновочная схема беспилотного гусеничного поезда
Цель исследований
Разработка математической модели, предназначенной для определения показателей подвижности беспилотного гусеничного поезда и формирования законов управления движением с использованием имитационного математического моделирования.
Материалы и методы
Движение звеньев гусеничного поезда, выполненного по полуприцепной схеме, может рассматриваться как движение системы твердых тел, связанных между собой силовыми и кинематическими связями и движущихся под действием внешних силовых факторов.
Звенья гусеничного поезда и элементы гусеничного движителя представлены твердыми телами, движущимися в пространстве. Описание их движения осуществляется с использованием системы уравнений динамики твердых тел, которая будет содержать большое количество дифференциальных уравнений, описывающих движение каждого из тел в пространстве, и уравнений, описывающих связи между ними. Для этого целесообразно использовать программные комплексы, позволяющие синтезировать такую систему уравнений в автоматизированном режиме.
Примером таких программных комплексов автоматизированного анализа динамики систем тел являются: ADAMS [3], Euler [4], «Универсальный механизм» [5], ФРУНД [6], MATLAB Simscape/Multibody [7]. В различных программных пакетах подход к автоматизированному составлению уравнений динамики системы может отличаться: например, синтез может осуществляться не в абсолютных координатах, а в относительных. Кроме того, уравнения динамики могут составляться в форме второго закона Ньютона, а не уравнений Лагранжа первого рода. Однако с позиции пользователя программных продуктов существенной разницы нет.
Уравнение пространственного движения твердого тела
Рассмотрим уравнения пространственного движения твердого тела, не обремененного связями (рис. 2); в общем случае их можно представить в следующей матричной форме [8, 9]:
(1)
где – диагональная матрица масс тела; – вектор координат цента масс тела в неподвижной (глобальной) системе координат ; – вектор i-й внешней силы, приложенный к некоторой точке тела, заданный в глобальной системе координат ; – количество внешних сил, приложенных к телу; – тензор инерции тела; – вектор угловых скоростей тела в подвижной системе координат , связанной с телом в центре масс; – ортогональная матрица поворота, переводящая вектор, заданный в подвижной системе координат , связанной с телом в центре масс, в неподвижную ; – радиус-вектор точки приложения i-й силы в подвижной системе координат , связанной с телом в центре масс; – вектор j-го внешнего момента, действующего на тело, заданный в подвижной системе координат ; – количество внешних моментов, действующих на тело; – вектор моментов гироскопических сил ( – вектор кинетического момента тела).
Рис. 2. Расчетная схема движения твердого тела в пространстве
Представленная система описывает движение твердого тела как совокупность поступательного движения центра масс в неподвижной (глобальной) системе координат и вращательного движения относительно локальной системы координат, связанной с телом в центре масс . Далее, в связи с тем, что транспортная машина представляет собой систему тел, уравнения движения каждого элемента необходимо дополнить уравнениями кинематических связей.
Уравнения кинематических связей
Для комплексного синтеза и решения уравнений динамики системы тел их необходимо представить в матричном виде. Так, система уравнений, описывающая динамику системы тел, может быть представлена в виде уравнений Лагранжа первого рода [8, 9]:
(2)
где – матрица инерции; – вектор обобщенных координат (размерностью , где – количество обобщенных координат, необходимых для описания движения системы); – матрица переменных коэффициентов уравнений кинематических связей размерностью , где – число уравнений связи; – вектор множителей Лагранжа; – вектор внешних сил, включающий в себя силы нагрузок, силы от упругодемпфирующих элементов, а также гироскопические силы; – вектор правых частей уравнений связи.
В случае представленного подхода к записи системы дифференциальных уравнений, описывающих движение системы, общий принцип составления уравнений связей заключается в приравнивании проекций ускорений сопрягаемых точек тел на какую-либо систему координат. Так, в зависимости от выбора системы координат можно получать кинематические пары с заданными свойствами, то есть шарниры различных типов [8].
Уравнения упругодемпфирующих связей
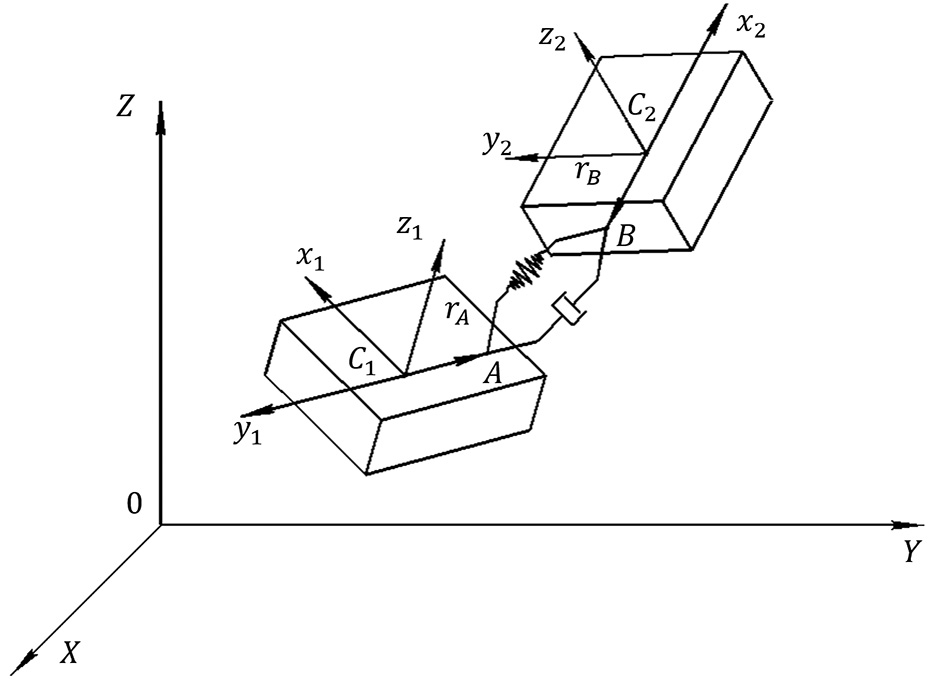
В качестве примера описания силовой связи между двумя телами и формирования вектора для системы (2) рассмотрим пружину и демпфер, соединяющие два твердых тела в произвольных точках A и B (рис. 3) [8]. Данный пример предполагает, что в процессе движения системы пружина и демпфер будут иметь постоянно изменяющуюся ориентацию в пространстве.
Рис. 3. Расчетная схема силовой связи в системе из двух твердых тел
Так, для получения величины и направления упругодемпфирующей силы определим положения точек A и B в глобальной (неподвижной) системе координат:
(3)
где – векторы координат точек A и B тел 1 и 2, соответственно, в неподвижной (глобальной) системе координат ; – радиус-векторы точек A и B в локальных системах координат и связанных с телами 1 и 2 соответственно.
Тогда величина деформации упругодемпирующего элемента определяется по формуле:
(4)
где – величина деформации упругогодемпфирующего элемента; – вектор начального положения упругодемпфирующего элемента в пространстве.
Таким образом, величину силы в упругом элементе, как позиционной силы, зависящей от относительного смещения, можно определить:
(5)
где – величина силы в упругом элементе; – закон изменения упругой силы в зависимости от деформации упругого элемента.
Для определения направления силы используются направляющие косинусы вектора () в глобальной (неподвижной) системе координат :
(6)
где – направляющие косинусы вектора в глобальной системе координат .
Умножая величину на вектор направляющих косинусов, получим искомый вектор силы упругого элемента в глобальной (неподвижной системе координат):
(7)
В случае вычисления демпфирующей составляющей силы аналогично определяются скорости точек A и B в глобальной системе координат:
(8)
(9)
Проекция вектора на направление () вычисляется при помощи направляющего косинуса:
(10)
где – относительная скорость точек А и В в направлении вектора относительного перемещения ; – угол между векторами относительного перемещения и скорости точек А и В.
Таким образом, величину силы в демпфирующем элементе, зависящей от относительной скорости между точками двух тел, можно определить:
(11)
где – величина силы в демпфирующем элементе; – закон изменения демпфирующей силы в зависимости от скорости деформации .
При этом направление вектора диссипативной силы в неподвижной системе координат:
(12)
Согласно третьему закону Ньютона, при формировании вектора для каждого из тел силы и необходимо приложить в соответствующих точках с разными знаками.
Математическая модель движения гусеничного поезда
Рассмотрим вопрос создания математической модели динамики гусеничного поезда, выполненного по полуприцепной схеме в программном комплексе Matlab, и встроенной в него среды разработки в составе Simulink и Simscape Multibody [7].
При разработке математической модели были использованы следующие допущения, связанные с особенностью среды разработки:
- моделируемые тела являются твердыми (недеформируемыми); их масса и геометрия известны и в процессе моделирования не меняются;
- все силы и моменты, действующие на каждое тело, известны в каждый момент времени (могут быть вычислены в зависимости от положения тел и их скоростей движения);
- начальные условия (перемещения и скорости) определены и соответствуют кинематическим ограничениям, наложенным на тела системы;
- шарниры (подшипники опорных катков и узел сочленения) являются идеальными, то есть податливость и потери в них отсутствуют.
На рис. 4 представлена структурная схема разработанной математической модели гусеничного поезда, выполненного по полуприцепной схеме. Модель выполнена на базе программного комплекса MATLAB с использованием стандартных блоков библиотек Simulink и Simscape/MultiBody.
Рис. 4. Структурная схема математической модели гусеничного поезда, выполненного по полуприцепной схеме
Разработанная модель состоит из функциональных подсистем, которые соответствуют различным узлам гусеничного поезда: корпус тягача, корпус прицепа, четыре гусеничных модуля, силовая установка и система управления движением и контроля параметров. Корпус тягача и корпус полуприцепа представляют собой твердые тела с соответствующими массово-инерционными параметрами, которые соединены между собой сферическим шарниром с тремя вращательными степенями свободы. Для этого используется инструмент «Spherical Joint» библиотеки Simscape/MultiBody. Сферическим шарниром в рамках разработанной модели упрощенно учитывается работа седельно-сцепного устройства. Каждый из четырех гусеничных модулей представляет собой систему твердых тел, состоящую из опорных катков, шарнирно соединенных с соответствующими осями катков с помощью шарниров «Revolute Joint», которые имеют одну вращательную степень свободы и обеспечивают возможность вращения катков относительно их осей. Для катов гусеничных модулей и их осей заданы массово-инерционные параметры. Оси катков, в свою очередь, соединяются с корпусом тягача или прицепа при помощи поступательного шарнира «Prismatic Joint», который обеспечивает возможность перемещения катка в вертикальном направлении и моделирует работу системы подрессоривания при заданных характеристиках упругого и демпфирующего элементов.
Далее при моделировании гусеничного поезда будем рассматривать его движение по горизонтальному ровному основанию с «плотным» малодеформируемым грунтом. В таком случае распределение эпюры нормальных реакций по длине активной части гусеницы имеет разрывный характер [10]. Взаимодействие гусеничного движителя с опорным основанием осуществляется за счет активных участков, расположенных под катками; остальные участки гусеницы находятся практически в ненагруженном состоянии. Кроме этого, результаты, полученные в работе [11], позволяют перейти от рассмотрения взаимодействия гусеницы с опорным основанием к рассмотрению взаимодействия отдельных активных участков гусеничного обвода, расположенных под опорными катками.
Для учета момента сопротивления повороту гусеничной машины каждый из активных участков гусеницы разбивается на конечное число элементарных площадок. Будем считать, что ввиду малого размера активного участка эпюра нормальных напряжений равномерно распределена по пятну контакта активного участка. Опорная поверхность моделируется путем задания функции высот неровностей в зависимости от продольной и поперечной координат рассматриваемого участка грунта в неподвижной системе координат. Примем допущение, что вектор нормали к опорной поверхности в каждой элементарной площадке совпадает с соответствующим вектором в точке опорной поверхности, расположенной под центром опорного катка в вертикальном направлении.
Для определения направления нормалей к опорной поверхности рассматриваемый участок местности разбивается на точек вдоль продольной и вдоль поперечной осей (рис. 5). Тогда нормаль в каждой точке опорной поверхности может быть найдена как:
(13)
где – нормаль к опорной поверхности в точке с координатами , ; – радиус-вектор рассматриваемой точки опорной поверхности с координатами , в неподвижной системе координат XYZ.
Рис. 5. Расчетная схема определения нормали к опорной поверхности
Согласно принятым допущения, нормаль к опорной поверхности для каждого элемента пятна контакта слабо отличается от вектора нормали, соответствующего точке опорной поверхности, которая расположена под центром колеса вдоль вертикальной оси. В связи с этим шаг разбиения рассматриваемого участка местности (по которому предполагается движение машины) вдоль осей X и Y целесообразно выбирать соизмеримым с размерами пятна контакта.
Для обеспечения плавного изменения вектора нормали к опорной поверхности в точке контакта в процессе движения машины компоненты вектора для каждого значения координат центра колеса могут быть получены путем интерполяции.
Учет взаимодействия движителя с опорным основанием осуществляется с использованием подхода, основанного на представлении об «эллипсе трения», согласно которому сила взаимодействия с опорной поверхностью направлена противоположно скорости скольжения в плоскости опорного основания в точках контакта [12–14] (рис. 6, б). Подобная модель взаимодействия движителя с опорным основанием широко используется и при моделировании движения гусеничных машин и гусеничных поездов, например, в работах [15, 16].
Рис. 6. Расчетная схема взаимодействия активного участка гусеницы с опорным основанием
Расчетная схема взаимодействия активного участка гусеницы с опорным основанием представлена на рис. 6, а. Активный участок гусеницы, как отмечалось выше, разбивается на элементарные площадки, и для каждой такой площадки определяются ее ориентация, направление вектора скорости скольжения и касательная составляющая силы взаимодействия элементарной площадки активного участка гусеницы с опорным основанием , которая определяется как произведение коэффициента взаимодействия колеса с опорной поверхностью на нормальную реакцию . Далее вычисляется вектор суммарной силы взаимодействия активного участка гусеницы с опорным основанием . Подробное описание реализации описанного подхода приведено в работе [17]. Подобная модель взаимодействия активных участков гусеницы с опорным основанием используется в разработанной модели динамики движения гусеничного поезда, выполненного по полуприцепной схеме. Относительная скорость активного участка гусеницы в данном случае соответствует скорости перемотки гусеницы , которая определяется следующим выражением:
где – угловая скорость ведущего колеса; – радиус ведущего колеса.
Кроме этого, в модели используется функциональная подсистема, которая отвечает за моделирование работы силовой установки с учетом выбранной схемы трансмиссии. Математическая модель позволяет реализовать различные схемы трансмиссии гусеничных поездов путем изменения компонентов внутри функциональной подсистемы; например, трансмиссия с индивидуальным приводом ведущих колес, с дифференциальной связью, с использованием механизмов передачи-поворота и т.д.
В качестве силовой установки в модели гусеничного поезда используется математическая модель тягового электродвигателя (ТЭД), механическая характеристика которого представлена на рис. 7. Математическая модель позволяет описывать работу электродвигателя на различных режимах путем задания управляющего воздействия h. При отрицательных значениях h электродвигатель работает в генераторном режиме, а при положительных значениях – в тяговом режиме. Рассматриваемая модель используется во многих работах [18, 15] и позволяет наиболее просто описать работу ТЭД с помощью следующей системы уравнений:
(14)
где – максимальный тяговый или тормозной момент, создаваемый ТЭД; – максимальная тяговая или тормозная мощность ТЭД; – максимальная частота вращения ротора ТЭД; – текущее значение частоты вращения ротора ТЭД; h – параметр управления, который одновременно пропорционально изменяет максимальный момент и максимальную мощность ТЭД.
Рис. 7. Механические характеристики ТЭД при различном параметре управления
Гусеничный поезд в зависимости от принятых конструктивно-компоновочных решений и выбранного способа поворота может иметь различные схемы трансмиссий. Так, для гусеничного поезда, оснащенного активным полуприцепом, с использованием бортового способа поворота целесообразно применять схемы трансмиссий, позволяющих перераспределять крутящие моменты между ведущими колесами. Простейшей схемой трансмиссии в таком случае является схема с индивидуальным приводом ведущих колес, изображенная на рис. 8, которая была реализована в разработанной математической модели. Такая трансмиссия не лишена недостатков, связанных с особенностью поворота гусеничной машины: при повороте вокруг отстающего борта с малым радиусом тяга на забегающем борту может оказаться недостаточной, что потребует установки переразмеренного ТЭД. Для решения этой проблемы могут использоваться другие схемы трансмиссий с использованием механизмов передачи-поворота с возможностью перераспределения потоков мощности между ведущими колесами. Разработанная математическая модель позволяет учитывать работу различных вариантов исполнений трансмиссий путем замены функционального блока математической модели на соответствующий выбранной схеме трансмиссии. Однако в рамках статьи будем рассматривать простейший вариант трансмиссии с индивидуальным приводом ведущих колес, который представляет собой два ТЭД с тормозами, соединенных через бортовые редукторы с ведущими колесами, движение которых описывается следующей системой уравнений:
(15)
где – приведенные моменты инерции вращающихся частей трансмиссии к ведущим колесам; – вращающие моменты, создаваемые ТЭД; – моменты сопротивлений на ведущих колесах; – моменты механических тормозов; – передаточные отношения бортовых редукторов; – КПД участка трансмиссии от ТЭД до ведущего колеса.
Рис. 8. Схема трансмиссии с индивидуальным приводом ведущих колес
Для гусеничного поезда, имеющего кинематический способ поворота, криволинейное движение которого обеспечивается путем создания складывающего момента в узле сочленения, используется дифференциальная схема трансмиссии, которая представлена на рис. 9. В упрощенном виде схема состоит из одного ТЭД, соединенного с главной передачей с дифференциалом, полуосевые шестерни которого связаны с тормозами и ведущими колесами. Математическая модель такой трансмиссии описывается следующей системой уравнений:
(16)
где – приведенные моменты инерции вращающихся частей трансмиссии к ведущим колесам; – вращающий момент, создаваемый ТЭД; – моменты сопротивлений на ведущих колесах; – моменты механических тормозов; – передаточное отношение главной передачи; – КПД участка трансмиссии от ТЭД до ведущего колеса.
Рис. 9. Схема трансмиссии с дифференциальным приводом ведущих колес
Другие варианты трансмиссий, механических характеристик силовой установки и математических моделей рабочих процессов систем и вспомогательного оборудования могут быть описаны аналогичным образом путем добавления или корректировки соответствующих функциональных блоков разработанной математической модели гусеничного поезда с использованием динамики твердых тел. Кроме того, для проведения вычислительных экспериментов по оценке показателей эксплуатационных свойств гусеничного поезда модель дополнена блоками подсистем, которые отвечают за управление движением и контроль необходимых параметров, таких как, например, угол складывания гусеничного поезда.
Таким образом, разработанная имитационная модель движения гусеничного полуприцепного поезда позволяет исследовать его движение в пространстве с учетом взаимного влияния тягача и полуприцепа, взаимодействия активных участков гусеничного движителя с опорным основанием и моделирования рабочих процессов его систем.
Результаты и обсуждение
Для проверки работоспособности разработанной математической модели проанализируем результаты моделирования гусеничного поезда полной массой 108 тонн. В качестве дорожно-грунтовых используются характеристики опорного основания типа «плотный грунт». Примем следующие его характеристики [19]: – коэффициенты сцепления в продольном и поперечном направлениях; – коэффициент сопротивления движению.
Рассмотрим расчетный случай криволинейного движения гусеничного поезда с активным полуприцепом с использованием кинематического способа поворота. До момента времени t = 5 c гусеничный поезд движется прямолинейно, затем начинает поворачивать до заданного угла «складывания» секций, равного 27,5°, и в момент времени t = 10 c тягач движется по окружности радиуса Rп = 30 м с установившейся скоростью 8 м/с. На рис. 10 представлены траектории движении тягача и полуприцепа и изменение скорости их движения.
Рис. 10. Траектория движения гусеничного поезда и изменение его скорости движения
Для дифференциальной схемы трансмиссии используемой модели гусеничного поезда моменты сопротивлений на ведущих колесах должны быть равны. Для этого рассмотрим график изменения моментов сопротивлений, представленный на рис. 11. Момент сопротивления вращению ведущего колеса вычисляется по следующему выражению:
(17)
где fгр – коэффициент сопротивления качению колеса в ведомом режиме; Rx, Rz – проекции продольной и вертикальной составляющих суммарной силы взаимодействия в контакте активных участков гусеницы с опорной поверхностью; rвк – радиус ведущего колеса; – КПД гусеничного движителя.
Рис. 11. Изменение моментов сопротивления на ведущих колесах тягача
Из графика, представленного на рис. 11, видно, что моменты сопротивлений на левом и правом ведущих колесах равны, что подтверждает работоспособность разработанной математической модели.
Заключение
Разработана математическая модель динамики гусеничного поезда, позволяющая проводить широкий круг исследований по оценке подвижности гусеничных поездов различного конструктивно-компоновочного исполнения. Математическая модель разработана с использованием программных комплексов, позволяющих синтезировать системы уравнений движения твердых тел в автоматизированном режиме; кроме этого, настоящая модель позволяет путем замены функциональных блоков соответствующих систем проводить имитационное математическое моделирование движения гусеничных поездов с использованием различных вариантов схем трансмиссий, механических характеристик ТЭД и систем и законов управления движением.
Работоспособность разработанной математической модели подтверждена в результате анализа результатов, полученных при проведении имитационного математического моделирования. На основании исследования можно заключить, что применение метода компьютерного моделирования динамики систем тел является эффективным средством для прогнозирования показателей эксплуатационных свойств гусеничных поездов, определения законов управления движением, а также для оценки энергоэффективности при выполнении виртуальных маневров.
About the authors
K. B. Yevseyev
Bauman Moscow State Technical University
Author for correspondence.
Email: kb_evseev@bmstu.ru
PhD in Engineering
Russian Federation, MoscowReferences
- Kato H., Shibasaki R., Ducruet C. Global logistics network modelling and policy. Quantification and analysis for international freight. Amsterdam: Elsevier, 2020. 372 p.
- Aksenov P.V. Mnogoosn·yye avtomobili [Multi-axle vehicles]. 2 izd. Moscow: Mashinostroyeniye Publ., 1989. 280 p.
- ADAMS – The Multibody Dynamics Simulation Solution. URL: https://www.mscsoftware.com/product/adams (accessed: 14.07.2021).
- EULER – Software Complex for Automated Dynamic Analysis of Multibody Mechanical Systems. URL: http://www.euler.ru/index.php/euler (accessed: 14.07.2021).
- Universal’nyy mekhanizm – programmnyy kompleks dlya modelirovaniya dinamiki mekhanicheskikh system [Universal mechanism - a software package for modeling the dynamics of mechanical systems]. URL: http://www.umlab.ru/pages/index.php (accessed: 14.07.2021).
- FRUND – programmnaya sistema formirovaniya resheniy uravneniy nelineynoy dinamiki [FRUND - software system for generating solutions to equations of nonlinear dynamics]. URL: http://frund.vstu.ru/ (accessed: 14.07.2021).
- MATLAB Simscape/Multibody – Model and simulate multibody mechanical systems. URL: https://www.mathworks.com/products/simscape-multibody.html (accessed: 14.07.2021).
- Gorobtsov A.S., Kartsov S.K., Polyakov Yu.A. Features of the construction of spatial dynamic models of vehicles, taking into account large movements of rigid bodies. Izvestiya TulGU. Tekhnicheskiye nauki. 2013. No 6-1, pp. 102–115 (in Russ.).
- Gorobtsov A.S., Kartsov S.K., Pletnev A.E., Polyakov Yu.A. Komp’yutern·yye metody postroyeniya i issledovaniya matematicheskikh modeley dinamiki konstruktsiy avtomobiley. Monografiya [Computer methods for constructing and researching mathematical models of the dynamics of vehicle structures. Monograph]. Moscow: Mashinostroyeniye Publ., 2011. 463 p.
- Zabavnikov N.A. Osnovy teorii transportnykh gusenichnykh mashin [Fundamentals of the theory of transport tracked vehicles]. Moscow: Mashinostroyeniye Publ., 1975. 448 p.
- Krasnen’kov V.I., Kharitonov S.A. Dynamics of curved movement of a transport tracked vehicle. Trudy MVTU im. N.E. Baumana. 1980. No 339, pp. 3–67 (in Russ.).
- Rozhdestvenskiy Yu.L., Mashkov K.Yu. The formation of reactions when an elastic wheel rolls on a non-deformable base. Trudy MVTU. 1982. No 390, pp. 56–64 (in Russ.).
- Ellis D.R. Upravlyayemost’ avtomobilya [Vehicle handling]. Moscow: Mashinostroyeniye Publ., 1975. 216 p.
- Dik A.B. Raschet statsionarnykh i nestatsionarnykh kharakteristik tormozyashchego kolesa pri dvizhenii s uvodom. Dissertatsiya … kandidata tekhnicheskikh nauk [Calculation of stationary and non-stationary characteristics of the braking wheel when driving with pull. Dissertation for degree of DrSc in Engineering]: 05.05.03 / SADI. Omsk, 1988. 224 p.
- Gorelov V.A., Kositsyn B.B., Miroshnichenko A.V. [i dr.] Method for determining the characteristics of an individual traction electric drive of a two-link tracked vehicle at the design stage. Trudy NGTU im. R.E. Alekseyeva. 2019. No 3 (126), pp. 120–134 (in Russ.).
- Kotiyev G.O., Padalkin B.V., Miroshnichenko A.V. [i dr.] Theoretical studies of the mobility of high-speed tracked vehicles with electric transmissions. Materialy mezhdunarodnoy nauchno-prakticheskoy konferentsii. Pod redaktsiyey I.A. Kalyayeva, F.L. Chernous’ko, V.M. Prikhod’ko. 2018, pp. 27–36 (in Russ.).
- Gorelov V.A., Yevseyev K.B., Chudakov O.I. [i dr.] Evaluation of indicators of curvilinear movement of a road train using mathematical simulation. Izvestiya MGTU «MAMI». 2020. No 4 (46), pp. 2–15 (in Russ.).
- Kotiyev G.O., Gorelov V.A., Miroshnichenko A.V. Development of a control law for the individual drive of the propellers of a multi-axle wheeled vehicle. Izvestiya vysshikh uchebnykh zavedeniy. Mashinostroyeniye. 2012. No 1, pp. 49–59 (in Russ.).
- Isakov P.P. Teoriya i konstruktsiya tanka. Transmissii voennyh gusenichnyh mashin [Theory and design of the tank. Military tracked vehicle transmissions]. Vol. 5. Moscow: Mashinostroyeniye Publ., 1985. 367 p.
Supplementary files














