The experimental study of mechanical losses in the modern diesel engine
- Authors: Khannanov M.D.1,2, Gumerov I.F.2, Fardeev L.I.2, Kulikov A.S.2, Alimgulov E.R.2
-
Affiliations:
- Naberezhnye Chelny Institute of the Kazan Federal University
- Research and Development Center of PJSC “KAMAZ”
- Issue: Vol 89, No 3 (2022)
- Pages: 187-195
- Section: Theory, designing, testing
- Submitted: 14.04.2022
- Accepted: 25.05.2022
- Published: 02.01.2023
- URL: https://journals.eco-vector.com/0321-4443/article/view/106271
- DOI: https://doi.org/10.17816/0321-4443-106271
- ID: 106271
Cite item
Full Text
Abstract
BACKGROUND: Amid the tightening of the CO2 emission requirements as well as high level of competition on the commercial truck market, the focus area of the internal combustion engine (ICE) development is as follows: high engine efficiency and fuel economy, minimization of internal losses and engine cycle optimization for all operation modes. Engine performance factors of modern 12–13-liter diesel engines, existing on the global market, are as follows: the minimal specific fuel consumption is 179–182 g/kWh, effective efficiency is 46–48%. Decreasing of mechanical losses is one of the features that made the achievement of such factors possible. The relevant issue for choosing the strategy of mechanical losses decreasing is formation of balance in losses distribution between main ICE groups of components. Moreover, considering the mechanical losses dependence on engine operating speed, engine cycle parameters and engine design features, it is important to determine the pattern of change in mechanical losses.
AIMS: Assessment of mechanical losses of modern diesel engine with high effective efficiency in an experimental way. Formation of mechanical losses balance.
METHODS: The study object is the 6ChN 13/15 inline six-cylinder diesel engine with the operation volume of 11.95 liters. The mechanical losses assessment was performed with the engine, propelled by a dynamometric machine on a testing facility with fully stabilized conditions, with the method of sequential disassemble of main groups of components.
RESULTS: Relevant data of mechanical losses level of the modern diesel engine with the distribution between main groups of components is obtained. Mechanical losses dependence on operation speed, oil and coolant liquid temperatures is formed.
CONCLUSIONS: Practical value of the study lies in assessment of contribution of each group of components in the total friction as well as in assessment of the degree of design and technological development of ICEs. According to the study results, areas of possible improvement of friction for each group of components and engine as a whole will be formed.
Full Text
ВВЕДЕНИЕ
Прогресс в теории ДВС и новые перспективные технологии обеспечивают возможность экономии топлива путем целевого сокращения потерь энергии. При этом резервы энергосбережения ДВС заключены не только в снижении потерь тепловой энергии, но и в повышении эффективной работы, в том числе и за счет снижения механических потерь.
Механические потери – следствие потерь энергии на преодоление трения движущихся частей (например, поршень в сборе, шатун, коленчатый вал и клапанный механизм), систем нагнетания, насосных систем и энергии, необходимой для движения компонентов двигателя.
По различным оценкам, выполненным для конкретных типов и комплектаций поршневых ДВС, отнесенная к индикаторной мощности доля механических потерь на номинальном режиме работы бензиновых автомобильных двигателей и автотракторных дизелей без наддува составляет величину от 15 до 25%. Это говорит о том, что около четверти располагаемой энергии газов в поршневом двигателе безвозвратно теряется на преодоление трения [1].
В свое время Рикардо [2], анализируя динамику показателей карбюраторных двигателей 1924–1948 годов выпуска, отметил отсутствие роста механического КПД за указанный период и объяснил этот факт тем, что повышение индикаторных показателей одновременно сопровождалось практически пропорциональным ростом затрат энергии на газообмен и преодоление механического трения. Сравнение аналогичных параметров современных ДВС автотракторного типа, обладающих значительно большим уровнем форсирования как по нагрузке, так и по скоростному режиму, свидетельствует о сохранении этой тенденции и в наши дни: величина механического КПД на номинальном режиме безнаддувных вариантов двигателей, как и тогда, не превышает значений 0,74–0,78 (уменьшаясь при снижении нагрузки). Все это свидетельствует не только о сложности решений по сокращению механических потерь, но и (несмотря на очевидные успехи в области триботехники и триботехнологии) о недостаточном внимании, которое уделяется применению трибологических методов в ДВС.
С целью формирования стратегии по повышению энергоэффективности и топливной экономичности конкретного ДВС важно оценить актуальный баланс механических потерь с распределением по основным группам компонентов [3, 4]. Для примера, на рис. 1 представлено среднестатистическое распределение механических потерь по механизмам, узлам и агрегатам ДВС, из которого следует, что максимальный вклад в общие механические потери вносит трение деталей цилиндропоршневой группы ЦПГ: в среднем 45 и 50% для бензиновых ДВС и дизелей. Следующую по удельному весу долю составляют потери в подшипниках кривошипно-шатунного механизма (КШМ): 22–24% при полной нагрузке. Примерно пятая часть всех механических потерь приходится на работу, затрачиваемую на газообмен (аэродинамические потери). Формирование баланса механических потерь позволяет определить основные приоритеты и резервы энергосбережения.
Рис. 1. Распределение составляющих механических потерь по узлам и агрегатам ДВС: 1 – цилиндропоршневая группа (ЦПГ); 2 – кривошипно-шатунный механизм (КШМ); 3 – газообмен (насосные потери); 4 – газораспределительный механизм (ГРМ); 5 – навесные агрегаты.
Fig. 1. Distribution of mechanical losses shares between units and assemblies of an ICE: 1 – cylinder-piston group (CPG); 2 – crank gear assembly (CGA); 3 – gases exchange (pumping losses); 4 – valve gear assembly (VGA); 5 – accessories.
В то же время механические потери не являются постоянными по всему диапазону рабочих оборотов двигателя; скорее даже они растут с увеличением оборотов двигателя, как показано на рис. 2 [5]. С целью обеспечения более глубокого понимания относительно дальнейшего улучшения эффективного КПД важно определить характер изменения механических потерь.
Рис. 2. Схематичное представление распределения трения по различным диапазонам оборотов двигателя.
Fig. 2. The sketch of losses distribution depending on engine operation speed.
ЦЕЛЬ ИССЛЕДОВАНИЙ
Экспериментальным путем оценить механические потери современного дизельного двигателя с высоким эффективным КПД. Сформировать баланс механических потерь с распределением по основным группам компонентов.
МАТЕРИАЛЫ И МЕТОДЫ
Объектом исследования является рядный шестицилиндровый дизель 6ЧН 13/15 рабочим объемом 11,95 литров. Основные характеристики двигателя:
- номинальная мощность Ne=404 кВт при частоте вращения коленчатого вала nном=1900 мин-1;
- максимальный крутящий момент Ме=2550 Н·м при частоте вращения коленчатого вала от nМ=900–1400 мин-1;
- эффективный КПД 46%;
- минимальный удельный расход топлива gе=182 г/кВтч.
Отечественные стандарты (ГОСТ 18509-85 для тракторных и комбайновых двигателей, ГОСТ 14846-80 для автомобильных двигателей) предусматривают различные методы определения механических потерь двигателя: прокручивание коленчатого вала ДВС; последовательное отключение цилиндров ДВС; экстраполяция нагрузочной характеристики; индицирование давления в цилиндрах ДВС; метод одиночного и/или двойного выбега; измерение расхода топлива на холостом ходу. В работах [6, 7, 8] приведен более подробный анализ данных методов, включая анализ погрешностей при измерениях механических потерь; также рассматривается трудоемкость и применимость методов для различных типов ДВС (с различной тактностью, одно-, двухцилиндровых и др.). Данный анализ и сравнение методов определения механических потерь показывает, что каждый из способов – достаточно трудоемкий процесс, требующий времени и специального оборудования.
С целью формирования актуального баланса механических потерь принято решение провести экспериментальные исследования двигателя 6ЧН 13/15 методом прокрутки на испытательном стенде с последовательным демонтажем основных групп компонентов. Из всех известных методов определения интегральных (суммарных) механических потерь данный метод обладает наилучшим сочетанием показателей. Недостаток метода состоит в очень высокой (до 30%) систематической погрешности, поэтому эффективное использование данного метода требует компенсации искажений, вносимых отсутствием сгорания в цилиндрах при прокрутке (повышение вязкости моторного масла, снижение нагрузки на детали, разжижение масла топливом). Один из путей компенсации этих искажений является обеспечение оптимальных рабочих условий (температура масла и охлаждающей жидкости), ведущих к приближению условий смазки и трения к существующим при сгорании. В то же время данный метод позволяет оценить конструкторско-технологический уровень компонентов и развитие ДВС в целом.
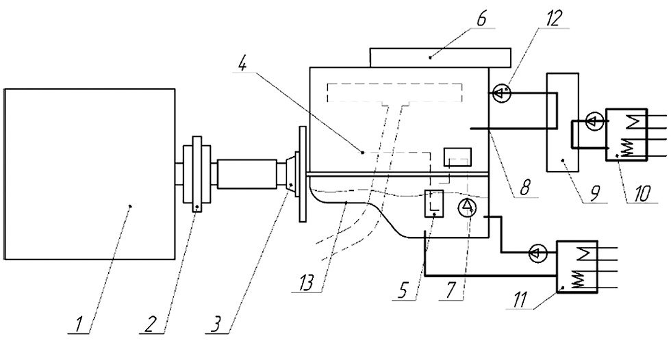
Исследование проводились на специально оборудованном испытательном стенде при полностью стабилизированных условиях трения. На рис. 3 представлена упрощенная схема испытательного стенда.
Рис. 3. Упрощенная схема испытательного стенда: 1 – приводная динамометрическая машина; 2 – датчик крутящего момента; 3 – шарнирный вал с переходным фланцем; 4 – главная масляная магистраль, датчик температуры и давления; 5 – масляный фильтр; 6 – система впуска воздуха; 7 – масляный насос; 8 – датчик давления и температуры ОЖ на выходе; 9 – теплообменник; 10 – устройство кондиционирования охлаждающей жидкости; 11 – устройство кондиционирования масла; 12 – водяной насос, датчик давления и температуры ОЖ на входе; 13 – масляный поддон.
Fig. 3. The simplified scheme of the testing facility: 1 – a driving dynamometric machine; 2 – a torque sensor; 3 – a jointed shaft with an adapter flange; 4 – main oil distributing passage, oil and pressure gauge; 5 – an oil filter; 6 – an air intake system; 7 – an oil pump; 8 – a coolant liquid pressure and temperature gauge at the outlet; 9 – a heat exchanger; 10 – a coolant liquid conditioning unit; 11 – an oil conditioning unit; 12 – a water pump, a coolant liquid pressure and temperature gauge at the inlet; 13 – an oil pan.
На первом этапе исследований определяется среднее давление механических потерь укомплектованного двигателя. Прокруткой от привода электродвигателя на каждой установившейся частоте вращения коленчатого вала датчиком крутящего момента фиксируется прокручиваемый крутящий момент двигателя и среднее индикаторное давление.
Среднее эффективное давление прокрутки двигателя на стенде (Pпр) получено из прокручивающего крутящего момента, измеряемого датчиком крутящего момента:
,
где Мпр – прокручивающий крутящий момент; iVh – рабочий объем двигателя; nц – количество оборотов за цикл, для четырехтактного двигателя nц=2.
Среднее эффективное давление потерь PM на трение вычисляется по формуле:
,
где Pi – среднее индикаторное давление, полученное от сжатия газов и насосных потерь в цилиндре, через впускную и выпускную системы, соответственно.
Для определения среднего индикаторного давления для определенной частоты вращения измеряется давление в цилиндре за весь термодинамический цикл (впуск, сжатие, рабочий ход, выпуск). С целью повышения точности измерений вначале требуется определить верхнюю мертвую точку (ВМТ). Далее проводится калибровка кривой давления и определяется угол потерь. По результатам измерения динамических давлений в цилиндре может быть построена Р-V диаграмма. Площадь внутри кривой Р-V определяет индикаторную работу. Делением этой величины на рабочий объем цилиндра получаем величину среднего индикаторного давления для целого цикла (рис. 2).
Далее вычисляются крутящий момент (MM) и мощность потерь (NM) на трение:
; .
После прокрутки на испытательном стенде укомплектованного двигателя в программе исследования предусмотрен последовательный демонтаж следующих групп компонентов: масляный насос, поршень в сборе, насос охлаждающей жидкости, ременный привод агрегатов, воздушный компрессор тормозов, топливный насос высокого давления, клапаны и толкатели, распределительный вал с приводом. На финальном этапе проводится оценка механических потерь коленчатого вала. Таким образом, данный эксперимент позволяет оценить, как основные компоненты влияют на силы трения, и сформировать актуальный баланс механических потерь.
На каждом последовательном этапе двигатель работает с постоянными частотами коленчатого вала от 500 до 1900 об/мин с установленными температурами масла в главной масляной магистрали и температурами охлаждающей жидкости на выходе двигателя: 60 и 90 °С. Это позволяет дополнительно проанализировать зависимость силы трения от температуры масла и охлаждающей жидкости.
Испытываемый двигатель Р6 установлен на испытательный стенд по исследованию трения со следующими граничными условиями:
1) система впуска (впускной трубопровод без дроссельной заслонки, воздушный фильтр от испытательного стенда) и система выпуска изменены для режима прокрутки двигателя;
2) система смазки находится в исходном конструкторском состоянии; в дополнении установлено внешнее устройство кондиционирования и подготовки масла. Система кондиционирования масла включает в себя электрический нагреватель, водомасляный теплообменник и прокачивающий насос. Когда работает масляный насос двигателя, внешняя система кондиционирования только прокачивает масло через масляный поддон двигателя и управляет температурой масла. При деактивации масляного насоса циркуляция масла обеспечивается внешним устройством кондиционирования. Дополнительно устанавливается технологическая заглушка на выходе из серийного масляного насоса, которая препятствует прямому попаданию масла в масляный поддон;
3) температура охлаждающей жидкости (ОЖ) на выходе из двигателя управляется внешним устройством кондиционирования. Для обеспечения удовлетворительного управления температурой ОЖ на выходе из двигателя термостат заблокирован в открытом положении. Водяной насос двигателя обеспечивает циркуляцию ОЖ. При деактивации водяного насоса циркуляция ОЖ обеспечивается внешним устройством кондиционирования;
4) охлаждающая жидкость с 50% этиленгликоля класса G12+;
5) моторное масло 5W-30.
Рис. 4. Определение среднего индикаторного давления: a) калибровка индикаторной диаграммы; b) построение P-V диаграммы.
Fig. 4. Evaluation of average indicator pressure: a) the indicator diagram calibration; b) the P-V diagram plotting.
Рис. 5. Доля групп компонентов от суммарных потерь ДВС при температуре масла, ОЖ 90 °С и частотах вращения коленчатого вала 900 и 1900 об/мин.
Fig. 5. Shares of groups of components from ICE total losses for oil and coolant liquid temperatures of 90 °C and crankshaft rotation speed of 900 and 1900 rev/min.
РЕЗУЛЬТАТЫ ИССЛЕДОВАНИЙ
По результатам исследований сформированы данные по среднему эффективному давлению потерь на трение, а также значения мощностных показателей потерь на трение. На рис. 5 приведено процентное распределение потерь каждой группы компонентов в общих механических потерях исследуемого двигателя при частоте вращения коленчатого вала 900 об/мин и 1900 об/мин, температурах масла и охлаждающей жидкости 90 °C / 90 °C.
Также сформированы следующие показатели:
- зависимость мощности механических потерь основных групп компонентов исследуемого двигателя от частоты вращения коленчатого вала (рис. 6);
- зависимость доли механических потерь основных групп компонентов исследуемого двигателя от частоты вращения коленчатого вала (рис. 7);
- зависимость среднего эффективного давления механических потерь исследуемого двигателя от температуры масла, ОЖ (рис. 8).
Рис. 6. График изменения мощности механических потерь основных групп компонентов от частоты вращения коленчатого вала.
Fig. 6. The graph of mechanical losses power of main groups of components depending on crankshaft rotation speed.
Рис. 7. График изменения процентной доли механических потерь основных групп компонентов от частоты вращения коленчатого вала.
Fig. 7. The graph of mechanical losses percentage of main groups of components depending on crankshaft rotation speed.
Рис. 8. График изменения механических потерь укомплектованного двигателя в зависимости от температуры масла и ОЖ.
Fig. 8. The graph of mechanical losses of the assembled engine depending on temperatures of oil and coolant liquid.
ВЫВОДЫ
По результатам проведенных экспериментальных исследований получены актуальные данные по уровню механических потерь современного дизельного двигателя с высоким эффективным КПД. Измерение механических потерь по методике прокрутки с последовательным демонтажем основных групп компонентов позволило получить актуальное распределение и вклад каждой группы компонентов в общее трение. Значительная часть потерь приходится на ЦПГ – от 33% до 37%; на привод масляного насоса – от 14 до 17%; привод насоса охлаждающей жидкости – от 2,5 до 14%; на привод коленчатого вала – от 13 до 14%.
Исходя из полученного баланса механических потерь можно проследить основные направления развития современного дизеля в классе 12–13 литров. Значительно сократились потери на трение в ЦПГ (более 10%). В ходе решения задачи по оптимизации рабочего процесса (основной акцент в последние десятилетия ставился именно на эту задачу), в сочетании с изучением различных явлений смазки и трения движущихся частей, изменялась конструкция, материалы и структура поверхности. Все это позволило снизить коэффициент трения и повысить износостойкость компонентов ЦПГ. Также стоит отметить успехи в развитии антифрикционных покрытий вкладышей коленчатого вала (сокращение потерь на 5–8%). С развитием и совершенствованием конструкции основных узлов и агрегатов двигателей наблюдается существенное снижение уровня механических потерь, даже при агрессивных рабочих процессах ДВС, сопровождающихся высокими давлениями сгорания.
На основании проведенного экспериментального исследования будут сформированы области потенциального улучшения трения для каждой компонентной группы. Полученные данные по механическим потерям будут учтены в расчетной математической модели исследуемого двигателя, а также при проектировании нового поколения энергоэффективных ДВС.
ДОПОЛНИТЕЛЬНАЯ ИНФОРМАЦИЯ
Вклад авторов. М.Д. Ханнанов – поиск публикаций по теме статьи, написание текста рукописи, проведение исследований, анализ и оформление результатов исследований; И.Ф. Гумеров – определение приоритетных направлений исследований, экспертная оценка исследований, утверждение финальной версии; Л.И. Фардеев – организация проведения исследований, анализ результатов исследований, редактирование текста рукописи; А.С. Куликов – организация проведения исследований, анализ результатов исследований, редактирование текста рукописи; Э.Р. Алимгулов – проведение исследований, анализ результатов исследований, редактирование текста рукописи. . Все авторы подтверждают соответствие своего авторства международным критериям ICMJE (все авторы внесли существенный вклад в разработку концепции, проведение исследования и подготовку статьи).
Конфликт интересов. Авторы декларируют отсутствие явных и потенциальных конфликтов интересов, связанных с публикацией настоящей статьи.
Источник финансирования. Авторы заявляют об отсутствии внешнего финансирования при проведении исследования.
ADDITIONAL INFORMATION
Authors’ contribution. M.D. Khannanov – search for publications on the topic of the article, writing the text of the manuscript, conducting research, analyzing and formalizing research results; I.F. Gumerov ― determination of priority areas of research, expert evaluation of research, approval of the final version; L.I. Fardeev – organization of research, analysis of research results, editing the text of the manuscript; A.S. Kulikov – organization of research, analysis of research results, editing the text of the manuscript; selection of source materials on the topic of the article; E.R. Alimgulov – conducting research, analyzing research results, editing the text of the manuscript.
All authors made a substantial contribution to the conception of the work, acquisition, analysis, interpretation of data for the work, drafting and revising the work.
Competing interests. The authors declare no any transparent and potential conflict of interests in relation to this article publication.
Funding source. This study was not supported by any external sources of funding.
About the authors
Marat D. Khannanov
Naberezhnye Chelny Institute of the Kazan Federal University; Research and Development Center of PJSC “KAMAZ”
Author for correspondence.
Email: marhan87@mail.ru
ORCID iD: 0000-0001-9816-0691
SPIN-code: 9825-8736
Postgraduate of the Automobiles, Automobile Engines and Design Department
Russian Federation, Naberezhnye Chelny; Naberezhnye ChelnyIrek F. Gumerov
Research and Development Center of PJSC “KAMAZ”
Email: gumerov@kamaz.ru
ORCID iD: 0000-0002-5538-8693
SPIN-code: 3475-4219
Cand. Sci. (Engin.); Deputy General Director - Development Director
Russian Federation, Naberezhnye ChelnyLenar I. Fardeev
Research and Development Center of PJSC “KAMAZ”
Email: Lenar.Fardeev@kamaz.ru
ORCID iD: 0000-0002-2508-5915
SPIN-code: 4034-8695
Deputy Chief Engine Designer for Advanced Engines
Russian Federation, Naberezhnye ChelnyAndrey S. Kulikov
Research and Development Center of PJSC “KAMAZ”
Email: Andrey.Kulikov@kamaz.ru
ORCID iD: 0000-0003-4005-1112
SPIN-code: 1525-7860
Chief Engine Designer of R&D Center
Russian Federation, Naberezhnye ChelnyEduard R. Alimgulov
Research and Development Center of PJSC “KAMAZ”
Email: Eduard.Alimgulov@kamaz.ru
ORCID iD: 0000-0002-7808-8327
SPIN-code: 8738-3647
Head of the Design Group of Advanced Engines, R&D Center
Russian Federation, Naberezhnye ChelnyReferences
- Putintsev SV. Mekhanicheskie poteri v porshnevykh dvigatelyakh. Uchebnoe posobie po distsipline «Spetsial’nye glavy konstruirovaniya i SAPR». Moscow: izd-vo MGTU im. N.E. Baumana; 2011. (In Russ).
- Ricardo HR. High-Speed internal-combustion engines. Kruglov MG, editor. Mosow: GNTI; 1960. (In Russ).
- Wang Z, Shuai S, Li Z, Yu W. A Review of Energy Loss Reduction Technologies for Internal Combustion Engines to Improve Brake Thermal Efficiency. Energies. 2021;14(20). doi: 10.3390/en14206656
- Mihara Y. Research Trend of Friction Loss Reduction in Internal Combustion Engines. Tribology Online. Available from: https://www.jstage.jst.go.jp/article/trol/12/3/12_82/_article 2017;12(3):82–88. doi: 10.2474/trol.12.82
- x-engineer.org [Internet]. Mechanical efficiency and friction mean effective pressure (FMEP). Available from: https://x-engineer.org/mechanical-efficiency-friction-mean-effective-pressure-fmep/
- Aleksandrov IK, Rakov VA, Dymov NE. Determination of mechanical losses in internal combustion engines. Vestnik Mashinostroeniya. 2020;(3):37–38. (In Russ).
- Shchukina VN. Analysing methods of determining mechanical losses for their subsequent use in operation process. Vestnik of Federal State Educational Establishment of Higher Professional Education “Moscow State Agroengineering University named after V.P. Goryachkin” 2016;(5):18–21. (In Russ).
- Berg SI, Zagaiko SA. Metody izmereniya mekhanicheskikh poter’. Mavlyutovskie chteniya: Proceedings of the 14th Russian junior science conference; November 01–03, 2020; Ufa. Ufa: UGATU; 2020. (In Russ).
Supplementary files











