Improvement of the design of the feed mixer and analysis of its performance
- Authors: Agaev E.F.1, Bagirov B.M.2
-
Affiliations:
- Azerbaijan Scientific Research Institute “Agro Mechanics”
- Azerbaijan Technological University
- Issue: Vol 89, No 6 (2022)
- Pages: 439-444
- Section: Economics, organization and technology of production
- Submitted: 24.08.2022
- Accepted: 03.01.2023
- Published: 03.04.2023
- URL: https://journals.eco-vector.com/0321-4443/article/view/109969
- DOI: https://doi.org/10.17816/0321-4443-109969
- ID: 109969
Cite item
Abstract
BACKGROUND: It has been proven by science and practice that feeding animals with complete feed mixtures can increase the productivity of feed. The preparation of loose feed mixtures has become most widespread. The analytical review of scientific and research works in the field of machinery and technology for the preparation of complete feed mixtures showed the advantage of using batch feed mixers. This is related to the fact that due to the circulation of feed components in a mixer, high quality of feed mixtures is achieved. At the same time, the issue of research and selection of reasonable parameters for improved ideological options in the direction of reducing energy and resource costs remains relevant.
AIMS: Improvement of the design of a vertical batch mixer, elimination of cases of delay in unloading the finished mixture, which negatively affects productivity and the energy, labor and material costs associated with it.
METHODS: The object of the research is the technology and design of a batch feed mixer. The cyclic and hourly average productivity of the mixer is studied. Mathematical expressions that describe the dependence of the loading and unloading duration on the mixer tankage are given. The influence of the mixer tankage on the mixer performance, expressed with a special coefficient, is analyzed. The coefficient range, which positively affects the performance of the facility, has been determined.
RESULTS: It has been established that with the constructive and technological improvement of mixers and ensuring the proper operation, the tankage does not serve as the main factor for productivity increase.
CONCLUSIONS: The maximum productivity of the vertical batch mixer is mainly ensured with the number of cycles of the auger and with the periodic forced supply of the mixture, whereas the quality of mixing depends on the angle of the vane opener.
Full Text
ВВЕДЕНИЕ
Наукой и практикой доказано, что кормление полнорационными кормосмесями позволяет повысить продуктивность кормов на 5…9%, увеличить привес молодняка крупного рогатого скота на 11…20% в сравнении с раздельным скармливанием кормовых компонентов. При этом экономится до 10…15% кормов [1]. Наибольшее распространение получило приготовление рассыпных кормосмесей. Аналитический обзор научно-исследовательских работ в области техники и технологии приготовления полнорационных кормосмесей показал преимущество применения кормосмесителей периодического действия. Это связно с тем, что ввиду циркуляции в смесителе кормовых компонентов достигается высокое качество кормосмеси. Вместе с тем остается актуальным вопрос исследования и выбора рациональных параметров усовершенствованных идейных вариантов в направлении экономии энергоресурсных затрат.
ОБЪЕКТ И МЕТОД ИССЛЕДОВАНИЯ
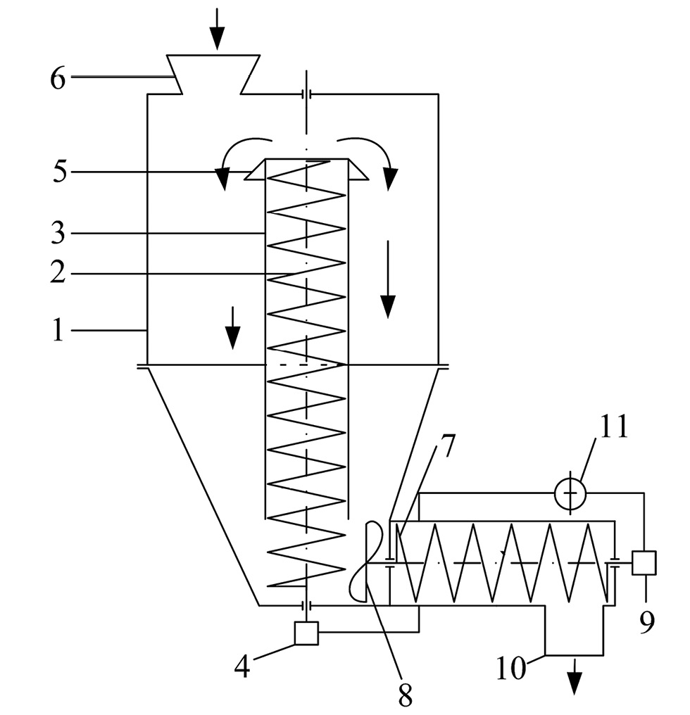
Объектом исследования служил разработанный нами усовершенствованный вариант вертикального смесителя (рис. 1).
Рис. 1. Шнековый смеситель: 1 – бункер цилиндроконической формы; 2 – вертикальный шнек; 3 – кожух, охватывающий шнек; 4 – привод; 5 – рассеиватель; 6 – приемник; 7 – горизонтальный шнек-транспортер; 8 – лопастной разрыхлитель; 9 – привод горизонтального шнека; 10 – выходное окно; 11 – часовой механизм.
Смеситель работает в следующем порядке. В начале процесса через приемник кормов – 6 в бункер – 1 загружается компонентами полнорационная кормосмесь. Часовой механизм – 11 регулируется на заранее экспериментально установленную оптимальную продолжительность смешивания. После этого включается привод – 4 вертикального шнека – 2. Шнек – 2, захватывая кадку компонентов кормосмеси в бункере – 1, поднимает их, одновременно смешивая, к верхнему торцу кожуха – 3, где компоненты кормосмеси по поверхности рассеивателя возвращаются в бункер – 1 и с помощью шнека – 2 циркулируются внутри бункера – 1. Циркуляция продолжается до полного смешивания кормовых компонентов, согласно заранее установленному на часовом механизме – 11 времени. Действием этого механизма при достижении заданного временного ограничения останавливается привод – 4 вертикального шнека – 2 и включается в работу привод – 9 горизонтального шнека-транспортера – 7. При этом лопастной рыхлитель – 8, вращаясь вместе с шнеком-транспортером – 7, исключает сводообразование в нижней конической части бункера – 1, благодаря чему создаются благоприятные условия без задержки вывода готовой смеси из смесителя.
При проектировании разработанной установки в методическом плане возникает необходимость осуществить расчет производительности и емкости смесителя. Целью данной работы было решение этой задачи.
РЕЗУЛЬТАТЫ ИХ ОБСУЖДЕНИЕ
Производительность смесителей разделяют на технологическую, цикловую и среднечасовую (фактическую) [2]. Технологическая производительность характеризует интенсивность процесса, цикловая – соответствие времени выполнения определенного объема работ зоотехническим требованиям.
Среднечасовая производительность рассчитывается по цикловой зависимости:
, (1)
где – цикловая производительность, т/ч; – общий коэффициент внециклового времени; М – масса находящихся в смесителе кормов, т; время загрузки, смешивания и выгрузки кормов, ч; – частный коэффициент внециклового времени; – число частных коэффициентов внециклового времени.
Подставив в формулу (1) значения частных коэффициентов [3] и сделав соответствующие преобразования, получим
, (2)
где – время выполнения i–й внецикловой операции, ч; Т – общее время работы смесителя, ч.
Выразить время отдельных операций смесителя можно через его основные параметры.
- Время загрузки кормов и выгрузки готовой смеси с некоторым допущением найдем по формулам
, , (3)
где ψ – коэффициент использования емкости смесителя; V – емкость смесителя, м3; μ – плотность смеси, т/м3; Aз, Ав, – производительность загрузки (ручной или механизированной) и выгрузки, т/ч.
Случай, когда загрузка смесителя происходит одновременно со смешиванием, не рассматривается.
- Время tс можно определить по кинетике процесса смешивания кормов. Зависимость безразмерного критерия качества смеси Еt от времени смешивания представляется уравнением (4):
, (4)
где – предельное значение критерия при (tс →∞); α – удельная интенсивность смешивания кормов, ч-1; τ – коэффициент, учитывающий инертность системы, ч.
Рассматривая формально в (4) время tс как случайную величину [5] и пренебрегая в установившемся режиме работы смесителя произведением , можно построить обратную функциональную зависимость:
. (5)
В системе координат tс и , при 1> Ет> Етп зависимость (5) выражается линейной функцией.
Согласно существующей методике [6], среднее значение (математическое ожидание) случайного параметра tс можно представить следующим образом:
, (6)
где – дифференциальный закон распределения параметра х; хmах и хmin – минимальное и максимальное значения параметра х в данный момент времени.
Если предположить, что исходный параметр х в процессе смешивания изменяется по закону нормального распределения [6], то
, (7)
где σ – среднее квадратическое отклонение параметра х; хср – среднее значение параметра.
Интеграл в этой формуле не выражается через элементарные функции, поэтому для его вычисления введем функцию – нормальную [7]. Тогда
, (8)
где – среднеарифметическое значение безразмерного критерия качества смеси; – нормированная функция Лапласа; ε – максимальное отклонение в данный момент времени значений параметра х от центра рассеивания.
- При работе смесителей неизбежны потери времени из-за остановок по технологическим причинам, проведения технического ухода и устранения технологических отказов. Эти потери устанавливаются по хронометражным данным и с некоторым допущением принимаются как линейные функции чистого рабочего времени [8], т. е.
, (9)
где – коэффициент пропорциональности, равный отношению времени выполнения i-й внецикловой операции ко времени смешивания.
Подставим полученные зависимости в выражение (2), тогда
. (10)
В качестве примера рассмотрим влияние изменения емкости смесителя на его производительность. Представим (10) как функцию объема:
, (11)
где – постоянные коэффициенты; – коэффициент, численное значение которого зависит от емкости смесителя.
Пусть емкость смесителя увеличена в m раз (m >1), тогда
. (12)
Степень изменения производительности смесителя
. (13)
Производительность смесителя увеличится, если
,
или
. (14)
Выполнение этого условия обеспечивается в основном коэффициентами b и . Особенно велика роль коэффициента b. При b→0 . Однако для большинства распространенных смесителей [9].
Таким образом, установлено, что с конструктивно-технологической точки зрения емкость смесителя вертикального кормосмесителя периодического типа не всегда служит основным фактором, повышающим их производительность.
Определено, что максимальная производительность смесителя вертикального кормосмесителя периодического типа в основном обеспечивается количеством циклов шнека, периодической принудительной подачей смеси, а качество перемешивания – углом наклона ребер.
ЗАКЛЮЧЕНИЕ
- Установлено, что с конструктивно-технологической точки зрения емкость смесителя вертикального кормосмесителя периодического типа не всегда служит основным фактором, повышающим их производительность.
- Определено, что максимальная производительность смесителя вертикального кормосмесителя периодического типа в основном обеспечивается количеством циклов шнека, периодической принудительной подачей смеси, а качество перемешивания – углом наклона ребер.
ДОПОЛНИТЕЛЬНО
Вклад авторов. Э.А. Агаев ― поиск публикаций по теме статьи, написание текста рукописи, редактирование текста рукописи, оформление рисунков, создание изображений; Б.М. Багиров ― редактирование текста рукописи, уточнение выводов, экспертная оценка, утверждение финальной версии. Авторы подтверждают соответствие своего авторства международным критериям ICMJE (все авторы внесли существенный вклад в разработку концепции, проведение исследования и подготовку статьи, прочли и одобрили финальную версию перед публикацией).
Конфликт интересов. Авторы декларируют отсутствие явных и потенциальных конфликтов интересов, связанных с публикацией настоящей статьи.
Источник финансирования. Авторы заявляют об отсутствии внешнего финансирования при проведении исследования.
ADDITIONAL INFORMATION
Authors’ contribution. E.F. Agaev ― search for the publications relevant to the article subject, writing the text of the manuscript, editing the text of the manuscript, formatting images, creating drawings; B.M. Bagirov ― editing the text of the manuscript, clarification of conclusions, expert opinion, approval of the final version. All authors made a substantial contribution to the conception of the work, acquisition, analysis, interpretation of data for the work, drafting and revising the work, final approval of the version to be published and agree to be accountable for all aspects of the work.
Competing interests. The authors declare no any transparent and potential conflict of interests in relation to this article publication.
Funding source. This study was not supported by any external sources of funding.
About the authors
Emil Fikrat ogly Agaev
Azerbaijan Scientific Research Institute “Agro Mechanics”
Author for correspondence.
Email: a_emil114@mail.ru
ORCID iD: 0000-0003-0314-538X
dissertation student
Russian Federation, GanjaBayram Muhammad oglu Bagirov
Azerbaijan Technological University
Email: bayram-bagirov@rambler.ru
ORCID iD: 0000-0002-3636-4602
Dr. Sci. (Tech.), Professor of the Department of Automation and Information Technologies
Russian Federation, GanjaReferences
- Ryadchikov VG. Fundamentals of nutrition and feeding of farm animals (educational and practical manual). Krasnodar: Kuban State Agrarian University named after I.T. Trubilin; 2012. 328 р. (In Russ).
- Storozhuk TA. Optimization of the feed mixing process. Polythematic online scientific journal of Kuban State Agrarian University. 2019. Р. 31–39. (In Russ). doi: 10.21515/1990-4665-148-003
- Vysochkina LI, Danilov MV, Maliev VH, et al. Operation of the machine and tractor fleet. Textbook (laboratory workshop). Stavropol; 2013. 74 p. (In Russ).
- Isakov RM, Khasanov KK. Modern ideas about promising mixers of compound feed components. In: Technical sciences: theory and practice: materials of the III International Scientific Conference, April 2016. Chita: Molodoi uchenyi; 2016. Р. 124–129. (In Russ).
- Korchak SN, Guzeev VI, Butorin GI, et al. Dimensional-precision design of technological processing processes based on the calculation of technological dimensional circuits. Study guide. 2nd revised and updated. Chelyabinsk: South Ural State University; 2006. 101 p. (In Russ).
- Zhuravlev SYu. Methodology for calculating the energy efficiency of using modular machine-tractor units. Vestnik Krasnodarskogo gosudarstvennogo agrarnogo universiteta. 2013;(8):142–151. (In Russ).
- Kulikov GM, Kosenkova IV, Nakhman AD. Probability theory and mathematical statistics: A collection of problems. Tambov: Tambov State Technical University; 2010. 79 p. (In Russ).
- Zavrazhnov AI, Vedishchev SM, Glazkov YuE, et al. Operation of the machine and tractor fleet: A textbook. Tambov: Tambov State Technical University; 2019. 224 p. (In Russ).
- Degtyarev GP. Innovative technologies and machines for harvesting and distributing feed in animal husbandry. Moscow: Russian State Agrarian University – K.A. Timiryazev Agricultural Academy; 2016. 180 p. (In Russ).
Supplementary files




