Dependence of corn kernel strength on moisture
- Authors: Poghosyan V.M.1, Mechkalo A.L.1, Poluektov A.A.1
-
Affiliations:
- Kuban State Agrarian University named after I. T. Trubilin
- Issue: Vol 90, No 1 (2023)
- Pages: 59-66
- Section: Quality, reliability
- Submitted: 11.10.2022
- Accepted: 11.10.2022
- Published: 23.05.2023
- URL: https://journals.eco-vector.com/0321-4443/article/view/111809
- DOI: https://doi.org/10.17816/0321-4443-111809
- ID: 111809
Cite item
Abstract
BACKGROUND: Moisture has an essential role at threshing of breeding material of corn, as when mois-ture is too low (material is dry) shattering of corn seed takes place while threshing and seed material becomes inapplicable to use, whereas increased moisture leads to underthreshing and microtraumas, invisible to the na-ked eye, that significantly reduces germination of the breeding material.
AIMS: To define dependence of corn kernel strength on moisture, to carry out an experiment to identify kernel fracture force.
METHODS: In this study the analysis of scientific researches, made by such scientists as G.K. Takoev, M.G. Golikov and N.S. Buddo who established dependences of corn shattering while corn cob threshing on corn moisture was carried out. The experimental data on study of corn kernel strength with various moisture at threshing by the Rostselmash NOVA 330 and the Claas Mega 370 combine harvesters is presented in the arti-cle and obtained with use of an oscillograph. Corn moisture has a significant impact on cob threshing quality. The scheme of the screw press, used for defining kernel fracture force, is shown in the article.
RESULTS: It is established that productive capacity of corn threshers reduces with increase of kernel moisture in cobs, leading to complication of threshers’ design. The experiments revealed that the kernel of the Krasnodarsky 425 MV hybrid corn with the moisture of 18.21% can withstand the average load of 108 N, whereas with the moisture of 29.28% the fracture force reduces to 90-100 N.
CONCLUSIONS: With the analysis of the obtained experimental data and after plotting corresponding graphs, it is proved that kern strength increases with corn kernel moisture decrease from 30% to 17%.
Full Text
ВВЕДЕНИЕ
За последние годы опубликован ряд работ, посвященных исследованию влияния влажности кукурузного зерна на степень механических повреждений его при обмолоте. Данные этих исследований разноречивы.
Некоторые авторы, как, например, Г.К. Такоев [1], утверждают, что наименьший процент дробления зерна получается при влажности зерна 18–20%. Отклонения, как в сторону увеличения, так и в сторону уменьшения влажности ведут к повышенному выходу дробленых зерен. Другие авторы (М.Г. Голик [2]) приводят данные, показывающие, что количество механических повреждений увеличивается при снижении влажности зерна с 23% до 9,9%. Поэтому, целесообразно обмолачивать семенные початки с влажностью зерна до 23%, а затем уже сушить зерно. Наконец, есть авторы (Н.С. Буддо), которые считают ошибочным мнение о большой повреждаемости сухих семян. По их наблюдениям, снижение всхожести травмированных семян тем больше, чем выше влажность семян в момент обмолота.
Цель исследования – определить зависимость прочности кукурузного зерна от влажности, произвести эксперимент, выявив усилие разрушения семени.
МАТЕРИАЛ И МЕТОДЫ
В ВИМе в течение ряда лет проводились исследования процесса обмолота початков кукурузы различной влажности на молотильных устройствах бильного (Н.А. Рудаков) и винтового (Н.В. Сережина) типов. Опытами установлено, что в самый ранний срок уборки кукурузы (при влажности зерна 34–36%) степень повреждений была очень велика. При обмолоте початков гибрида ВИР-156 повреждение достигало 42% зерен.
Причины такого количества повреждений семян В.С. Кравченко [3] объясняет следующим: при влажности выше 25% прочность эндоспермы зерна бывает значительно меньшей, чем у зерна с более низкой влажностью. Кроме того, у влажной кукурузы связь зерна со стрежнем более сильная, чем у сухой. Количество поврежденных зерен при обмолоте початков увеличивается с повышением их влажности у всех сортов кукурузы, но по величине травмирования зерен имеются различия, зависящие от особенности сорта или гибрида.
На основании опытов М.Г. Голик считает, что по мере понижения влажности зерна его дробимость усиливается. Ссылаясь на работу И.В. Крагельского, он объясняет результаты опытов следующим образом.
Существует два вида прочности: первый из них базируется на максимальной стойкости, при которой для разрушения материала требуются большие усилия и характерны малые деформации; второй же базируется на максимальной податливости, при которой разрушение характеризуется малыми усилиями и большими деформациями. Для сухого зерна характерен первый вид прочности, а для влажного – второй. Так, например, при скорости обмолота 48 м/сек из 100 сухих зерен дробится 85, а из 100 влажных – 50 зерен. В то же время, сухое зерно выдерживает давление 150–200 Н, а влажное – 30–40 Н. Поэтому, при молотьбе сухое зерно подвергается малой деформации, но легко дробится от удара. Влажное же зерно подвергается большей деформации, но меньшему дроблению от удара, чем сухое. Излом при обмолоте происходит обычно поперек зерна и только в отдельных случаях вдоль него [4].
Следует отметить, что в опытах М.Г. Голика допущена методическая ошибка. В самом деле, неправильно будет сравнивать результаты опытов по обмолоту сухих початков и початков с повышенной влажностью, которые проводились по словам автора «при тех же режимах». Правильно было бы сравнивать между собой качественные показатели обмолота початков с различной влажностью, полученные при оптимальных режимах обмолота для каждого случая.
Это мнение подтверждается и опытами С.Ю. Данилевича, которыми установлено, что при влажности зерна 18–21% оптимальная окружная скорость лопастного барабана равняется 5,5–6,0 м/сек, а при влажности зерна 12–14% – 3,5–0,5 м/сек.
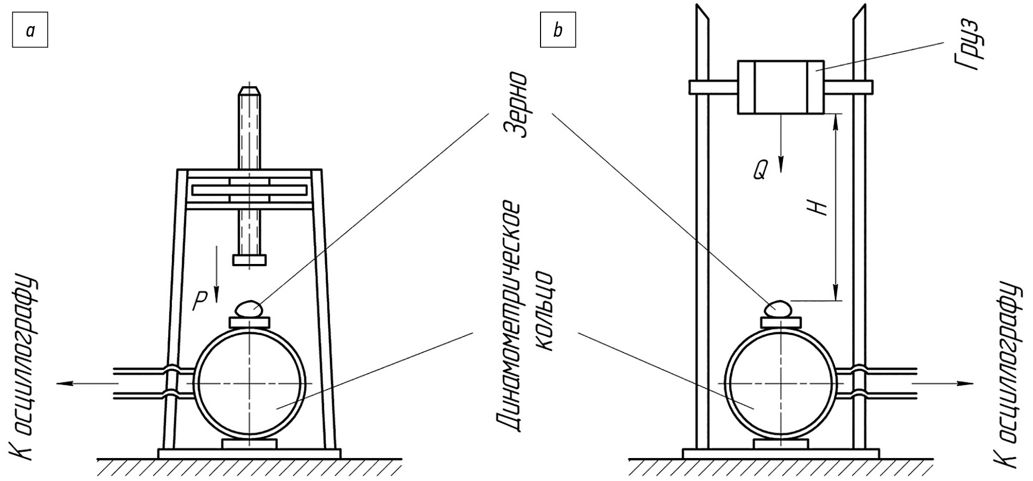
В связи с исследованием процесса обмолота кукурузы при уборке зерновыми комбайнами Rostselmash NOVA 330 и Claas Мега 370 и с целью выявления взаимосвязи прочности зерна и его поврежденности, нами были проведены опыты по изучению прочности зерна кукурузы с различной влажностью. Эти опыты проводились параллельно опытам по обмолоту кукурузы с применением осциллографирования на специальных установках (рис. 1).
Рис. 1. Схема прибора для определения усилия разрушения зерна: а – при статической нагрузке, b – при ударной нагрузке.
Fig. 1. The scheme of the device for kernel fracture force measuring: а – for static load; b – for impact load.
В качестве показателя прочности зерна было принято усилие, необходимое для разрушения зерна под действием статической и ударной нагрузок. Чтобы исключить влияние размеров зерен на показатель его прочности, опыты проводили с зернами одинаковых размеров.
Для определения усилия, разрушающего зерно, при статической нагрузке, зерно сдавливалось по ширине на специальном винтовом прессе, где оно располагалось на наковальне динамометрического кольца с проволочными датчиками. При постепенном опускании винта зерно разрушалось [5].
Процесс разрушения зерна фиксировался на фотобумагу с помощью осциллографа. На осциллограмме замеряли максимальную амплитуду кривой разрушения А, а усилие Р определяли по графику тарировки динамометрического кольца.
РЕЗУЛЬТАТЫ И ОБСУЖДЕНИЯ
Результаты [7] определения усилия разрушения зерен кукурузы гибрида Краснодарский 425 МВ при статической нагрузке после обработки осциллограммы сведены в таблицу 1.
Таблица 1. Результаты определения усилия разрушения зерен кукурузы гибрида Краснодарский 425 МВ
Table 1. Results of measuring the kernel fracture force of the Krasnodarsky 425 MV hybrid corn
Опыты | Влажность зерна, % | |||||||
29,28 | 27,89 | 22,45 | 18,21 | |||||
А | Р | А | Р | А | Р | А | Р | |
1 | – | – | 50,0 | 11,11 | 43,0 | 9,56 | 46,5 | 10,33 |
2 | 38,5 | 8,57 | 48,0 | 10,68 | 47,5 | 10,55 | 45,0 | 10,00 |
3 | – | – | 38,5 | 8,57 | 38,0 | 8,45 | 43,5 | 9,67 |
4 | 42,0 | 9,34 | 36,5 | 8,12 | 26,5 | 5,90 | 59,0 | 13,11 |
5 | 24,0 | 5,34 | 44,5 | 9,90 | 44,5 | 9,90 | 59,5 | 13,23 |
6 | 46,5 | 10,33 | 33,5 | 7,45 | 48,0 | 10,68 | 38,0 | 8,46 |
7 | 59,0 | 13,12 | 34,0 | 7,56 | 48,0 | 10,68 | 38,0 | 8,46 |
8 | 43,5 | 9,67 | – | – | 52,5 | 11,68 | 58,5 | 13,00 |
9 | 37,0 | 8,23 | 45,5 | 10,11 | 43,0 | 9,56 | 58,5 | 13,00 |
10 | 40,0 | 8,90 | 59,0 | 13,12 | 50,5 | 11,23 | 39,5 | 8,76 |
Аср | 41,4 | – | 43,3 | – | 44,2 | – | 48,6 | – |
Рср | – | 9,10 | – | 9,63 | – | 9,82 | – | 10,8 |
Опыты показали, что при влажности 18,21% зерно кукурузы гибрида Краснодарский 425 МВ выдерживает статическую нагрузку в среднем равную 108 Н, а при влажности 29,28% нагрузка разрушения снижается до 90–100 Н.
Итак, резкое снижение прочности наблюдается у зерен с влажностью выше 28%. Если с повышением влажности с 22,45 до 27,89% (5,44%) среднее усилие разрушения зерна понизилось с 98,2 Н до 96,3 Н (на 2%), то с повышением влажности с 27,89 до 29,28% (на 1,39%) оно понизилось с 96,3 до 91,0 Н, т.е. на 4,5% [6].
Для определения прочности зерна при ударной нагрузке зерно разбивалось на копре с падающим грузом до появления трещин на его оболочке. При различной прочности зерен (в зависимости от его влажности) и при постоянном весе груза (Q=2 Н) это достигалось тем, что груз перед ударом устанавливали на необходимую высоту. Процесс разрушения зерна так же, как и при статической нагрузке, записывался с помощью осциллографа, но не на фотобумагу, а на фотопленку высокой чувствительности (130° ДИН), так как процесс разрушения зерна происходит всего тысячные доли секунды [7].
Определение усилия, разрушающего зерно при ударной нагрузке, производили, исходя из закона изменения количества движения и импульса силы:
, (1)
где m – масса груза в кг·с2/м; V1 – начальная скорость падения груза, м/сек; V2 – конечная скорость падения груза, м/сек; Q – вес груза, кг; t – время свободного падения груза, с; τ – время деформации зерна, с; N – реакция разрушения зерна, равная усилию давления груза на зерно, кг.
Так как начальная скорость падения груза и скорость падения груза в конце разрушения равны нулю, то
, (2)
тогда
. (3)
Время свободного падения груза
,
где H – высота падения груза, см; g – ускорение силы тяжести, см/сек2.
Из приведенных выше формул видно, что величина реакции N, соответствующая усилию разрушения зерна (при Q =const), зависит от H и τ.
Среднюю высоту H подбирали опытным путем (табл. 2).
Таблица 2. Высота установки груза
Table 2. The height of the load weight
Влажность зерна, % | 30,22 | 26,55 | 17,38 |
H, см | 140 | 150 | 170 |
Затем, величину τ определяли из осциллограммы изменением отрезка времени, соответствующего деформации зерна (τср=0,002 с).
Характер разрушения зерна при статической и ударной нагрузках показан на рис. 2.
Рис. 2. Образец осциллограммы усилия разрушения зерна кукурузы: a – при статической нагрузке, b – при ударной нагрузке.
Fig. 2. An example of oscillograph trace of corn kernel fracture force: a – at static load; b – at impact load.
Кривые усилия разрушения зерна кукурузы гибрида Краснодарский 425 МВ в зависимости от его влажности приведены на рис. 3.
Рис. 3. Усилие разрушения зерна кукурузы гибрида Краснодарский 425 МВ в зависимости от его влажности: a – статическая нагрузка, b – ударная.
Fig. 3. The corn fraction force of the Krasnodarsky 425 MV hybrid corn depending on its moisture: a – static load; b – impact load.
ВЫВОД
Публикации по тематике настоящего исследования позволяют заключить, что прочность зерна кукурузы зависит от влажности. Проведенные экспериментальные исследования показали, что со снижением влажности зерна кукурузы гибрида Краснодарский 425 МВ с 30 до 17% прочность его повышается. При ударной нагрузке зерно разрушается под действием силы 32–37 Н, а при статической нагрузке разрушение зерна происходит под действием силы 91–108 Н (при той же влажности), т.е. примерно в 3 раза большей.
ДОПОЛНИТЕЛЬНО
Вклад авторов. В.М. Погосян ― поиск публикаций по теме статьи, написание текста рукописи; А.Л. Мечкало ― редактирование текста рукописи; А.А. Полуэктов ― редактирование текста рукописи, создание изображений. Авторы подтверждают соответствие своего авторства международным критериям ICMJE (все авторы внесли существенный вклад в разработку концепции, проведение исследования и подготовку статьи, прочли и одобрили финальную версию перед публикацией)
Конфликт интересов. Авторы декларируют отсутствие явных и потенциальных конфликтов интересов, связанных с публикацией настоящей статьи.
Источник финансирования. Авторы заявляют об отсутствии внешнего финансирования при проведении исследования.
ADDITIONAL INFORMATION
Authors contribution. V.M. Pogosyan ― search for publications, writing the text of the manuscript; A.L. Mechkalo ― editing the text of the manuscript; A.A. Poluektov ― editing the text of the manuscript, creating images. All authors made a substantial contribution to the conception of the work, acquisition, analysis, interpretation of data for the work, drafting and revising the work, final approval of the version to be published and agree to be accountable for all aspects of the work.
Competing interests. The authors declare no any transparent and potential conflict of interests in relation to this article publication.
Funding source. This study was not supported by any external sources of funding.
About the authors
Vladimir M. Poghosyan
Kuban State Agrarian University named after I. T. Trubilin
Email: pogosyn@gmail.com
ORCID iD: 0000-0001-6248-4029
SPIN-code: 3963-1182
Associate Professor, Cand. Sci. (Tech.), Associate Professor of the Tractors, Automobiles, and Technical Mechanics Department
Russian Federation, KrasnodarAndrew L. Mechkalo
Kuban State Agrarian University named after I. T. Trubilin
Email: mechkalo.a@edu.kubsau.ru
ORCID iD: 0009-0001-8477-5713
SPIN-code: 8158-0115
Associate Professor, Cand. Sci. (Tech.), Associate Professor of the Tractors, Automobiles, and Technical Mechanics Department
Russian Federation, KrasnodarAleksandr A. Poluektov
Kuban State Agrarian University named after I. T. Trubilin
Author for correspondence.
Email: aleksandr.poluektov2000@yandex.ru
ORCID iD: 0000-0001-9082-7199
SPIN-code: 5742-2553
Assistant of the Tractors, Automobiles, and Technical Mechanics Department
Russian Federation, KrasnodarReferences
- Takoev TK. Study of the quality of work of corn threshers. Trudy Severo-Osetinskiy SKhI. Vol. 17. Ordzhonikidze: Severo-Osetinskiy SKhI; 1956:345–348.
- Golik MG. Storage and processing of cobs and grains of corn. Moscow: Kolos; 1968.
- Kravchenko BC. Parametry i rezhimy obmolota pochatkov kukuruzy [dissertation] Zernograd; 1997.
- Kurasov VS. Mekhaniko-tekhnologicheskoe obosnovanie kompleksa tekhnicheskikh sredstv dlya selektsii, sortoispytaniya i pervichnogo semenovodstva kukuruzy [dissertation] Krasnodar; 2003.
- Pogosyan VM. Selective corn thresher. Tractors and agricultural machinery. 2019;5:16–20. doi: 10.31992/0321-4443-2019-5-16-20
- Pogosyan VM. Parametry kukuruznoy selektsionnoy valtsovoy molotilki [dissertation] Krasnodar; 2019.
- Matushchenko AE, Poluektov AA, Glazkov DV. Determination of the speed of translational movement of the cob along the rollers of the corn splitter. Izvestiya Orenburgskogo gosudarstvennogo agrarnogo universiteta. 2021;6(92):146–149.
Supplementary files





