Разработка и исследование нового сепарирующего устройства капустоуборочного комбайна
- Авторы: Алатырев А.С.1, Емельянов Н.А.1, Кручинкина И.С.1, Алатырев С.С.1
-
Учреждения:
- Чувашский государственный аграрный университет
- Выпуск: Том 90, № 1 (2023)
- Страницы: 25-31
- Раздел: Новые машины и оборудование
- Статья получена: 02.12.2022
- Статья одобрена: 05.04.2023
- Статья опубликована: 23.05.2023
- URL: https://journals.eco-vector.com/0321-4443/article/view/115037
- DOI: https://doi.org/10.17816/0321-4443-115037
- ID: 115037
Цитировать
Полный текст
Аннотация
Введение. Капустная листва и остатки сорной растительности составляют 15…20% продукции при машинной уборке капусты. Известные устройства, установленные на капустоуборочных машинах для отделения сопутствующих отходов, недостаточно качественно выполняют рабочий процесс. В этой связи разработано новое сепарирующее устройство.
Цель исследований – оценка эффективности функционирования нового сепарирующего устройства в составе капустоуборочного комбайна в лабораторных условиях.
Материалы и методы. Для проведения исследований сепарирующее устройство, выполненное в виде вращающегося вальца, установлено над полотном транспортер-обрезчика опытного капустоуборочного комбайна с зазором за выгрузной зоной режущего аппарата под углом α к направлению движения потока капусты. В лабораторных условиях исследовался рабочий процесс устройства путем подачи массы капусты (кочанов и капустных листьев) к вращающемуся вальцу, осуществляя привод блоков режущего аппарата и транспортер-обрезчика капустоуборочного комбайна от электродвигателя.
Результаты и обсуждение. В результате проведенных опытов по программе ПФЭ-22 изучена зависимость качества функционирования (степени отделения листьев капусты от кочанов) в зависимости от процентного содержания листьев и размерно-массовых характеристик кочанов в потоке. При этом установлено, что разработанное устройство в целом функционирует устойчиво, процесс сепарации сопутствующих отходов протекает наиболее удачно при мелких и средних размерах кочанов с меньшим содержанием капустных листьев в потоке.
Заключение. Разработанное устройство удовлетворительно отделяет сопутствующие отходы от кочанов во всем диапазоне их содержания в потоке от 10 до 20 %, что соответствует реальным полевым условиям.
Ключевые слова
Полный текст
ВВЕДЕНИЕ
При машинной уборке кочанной капусты в потоке убираемой массы, 15…20% составляют отходы (листья капусты, потерявшие связь с кочанами, остатки сорной растительности и другие примеси) [1]. Кроме того, часть кочанов требует доработки до товарного вида, предусмотренного соответствующим ГОСТом [2].
Для отделения сопутствующих отходов от кочанов в потоке предлагались различные устройства (листоотделители) [3, 4]. Из них нашли практическое применение в капустоуборочных машинах МСК-1 (Россия) шнековый [5], Е-800 – наклонная «горка» и вальцевый с шипами – в машине «Pustika» (Германия) [1]. Указанные листоотделительные устройства не лишены недостатков. Так, полнота выделения ими сопутствующих отходов не превышает 65% при поступлении потока капусты слоем в один кочан, а при поступлении его слоем 2…3 кочана – и того меньше [6]. К тому же, названные устройства существенно повреждают кочаны в процессе сепарации сопутствующих отходов в потоке. В силу указанных причин, представляются актуальными разработка и оценка эффективности нового сепарирующего устройства применительно в перспективных капустоуборочных машинах.
ЦЕЛЬ ИССЛЕДОВАНИЙ
Целью исследования является оценка эффективности функционирования нового сепарирующего устройства в составе капустоуборочного комбайна в лабораторных условиях.
МАТЕРИАЛЫ И МЕТОДЫ
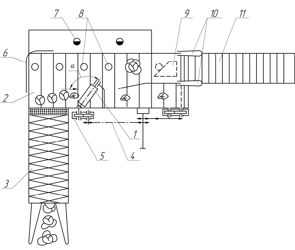
Для достижения поставленной цели данное устройство, основанное на новом техническом решении [7], установлено на опытном капустоуборочном комбайне [8] конструкции Чувашского государственного аграрного университета. Оно выполнено в виде вальца 1 (рис. 1), покрытого мягкой резиной, установленного над полотном 2 транспортер-обрезчика капустоуборочного комбайна с зазором за выгрузной зоной режущего аппарата 3 под тупым углом α к направлению движения потока капусты.
Рис. 1. Схема размещения нового сепарирующего устройства в опытном капустоуборочном комбайне.
Fig. 1. Scheme of placement of the new separating device in the experimental cabbage harvester.
Зазор между поверхностью вальца 1 и полотном 2 транспортер-обрезчика выполнен не превышающим минимального размера товарных кочанов.
В устройстве валец приводится во вращение цепной передачей 4 через редуктор 5 в сторону вращения отклоняющих звездочек полотна транспортер-обрезчика.
Устройство функционирует следующим образом. Во время работы комбайна поток, убранный режущим аппаратом 3, массы капусты (кочаны капусты, листья ее и прочие примеси) поступает на транспортер-обрезчик и подводится полотном последнего к вращающемуся вальцу 1. Здесь кочаны сталкиваются поочередно под действием силы трения со стороны вальца в дальний угол транспортер-обрезчика. Далее при непрерывном движении полотна транспортер-обрезчика формируется поток кочанов в один ряд по его краю. В то же время листья капусты и другие отходы проходят в зазоре под вальцом 1 и в последующем отгружаются в конце транспортер-обрезчика на землю.
В это время, рабочие 7, находящиеся на платформе комбайна рядом с транспортер-обрезчиком, инспектируют поток кочанов. В ходе инспектирования отбирают кочаны с длинными кочерыгами и розеточными листьями и вставляют их в отверстия 8 пластин полотна. В последующем они при встрече с пассивным ножом повторно обрезаются по принципу гильотины и поступают в промежуток между упругими отражателями 10, которые их ориентируют в середину пруткового элеватора 11, что остерегает их от повреждений со стороны тяговых контуров. Заметим, что при повторной обрезке кочерыг снова появляются свободные от кочанов листья, которые отсеиваются на землю на прутковом элеваторе, а товарные кочаны отгружаются в конце элеватора в кузов, сопровождающего транспортного средства, или в контейнеры, установленные в нем.
Рабочий процесс описанного устройства проверен в лабораторных условиях. При этом в круг задач исследований входило определение качества функционирования листоотделительного устройства в зависимости от процентного содержания листьев капусты и размерно-массовых характеристик кочанов в потоке капусты.
Лабораторная установка (рис. 2), состоящая из блоков режущего аппарата 1 и транспортер-обрезчика 2 с листоотделителем 3 подключалась к электроприводу 4 с частотой вращения вала 540 об/мин, равной частоте вращения вала отбора мощности агрегатирующего комбайн трактора в номинальном режиме работы его двигателя.
Рис. 2. Общий вид лабораторной установки.
Fig. 2. General view of the laboratory rig.
Исследования проводились в следующей последовательности. Перед каждым опытом подготавливали пробы капусты в соответствующем процентном соотношении по массе кочанов и капустных листьев путем взвешивания на электронных весах. Далее эту пробу капусты размещали в режущем аппарате, имитируя полевые условия (см. рис. 2). Затем, после включения в работу привода капустная масса поступала потоком на полотно транспортер-обрезчика (рис. 3), а затем к вальцу сепарирующего устройства. Здесь кочаны отделялись от капустной листвы и откатывались на край полотна, а листья потоком проходили под вальцом и отгружались на пол. В то же время кочаны капусты также проходили потоком по краю полотна в зону расположения элеватора.
Рис. 3. Работа сепарирующего устройства.
Fig. 3. Operation of the separating device.
После каждой реализации собирали отсеянные листья и взвешивали их, что позволяло оценить качество функционирования сепарирующего устройства в зависимости от названных выше факторов процесса.
Опыты проводились по программе ПФЭ-22 в трехкратной повторности. При этом уровни варьирования факторов (табл. 1) определяли на основе априорной информации и поисковых опытов.
Таблица 1. Уровни варьирования факторов
Table 1. Levels of factor variation
Факторы | Кодированное обозначение факторов | Натуральные значения факторов | |
Верхний +1 | Нижний –1 | ||
Процентное содержание листьев капусты относительно массы кочанов в пробе | 20 | 10 | |
Средние диаметр и масса кочанов, | |||
РЕЗУЛЬТАТЫ И ОБСУЖДЕНИЕ
План и результаты опытов представлены в табл. 2. Полученные результаты опытов подверглись регрессивному анализу по программе Statistica 10 на персональном компьютере.
Таблица 2. Результаты опытов
Table 2. Experimental results
Номер опыта | Факторы | Процент отсеянных капустных листьев | ||||
1 | -1 | -1 | 100 | 91,21 | 95,1 | 95,4 |
2 | +1 | -1 | 62,3 | 72,35 | 70,35 | 68,3 |
3 | -1 | +1 | 80,9 | 82,28 | 84,14 | 82,4 |
4 | +1 | +1 | 69,8 | 67,36 | 68,37 | 65,8 |
, , – соответственно проценты отсеянных листьев при первом, втором и третьем повторах опытов;
– среднее значение процента отсеянных листьев капусты.
В результате реализации опытов была получена адекватная (по F – критерию Фишера, вероятность p = 0,95) регрессионная модель процесса:
.
Согласно данному выражению на рис. 4 показана поверхность отклика исследованного процесса.
Рис. 4. Зависимость процента отсеянных капустных листьев от факторов процесса.
Fig. 4. The dependence of the percentage of sifted cabbage leaves on the process factors.
Анализируя результаты исследований, можно заключить, что разработанное устройство, в целом, функционирует устойчиво. В процессе работы оно в достаточной степени отделяет сопутствующие отходы от кочанов капусты в потоке. При этом, заметим, что процесс сепарации сопутствующих отходов протекает наиболее удачно при мелких кочанах капусты с меньшим содержанием листьев в потоке капусты. Полученные результаты имеют вполне реальный физический смысл. Так, с увеличением процентного содержания листьев капусты в потоке усложняется процесс их сепарации. Поэтому, имеет место некоторое снижение процента отсеянных листьев в потоке.
ЗАКЛЮЧЕНИЕ
Результаты лабораторных исследований позволяют сделать следующие выводы:
- В капустоуборочных машинах возможна сепарация сопутствующих отходов в потоке с помощью вальцевого листоотделителя.
- Практическая реализация разработанного устройства в перспективных капустоуборочных машинах позволит повысить эффективность их работы.
- Данное устройство достаточно полно отделяет сопутствующие отходы во всем диапазоне их содержания в потоке от 10 до 20%, что характерно реальным полевым условиям.
- Целесообразно проверить разработанное устройство в полевых условиях.
ДОПОЛНИТЕЛЬНО
Вклад авторов. А.С. Алатырев и Н.А. Емельянов ― анализ публикаций по теме статьи, написание текста рукописи; И.С. Кручинкина ― создание изображений, редактирование текста рукописи; С.С. Алатырев ― экспертная оценка, утверждение финальной версии. Авторы подтверждают соответствие своего авторства международным критериям ICMJE (все авторы внесли существенный вклад в разработку концепции, проведение исследования и подготовку статьи, прочли и одобрили финальную версию перед публикацией).
Конфликт интересов. Авторы декларируют отсутствие явных и потенциальных конфликтов интересов.
Источники финансирования. Авторы заявляют об отсутствии внешнего финансирования при проведении исследования.
ADDITIONAL INFORMATION
Authors contribution. A.S. Alatyrev and N.A. Emelyanov ― analysis of publications on the topic of the article, writing the text of the manuscript; I.S. Kruchinkina ― creating images, editing the text of the manuscript; S.S. Alatyrev― peer review, approval of the final version. All authors made a substantial contribution to the conception of the work, acquisition, analysis, interpretation of data for the work, drafting and revising the work, final approval of the version to be published and agree to be accountable for all aspects of the work.
Competing interests. The authors declare the absence of obvious and potential conflicts of interest.
Funding source. The authors declare that there is no external funding for the study.
Об авторах
Алексей Сергеевич Алатырев
Чувашский государственный аграрный университет
Автор, ответственный за переписку.
Email: Leha.alatyrev@mail.ru
ORCID iD: 0000-0003-3059-9352
SPIN-код: 8101-2562
Scopus Author ID: 57215008050
канд. техн. наук, доцент кафедры «Транспортно-технологические машины и комплексы»
Россия, ЧебоксарыНиколай Андреевич Емельянов
Чувашский государственный аграрный университет
Email: emelya.kolya19977@yandex.ru
ORCID iD: 0000-0003-0475-2157
SPIN-код: 1054-1770
аспирант кафедры «Транспортно-технологические машины и комплексы»
Россия, ЧебоксарыИрина Сергеевна Кручинкина
Чувашский государственный аграрный университет
Email: irinka58.84@mail.ru
ORCID iD: 0000-0003-4995-8706
SPIN-код: 1986-5266
канд. техн. наук, доцент кафедры «Математика, физика и информационные технологии»
Россия, ЧебоксарыСергей Сергеевич Алатырев
Чувашский государственный аграрный университет
Email: S_Alatyrev1955@mail.ru
ORCID iD: 0000-0002-4694-2381
SPIN-код: 7789-5968
д-р техн. наук, профессор кафедры «Транспортно-технологические машины и комплексы»
Россия, ЧебоксарыСписок литературы
- Алатырев С.С., Кручинкина И.С., Алатырев А.С. Техника и технологии для уборки кочанной капусты (обзор, теория, технологический расчет, развитие). Чебоксары: ЧГУ им. И.Н. Ульянова, 2020.
- ГОСТ Р 51809-2001 Капуста белокочанная свежая, реализуемая в розничной торговой сети. Технические условия. М.: Стандартинформ, 2010. Дата обращения: 02.12.2022. Режим доступа: https://docs.cntd.ru/document/1200026555
- Тончева Н.Н., Александрова У.В., Алатырев С.С., Кручинкина И.С. Устройство для сепарации вороха капусты от свободных листьев // Тракторы и сельхозмашины. 2013. Т. 80, № 1. С. 10–12. doi: 10.17816/0321-4443-65844
- Алатырев С.С. Научно-методические основы и средства адаптирования машин для уборки капусты к изменяющимся условиям функционирования: дис. … д-ра техн. наук. Чебоксары, 2005.
- Тихонов Н.И., Кирьянов А.В. Обоснование оптимальных параметров шнекового листоотделителя // Техника в сельском хозяйстве, 1996. № 1. С. 29–30.
- Антипин Н.В., Баранов В.С., Свирин С.Н. Анализ работы участка приема вороха на пункте послеуборочной обработки капусты // Технология и механизация производства картофеля и овощей на промышленной основе в Нечерноземной зоне РСФСР: Сб. научн. Трудов. Ленинград-Пушкин: НИПТИМЭСХ НЗ РСФСР, 1983. С. 45–47.
- Патент РФ № 2769128 / 28.03.2022, Бюл. № 10. Алатырев А.С., Кручинкина И.С., Алатырев С.С. Капустоуборочный комбайн. Дата обращения: 02.12.2022. Режим доступа: https://new.fips.ru/iiss/document.xhtml?faces-redirect=true&id=2d5f8507102d388831876ea89d3c1e16
- Алатырев С.С., Кручинкина И.С., Алатырев А.С. Бережная машинная уборка капусты // Вестник Казанского государственного аграрного университета. 2020. Т. 15. № 2(58). С. 72–76. doi: 10.12737/2073-0462-2020-72-76
Дополнительные файлы






