Soil cultivating with a tiller with V-shaped knives
- Authors: Tarasenko B.F.1, Niyomuvunyi A.1, Drobot V.A.1, Rudnev S.G.1, Blinova A.I.1
-
Affiliations:
- Kuban State Agrarian University named after I.T. Trubilin
- Issue: Vol 90, No 4 (2023)
- Pages: 307-314
- Section: New machines and equipment
- Submitted: 20.02.2023
- Accepted: 25.07.2023
- Published: 07.10.2023
- URL: https://journals.eco-vector.com/0321-4443/article/view/254888
- DOI: https://doi.org/10.17816/0321-4443-254888
- ID: 254888
Cite item
Abstract
BACKGROUND: The necessity in intensification of agriculture with growing crop products needs demands constant improvement of soil-cultivating working bodies. Increase of field yield rate requires measures of their recultivation and melioration. Moreover, the demand in restoring crop acreage retired from crop rotation due to human economic activities.
AIMS: Justification of energy consumption of soil cultivating process with a tiller with V-shaped knives.
METHODS: Accomplishment of the given research tasks and calculation of the power demanded for operation of the proposed rotational mechanism with V-shaped knives, are done with resolution into components: power for overcoming of constant resistance, power for tillage process (deformation of soil shavings) and power of soil throwing-away. Processing of the theoretical data was performed with the Microsoft Office software package.
RESULTS: With the analysis of theoretical curves of influence of notion velocity and number of knives in plane of the proposed working body, it is apparent that having three knives in plane of the working body the resistance per knife almost doubles that leads to overall increase of soil resistance to the whole working body. Meanwhile, increase of motion velocity has a positive effect on lowering the reaction of soil on the working body.
CONCLUSIONS: With the analysis of the given data, it is observed that values of soil resistance change the tendency to the positive one with velocity increasing.
Full Text
ВВЕДЕНИЕ
Основная задача сельскохозяйственного производства — обеспечение продовольствием население страны. Объектом исследования нами была взята небольшая страна Центральной Африки, а именно Бурунди, площадью в 27834 км2 и населением более 12000000 жителей.
Сельское хозяйство данной страны занимает значительное место в ее экономике и направлено в значительной мере на собственное потребление. Хотя природные условия в виде холмистой местности и отсутствия выхода к морю значительно затрудняют ведение сельского хозяйства, в плане продовольствия, импорт занимает всего 5%.
Несмотря на благоприятные природные условия, обусловленные многообразием климата и необходимым количеством осадков, особенности ведения сельского хозяйства (как правило семейное фермерство) способствуют снижению плодородия почв. Возникает необходимость перехода от экстенсивного ведения сельского хозяйства к интенсивному, эколого-мелиоративному.
Необходимость бурундийских фермеров в выращивании сопутствующих культур затрудняет механизацию сельского хозяйства. Это приводит к значительному ручному труду при вспашке, посеве, прополке, обрезке, сбору урожая [2, 3].
Например, вспашка поля под посев риса проводится в три этапа. Первый этап наиболее энергоемкий. Один гектар пашни на этом этапе обрабатывают 10 человек за 10 дней. Второй этап менее трудоемкий и заключается в разрушении комков, 10 человек могут обработать один гектар примерно за 5 дней. Третий этап, выполняемый перед посадкой, выполняется теми же средствами и не менее трудоемкий.
Анализ технологии возделывания риса в этой стране показывает о необходимости внедрения технических средств, которые могли бы снизить трудоемкость выполнения многих операций, например, пахоты.
Нами предлагается средство подготовки почвы под посадку риса, а также для посева сорго и других технических культур в условиях малоземельного сельского хозяйства и недостаточности топливо-смазочных материалов [4].
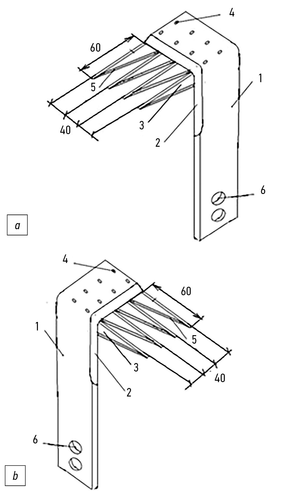
Основным рабочим органом агрегата для обработки почвы здесь выступает фреза с клиновидными ножами (рис. 1, 2).
Рис. 1. Нож почвообрабатывающей фрезы с отогнутой частью стойки влево (a) и вправо (b) ): 1 — стойка с отогнутыми влево и вправо частями, 2 — режущая кромка, 3 — плоские кли- новидные зубья, 4 — монтажные кронштейны, 5 — режущая кромка, 6 — крепежные отверстия.
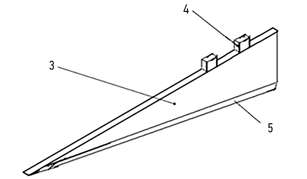
Рис. 2. Клиновидный зуб: 3 — плоские клиновидные зубья, 4 — монтажные кронштейны, 5 — режущая кромка.
Целью исследований является обоснование энергоемкости процесса обработки почвы скребком с клиновидными ножами.
Задачами исследования является определение сопротивления почвы при работе нашим скребком с клиновидными ножами, а также построение зависимостей от скорости передвижения при фиксированных значениях числа ножей.
РЕЗУЛЬТАТЫ ИССЛЕДОВАНИЙ
Негативной стороной применения ротационных почвообрабатывающих механизмов является значительное потребление энергии. Исходя из данных соображений разработаем математическую модель, способствующую определять потребную мощность машины на стадии проектирования, выполним анализ параметров, делающих ротационную машину энергоемкой [5].
Выполнение поставленных нами задач исследования и расчет мощности, требуемой для работы предложенного нами ротационного механизма с клиновидными ножами осуществляем таким образом.
Рассмотрим требуемую мощность [6], необходимую для работы ротационной почвообрабатывающей машины с клиновидными ножами, состоящей из
, (1)
где – мощность, затрачиваемая на преодоление соответственно постоянных сопротивлений, осуществления процесса резания (деформировании почвенных стружек) и отбрасывания почвы, кВт.
На работу (Дж), совершаемую ножом и его стойкой крепления при отделении почвенного пласта, оказывает влияние удельная реакция почвенного пласта, общая длина режущей поверхности, длина дуги резания . Длина режущей поверхности может быть принята равной 0,24 м учитывая длину режущих кромок зубьев.
Тогда имеем:
, (2)
где
, (3)
.
Угол начала резания (рис. 3):
Рис. 3. Движение ножа в почве при прямом вращении ротора.
, (4)
здесь – радиус ротора, м; – глубина обработки, м.
, (5)
где – число ножей, расположенных в одной плоскости; – кинематический параметр (рис. 4); – угловая скорость, м/с; – время, с.
Рис. 4. Схема траектории движения точки ротора при различных кинематических параметрах λ.
Стойка ножа воздействует на обрабатываемый слой в основном в направлении открытой поверхности.
На работу (Дж), совершаемую стойкой, оказывает действие удельное сопротивление деформированного почвенного пласта, при этом фронтальная проекция самой стойки и длина дуги резания:
. (6)
Значение параметра вычисляем, спроектировав стойку на поверхность, перпендикулярную к направлению движения рабочего органа. Изменение фронтальной проекции в процессе резания будет зависеть от угла резания (рис. 5). Среднюю величину на дуге резания определим:
Рис. 5. Схема к определению углов резания.
, (7)
где – толщина стойки, м; – ширина стойки, м; – углы резания соответственно в начале и конце резания.
Мощность, потребляемая в процессе резания и затрачиваемая на деформацию почвы одним ножом:
, (8)
где – время отрезания пласта одним ножом, с.
Конструктивная схема ротора составлена таким образом, что ножи, в процессе работы, перекрывают один другого. Мощность, затрачиваемая ножами, расположенными в одной вертикальной плоскости, на резание и деформацию почвы:
, (9)
где – коэффициент, учитывающий перекрытие ножей во время работы.
Обозначая время от начального момента резания первым ножом плоскости (диска) до начала резания вторым ножом через , а число ножей в одной плоскости через , получим:
, (10)
тогда
. (11)
Принимая на оси ротора плоскостей с ножами, получим зависимость для определения мощности, затраченной на резание и деформацию почвы всем ротором в виде:
,
. (12)
Для определения мощности, затрачиваемой на отбрасывание почвы, применяем теорему об изменении кинетической энергии движущейся материальной точки, при этом принимается допущение, что центр тяжести элементарной массы находится на конце рабочего органа и под его воздействием частицы почвы приобретают среднюю скорость самого рабочего органа.
Тогда
, (13)
где – масса почвы, отброшенная в единицу времени, Н; – плотность почвы, кг/м3; – ширина захвата ротора, м; – глубина обработки, м; – скорость движения агрегата, м/с; – коэффициент отношения масс отброшенной и всей срезанной почвы, определяемый экспериментально
,
где – угол, определяемый из уравнения (5).
Так как отбрасывание почвы начинается в момент прихода ножа в зону дна борозды, где его средняя скорость (м/с):
,
то
.
Тогда при
.
Окончательно получаем:
. (14)
Полученное выражение характеризует зависимость, возникающую между мощностью, затраченной ротационной машиной с клиновидными ножами, конструктивными параметрами самого ротора и его ножей, кинематическими параметрами машины и физико-механическими свойствами почвы.
По известной общей мощности, может быть получено среднее значение величины реакции почвы [6] на один нож , соответствующей тяговому сопротивлению, приходящемуся на один нож (См. Расчёт сопротивления прицепных тяговых агрегатов при работе на горизонтальном участке и на продольном уклоне [Режим доступа]: https://studfile.net/preview/5611268/page:3/) (рис. 6):
Рис. 6. Зависимость величины реакции почвы на один нож от скорости при фиксированных значениях числа ножей, располо- женных в одной плоскости.
. (15)
Подача ножа определяется по выражению:
. (16)
ЗАКЛЮЧЕНИЕ
Поставленные задачи выполнены. Анализируя приведенные данные, мы наблюдаем, что значения, соответствующие величине сопротивления почвы с увеличением скорости, начинают изменять тенденцию в положительную для нас сторону.
ВЫВОДЫ
Анализируя теоретические зависимости влияния скорости перемещения и количества ножей в одной плоскости предлагаемого рабочего органа видно, что при трех ножах в одной плоскости рабочего органа, сопротивление, приходящееся на один нож увеличивается почти в два раза, что будет способствовать общему увеличению сопротивления почвы всему рабочему органу. В то же время, увеличение скорости передвижения оказывает положительный эффект на снижение реакции почвы на рабочий орган [8, 9].
ДОПОЛНИТЕЛЬНО
Вклад авторов. Наибольший вклад распределён следующим образом: Б.Ф. Тарасенко ― редактирование текста рукописи, экспертная оценка, утверждение финальной версии; А. Нийомувуньи ― редактирование текста рукописи, создание изображений; B.А. Дробот ― сбор и анализ литературных источников; C.Г. Руднев ― редактирование текста рукописи; А.И. Блинова ― редактирование текста рукописи. Авторы подтверждают соответствие своего авторства международным критериям ICMJE (все авторы внесли существенный вклад в разработку концепции, проведение исследования и подготовку статьи, прочли и одобрили финальную версию перед публикацией).
Конфликт интересов. Авторы декларируют отсутствие явных и потенциальных конфликтов интересов, связанных с публикацией настоящей статьи.
Источник финансирования. Авторы заявляют об отсутствии внешнего финансирования при проведении исследования.
ADDITIONAL INFORMATION
Authors’ contribution. B.F.Tarasenko ― editing the text of the manuscript, expert opinion, approval of the final version; A. Niyomuvunyi ― editing the text of the manuscript, creating images; V.A.Drobot ― search for publications; S.G.Rudnev ― editing the text of the manuscript; A.I. Blinova – editing the text of the manuscript. All authors made a substantial contribution to the conception of the work, acquisition, analysis, interpretation of data for the work, drafting and revising the work, final approval of the version to be published and agree to be accountable for all aspects of the work.
Competing interests. The authors declare that they have no competing interests.
Funding source. This study was not supported by any external sources of funding.
About the authors
Boris F. Tarasenko
Kuban State Agrarian University named after I.T. Trubilin
Author for correspondence.
Email: b.tarasenko@inbox.ru
ORCID iD: 0000-0001-9957-5979
SPIN-code: 7415-7870
Associate Professor, Dr. Sci. (Tech.), Professor of the Tractors, Automobiles and Technical Mechanics Department
Russian Federation, KrasnodarAngelos Niyomuvunyi
Kuban State Agrarian University named after I.T. Trubilin
Email: viktor.drobot.85@mail.ru
Postgraduate of the Tractors, Automobiles and Technical Mechanics Department
Russian Federation, KrasnodarViktor A. Drobot
Kuban State Agrarian University named after I.T. Trubilin
Email: viktor.drobot.85@mail.ru
ORCID iD: 0000-0002-3136-6481
SPIN-code: 7889-3176
Associate Professor, Cand. Sci. (Tech.), Associate Professor of the Resistance of Materials Department
Russian Federation, KrasnodarSergey G. Rudnev
Kuban State Agrarian University named after I.T. Trubilin
Email: donsergio38@gmail.com
SPIN-code: 5564-8707
Engineer, Senior Lecturer of the of the Tractors, Automobiles and Technical Mechanics Department
Russian Federation, KrasnodarAnastasia I. Blinova
Kuban State Agrarian University named after I.T. Trubilin
Email: ablinova802@gmail.com
SPIN-code: 2935-4647
Engineer, Assistant of the Resistance of Materials Department
Russian Federation, KrasnodarReferences
- Tarasenko BF, Drobot VA, Tsybulevsky VV, et al. Optimization of the parameters of the chisel working body bit. Selskiy mekhanizator. 2019;3:4–5. (In Russ).
- Patent RUS № 2619456 / 16.05.2017 Byul. № 14. Tarasenko BF, Drobot VA, Rudnev SG, et al. Ustroystvo dlya predposevnoy obrabotki pochvy. (In Russ). Accessed: 20.02.2023. Available from: https://new.fips.ru/registers-doc-view/fips_servlet?DB=RUPAT&DocNumber=2619456&TypeFile=html
- Khavyarimana E. Razrabotka tekhnologii i sredstva osnovnoy obrabotki pochvy pri voz-delyvanii sorgo v usloviyakh respubliki Burundi. VKR. Krasnodar: Kubanskiy gosudar-stvennyy agrarnyy universitet im IT Trubilina; 2021. (In Russ).
- Patent RUS № 215678 / 21.12.2022 Byul. № 36. Tarasenko BF, Niyomuvuni A. Agregat dlya podgotovki pochvy pod posadku risa v Burundi. (In Russ). Accessed: 20.02.2023. Available from: https://new.fips.ru/iiss/document.xhtml?faces-redirect=true&id=b4f67790ee4af0ffe406f4c13849a90e
- Rudnev SG. On the crumbling of the soil laye. Results and prospects of development of the agro-industrial complex. Proceedings of International scientific and practical conference. Salty Zaimishche, Publishing house: GNU “Caspian Agrarian Federal Scientific Center of the Russian Academy of Sciences”; 2020. С. 684–685. (In Russ).
- Goryachkin VP. Collected Works. In 3 Vols. Vol. 2. Moscow: Kolos; 1965. (In Russ).
- Primakov N.V., Energy-saving technology of soil preparation for laying a fruit garden /N. V. Primakov, A.Y. Nikolenko // Polythematic network electronic scientific journal of the Kuban State Agrarian University.Krasnodar, 2022. No. 183. pp. 234–242. (In Russ).
- Drobot VA, Tarasenko BF. New field installation for dynamometry and the results of evaluation of tractive resistance of soil cultivating working organ. Tractors and Agricultural Machinery. 2014. Vol. 81;12:10–12. (In Russ). doi: 10.17816/0321-4443-65471
- Patent RUS № 206472 / 13.09.2021. Byul. № 26. Tarasenko B.F., Orlenko S.Yu., Khavyari-mana E. et al. Navesnaya disko-chizelnaya borona. (In Russ). Accessed: 20.02.2023. Available from: https://new.fips.ru/registers-doc-view/fips_servlet?DB=RUPM&DocNumber=206472&TypeFile=html
Supplementary files









