Method for detecting the loss of stability of the movement of tractors when towing a trailer or a coupled unit
- Authors: Zhileykin M.M.1, Sirotin P.V.2, Nosikov S.S.2, Pulyaev N.N.3
-
Affiliations:
- KAMAZ Innovation Center, Skolkovo Innovation Center
- South-Russian State Polytechnic University named after M.I. Platov
- Russian State Agrarian University - Moscow Timiryazev Agricultural Academy
- Issue: Vol 90, No 1 (2023)
- Pages: 39-48
- Section: Theory, designing, testing
- Submitted: 11.03.2023
- Accepted: 04.04.2023
- Published: 23.05.2023
- URL: https://journals.eco-vector.com/0321-4443/article/view/321266
- DOI: https://doi.org/10.17816/0321-4443-321266
- ID: 321266
Cite item
Abstract
BACKGROUND: Currently, combines and tractors, being the most energy-intensive transport and technological machines for agricultural purposes, largely determine the possibility of transition to an efficient and environmentally friendly agricultural economy, and also provide the technical aspect of the transformation of the agro-industrial complex into the leading sector of the country’s industry. One of the sources of dynamic loads in the units and subsystems of tractor equipment are self-oscillating modes.
AIMS: Study of the conditions for the occurrence of self-oscillating processes in the design of wheeled tractor trains and development of methods to increase the handling and safety of their movement by means of reducing the galloping and yawing of the tractor-tractor when towing heavy loads.
METHODS: It has been established that due to the coupling of oscillations along the longitudinal displacement of a truck tractor and a trailer with oscillations along the vertical displacement of the center of mass and with pitch angle oscillations of the truck tractor, when an auto-oscillatory mode occurs in the interaction zone of an elastic wheel with a solid surface, the same mode of self-oscillation will occur along the mentioned degrees of freedom. Moreover, it is possible to specify the sequence of occurrence of self-oscillating modes in different zones of the tractor train design.
RESULTS: First, self-oscillations are excited in the contact patch of a wheel with a solid surface when a complete slip occurs, then self-oscillations along the pitch angle of a truck tractor body begin and after that self-oscillations along the vertical displacement of the center of mass of a truck tractor occur. Folding angle oscillations of a tractor train are associated with oscillations of the translational motion of wheel centers, which lead to the emergence of an self-oscillating mode, both with partial and full slip in the interaction zone of an elastic tire with a solid surface. Since the self-oscillations of each of the wheels occur at random times, the self-oscillations of a truck tractor along the folding angle will be chaotic.
CONCLUSIONS: The practical value of the study lies in the possibility of using the proposed methods to identify the danger of self-oscillating processes in the design of promising types of agricultural machinery.
Full Text
BACKGROUND
Presently, combines and tractors, being the most energy-intensive transport and technological agricultural complexes (TTACs), largely determine the possibility of transition to an efficient and environmentally friendly agricultural economy and provide the technical aspect of the agro-industrial complex (AIC) transformation into the country’s advanced industrial sector [1–3].
For a long time, the main direction of improving the TTACs was to increase productivity and reduce initial cost and operational costs, which resulted in the formation of approaches for designing new machines through force–torque and mass–dimensional scaling of field-proven subsystem modules. In increasing labor productivity in the AIC, the extensive form of the development of structures has led to an increase in the weight of objects manufactured to 35 tons or more [4–6]; this has considerably deteriorated the environmental safety of the technological process, owing to soil overconsolidation by movers and the intensification of the generated force disturbances, which prevents the creation of normal working conditions for the operator [7–9]. The problem of reducing the structure weight and the structure loading requires a two-pronged solution, which consists of reducing the existing kinematic disturbances from the supporting surface and force disturbances from technological sources. However, the selected class of ground-based nonsuspension vehicles features several design and functional aspects that prevent the implementation of technical solutions used in transport engineering, which favors the reduction of the dynamic loads of TTACs.
One of the sources of dynamic loads in the units and assemblies of tractor equipment is self-oscillating modes.
The preventive recognition of the initiation of this process is of particular interest, as it enables active safety systems (for example, dynamic stabilization systems) to react at an early stage and prevent the development of the buckling process or, at least, minimize its consequences [10–16].
This work [17] describes the effect of a significant and sharp loss of the average traction force during the acceleration of a wheel-mounted towing tractor with asymmetric or asynchronous oscillations of the drive wheels. The oscillatory modes lead to both partial and almost complete loss of the average thrust force. This can be dangerous when driving on public roads. However, the methods of combating the occurrence of self-oscillatory modes in vehicle design are not considered in this work.
AIM
This work aims to analyze the conditions for the occurrence of self-oscillating processes in the design of wheel-mounted tractor–trailer trains and to develop methods for increasing the stability, controllability, and safety of their movement by reducing the galloping and yawing of the towing tractor when hauling heavy loads.
MATERIALS AND METHODS
To identify the conditions for the emergence of a self-oscillating regime in a certain area , where the behavior of an object is described by a system of differential equations with a nonlinear right-hand side,
(1)
we use the Bendixson criterion [18]. According to this criterion, for our conditions, if the equation
does not change the sign and does not vanish identically, the system of Eq. (1) cannot have limiting cycles and closed phase trajectories in this region (i.e., self-oscillatory modes cannot arise). We distinguish between cases of “hard” and “soft” excitations of self-oscillations, as presented in [19].
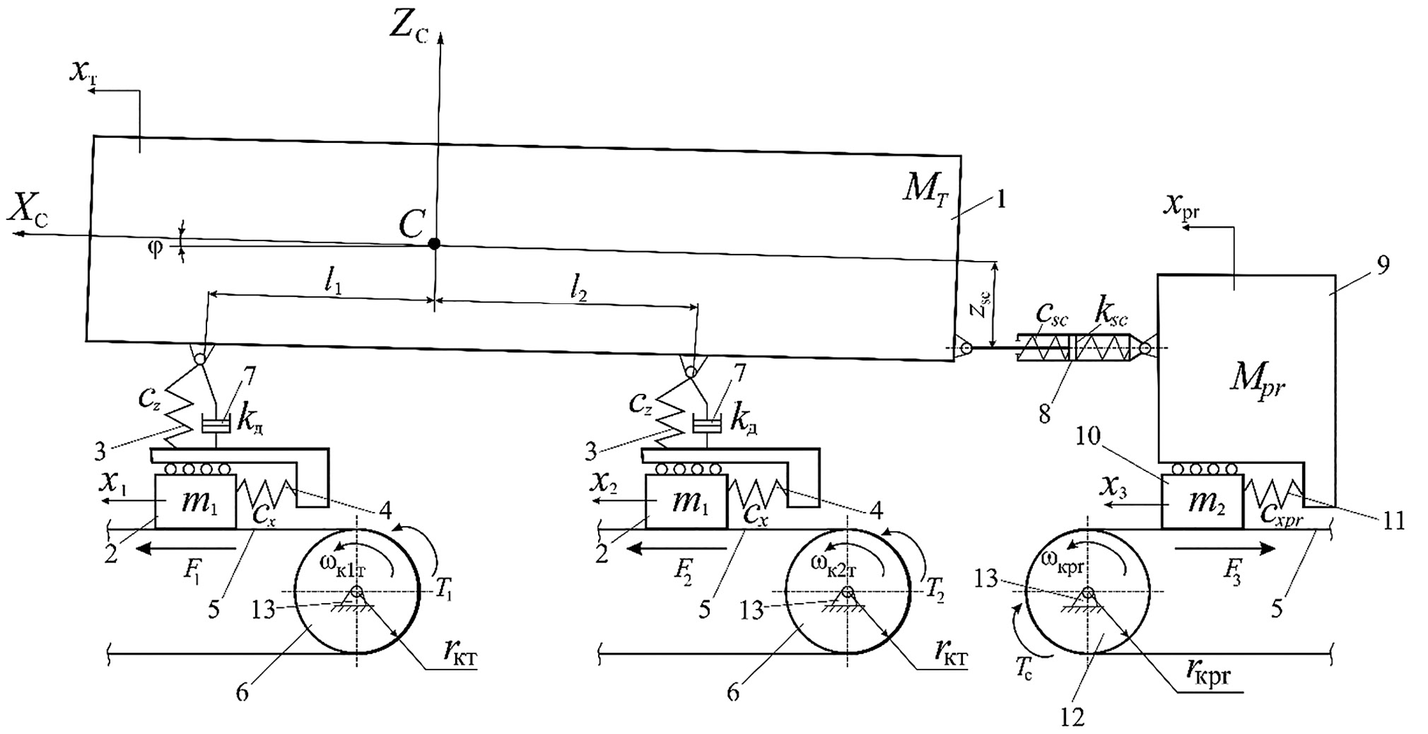
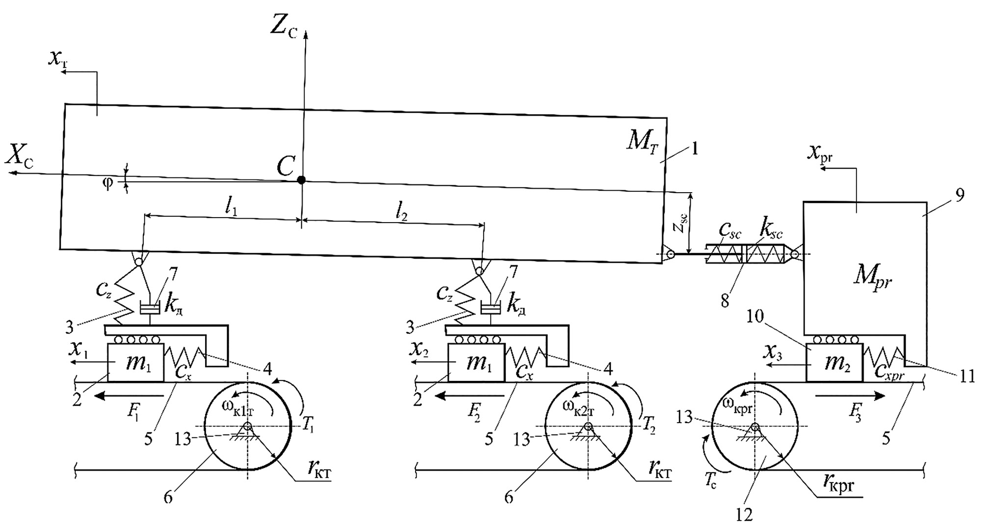
The design scheme for the movement of a wheel-mounted tractor–trailer train on a solid support base is presented in Fig. 1, where 1 — mass of MT of the sprung parts of the tractor; 2 — mass m1 of the tractor wheel; 3 — radial stiffness Cz of the tractor tire; 4 — tangential stiffness Cх of the tractor tire; 5 — support base; 6 — rotating tractor wheel; 7 — radial damping kд of the tractor tire; 8 — towing device with stiffness Csc and damping ksc; 9 — mass Мpr of the sprung parts of the trailer; 10 — mass m2 of the trailer wheel; 11 — tangential rigidity Cхpr of the trailer tire; 12 — rotating trailer wheel; 13 — fixed support; x1, x2 — longitudinal displacements of masses 2; xT, xpr — the longitudinal displacements of masses 1 and 9, respectively; x3 — longitudinal displacements of mass 10; F1 and F2 — friction forces in the zone of interaction between the wheels of the front and rear axles of the tractor; F3 — the reduced friction force in the zone of interaction of the trailer wheels; ωк1т, ωк2т — angular speeds of rotation of the wheels of the tractor front and rear axles, respectively; ωкpr — angular speed of rotation of the trailer wheel; rkT, rkpr — the radii of the tractor and trailer wheels, respectively; Т1, Т2 — torques applied to the tractor wheels; Тс — the reduced moment of rolling resistance on the trailer wheels; ХC, YC — coordinate axes connected with the center of gravity of the tractor body; φ — the angle of longitudinal inclination of the tractor body; l1, l2 — the distances from the center of gravity of the tractor body to the front and rear axles of the tractor, respectively, in the associated coordinate system; and zsc — the distance from the center of gravity of the tractor body to the attachment point of the towing device in the associated coordinate system.
Fig. 1. Analytical model of interaction of an elastic wheel with a solid surface.
Body 1 has mass МТ and represents the mass of the sprung parts of the towing tractor, while body 9 has mass Мpr and represents the mass of the sprung parts of the trailer. Bodies 2 with mass m1 function as the sliding wheels of a towing tractor. Bodies 1 and 2 are interconnected by a spring 4 with stiffness Cх. To consider the longitudinal–angular oscillations of body 1 along angle, φ we consider the radial rigidity of the towing tractor tire Cz (springs 3) and the radial damping (7) kд of the tractor tire.
The wheels 2 slide relative to the support base 5, while frictional forces F1 and F2, work upon them, depending on the speed of the wheels sliding relative to the support base. The support base 5 is represented as an inextensible and weightless tape. The wheels 6 and the tape of the support base 5 interact without relative sliding. Then, the sliding velocity is 1,2, where is the linear velocity of body 2 in the fixed coordinate system.
The movement of body 2 is progressive. Let us introduce coordinates for the displacement of the bodies. Let x1 be the displacement of the front wheel of the towing tractor in the fixed coordinate system, and x2 be the displacement of the rear wheel of the towing tractor in the fixed coordinate system. We assume that at x1 = x2 = 0, the springs 4 are undeformed, and there is no sliding of the mass 2 relative to the support base 5, while F(Visk) = 0.
The calculation scheme for the trailer comprises the sprung mass 9 and a simplified model of the reduced wheel, consisting of the body 10 and rotation element 13. The trailer wheel moves in the driven mode, and the reduced rolling resistance moment Tc is applied to it. The sliding velocity for the trailer wheel can be determined by the equation
,
where Vpr is the linear velocity of body 10 in a fixed coordinate system.
The developed calculation scheme for the interaction of an elastic wheel with a solid support base enables us to study the processes occurring in the interaction zone in traction, driven, and braking modes.
As the scheme is based on a Coulomb dry friction model, when the static friction force exceeds the sliding friction force, we take the model proposed in [19].
RESULTS AND DISCUSSION
To study the process under consideration, we present the differential equations of motion of a tractor–trailer train and its main links. According to the theorems on the conservation of momentum and the moment of momentum, we present the following differential equations for the front wheel of a towing tractor:
where JkT is the moment of inertia of the towing tractor wheel relative to its axis of rotation.
Similarly, for the rear wheel of the towing tractor, we obtain the following:
For the translational movement of the towing tractor’s center of gravity, we obtain the following:
(2)
For vertical oscillations of the towing tractor center of gravity:
(3)
For longitudinal–angular oscillations of a towing tractor:
(4)
where JT is the main moment of inertia of the towing tractor about the transverse axis, passing through its center of mass.
The differential equations for the reduced trailer wheel are the follows:
where Jkpr is the moment of inertia of the trailer wheel about its axis of rotation.
For the translational movement of the center of gravity of the trailer:
(5)
The conditions for the occurrence of self-oscillating processes in the zone of a wheel interaction with a solid support base are detailed in [19].
Owing to the connection of oscillations in phase coordinates x1, x2 with the coordinates of xT in the system of Eqs. (2), zT in the system of Eqs (3), and φ in the system of Eqs (4), when a self-oscillating mode occurs in the interaction zone of an elastic wheel with a solid support base, the same mode of self-oscillations also arises in the indicated degrees of freedom. Moreover, the sequence of occurrence of self-oscillating modes in various zones of the tractor–trailer train structure can be identified. First, self-oscillations are excited in the contact zone of the wheel with the support base during total sliding, then self-oscillations occur along the longitudinal angle φ of the inclination of the towing tractor body, and after that, self-oscillations occur along the vertical displacements zT of the center of mass of the towing tractor.
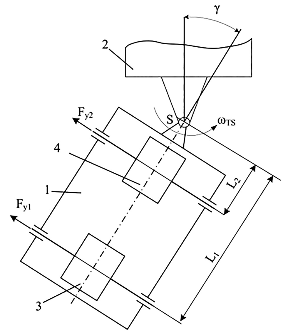
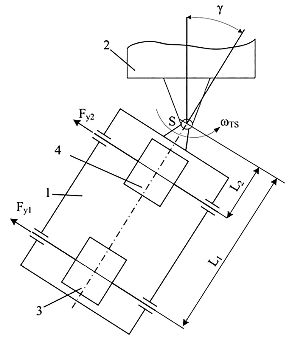
We study the conditions for the occurrence of self-oscillatory processes in terms of the folding angle of the tractor–trailer train relative to the coupling point S for the “bicycle” scheme presented in Fig. 2, in which 1 ― towing tractor; 2 ― trailer; 3 ― front wheel; 4 ― rear wheel; γ ― angle of rotation of the longitudinal axis of the towing tractor relative to the longitudinal axis of the trailer; ωтs ― the angular velocity of rotation of the towing tractor relative to the vertical axis passing through the coupling point S; L1, L2 ― distances from point S to the front and rear axles of the towing tractor, respectively; and Fy1, Fy2 ― frictional forces at the total wheel sliding in the zone of the interaction between the front and rear wheels, respectively.
Fig. 2. Analytical model of a truck tractor in turn relatively to the vertical axis through the S coupling point.
Differential equations for the rotational motion of a towing tractor relative to the vertical axis passing through the coupling point S for the design scheme presented in Fig. 2 are stated as follows:
(6)
where Js is the moment of inertia of the towing tractor relative to the vertical axis passing through the coupling point S.
We use the friction model of Eqs. (4) and (7), because the study of the occurrence of a self-oscillating process along the folding angle γ before the start of total sliding in the interaction zone of the wheels with the support base is the most interesting.
The sliding s in this case is calculated as follows:
(7)
Substituting Eqs. (2), (5), and (7) into the system of Eq. (6), we finally obtain the following:
(8)
As shown in the system of Eq. (8), oscillations in angle γ are associated with oscillations in the phase coordinates x1, x2. As shown above, during the translational motion of the tractor–trailer train wheels along the phase coordinates x1, x2, a self-oscillating mode may occur, both with partial and total sliding in the zone of the interaction of an elastic tire with a solid support base. Because self-oscillations on each of the wheels occur at random times, the self-oscillations of the towing tractor along the folding angle γ will be chaotic.
CONCLUSIONS
- The emergence of a self-oscillating mode in the zone of interaction of an elastic tire with a solid support base is a useful diagnostic attribute that allows for recognizing the development of the process of loss of adhesion between the wheel and the support base.
- Through analytical studies, it has been established that owing to the connection of oscillations along the longitudinal displacements of the towing tractor and the trailing bogie oscillations along the vertical displacements of the center of mass and along the angle of longitudinal–angular oscillations of the towing tractor, when a self-oscillating mode occurs in the zone of interaction of an elastic wheel with a solid support base, the same mode of self-oscillations will also occur in the indicated degrees of freedom. Moreover, the sequence of occurrence of self-oscillating modes in various zones of the tractor–trailer train structure can be identified. First, self-oscillations are excited in the zone of contact of the wheel with the support base during total sliding; then, self-oscillations occur along the longitudinal angle of inclination of the towing tractor body, and after that, self-oscillations start along the vertical displacements of the center of mass of the towing tractor.
- Through analytical studies, it has been established that fluctuations along the folding angle are associated with oscillations in the translational movement of the centers of wheels, which leads to the emergence of a self-oscillating mode, both with partial and total sliding in the zone of the interaction of an elastic tire with a solid support base. Because self-oscillations on each wheel occur at random times, the self-oscillations of the towing tractor in terms of the folding angle are chaotic.
ADDITIONAL INFORMATION
Authors contribution. M.M. Zhileykin ― development of a method for analyzing the causes of self–oscillatory processes in the design of a tractor train; P.V. Sirotin ― development of analytical models and mathematical description of oscillatory processes; S.S. Nosikov ― analysis of the sequence of occurrence of self-oscillatory modes in various zones of the tractor train design; N.N. Pulyaev ― analysis of folding angle oscillations by the folding angle of a tractor train. All authors made a substantial contribution to the conception of the work, acquisition, analysis, interpretation of data for the work, drafting and revising the work, final approval of the version to be published and agree to be accountable for all aspects of the work.
Competing interests. The authors declare no any transparent and potential conflict of interests in relation to this article publication.
Funding source. This study was not supported by any external sources of funding.
About the authors
Mikhail M. Zhileykin
KAMAZ Innovation Center, Skolkovo Innovation Center
Author for correspondence.
Email: jileykin_m@mail.ru
ORCID iD: 0000-0002-8851-959X
SPIN-code: 6561-3300
Head of the Engineering Calculations Group
Russian Federation, MoscowPavel V. Sirotin
South-Russian State Polytechnic University named after M.I. Platov
Email: spv_61@mail.ru
ORCID iD: 0000-0002-7066-5062
SPIN-code: 2801-3166
Associate Professor, Cand. Sci. (Tech.), Head of the Automobiles and Transport and Technological Facilities Department
Russian Federation, NovocherkasskSergey S. Nosikov
South-Russian State Polytechnic University named after M.I. Platov
Email: nosikov1997@mail.ru
ORCID iD: 0000-0002-9011-5017
SPIN-code: 5155-8609
Assistant of the Automobiles and Transport and Technological Facilities Department
Russian Federation, NovocherkasskNikolay N. Pulyaev
Russian State Agrarian University - Moscow Timiryazev Agricultural Academy
Email: pullman-mpt@mail.ru
ORCID iD: 0000-0001-8984-4426
SPIN-code: 1436-9093
Associate Professor, Cand. Sci. (Tech.), Associate Professor at the Tractors and Automobiles Department
Russian Federation, MoscowReferences
- Babkin KA. Reasonable industrial policy or how we can get out of the crisis. Moscow: Mann, Ivanov, Ferber; 2009. (in Russ).
- Subaeva AK. Agricultural machinery of Russia in the WTO. Ekonomicheskie issledovaniya. 2013;1:14–28. (in Russ).
- Order of the Government of the Russian Federation dated 07.07.2017 N 1455-р Ob utverzhdenii Strategii razvitiya selskokhozyaystvennogo mashinostroeniya Rossii na period do 2030 goda. (in Russ). Available from: http://government.ru/docs/28393/
- Burak PI, Pronin VM, Prokopenko VA, et al. Comparative tests of agricultural machinery: scientific. edition. Moscow: FGBNU Rosinformagrotekh; 2013.
- Bulletin of agricultural machinery testing (2018). Kinel: AIST, 2018. (in Russ). Accessed: 05.10.2022. Available from: https://rosinformagrotech.ru/data/elektronnye-kopii-izdanij/rastenievodstvo/send/5-rastenievodstvo/114-vestnik-ispytanij-selskokhozyajstvennoj-tekhniki-2018
- Bulletin of agricultural machinery testing (2017). Kinel: AIST; 2017. (in Russ). Accessed: 05.10.2022. Available from: https://rosinformagrotech.ru/data/send/5-rastenievodstvo/606-vestnik-ispytanij-selskokhozyajstvennoj-tekhniki-2017
- Kravchenko VA, Melikov IM. Evaluation of agrotechnical properties of propulsion combine harvesters with tires of various designs. Agrarnyy nauchnyy zhurnal. 2020;5:93–98. (in Russ). doi: 10.28983/asj.y2020i5pp93-98
- Rusanov VA. The problem of overconsolidation of soils by movers and effective ways to solve it: monograph. Moscow: VIM; 1998. (in Russ).
- Sirotin PV, Lebedinsky IYu, Kravchenko VV. Analysis of vibroacoustic loading of the workplace of operators of combine harvesters. Sovremennye naukoemkie tekhnologii. Regionalnoe prilozhenie. 2018. №1(53). С. 113–121. (in Russ).
- Kotiev GO, Padalkin BV, Kartashov AB, et al. Designs and development of Russian scientific schools in the field of cross-country ground vehicles building. ARPN Journal of Engineering and Applied Sciences. 2017;12(4):1064–1071.
- Ergin A.A., Kolomeitseva M.B., Kotiev G.O. Antilock brake control system of an automobile wheel. Pribory i sistemy upravleniya. 2004;9:11–13. (in Russ).
- Soliman AMA, Kaldas MMS. An Investigation of Anti-lock Braking System for Automobiles. In: SAE 2012 World Congress & Exhibition. SAE International by Warwick University; 2016. doi: 10.4271/2012-01-0209
- Sun C, Pei X. Development of ABS ECU with Hardware-in-the-Loop Simulation Based on Labcar System. SAE Int. J. Passeng. Cars – Electron. Electr. Syst. 2015;8(1):14–21. doi: 10.4271/2014-01-2524
- Sabbioni E, Cheli F, D’Alessandro V. Analysis of ABS/ESP Control Logics Using a HIL Test Bench. SAE 2012 World Congress & Exhibition. SAE International by Warwick University; 2011. doi: 10.4271/2011-01-0032
- Hart PM. Review of Heavy Vehicle Braking Systems Requirements (PBS Requirements), Draft Report. № 01599066. ARRB, 2003.
- Marshek KM, Guderman II JF, Jonson MJ. Performance of Anti-Lock Braking System Equipped Passenger Vehicles Part I: Braking as a Function of Brake Pedal Application Force. SAE 2002 World Congress Detroit, Michigan March 4-7, 2002. SAE International by Warwick University; 2002. doi: 10.4271/2002-01-0304
- Reshmin SA. Qualitative analysis of the undesirable effect of the loss of traction power of a vehicle during an intensive start. Doklady akademii nauk. 2019;484(3):289–293. (in Russ). doi: 10.31857/S0869-56524843289-293
- Kuznetsov AP, Kuznetsov SP, Ryskin NM. Nonlinear fluctuations. Moscow: Fizmatlit; 2002. (in Russ).
- Zhileikin MM. Study of self-oscillatory processes in the zone of interaction of an elastic tire with a solid support base. Izvestiya vysshikh uchebnykh zavedeniy. Mashinostroenie. 2021;10:3–15. (in Russ). doi: 10.18698/0536-1044-2021-10-3-15
Supplementary files
