Вибронагруженность штанг самоходного опрыскивателя на шинах сверхнизкого давления
- Авторы: Прядкин В.И.1, Колядин П.А.1
-
Учреждения:
- Воронежский государственный лесотехнический университет имени Г.Ф. Морозова
- Выпуск: Том 90, № 6 (2023)
- Страницы: 543-550
- Раздел: Качество, надёжность
- Статья получена: 28.07.2023
- Статья одобрена: 13.02.2024
- Статья опубликована: 06.03.2024
- URL: https://journals.eco-vector.com/0321-4443/article/view/567796
- DOI: https://doi.org/10.17816/0321-4443-567796
- ID: 567796
Цитировать
Полный текст
Аннотация
Введение. В настоящей статье приведены результаты экспериментальных исследований вибронагруженности штанг самоходного опрыскивателя, оборудованного шинами сверхнизкого давления 1020×420-18 модели Бел-79 при проезде через единичные искусственные неровности. По результатам проведенных испытаний получены зависимости влияния максимальных вертикальных ускорений на навеске штанг от скорости движения при различном давлении воздуха в шинах и уровнях заправки бака опрыскивателя технологической жидкостью. Установлено, что снижение заполнения емкости технологической жидкостью и увеличение скорости движения самоходного опрыскивателя позволило увеличить уровень колебаний на штангах опрыскивателя пропорционально относительно полной заправки. При переезде самоходного опрыскивателя через искусственные неровности с раскрытыми в рабочем положении штангами, расположенными на расстоянии 700 мм от опорной поверхности, во всем диапазоне скоростей движения от 3 м/с до 12 м/с, амплитуда колебаний на концах штанг не превышала 80 мм.
Цель работы — экспериментальная оценка влияния эксплуатационных параметров мобильного энергетического средства, оборудованного шинами сверхнизкого давления, на вибронагруженность штанг опрыскивателя.
Материалы и методы. Приведены методики лабораторно-полевых исследований по проезду мобильного энергетического средства, оборудованного штанговым опрыскивателем, через искусственные неровности. Максимальные вертикальные ускорения на навеске штанг опрыскивателя определялись при помощи приборного комплекса «АССИСТЕНТ TOTAL», состоящего из измерительного блока с анализатором вибрациии вибропреобразователя АР38Р.
Результаты. Получены зависимости влияния давления воздуха в шинах сверхнизкого давления и скорости движения МЭС-600 на уровень колебаний штанг опрыскивателя при движении по искусственным единичным неровностям. Минимальный уровень колебаний на штангах при различном давлении воздуха в шинах и различной степени заправки емкости достигается при скорости движения МЭС 9 м/с. Самым вибронагруженным для штанг опрыскивателя является режим движения в порожнем состоянии.
Выводы. Минимальный уровень колебаний на штангах опрыскивателя имеет место в диапазоне скоростей 7,5–10,5 м/с. При снижении давления воздуха в шинах с 80 кПа до 20 кПа вибронагруженность штанг снижается в 2,8 раза. Увеличение вибронагруженности имеет место в диапазоне уровня заполнения бака опрыскивателя от 50% до порожнего состояния. При движении по единичным неровностям в диапазоне скоростей от 3 м/с до 12 м/с штанги опрыскивателя устойчиво находились в горизонтальном положении, интенсивных колебаний и резонансных режимов секций штанг не наблюдалось.
Полный текст
ВВЕДЕНИЕ
В Стратегии устойчивого развития сельскохозяйственных территорий России на период до 2030 г. важная роль отводится технико-технологическому обеспечению сельскохозяйственного производства с целью обеспечения продовольственной безопасности страны [1]. Инновационная модернизация агропромышленного комплекса России позволила обеспечить рост продукции растениеводства в условиях санкций, так в 2022 г. впервые было собрано рекордное количество около 150 млн. тонн зерна.
Повышение урожайности зерновых культур невозможно достичь без широкого применения средств химизации, позволяющих защитить культурные растения от вредителей, болезней и сорняков. В России значительный процент работ выполняется на почвах с низкой несущей способностью, которые составляют 11,2 млн. га пахотной площади земель. Особую сложность представляют технологические операции при работе агрегатов в ранний весенний и поздний осенний периоды, когда движение машин по полю в это время становится невозможным. При выполнении энергоемких технологических процессов в растениеводстве широко используются колесные и гусеничные тракторы различной мощности, однако, проблема обработки полей гербицидами не может быть решена за счет использования этих мобильных средств и их увеличения в парке. Поэтому важную роль в экономике производства сельскохозяйственной продукции растениеводства играет использование специализированных мобильных энергосредств (МЭС) и высокоэффективная организация их применения [2–5].
Эффективным путем повышения агротехнической проходимости и обеспечения выполнения технологических операций в заданные агросроки на почвах с низкой несущей способностью является применение МЭС на шинах сверхнизкого давления. За последние два десятилетия были разработаны различные самоходные опрыскиватели, с различным расположением штанг: с центральным расположением, на передней и задней навесках.
Исследования по целесообразности применения МЭС на шинах сверхнизкого давления проводились многими исследователями. Проведенными исследованиями теоретически обосновано и экспериментально подтверждено, что диапазон давлений воздуха в шинах должен составлять 5–40 кПа при движении МЭС по почвам с низкой несущей способностью в ранний весенний период. Авторами проведен ряд исследований по оценке контактных давлений МЭС, оборудованных шинами сверхнизкого давления, на почвенно-растительный покров (например, см. [6]). Также проведены теоретические и экспериментальные исследования по оценке вибронагруженности самоходных опрыскивателей и обоснованию движения на повышенных рабочих скоростях 20–40 км/ч [7–10]. Исследования по оценке вибронагруженности штанг опрыскивателей проводились в основном для выявления резонансных режимов при движении самоходных и прицепных опрыскивателей на повышенных рабочих скоростях, а также оценки влияния резонансных режимов на ресурс штанг [11, 12]. Однако, исследования по оценке вибронагруженности штанг опрыскивателя МЭС на шинах сверхнизкого давления малой грузоподъемности, в настоящее время изучены недостаточно.
ЦЕЛЬ ИССЛЕДОВАНИЙ
Целью работы является экспериментальная оценка влияния эксплуатационных параметров мобильного энергетического средства, оборудованного шинами сверхнизкого давления, на виброзащитные свойства штангового опрыскивателя (рис. 1).
Рис. 1. Мобильное энергетическое средство на шинах сверхнизкого давления МЭС-600.
Fig. 1. The MES-600 mobile power unit with ultra-low pressure tires.
МАТЕРИАЛЫ И МЕТОДЫ
Для проведения настоящих исследований было разработано и изготовлено МЭС на шинах сверхнизкого давления, оборудованное опрыскивателем, с расположением штанг на задней навеске. При движении в транспортном положении штанги складывались. Левое и правое крылья штанг выполнены их трех секций. Первая и вторая секции имеют пространственную ферменную конструкцию, выполненную из алюминиевого проката. Третья секция выполнена из алюминиевого проката, шарнир этой секции оборудован автомат возврата в исходное положение при контакте края штанги с почвой либо другим препятствием.
Лабораторно-полевые испытания по определению вибронагруженности навески штангового опрыскивателя производились на горизонтальном участке дороги с твердым покрытием длиной 1200 м и с максимальным уклоном на отдельных участках, не превышающих 2%. С целью определения максимального вертикального ускорения на навеске, были изготовлены две единичные искусственные неровности для колес правого и левого бортов МЭС, имеющих трапециевидный профиль, с длиной нижнего основания 700 мм, длиной верхнего основания 100 мм и общей высотой неровностей 75 мм.
Испытания по определению амплитуды колебаний на концах штанг опрыскивателя поводились при раскрытых штангах и опущенных на расстоянии 700 мм от опорной поверхности. Согласно рекомендаций превышение отклонения от заданной высоты не должно превышать 100 мм [13, 14]. На концах штанг устанавливались специальные маркеры, регистрация производилась с применением стационарно установленной высокоскоростной видеокамеры, установленной на расстоянии 12 м от края штанги.
Максимальное вертикальное ускорение на навеске штанг опрыскивателя определяли при помощи приборного комплекса АССИСТЕНТ TOTAL» (SIU V3RT), состоящего из измерительного блока с анализатором вибрации, размещенного в кабине оператора и вибропреобразователя АР38Р, крепление которого осуществлялось резьбовым соединением к нижней части навески, проходящей по оси штанг опрыскивателя. Обработка полученных данных от анализатора и их перевода в формат Microsoft Excel производилась с применением программ для приборного комплекса «АССИСТЕНТ TOTAL» — «AssistentDataCenter».
Мобильное энергетическое средство эксплуатируется при выполнении технологических операций как по полям с почвой различной несущей способностью, так и по грунтовым полевым дорогам в широком диапазоне давления воздуха в шинах и скоростей движения. Уровень заполнения бака изменяется по мере расхода жидкости опрыскивателем и его последующей заправке. Поэтому при проведении лабораторно-полевых исследований скорость варьировалась в интервале от 3 м/с до 12 м/с и контролировалась оператором с помощью GPS приёмника компьютера для полевых опрыскивателей серии «Вravo 180S». Давление в шинах сверхнизкого давления устанавливалось соответственно: 80 кПа, 60 кПа, 40 кПа и 20 кПа; и контролировалось перед каждой серией проведения испытаний. Уровень заполнения бака на лабораторно-полевых испытаниях определили значениями: 0% (0 л), 50% (300 л) и 100% (600 л).
Определяемыми параметрами эксперимента являлись значения максимальных вертикальных ускорений на задней навеске МЭС и амплитуды колебаний на концах штанг.
РЕЗУЛЬТАТЫ И ОБСУЖДЕНИЕ
Лабораторно-полевые исследования по оценке вибрационной нагруженности штанг опрыскивателя МЭС на шинах сверхнизкого давления проводились в три этапа.
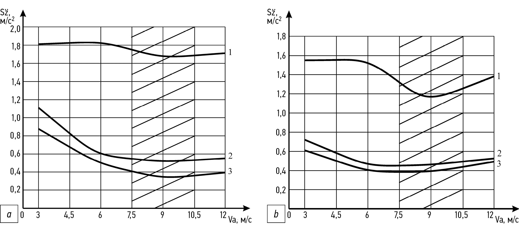
На первом этапе была проведена оценка влияния скорости движения МЭС и степени заполнения емкости технологической жидкостью при максимальном и оптимальном давлении воздуха в шинахна вибронагруженность штанг [15, 16] (рис. 2).
Рис. 2. Зависимость максимального вертикального ускорения на навеске штанг от скорости движения при давлении в шинах: а — 80 кПа; b — 40 кПа. Уровень заполнения бака: 1 — 0%; 2 — 50%; 3 — 100%.
Fig. 2. Dependence of maximal vertical acceleration of booms suspension on motion velocity at tire pres-sure of: а — 80 kPa; b — 40 kPa. Tank filling level: 1 — 0%; 2 — 50%; 3 — 100%.
Результаты испытаний показали, что степень заполнения емкости технологической жидкостью от 50% до 100% не оказывает существенного влияния на вибронагруженность штанг. Со снижением заполнения емкости технологической жидкостью и увеличением скорости движения уровень колебаний на штангах опрыскивателя пропорционально увеличивается относительно полной заправки. При движении МЭС со скоростью 3 м/с имеет место максимальный уровень вибронагруженности, далее с увеличением скорости движения, время взаимодействия шин с неровностью уменьшается, и как следствие снижается вибронагруженность штанг. Минимальный уровень колебаний на штангах при различном давлении воздуха в шинах и различной степени заправки емкости достигает при скорости движения МЭС 9 м/с. Установлено, что в диапазоне скоростей 7,5–10,5 м/с имеет место минимальный уровень колебаний при различной степени заполнения емкости технологической жидкостью и давлениях воздуха в шинах. В диапазоне скоростей от 9 до 12 м/с уровень колебаний незначительно увеличивается, что обусловлено возникновением галопирования МЭС.
Самым вибронагруженным является режим движения МЭС в порожнем состоянии. Так, при движении в порожнем состоянии, в диапазоне скоростей от 3 до 6 м/с уровень колебаний штанг остается практически постоянным, далее снижается до минимального значения при скорости 9 м/с, затем незначительно возрастает при давлении воздуха в шинах 80 кПа, а при давлении 40 кПа имеет место более интенсивный рост колебаний штанг до скорости 12 м/с.
При движении МЭС со скоростью 9 м/с и давления воздуха в шинах 80 кПа уровень колебаний на навеске штанг относительно порожней заправки снижается в 3 раза при заправке емкости на 50%, и в 4,8 раза при полной заправке. При движении МЭС с этой же скоростью, но давлении воздуха в шинах 40 кПа уровень колебаний на навеске штанг относительно порожней заправки снизился в 2,6 раза при заправке емкости на 50%, и в 2,9 раза снизился при полной заправке.
Стоит отметить тенденцию снижения максимального вертикального ускорения на навеске штанг опрыскивателя мобильного энергетического средства в диапазоне скоростей от 3 м/с до 9 м/с и небольшое возрастание в диапазоне от 9 м/с до 12 м/с. Для обоснования зависимостей ускорений от скорости движения МЭС были рассмотрены спектры вертикальных ускорений на задней навеске при давлении в шинах 40 кПа и уровня заполнения бака опрыскивателя 0 % (рис. 3).
Рис. 3. Спектры вертикальных ускорений на навеске штанг при уровне заполнения бака 0% и давлении в шинах 40 кПа на скорости движения: 1 —3 м/с; 2 — 6 м/с; 3 — 9 м/с; 4 — 12 м/с.
Fig. 3. Spectra of vertical accelerations of booms suspension at a tank filling level of 0% and tire pres-sure of 40 kPa at motion velocity of: 1 — 3 m/s; 2 — 6 m/s; 3 — 9 m/s; 4 — 12 m/s.
Рассматривая полученные спектры ускорения, необходимо отметить два диапазона резонансных частот: первый диапазон в интервале от 1,6 Гц до 4 Гц, а второй — от 4 Гц до 8 Гц. Резонансная частота на первом диапазоне смещается в область более высоких частот при увеличении скорости движения МЭС с 2 Гц при скорости движения 3 м/с до 3,15 Гц при скорости 9 и 12 м/с. Одновременно со смещением резонансной частоты вертикальное ускорение снижается с 0,1583 g при скорости движения 3 м/с до 0,1065 g при скорости 12 м/с (в 1,49 раз).
В то же время, на втором диапазоне также резонансная частота смещается с 5 Гц при скорости 3 м/с на 6,3 Гц при скоростях движения МЭС 6, 9 и 12 м/с. Но с увеличением скорости от 3 м/с до 12 м/с в рассматриваемом интервале наблюдается рост ускорения с 0,0725 g до 0,1414 g (в 1,95 раз).
Таким образом, при снижении ускорений на первом резонансном интервале частот, на втором резонансном интервале ускорения возрастают. На скорости движения мобильного средства до 6 м/с первый резонансный участок имеет большее ускорение, а при скорости более 9 м/с — уже второй. Соответственно максимальное вертикальное ускорение на навеске штанг будет снижаться до скорости движения 9 м/с из-за уменьшения времени взаимодействия движителя с единичной неровностью и с 9 м/с будет только возрастать, что объясняется увеличением воздействия на навеску от шин и трансмиссии.
Вторым этапом экспериментальных исследований предусматривалась оценка влияния на вибронагруженность штанг опрыскивателя давления воздуха в шинах и скорости движения МЭС в порожнем состоянии, без заправки бака технологической жидкостью (рис. 4). Установлено, что со снижением давления воздуха в шинах также снижается уровень колебаний на навеске штанг опрыскивателя. В диапазоне скоростей 7,5–10,5 м/с, имеет место минимальный уровень колебаний при различных давлениях воздуха в шинах, минимум колебаний достигается при скорости 9 м/с. Давление воздуха в шинах 80 кПа устанавливается при переезде с поля на поле при движении по грунтовым укатанным дорогам и по дорогам с покрытием. При выполнении технологических операций предыдущими исследованиями было рекомендовано давление воздуха в шинах 40 кПа. Давление воздуха в шинах 20 кПа рекомендовано для кратковременного преодоления труднопроходимых участков поля при выполнении работ на почвах с низкой несущей способностью.
Рис. 4. Спектры вертикальных ускорений на навеске штанг при уровне заполнения бака 0% и давлении в шинах 40 кПа на скорости движения: 1 —3 м/с; 2 — 6 м/с; 3 — 9 м/с; 4 — 12 м/с.
Fig. 4. Spectra of vertical accelerations of booms suspension at a tank filling level of 0% and tire pres-sure of 40 kPa at motion velocity of: 1 — 3 m/s; 2 — 6 m/s; 3 — 9 m/s; 4 — 12 m/s.
Максимальный уровень колебаний на навеске штанг при движении МЭС в порожнем состоянии со скорости 9 м/с имеет место при давлении воздуха в шинах 80 кПа, при давлениях 60 кПа и 40 кПа уровень колебаний снижается соответственно в 1,1 и 1.4, а при давлении 20 кПа уровень колебаний снизился в 2,8 раза.
Третьим этапом экспериментальных исследований предусматривалось определение амплитуды колебаний на концах штанг опрыскивателя для наиболее вибронагруженного режима движения. Установлено, что при переезде через искусственные неровности с раскрытыми в рабочем положении штангами, расположенными на расстоянии 700 мм от опорной поверхности, во всем диапазоне скоростей движения от 3 м/с до 12 м/с, амплитуда колебаний на концах штанг не превышала 80 мм.
Проведённые исследования вибронагруженности штанг опрыскивателя показали, что оборудование МЭС шинами сверхнизкого давления оказывает щадящее воздействие на штанги опрыскивателя. На всех режимах испытаний резонансных явлений не было выявлено, при этом амплитуда колебаний на концах штанг при переезде через единичные неровности не превышал критических значений.
ВЫВОДЫ
Минимальный уровень колебаний на штангах опрыскивателя при различных режимах работы имеет место в диапазоне скоростей 7,5–10,5 м/с. При этом снижение давления воздуха в шинах с 80 кПа до 20 кПа позволяет снизить вибронагруженность штанг в 2,8 раза.
Проведенные исследования показали, что снижение заправки бака технологической жидкостью со 100% до 50%, не оказывает существенного влияния на вибронагруженность штанг опрыскивателя. Увеличение вибронагруженности имеет место в диапазоне заправок от 50% до порожнего состояния. Самым вибронагруженным для штанг опрыскивателя является режим движения в порожнем состоянии.
Экспериментально установлено, что при движении по единичным неровностям в диапазоне скоростей от 3 м/с до 12 м/с штанги опрыскивателя устойчиво находились в горизонтальном положении, интенсивных колебаний и резонансных режимов секций штанг не наблюдалось. Амплитуда колебаний на концах штанг при переезде через единичные неровности не превышала 80 мм, что удовлетворяет агротехническим требованиям при выполнении технологических процессов по обработки культурных растений.
ДОПОЛНИТЕЛЬНАЯ ИНФОРМАЦИЯ
Вклад авторов. В.И. Прядкин — общее руководство исследованиями, инициатор разработки и создания объекта исследований, разработка программы и методики исследований, участие в написании текста рукописи; П.А. Колядин — участие в создании объекта исследований, разработка программы исследований, участие в проведении испытаний, обработка результатов исследований; редактирование текста. Авторы подтверждают соответствие своего авторства международным критериям ICMJE (все авторы внесли существенный вклад в разработку концепции, проведение исследования и подготовку статьи, прочли и одобрили финальную версию перед публикацией).
Конфликт интересов. Авторы декларируют отсутствие явных и потенциальных конфликтов интересов, связанных с публикацией настоящей статьи.
Источник финансирования. Авторы заявляют об отсутствии внешнего финансирования при проведении исследований.
ADDITIONAL INFORMATION
Authors’ contribution. V.I. Pryadkin — general management of the study, initiation of development and creation of the object of the study, development of the program and methodology of the study, writing the text of the manuscript; P.A. Kolyadin — creation the object of the study, development of the program of the study, conducting tests, results processing; text editing. The authors confirm that their authorship complies with the international ICMJE criteria (all authors made a significant contribution to the development of the concept, research and preparation of the article, read and approved the final version before publication).
Competing interests. The authors declare no any transparent and potential conflict of interests in relation to this article publication.
Funding source. Authors state that this research was not supported by any external sources of funding.
Об авторах
Владимир Ильич Прядкин
Воронежский государственный лесотехнический университет имени Г.Ф. Морозова
Автор, ответственный за переписку.
Email: vip16.vgltu@mail.ru
ORCID iD: 0000-0002-5436-1122
SPIN-код: 6343-4430
д-р техн. наук, профессор кафедры автомобилей и сервиса
Россия, ВоронежПавел Александрович Колядин
Воронежский государственный лесотехнический университет имени Г.Ф. Морозова
Email: kpa.022@yandex.ru
ORCID iD: 0000-0003-3003-7894
SPIN-код: 7457-1844
aспирант кафедры автомобилей и сервиса
Россия, ВоронежСписок литературы
- Прогноз научно-технологического развития агропромышленного комплекса Российской Федерации на период до 2030 года. М.: МинСельХоз РФ, НИУ ВШЭ, 2017.
- Безуглов В.Г. Анализ технологий и техники для внесения химических средств защиты растений // Техника и оборудования для села. 2013. № 2. С. 7–10.
- Быков С.Н. Показатель «значимость информационной технологии» конкурентоспособности наукоемкой машиностроительной продукции // Современные наукоемкие технологии. 2018. № 12. С. 25–30.
- Демин Е.Е., Старцев А.С., Павлов П.И., и др. Результаты исследований мощности установленных двигателей и массы самоходных штанговых опрыскивателей // Аграрный научный журнал. 2022. № 12. С. 73–76. doi: 10.28983/asj.y2022i12pp73-76
- Щеголихина Т.А. Тенденции развития зарубежных самоходных опрыскивателей. В кн.: Современные ресурсоэффективные технологии и технические средства в АПК; материалы Всероссийской (национальной) научно-практической конференции, г. Курск, 31 марта 2021. Курск, 2021. С.116–120.
- Прядкин В.И., Шапиро В.Я., Годжаев З.А., и др. Транспортно-технологические средства на шинах сверхнизкого давления. Воронеж: ВГЛТУ. 2019.
- Константинов М.М., Петренко Е.С. Технико-экономическое обоснование ширины захвата штангового опрыскивателя // Известия ОГАУ. 2018. № 1 (68). С. 122–125.
- Крук И.С., Гордеенко О.В., Карпович С.К., и др. Направления повышения эффективности использования полевых штанговых опрыскивателей // Агропанорама. 2022. № 5 (153). С. 2–10.
- Петухов Д.А., Юзенко Ю.А. Технико-эксплуатационные показатели самоходных опрыскивателей // АгроСнабФорум. 2018. № 2. С. 13–16.
- Полищук Ю.В., Лаптев Н.В., Комаров А.П. Эффективность использования самоходного опрыскивателя оборудованного системой автоматического вождения // Нива Поволжья. 2021. № 4 (57). С. 86–92.
- Карпович С.К., Маринич Л.А., Крук И.С., и др. Методика оценки технического состояния полевых штанговых опрыскивателей и технологические требования к ним. Минск: БГАТУ, 2016.
- Шмелев А.В., Лопух Д.Г., Дробышевская О.В. Моделирование и анализ силовой нагруженности системы штанг самоходного опрыскивателя в среде MSC.ADAMS // Актуальные вопросы машиноведения. 2016. № 5. С. 91–94.
- Башкирев А.П., Шварц А.А., Шкабенко А.Ю. Анализ полевых опрыскивателей // Наука в центральной России. 2019. № 6 (42). С. 50–58.
- Крук И.С., Кот Т.П., Гордеенко О.В. Способы и технические средства защиты факела распыла от прямого воздействия ветра в конструкциях полевых опрыскивателей. Минск: БГАТУ, 2022.
- Годжаев З.А., Гончаренко С.В., Артёмов А.В., и др. Упругие характеристики шины сверхнизкого давления 1020х420-18 модели Бел-79. Ч. I. Вертикальные нагрузки// Автомобильная промышленность. 2020. № 8. С. 18-21.
- Годжаев З.А., Прядкин В.И., Колядин П.А., и др. Перспективные мобильные средства на шинах сверхнизкого давления для сельскохозяйственного производства // Тракторы и сельхозмашины. 2022. Т. 89, № 4. C. 277–286. doi: 10.17816/0321-4443-115016
Дополнительные файлы






