Principles of adaptive control of roll stability of reconfigurable chassis with planetary-wheeled propulsion system
- Authors: Dobretsov R.Y.1,2, Kaninsky A.O.2, Popov D.S.1, Pryamitsyn I.B.1
-
Affiliations:
- Russian State Scientific Center for Robotics and Technical Cybernetics (RTC)
- Peter the Great St. Petersburg Polytechnic University
- Issue: Vol 91, No 1 (2024)
- Pages: 45-54
- Section: New machines and equipment
- Submitted: 09.09.2023
- Accepted: 23.10.2023
- Published: 15.03.2024
- URL: https://journals.eco-vector.com/0321-4443/article/view/569204
- DOI: https://doi.org/10.17816/0321-4443-569204
- ID: 569204
Cite item
Abstract
BACKGROUND: Roll stability control is a relevant issue in transport platforms’ design in general. Well-known methods of roll stability control are used in development of vehicles of various types. However, these methods can not always be applied in design of small unmanned platforms, so development of special solutions is needed.
AIM: Justification of feasibility of application of anti-roll balancing mechanisms in small unmanned vehicles.
METHODS: The study is based on the analysis of technical solutions implemented in the design of platforms with extreme off-road capabilities and space rovers. Well-known methods of fundamentals of vehicle dynamics are the main tools of the study.
RESULTS: The options of roll stability control system for small unmanned platforms are described. The conclusions regarding feasibility of different options of balancing mechanisms for addressing the issue of counteraction of stability losing and overturning are made.
CONCLUSIONS: The discussed principles of roll stability control could be implemented in special small unmanned vehicles with any type of propulsion system. The further research in this field considers building of mathematical models capable of evaluating the required kinematics and power properties of the system of adaptive roll stability control, as well as testing using the mockup of a moving platform.
Full Text
BACKGROUND
Controlling the lateral stability of movement is relevant for many types of transport vehicles and mobile platforms. Loss of lateral stability can manifest as skidding and overturning. In the theory of movement of transport vehicles, a distinction is made between partial and complete skidding. In the case of complete skidding, the chassis becomes uncontrollable. During lateral sliding, the chassis may encounter an obstacle (e.g., a curb in urban conditions), leading to a potential tip-over.
To prevent skidding, a stabilizing torque is created by redistributing traction forces between the driving wheels on each side. For light motor vehicles, this torque is implemented through a dynamic stabilization system (as discussed in [1, 2]). For platforms with individual electromechanical drives for each wheel unit, a similar effect can be achieved by redistributing torque between the traction electric engines.
When mathematically modeling overturning, two critical cases are considered: the onset of overturning and complete overturning. The former occurs when the normal reaction force under one side’s wheels becomes zero. Complete overturning is when the center of gravity of the chassis passes through the critical line, for example, for a wheeled monohull vehicle. The line connects the contact points of the wheels on one side without losing contact with the ground. Once overturning begins, the vehicle becomes difficult to control along its trajectory, although reducing speed can sometimes prevent further development of the overturning.
Certain chassis types have specific design potentials to enhance stability. For example, a reconfigurable chassis with a planetary wheel propulsion system (PWP, as described in patent [3]) can increase lateral overturning stability by rotating the wheel blocks on one side (Fig. 1).
Fig. 1. The diagram illustrating anti-roll capabilities of reconfigurable chassis.
Рис. 1. Схема к оценке запаса поперечной устойчивости по опрокидыванию для реконфигурируемого шасси.
This stability margin allows for systematic movement along a slope with a specific angle of inclination.
.
The value of Δh depends on the distance between the axles of the wheels in the PWP wheel block. For a specific design, this angle can be estimated easily, but utilizing this feature requires additional strength calculations. The range of changes in the angle of inclination, in the absence of suspension, mainly depends on tire elasticity. In addition, the chassis must be reconfigured before moving along a slope, which is not always quickly achievable.
A related technical solution is described in [4], where the chassis can adapt to the geometry of the supporting surface to a limited extent by changing its configuration.
Modeling the loss of lateral stability for a reconfigurable chassis with PWP can consider the influence of external forces on lateral stability [5]. The action of these forces determines the critical speeds of movement and angles of transverse inclination of the supporting surface. For illustrative purposes, considering the industry-standard special cases of a mobile platform moving on a “pure slope” (i.e., moving across a slope) and on a “superelevation” is useful ([6–8]).
STUDY AIM
This work aims to substantiate the feasibility of using balancing mechanisms to increase the lateral stability of small-sized unmanned mobile platforms against overturning.
Problems to be solved:
- Provide a mathematical description of typical cases of losing lateral stability because of overturning and illustrate the influence of the balancing mechanism on chassis stability.
- Propose options for constructing balancing mechanisms to improve the lateral stability of small-sized unmanned vehicles and analyze their features at the circuit level.
MATERIALS AND METHODS
The approaches are based on the analysis of technical solutions in the field of creating platforms with extreme cross-country ability from companies such as “Letourneau” and “Lockheed” (USA) [3] and “Meile” (Switzerland), and on methods developed for creating planetary research vehicles at the Russian Research Institute of Transport Vechicles (VNIITransmash, St. Petersburg). The study also uses methods based on the theory of ground vehicles.
RESULTS AND DISCUSSION
Lateral stability when turning on a slope
When modeling lateral stability on a slope, a most complex scenario is turning toward an uphill slope.
The following assumptions are made:
- Movement is uniform with a constant turning radius.
- The supporting surface has isotropic properties.
- The platform’s center of gravity is at its geometric center.
- The wheels do not slip or skid.
- Tire elasticity and the influence of the spring suspension system are not considered.
The absence of a spring suspension system and the hypothesis about the symmetry of the side wheel blocks for a chassis with a PWP simplifies the design diagram (Fig. 2). No significant differences are observed from the case considered for a two-axle vehicle (as discussed in [6]).
Fig. 2. The diagram for the analysis of roll stability in the case of turning on the inclination towards the bottom side.
Рис. 2. Расчётная схема для анализа устойчивости при повороте на косогоре в сторону спуска.
In Fig. 2, the following designations are used С is center of gravity of the platform; В is the track width; hc is the height of the center of gravity; β is the angle of transverse inclination of the supporting surface; G is the platform weight; Z1,2 represents normal reactions under the wheels of the inner (lagging) and outer (advancing) sides; and Y is the total transverse reaction balancing the transverse force because of the action of inertia.
.
In this equation, M is the mass of the platform, V is the speed of the center of mass, and R is the turning radius.
To estimate the critical values for the platform movement speed and the angle of inclination of the supporting surface for the onset of overturning, the following equation is used:
.
In particular, we solve for critical speed and inclination:
and
.
The introduction of a balancing mass m creates a stabilizing moment proportional to its overhang arm ym relative to point С:
and
.
The critical speed at the onset of overturning increases nonlinearly with the stabilizing moment, enhanced by increasing the load mass ratio m/M and the ratio ym/hc. The greater the load mass and the lower the platform’s center of gravity, the more effective the stabilizer.
The stabilizing moment similarly influences the critical slope of the roadway. However, the evaluation equation becomes more complex:
.
In practical problems, iterative methods should be used to solve such an equation.
For example, assuming V=2 m/s; M=80 kg; m/M=0,2; B=0,4 m; ym=0,75B; hс=0,195 m, and R=2B m, the critical angle for overturning increases by Δβ=6,3° (approximately 25%).
Lateral stability when turning on a superelevation
When modeling the loss of stability during a turn on a superelevation, the same assumptions are made as for a turn on a slope. The forces acting on the platform are depicted in Fig. 3. Here, the center of rotation is located at point O, with the theoretical radius of rotation given by R = |OC|.
Fig. 3. The diagram for the analysis of roll stability in the case of cornering on inclined surface.
Рис. 3. Расчётная схема для анализа устойчивости при повороте на вираже.
To estimate the critical values for the onset of overturning, such as the speed of movement and the angle of inclination of the supporting surface, we can derive the following equation under the accepted assumptions:
.
Hence, the parameters can be determined using the following equations:
,
.
Taking the stabilizer into account, the equation for the critical speed becomes
.
This equation applies for values of β < 45°. For larger inclination angles, the design scheme must be adjusted. The change in the critical angle can be estimated by
.
In practical applications this equation should be solved using iterative method. However, experience shows that chassis with a low center of gravity are less sensitive to loss of lateral stability because of overturning on a superelevation.
Principles of lateral stability control
Active lateral stability control can be achieved by creating a stabilizing moment using a certain weight. For small electric-powered platforms, an on-board energy storage device can serve as an effective counterweight because of its significant mass. Three main options are proposed:
- Pendulum stabilizer
- Rotating stabilizer
- Transverse linear stabilizer
Each method creates a stabilizing moment by altering the position of the on-board storage, which can complicate the design and reduce the efficiency of internal volume usage.
The pendulum stabilizer works similarly to the pendulum drive used on spherical robots [9], but design limitations make it less suitable for chassis with PWP. The rotating and transverse linear stabilizers are more practical, with the choice depending on the design features of the mobile platform and the tasks at hand.
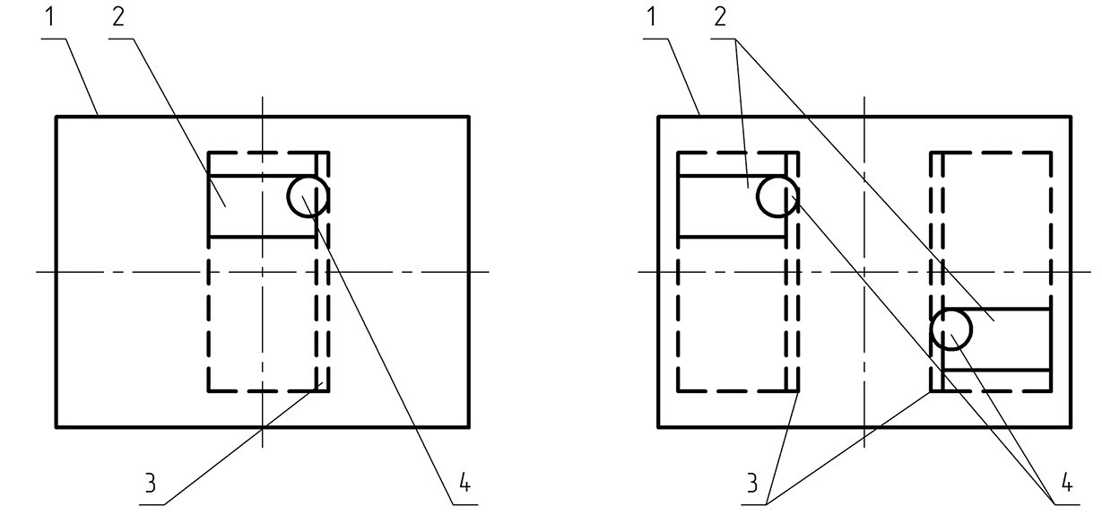
Fig. 4. The principle of roll stability control with balancing mass rotation.
Рис. 4. Принцип управления устойчивостью вращением уравновешивающей массы.
Figure 4 presents the schematic options for a dual-mass (left) and single-mass (right) rotating stabilizer. The numbers indicate the vehicle body (1), weights (2), ball racer (3), and rotary base junction (4) (RBJ).
The design of the ball racer is similar to the solutions used to rotate the turret of a tank or the commander’s cupola of a military tracked vehicle. Examples of designs and calculation methods are given in [10]. Proven designs of the electromechanical drive for rotation and locking of the racer are also discussed there. The RBJ ensures the maintenance of electrical contact between the rotating part resting on the racer and the body of the mobile platform.
The dual-mass design allows for a smoother redistribution of the load between the sides and axles. This scheme is more complex and is advisable if a racer is installed on an unmanned platform to accommodate special equipment.
Fig. 5. The principle of roll stability control with lateral moving of balancing mass.
Рис. 5. Принцип управления устойчивостью поперечным перемещением уравновешивающей массы.
Figure 5 presents a simplified diagram of a stabilizer with transverse movement of the load, featuring single-mass (left) and dual-mass (right) configurations. The numbers indicate a vehicle body (1), weights (2), rack on the guide frame (3), and drive unit (4). Unlike a stabilizer with a rotating mass, this design does not require an RBJ, significantly simplifying the unit and increasing reliability. Although this stabilizer does not allow controlling the redistribution of masses along the axes, it is simpler in design and more compact in the single-mass version.
For any of the considered designs, creating a closed-loop tracking control system with feedback on the roll angle of the mobile platform body and the position of the weight(s) is necessary.
Estimating performance and selecting drive parameters for moving the balancing mass represents a separate task and is not considered here.
However, the positioning accuracy for both options will be determined by the lateral clearance in the gear engagement of the drive, which primarily depends on the manufacturing accuracy of the gears. Additionally, when assessing speed the backlash in the gear engagement must be taken into account (e.g., [11, 12]).
CONCLUSIONS
- For a lightweight unmanned mobile platform, a mechanism for lateral movement of the balancing mass can be recommended to ensure adaptive control of lateral stability.
- An adaptive stability control system with rotational movement of two balancing masses will provide additional control of the longitudinal distribution of normal loads and can be necessary if the platform has a racer for special equipment.
- The principles of stabilizing lateral stability considered can be applied to special small-sized mobile unmanned vehicles, regardless of the type of propulsion.
Further research in this direction involves constructing mathematical models to estimate the necessary kinematic, energy, and power parameters of the adaptive stabilization system of lateral stability as well as testing on a mock-up of a mobile platform.
ADDITIONAL INFORMATION
Authors’ contribution. All authors made a substantial contribution to the conception of the work, acquisition, analysis, interpretation of data for the work, drafting and revising the work, final approval of the version to be published and agree to be accountable for all aspects of the work. R.Yu. Dobretsov ― preparation of the article plan, distribution of roles in the authors’ team, formulation of the idea for variants of balancing systems and principles of system management, text editing (consolidation of parts of the manuscript), general guidance, solving methodological and practical issues; A.O. Kaninsky ― elaboration of the variants of systems, creating images, description of systems, making calculations, working on the text together with co-authors; D.S. Popov and I.B. Pryamitsyn ― study of issues related to kinematics and principles of development and design of the reconfigurable chassis, writing the corresponding part of the manuscript.
Competing interests. The authors declare no any transparent and potential conflict of interests in relation to this article publication.
Funding source. The results were obtained as part of the state task FNRG-2022-0026 1022031700007-3-2.2.2 “Research on ways to implement the adaptive stability of a ground-based modular reconfigurable robotic chassis of a light class when moving in a non-deterministic environment with various payloads” of Russian Ministry of Education and Science in 2023.
ДОПОЛНИТЕЛЬНАЯ ИНФОРМАЦИЯ
Вклад авторов. Все авторы внесли существенный вклад в разработку концепции, проведение исследования и подготовку статьи. Р.Ю. Добрецов ― составление плана статьи, распределение ролей в авторском коллективе, формулировка идеи построения вариантов схем уравновешивания и принципов управлению системой, работа над текстом (сведение частей рукописи), общее руководство, а также решение методологических и практических вопросов; А.О. Канинский ― проработка вариантов схем, работа над иллюстрациями, описанием схем, проведение расчётов, работа над текстом совместно с соавторами; Д.С. Попов и И.Б. Прямицын ― проработка вопросов, связанных с кинематикой и принципами построения, конструкции реконфигурируемого шасси, построение соответствующей части рукописи. Авторы подтверждают соответствие своего авторства международным критериям ICMJE (все авторы внесли существенный вклад в разработку концепции, проведение исследования и подготовку статьи, прочли и одобрили финальную версию перед публикацией).
Конфликт интересов. Авторы декларируют отсутствие явных и потенциальных конфликтов интересов, связанных с публикацией настоящей статьи.
About the authors
Roman Yu. Dobretsov
Russian State Scientific Center for Robotics and Technical Cybernetics (RTC); Peter the Great St. Petersburg Polytechnic University
Email: dr-idpo@yandex.ru
ORCID iD: 0000-0002-3827-0220
SPIN-code: 6168-3091
Dr. Sci. (Engineering), Professor of the Higher School of Transport
Russian Federation, Saint Petersburg; 29 Polytechnicheskaya street, 195251 Saint PetersburgAndrey O. Kaninsky
Peter the Great St. Petersburg Polytechnic University
Author for correspondence.
Email: kaninsky@yandex.ru
ORCID iD: 0000-0002-3057-1504
SPIN-code: 6057-7632
Postgraduate of the Higher School of Transport
Russian Federation, 29 Polytechnicheskaya street, 195251 Saint PetersburgDmitrii S. Popov
Russian State Scientific Center for Robotics and Technical Cybernetics (RTC)
Email: d.popov@rtc.ru
ORCID iD: 0000-0003-4575-9195
SPIN-code: 2474-9479
Head of the Design Bureau
Russian Federation, Saint PetersburgIgor B. Pryamitsyn
Russian State Scientific Center for Robotics and Technical Cybernetics (RTC)
Email: pib@rtc.ru
ORCID iD: 0009-0007-1085-3233
SPIN-code: 5769-7603
Head of Department
Russian Federation, Saint PetersburgReferences
- Ushiroda Y, Sawase K, Takahashi N, et al. Development of Super AYC. Technical review. 2003;15:73–76.
- Ghosh J, Tonoli A, Amati N. A torque vectoring strategy for improving the performance of a rear wheel drive electric vehicle. In: 2015 IEEE Vehicle Power and Propulsion Conference. Motnreal: IEEE, 2015. doi: 10.1109/VPPC.2015.7352887
- Forsyth RW, inventor; Lockheed Corp., assignee. Amphibious star-wheeled vehicle. United States Patent US 3348518 A. 1967 Oct 24. Cited: 09.09.2023. Available from: https://patentimages.storage.googleapis.com/7f/6e/fd/827d0492ed9502/US3348518.pdf
- Mamiti GI, Pliev SKh, Tedeev VB. Calculation of stability of a tricycle with a tilting body. Vestnik mashinostroeniya. 2015;7:30–34. (In Russ). EDN: WFAOPX
- Bao L, Dobretsov RYu, Voinash SA, et al. On the possibility of increasing the controllability and stability of movement of a wheeled vehicle by using controlled differentials. Transportnoe, gornoe i stroitelnoe mashinostroenie: nauka i proizvodstvo. 2023;19:84–91. (In Russ). EDN: UYIGMO doi: 10.26160/2658-3305-2023-19-84-91
- Dobretsov RYu, Porshnev GP. Car: turning, stability, cross-country ability. Saint Petersburg: Politekhn. un-t; 2011.
- Pavlov VV, Kuvshinov VV. Theory of motion of multi-purpose tracked and wheeled vehicles: textbook. for universities. Cheboksary: Cheboksarskaya tipografiya №1; 2011. (In Russ).
- Petrenko AM. Stability of special vehicles: textbook. allowance. Moscow: MADI; 2013. (In Russ).
- Chase R, Pandya A. A Review of Active Mechanical Driving Principles of Spherical Robots. Robotics. 2012;1(1):3–23. doi: 10.3390/robotics1010003
- Nosova NA, Galyshev VD, Volkov YuP, et al. Calculation and design of tracked vehicles: a textbook for universities. Leningrad: Mashinostroenie; 1972. (In Russ).
- Litvin FL. Gear theory. Moscow: Nauka; 1968. (In Russ).
- Taits BA, Markov NN. Precision and control of gears. Linigrad: Mashinostroenie; 1978. (In Russ).
Supplementary files








