Комбайн для уборки кочанной капусты в условиях малых форм хозяйствования
- Авторы: Алатырев А.С.1, Емельянов Н.А.1, Никитин В.С.1, Кручинкина И.С.1, Алатырев С.С.1
-
Учреждения:
- Чувашский государственный аграрный университет
- Выпуск: Том 91, № 2 (2024)
- Страницы: 155-165
- Раздел: Новые машины и оборудование
- Статья получена: 29.09.2023
- Статья одобрена: 02.06.2024
- Статья опубликована: 19.07.2024
- URL: https://journals.eco-vector.com/0321-4443/article/view/595938
- DOI: https://doi.org/10.17816/0321-4443-595938
- ID: 595938
Цитировать
Полный текст
Аннотация
Введение. В настоящее время в России кочанная капуста возделывается почти во всех регионах. Однако, объёмы её производства недостаточны. Дальнейшее динамическое увеличение объёмов товарного производства капусты не представляется возможным из-за необеспеченности овощеводства современной капустоуборочной техникой.
Цель исследования — разработка нового капустоуборочного комбайна с учётом современных условий овощеводства и оценка качества его функционирования.
Материалы и методы. В рамках поставленной цели разработан опытный образец малогабаритного капустоуборочного комбайна, обоснован режим работы его основного листоотделительного устройства, проведена оценка качества функционирования в производственных условиях согласно требованиям АИСТ 8.7 – 2013.
Результаты и обсуждение. В ходе испытания наблюдалась ярко выраженная поточность выполнения всех операций капустоуборочным комбайном. Показатели работы комбайна выгодно отличаются от показателей агротехнических требований, в частности рабочая скорость в среднем на 53% выше скорости, предусмотренной АТТ, повреждения кочанов до 9%, загрязнённость продукции практически отсутствует.
Заключение. Полевые испытания показали достаточно высокую работоспособность разработанного капустоуборочного комбайна, соответствие качественных показателей работы агротехническим требованиям в современных условиях овощеводства.
Полный текст
ВВЕДЕНИЕ
На сегодняшний день в России кочанная капуста возделывается почти во всех регионах, среди которых наибольшие площади возделывания имеют Московская область, Ставропольский край, Республика Марий Эл, Ульяновская и Ростовская области, соответственно. Однако, следует заметить, что по данным Росстата объёмы производства кочанной капусты в последние годы снижаются. Так, в 2022 г. в России площади под капустой в хозяйствах всех категорий составили около 80 тыс. га, что на 10 тыс. га меньше показателя пятилетней давности. В то же время, потребление капусты населением страны составляет лишь 37% [1] от установленной медицинской нормы. Вместе с тем, дальнейшее динамичное увеличение объёмов товарного производства её не представляется возможным из-за необеспеченности овощеводов высокоэффективной специальной капустоуборочной техникой, так как около 60% трудозатрат приходится на уборку и закладку продукции на хранение. Учитывая это обстоятельство, во многих развитых странах мира в течение ряда лет занимаются разработкой техники для уборки капусты [2–5]. В частности, в последние годы разработаны опытные и промышленные образцы капустоуборочных машин в Германии, Дании [6, 7], США [8], Канаде [9], а также Японии и Китае [10–14].
В России заметные успехи в разработке капустоуборочной техники были достигнуты в конце второй половины прошлого века, когда товарным овощеводством в основном занимались крупные специализированные хозяйства (колхозы и совхозы) с площадью посадок 300–600 га. Применительно для этих хозяйств была разработана технология поточной уборки кочанной капусты [15] с применением капустоуборочных машин для сплошной уборки и стационарной линии её доработки до товарного вида со сложным оборудованием, отличающаяся высокой капиталоёмкостью и требующая значительных материальных и трудовых затрат.
В настоящее время в России производством кочанной капусты в основном занимаются предприятия малых форм хозяйствования (хозяйства населения, крестьянско-фермерские хозяйства и индивидуальные предприниматели). В этих условиях разработанная ранее сложная капиталоёмкая технология, следовательно и технические средства того времени, а также дорогостоящая импортная техника, поступающая на наш рынок в ограниченном количестве в условиях жёстких санкций со стороны недружественных стран, не находят широкого применения в современном овощеводстве.
ЦЕЛЬ ИССЛЕДОВАНИЙ
Целью исследования является разработка нового капустоуборочного комбайна с учётом современных условий овощеводства и оценка качества его функционирования.
МАТЕРИАЛЫ И МЕТОДЫ
В рамках поставленной цели нами разработан опытный образец малогабаритного капустоуборочного комбайна для малых форм хозяйствования.
Новый капустоуборочный комбайн существенно модернизирован по сравнению с известными образцами. Техническая новизна его рабочих органов защищена авторами настоящей статьи патентами на изобретения Российской Федерации [16–20].
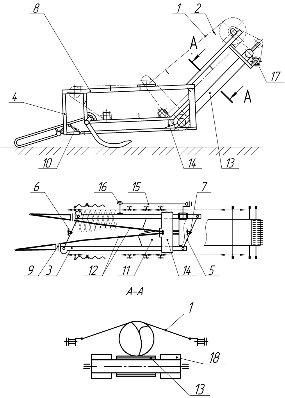
Комбайн содержит режущий аппарат 1 (рис. 1) с устройством 2 для предварительной сепарации вороха капусты, переборочный стол в виде транспортёр-обрезчика 3 с основным вальцевым листоотделителем 4, пассивный нож 5 для повторной обрезки кочерыг нетоварно срезанных кочанов, а также элеватор 6 со специальным отгрузочным устройством 7, работающим в щадящем режиме.
Рис. 1. Схема компоновки капустоуборочного комбайна: а — общий вид; b — разрез вальца А-А, c — вид Б.
Fig. 1. Layout diagram of the cabbage harvester: а — the general view; b — the A-A section of the roller, c — the view B.
Конструкция режущего аппарата (рис. 2), как было замечено, «основана на использовании колеблющихся рабочих поверхностей для выравнивания полёглых растений капусты при подводе к режущему устройству. Он содержит прижимное устройство в виде эластичного сетчатого полотна 1 с поперечными жёсткими распорками 2, колеблющиеся боковины 3, скреплённые шарнирно между собой в виде паралеллограммного механизма П-образными передней 4 и задней 5 подвесками, закреплёнными своей центральной частью посредством шарниров 6 и 7 к раме 8. Передние части боковин 3 (лифтеры) имеют в продольно-вертикальной плоскости возможность копировать рельеф почвы за счёт шарниров 9 под действием пружин 10, а задние части боковин оснащены плоскими клиновидными ножами 11. Кроме того, боковины 3 снабжены направляющими 12, соединёнными с ними шарнирно в передней части» [21].
Рис. 2. Конструктивно-технологическая схема режущего аппарата нового капустоуборочного комбайна.
Fig. 2. The design and technological diagram of the cutter of the new cabbage harvester.
«В аппарате для отвода срезанных кочанов и сопутствующих отходов из зоны резания установлен под хвостовой частью прижимного устройства выносной ленточный транспортёр 13, а перед ним размещён переходник 14 с фигурной передней кромкой, плотно прилегающей к поверхности ножей, с двумя продолговатыми отверстиями, образующими скользящие пары с колеблющимися направляющими 12. Режущий аппарат приводится в движение пространственным кривошипно-шатунным механизмом 15, кинематически связанным с одной из боковин посредством шарового шарнира 16» [21].
Устройство 2 для предварительной сепарации вороха капусты в режущем аппарате, выполненное в виде вальца 17, собранного из упругих зубчатых дисков, размещено в конце выносного транспортёра 13.
Заметим, что в режущем аппарате полотно выносного транспортёра 13 выполнено, как было предусмотрено патентом № 2743189, уже полотна 1 прижимного транспортёра, нижний отклоняющий барабан его в свободной от полотна части снабжён радиальными рёбрами 18.
Такое техническое решение, удачно реализованное в режущем аппарате нового капустоуборочного комбайна, позволяет предварительно отсеивать капустную листву на землю в процессе транспортирования вороха капусты на выносном транспортёре 13, тем самым функционально снизить интенсивность поступления их на листоотделитель 17. Это позволяет функционировать листоотделителю 17 более эффективно.
В капустоуборочном комбайне основной листоотделитель 4 (см. рис.1) выполнен также в виде вращающегося вальца, установленного над полотном переборочного транспортёр-обрезчика 3 с зазором за выгрузной зоной режущего аппарата под углом β к направлению движения потока капусты.
Валец 4 обшит мягким резинотканевым полотном 8 c эластичными шипами (см. разрез А-А рис. 1).
Переборочный стол в виде транспортёр-обрезчика 3 (см. рис. 1) выполнен из стальных пластин, снабжённых с отверстиями 9, установленных на цепных тяговых контурах так, чтобы путь следования их отверстий пересекалась местом расположения ножевого устройства 5.
Элеватор 6 закреплён на раме комбайна со смещением от зоны расположения вальца 4 напротив пути следования отверстий 9 шарнирно, что позволяет при необходимости устанавливать его в рабочее и транспортное положения с помощью гидроцилиндра 10.
Полотно элеватора 6 имеет желобообразную форму, выполнено из изогнутых по форме желоба прорезиненных стальных полос, а также снабжён упругими скребками на жёсткой основе.
Специальное отгрузочное устройство комбайна, позволяющее отгружать кочаны бережно и точечно в кузов сопровождающего транспортного средства или в контейнеры, установленные в нем, содержит жёсткое основание 11 (см. рис. 1, c), упругий лоток 12 и гибкий фартук 13. Нижний провисающий конец гибкого фартука прижат к упругому лотку по краям с помощью упругих строп 14.
Рабочие органы в комбайне приводятся в движение от ВОМ 15 трактора с помощью цепных передач 16 через соответствующие редукторы 17.
В опытном образце малогабаритного капустоуборочного комбайна в достаточной степени оптимизированы ранее [22–25] конструкция и параметры режущего аппарата с устройством для предварительной сепарации вороха капусты, переборочного стола в виде транспортёра-обрезчика, а также элеватора со специальным отгрузочным устройством. В этой связи, в дальнейшем ограничимся только обоснованием режима работы основного листоотделителя. Эффективность функционирования его существенным образом зависит от угловой скорости вращения вальца 4 (см. рис. 1).
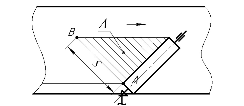
Заметим, что в данном устройстве для избегания скопления кочанов перед вальцом необходимо сообщать им в ходе взаимодействия с ним кинетическую энергию Т в таком количестве, чтобы её хватило откатываться на полотне транспортёр-обрезчика за пределы зоны действия вальца (рис. 3), т.е. на пути от А до В (это наиболее худший случай). В противном случае кочаны снова будут доставлены полотном транспортёр-обрезчика к вальцу и образуется там затор.
Рис. 3. Зона действия вальца.
Fig. 3. The drum operation area.
Чтобы выяснить выполнение этого условия, рассмотрим процесс центрального взаимодействия кочана с вальцом 4. Кочан капусты в результате взаимодействия с вальцом (см. рис. 1, b) приобретает в точке касания А скорость
(1)
где — угловая скорость вращения вальца; — диаметр вальца.
При этом мгновенная угловая скорость кочана
(2)
(здесь — диаметр кочана), если принять в качестве мгновенного центра точку Р.
Тогда линейная мгновенная скорость центра кочана может быть определена по формуле:
Или с учётом (1)
(3)
Кочан капусты, имея скорость приобретёт кинетическую энергию в плоскопараллельном движении
где — масса кочана; — момент инерции кочана относительно оси, проходящей через его центр С.
Отсюда, считая кочан капусты как однородный шар, т.е. приняв , , получим
или с учетом (3)
(4)
Приобретая данную кинетическую энергию, кочан начинает катиться на полотне транспортер-обрезчика в направлении, перпендикулярном оси вращения вальца, совершая элементарную работу сил трения качения (рис. 4)
где — коэффициент трения качения кочана на полотне транспортёр-обрезчика; — ускорение свободного падения; — элементарное перемещение центра кочана в результате взаимодействия с вальцом.
Рис. 4. Схема трения качения кочана на полотне транспортёр-обрезчика.
Fig. 4. Diagram of rolling friction of a cabbage head on the conveyor-cutter belt.
Проинтегрировав последнее выражение в пределах, соответствующих перемещению кочана из наиболее худшего положения (точки А), где работа равна 0, в конечное В, получим:
(5)
где — длина вальца; — угол расположения вальца относительно потока вороха капусты.
Теперь, решая совместно выражения (4) и (5), получим формулу для определения угловой скорости вальца:
(6)
Здесь коэффициент введён для того, чтобы учесть влияние на кинематику абсолютного движения от полотна транспортёр-обрезчика после взаимодействия с вальцом.
При исходных числовых значениях , , , , , проведя расчёт по формуле (6), получим .
Данный режим работы заложен в конструкции опытного образца комбайна.
Рабочий процесс комбайна проверялся и оценивался на капустном поле ООО «Деметра» республики Марий Эл. Условия, при которых проводили исследования, были типичными для этой зоны (табл. 1).
Таблица 1. Характеристика условий проведения полевых исследований капустоуборочного комбайна
Table 1. Characteristics of the conditions for conducting field research of a cabbage harvester
Наименование показателей* | Средние значения показателей |
Сорт капусты Рельеф Микрорельеф Схема посадки, мм Ширина основных междурядий, мм Ширина стыков междурядий, мм Прямолинейность рядов: а) количество растений, расположенных на осевой линии, % б) в зоне ± 100мм, % в) в зоне ± 200мм, % Состояние и расположение листьев, % а) стоящие б) полулежащие в) лежащие Расположение кочанов относительно поверхности почвы, % а) от 0 до 50 мм б) от 50 до 100мм в) свыше 100мм | Парадокс Ровный с продольным уклоном не более 5° Слабо гребнистый 700×500 690÷700 690÷710 54,5 35,0 10,5 46,5÷60.0 40,0÷54,5 7,1÷10,0 13,5÷15,9 65,0÷70,0 17,0÷25,5 |
* наименования показателей определены согласно СТО АИСТ 8.7-2013.
Общий фон поля, где проводили исследования, показан на рис. 5.
Рис. 5. Вид капустного поля, где проводились исследования капустоуборочного комбайна.
Fig. 5. View of a cabbage field where the cabbage harvester research was carried out.
Полевые исследования подготовили согласно требованиям АИСТ 8.7-2013. При этом были проведены следующие подготовительные работы. Поле разделили на загоны шириной В3 из 28…30 рядов. В проходах между загонами капусту убирали вручную, подготавливая полосу для первого прохода шириной В1 = 7,7 м (рис. 6). В начале и конце загонов площади были свободны, поэтому эти площади использовали в качестве поворотных полос. При проведении исследований выбрали схему движения агрегатов, показанную на рис. 6.
Рис. 6. Схема движения агрегатов при проведении исследований комбайна.
Fig. 6. Scheme of motion of the units during the combine harvester research.
Во время полевого исследования капустоуборочного комбайна технологический процесс протекал следующим образом. Уборочный агрегат двигался по убранной части поля, направляя режущий аппарат 1 (см. рис. 1) по убираемому ряду.
Во время испытаний уборочный агрегат и транспортное средство передвигались по убранной части поля (рис. 7), а лифтёры и направляющие режущего аппарата выравнивали полёглые растения капусты (см. рис. 2) и сводили к паре колеблющихся относительно друг друга ножей 11. При совместном действии ножи сводили кочаны в середину режущего аппарата и в последующем срезали в зоне расположения розеточных листьев. В результате происходило отделение последних от кочанов. Далее срезанные кочаны отводились прижимным транспортёром на узкое полотно выносного транспортёра 13, а большая часть листьев капусты, потерявшие связь с кочанами, сразу же отводились ребордами 18 нижнего отклоняющего барабана на землю. При этом часть оставшихся листьев на выносном узком транспортёре также проваливались на землю с краёв полотна в ходе транспортирования к вальцевому листоотделителю 17. Это позволило в последующем улучшить условия сепарирования листьев капусты на вальцевом листоотделителе.
Рис. 7. Производственная проверка комбайна в полевых условиях: a — вид спереди; b — вид сзади.
Fig. 7. Production testing of the combine in the field conditions: a — the front view; b — the rear view.
Далее поток кочанов и оставшиеся в потоке свободные листья подходили к основному листоотделителю 4, который откатывал кочаны в дальний угол транспортёр-обрезчика, где формировался поток кочанов в ряд. В то же время листья капусты проходили под вальцом 4 и в последующем отгружались на землю.
Заметим, обшивка вальца 4 мягким резинотканевым полотном позволяла активизировать процесс откатывания кочанов в дальний угол транспортёр-обрезчика и оберегала их от повреждений.
Таким образом, в комбайне происходило более полное отделение капустных листьев, что улучшило условия работы рабочих, инспектирующих кочаны.
В ходе инспектирования за столом доработки рабочие отделяли больные и незрелые кочаны, а нестандартно срезанные кочаны с длинными кочерыжками устанавливали в отверстиях 9 транспортёр-обрезчика для повторной обрезки по принципу гильотины при встрече с пассивным ножом 5.
Далее кочаны и вновь образовавшиеся листья проходили между упругими прорезиненными отражателями 17 на элеватор. Здесь капустные листья, появившиеся после повторной обрезки, снова отсеивались между полосками полотна элеватора на землю, а кочаны капусты отгружались в щадящем режиме в контейнеры (см. рис. 7), установленные на платформе транспортного средства. При этом, кочаны сначала падали на упругий лоток 12 (см. рис. 1, с), а затем проходили в клинообразной щели между лотком и фартуком 13, теряя скорость движения, что оберегало их от повреждений.
После работы капустоуборочный комбайн переводился в транспортное положение (рис. 8).
Рис. 8. Капустоуборочный комбайн в транспортном положении.
Fig. 8. The cabbage harvester in transport mode.
РЕЗУЛЬТАТЫ И ОБСУЖДЕНИЕ
Испытания капустоуборочного комбайна прошли успешно. В комбайне наблюдалась ярко выраженная поточность (ритмичность) выполнения всех операций, начиная от выравнивания кочанов, их среза и отгрузки в контейнеры. Качественные показатели комбайна приведены в табл. 2, внешний вид полученной продукции представлен на рис. 9, а качество среза — на рис. 10.
Таблица 2. Качественные показатели работы капустоуборочного комбайна
Table 2. Qualitative performance indicators of the cabbage harvester
Показатели | Значения показателей | Значения показателей по агротехническим требованиям (АТТ) |
Рабочая скорость, м/с Убрано стандартных кочанов, % Потери кочанов, % Повреждено кочанов, % в т.ч. слабой степени средней степени сильной степени Полнота удаления капустных листьев, % Загрязненность, % | 0,9–1,5 100 0 8–9 8–9 0 0 95 нет | не менее 0,78 95 не более 5 не более 9 не более 5 |
Рис. 9. Вид продукции, полученной при комбайновой уборке.
Fig. 9. Type of products obtained by combine harvesting.
Рис. 10. Фрагмент убранной части поля на фоне общей плантации.
Fig. 10. A fragment of the harvested part of the field with the general plantation on the background.
Сравнивая показатели работы капустоуборочного комбайна с показателями АТТ (см. табл. 2), убеждаемся в том, что они выгодно отличаются от последних. Так, рабочая скорость в среднем на 53% выше скорости, предусмотренной АТТ, повреждения до 9%, загрязнённость продукции практически отсутствует. Комбайн малогабаритный, следовательно, является менее капиталоёмким по сравнению с указанными прототипами.
ЗАКЛЮЧЕНИЕ
- Разработан новый капустоуборочный комбайн, отвечающий современным специфическим условиям малых форм хозяйственной деятельности в овощеводстве.
- Капустоуборочный комбайн позволяет получать товарную продукцию непосредственно в полевых условиях, заменяя капиталоёмкую сложную технологию поточной уборки капусты, рассчитанную на её крупное товарное производство.
- Полевые исследования показали достаточно высокую его работоспособность, соответствие качественных показателей работы агротехническим требованиям, в частности рабочая скорость в среднем выше на 53% от скорости, предусмотренной АТТ, убрано стандартных кочанов — 100%, наблюдались повреждения кочанов лишь в слабой степени в пределах 8–9%.
ДОПОЛНИТЕЛЬНАЯ ИНФОРМАЦИЯ
Вклад авторов. Авторы подтверждают соответствие своего авторства международным критериям ICMJE (все авторы внесли соответствующий вклад в проведение исследования и подготовку статьи, прочли и одобрили финальную версию перед публикацией). Авторский вклад распределён следующим образом: А.С. Алатырев — написание текста рукописи; Н.А. Емельянов — обзор литературы и участие в проведении исследований; В.С. Никитин — создание изображений и участие в проведении исследований; И.С. Кручинкина — редактирование текста; С.С. Алатырев — редактирование текста, экспертная оценка, утверждение финальной версии статьи.
Конфликт интересов. Авторы декларируют отсутствие явных и потенциальных конфликтов интересов, связанных с публикацией настоящей статьи.
Источники финансирования. Опытный образец комбайна разработан и изготовлен на средства, выделенные Фондом содействия инновациям на основе гранта «СТАРТ-1». Авторы выражают искреннюю признательность Фонду.
ADDITIONAL INFORMATION
Authors’ contribution. The authors confirm that their authorship meets the international ICMJE criteria (all authors made relevant contributions to the research and preparation of the article, read and approved the final version before publication). The author’s contribution is distributed as follows: A.S. Alatyrev — writing the text of the manuscript; N.A. Emelyanov — literature review and participation in research; V.S. Nikitin — creating images and participating in research; I.S. Kruchinkina — text editing; S.S. Alatyrev — text editing, expert evaluation, approval of the final version of the article.
Competing interests. The authors declare that there are no obvious or potential conflicts of interest related to the publication of this article.
Funding source. The prototype of the combine harvester was developed and manufactured with funds allocated by the Innovation Promotion Fund on the basis of the START-1 grant. The authors express their sincere gratitude to the Foundation.
Об авторах
Алексей Сергеевич Алатырев
Чувашский государственный аграрный университет
Автор, ответственный за переписку.
Email: Leha.alatyrev@mail.ru
ORCID iD: 0000-0003-3059-9352
SPIN-код: 8101-2562
канд. техн. наук, заведующий кафедрой «Транспортно-технологические машины и комплексы»
Россия, ЧебоксарыНиколай Андреевич Емельянов
Чувашский государственный аграрный университет
Email: emelya.kolya19977@yandex.ru
ORCID iD: 0000-0003-0475-2157
SPIN-код: 1054-1770
аспирант кафедры «Транспортно-технологические машины и комплексы»
Россия, ЧебоксарыВадим Сергеевич Никитин
Чувашский государственный аграрный университет
Email: vadim-nikitin-97@inbox.ru
ORCID iD: 0000-0002-2733-1032
SPIN-код: 8878-4407
аспирант кафедры «Транспортно-технологические машины и комплексы»
Россия, ЧебоксарыИрина Сергеевна Кручинкина
Чувашский государственный аграрный университет
Email: irinka58.84@mail.ru
ORCID iD: 0000-0003-4995-8706
SPIN-код: 1986-5266
канд. техн. наук, доцент кафедры «Математика, физика и информационные технологии»
Россия, ЧебоксарыСергей Сергеевич Алатырев
Чувашский государственный аграрный университет
Email: S_Alatyrev1955@mail.ru
ORCID iD: 0000-0002-4694-2381
SPIN-код: 7789-5968
д-р техн. наук, профессор кафедры «Транспортно-технологические машины и комплексы»
Россия, ЧебоксарыСписок литературы
- Онежкина О.Н. Функционирования и развитие рынка овощной продукции: дисс. … канд. эконом. наук. Ставрополь, 2020.
- Алатырев С.С., Кручинкина И.С., Алатырев А.С. Техника и технологии для уборки кочанной капусты (обзор, теория, технологический расчет, развитие). Чебоксары: ЧГУ, 2020.
- Алатырев С.С., Савеличев К.А., Алатырева И.С., Григорьев А.О. Новые технологии и техническое средство для уборки капусты // Тракторы и сельскохозяйственные машины. 2008. № 7. С. 16–17. EDN: JUXOCV
- Zhou C., Luan F., Fang X., Chen H. Design of cabbage pulling-out test bed and parameter optimization test // CET. 2017. Vol. 62. P. 1267–1272. doi: 10.3303/CET1762212
- Alatyrev S.S., Kruchinkina I.S., Alatyrev A.S. et al. Technology and parameters of cabbage machine harvesting by careful stacking of heads in containers // IOP Conf. Ser.: Earth Environ. Sci. 2020. Vol. 433. P. 012005. doi: 10.1088/1755-1315/433/1/012005
- Gao T.H., Wang T.B., Zhou Z.C. Optimization experiment of influence factors on greenhouse vegetable harvest cutting // Transactions of the CSAE. 2015. Vol. 31 (19). P. 15–21. doi: 10.5424/sjar/2023211-19979
- Song K.S., Hwang H., Hong J.T. Automatic cabbage feeding, piling, and unloading system for tractor implement Chinese cabbage harvester // IFAC Proceedings. 2000. Vol. 33 (29). P. 259.
- Patent USA 3497013 / February 24, 1970. Baker W.M. Cabbage and lettuce harvesters. Accessed: 29.09.2023. Available from: https://patentimages.storage.googleapis.com/98/e5/6d/e5560688caf08d/US3497013.pdf
- Chagnon R., Eng P., Charles M.T., et al. Development of a Cabbage Harvester // ASABE. 2004. P. 41025. doi: 10.13031/2013.17892
- Murakami N., Otsuka K., Inoue K., Sugimoto M. Agricultural Machinery. 1999. Vol. 61, N 5. P. 93 doi: 10.11357 / jsam 1937.61.5_93
- Hachiya M., Amano T., Yamagata M., Kojima M. Development and Utilization of a New Mechanized Cabbage Harvesting System for Large Fields // Japan Agricultural Research Quarterly. 2004. Vol. 38, N 2. P. 97–103.
- Kanamitsu M., Yamamoto K. Development of Chinese cabbage harvester // JARQ. 1996. Vol. 30, N. 1. P. 35.
- Du D.D., Fei G.Q., Wang J. Development and experiment of self-propelled cabbage harvester // Transactions of the Chinese Society of Agricultural. Engineering. 2015. Vol. 31, N 14. P. 16. doi: 10.11975/j.issn.1002-6819.2015.14.003
- Geng D.Y., Zhand T.Z., Luo H. Analysis of agricultural machinery development trend in our country // Transactions of Chinese Society for Agricultural Machinery. 2004. N 4. P. 208.
- Тихонов Н.И. Обоснование технологий и технических средств для уборки капусты: дис. … д-ра с.-х. наук. Москва, 1996.
- Авторское свидетельство СССР №1175389 / 30.08.85. Бюл. №32. Алатырев С.С., Романовский Н.Н., Городков В.П. Рабочий орган капустоуборочной машины. EDN: LORYMD
- Патент РФ № 2365086 / 27.08.2009. Бюл. № 24. Савеличев К.А., Алатырева И.С., Григорьев А.О. и др. Капустоуборочная машина. EDN: MQSYZX
- Патент РФ № 2527025 / 27.08.2014. Бюл. № 24. Алатырев А.С., Григорьев А.О., Воронин В.В., Алатырев С.С. Отгрузочное устройство капустоуборочной. EDN: ZFQZOH
- Патент РФ № 2743189 / 16.02.2021. Бюл. №5. Кручинкина И.С., Алатырев А.С., Алатырев С.С. Капустоуборочная машина. EDN: XYVWGA
- Патент РФ № 2769128 / 28.03.2022, Бюл. №10. Алатырев А.С., Кручинкина И.С., Алатырев С.С. Капустоуборочный комбайн. EDN: EBLDWW
- Кручинкина И.С., Алатырев А.С., Алатырев С.С., Григорьев А.О. Производственная проверка многовариантного капустоуборочного комбайна // Вестник Воронежского государственного аграрного университета. 2021. Т. 14, № 1(68). С. 27–40.
- Романовский Н.Н., Алатырев С.С. Основные параметры срезающего аппарата капустоуборочных машин // НИПТИМЭСХ НЗ РСФСР Отделение ВАСХНИЛ по Нечернозёмной зоне РСФСР. Л., 1986. Деп. Во ВНИИТЭИ агропром 31.07.86, № 291ВС-86 Деп.
- Алатырев С.С., Савеличев К.А. Новое устройство для товарной обработки кочанов капусты // Техника в сельском хозяйстве. 2009. № 6. С. 50–51.
- Алатырев С.С., Григорьев А.О., Алатырев А.С. Обоснование параметров устройства для отгрузки кочанов капусты в кузов транспортного средства // Тракторы и сельхозмашины. 2015. № 9. С. 11–14. EDN: SKDTJA
- Алатырев С.С., Алатырев А.С., Кручинкина И.С. Улучшение условий сепарирования вороха капусты в капустоуборочном комбайне. В кн.: Наука, технологии, кадры — основы достижений прорывных результатов в АПК : Сборник научно-практических материалов Международной научно-практической конференции, Казань, 26–27 мая 2021 года. Т. XV. Ч. 2. Казань: ТИПКА, 2021. С. 558–566.
Дополнительные файлы













