Enhancement of the lubrication system of an internal combustion engine
- Authors: Aliev S.A.1, Aliev A.Y.1, Aidemirov O.M.1
-
Affiliations:
- Dagestan State Agrarian University named after M.M. Dzhambulatov
- Issue: Vol 91, No 1 (2024)
- Pages: 75-80
- Section: Theory, designing, testing
- Submitted: 20.10.2023
- Accepted: 09.03.2024
- Published: 15.03.2024
- URL: https://journals.eco-vector.com/0321-4443/article/view/611106
- DOI: https://doi.org/10.17816/0321-4443-611106
- ID: 611106
Cite item
Abstract
BACKGROUND: The modernized design of the lubrication system with an individual electric-driven oil pump ensures the oil supply to remote and loaded parts, regardless of the crankshaft speed, starting mode and engine warm-up.
AIM: Study of the main directions for enhancement of the lubrication systems of piston engines in order to assess the option of using an autonomous electric drive.
METHODS: The design of an adjustable inductor electric drive with microprocessor control is proposed as a drive. The ability to keep rotation speed of the pump gears accurately is ensured using a controlled inductor electric motor, depending on the pressure in the lubrication system.
RESULTS: The design and technological implementation of the proposed method of driving an oil pump does not require major changes to the engine design. The layout of the oil pump at the engine is simplified.
CONCLUSIONS: The proposed design of the lubrication system of an internal combustion engine ensures optimal rotation speed of the pump shaft regardless of the operating modes of the piston engine, resulting in an increase in engine operating life.
Keywords
Full Text
BACKGROUND
The lubrication system must completely satisfy the following basic requirements to ensure the durability of moving joints of internal combustion engine (ICE) parts:
- Uninterrupted supply of lubricant to all rubbing surfaces of parts during operation at various speed and load modes, ascents and descents of up to 35%, rolls of up to 25%, changes in the ambient temperature from 323 °K to 223 °K, and as a consequence, alterations in the viscosity of motor oil;
- High degree of removal of wear products from friction surfaces and lubricant, which prevents overheating and corrosion of the mating parts;
- Duration of engine operation under load without overheating the oil, high labor costs for maintenance, and energy costs for oil pump functioning [1].
To meet these requirements, scholars manufacture ICE lubrication systems in combination, which offers lubrication of the crank and connecting rod bearings of the crankshaft, camshaft bearings, and piston head bearings of connecting rods under pressure, timing gears, camshaft cams, pushers, valves, and cylinder mirrors by splashing.
The study aimed to analyze the main routes leading to the improvement of lubrication systems of piston engines for usage in autonomous electric drives.
MATERIALS AND METHODS
Combined lubrication systems comprise a crankshaft- or camshaft-driven oil pump, pressure-reducing valves, oil filters, a ventilated crankcase, and an oil pump running on accumulator batteries for prepumping of oil.
The lubrication systems under consideration, which are widely used for transport ICEs, fail to meet the requirements, including a guaranteed uninterrupted oil circulation and durability of interfaces and energy consumption for the driving unit of moving parts and the oil pump [3].
A cold and low-temperature engine start is at a minimum starting crankshaft speed of 50–100 rpm. Meanwhile, the warm-up mode commences after the engine is started at a minimum crankshaft idle speed of 500–700 rpm. As a result of the decreased rotation speed of oil pump gears and increased viscosity, a dissatisfactory pumping of oil occurs through the system, and oil delivery to peripheral zones is considerably deteriorated. As a result, maintenance of the liquid friction characteristic of operating modes with an adequate layer of oil in the bearings of the crankshaft and camshaft presents difficulty. Depending on film thickness, friction can be borderline, namely, semi-liquid or semi-dry, which substantially increases the wear of ICE parts. The wear of moving parts interfaces is attributed to 75% of cold and low-temperature starts. The engine warms up after accepting of a full load has started, and 25% of engine operation at operating modes. In this regard, ICEs are often equipped with a special pump for the prestart pumping of oil and an autonomous prestart of the PZhD-type engine heater.
The reduction of energy costs for driving oil, fuel, and water pumps and camshafts and fans is very urgent task.
Existing ICE oil pumps mainly suffers from an increased power consumption for their drive and dependence of their performance and oil supply coefficient on the gear rotation speed and the state of their end and radial clearances in the pump housing. Thus, at a high rotation speed of the gears of a gear pump, the flow coefficient decreases substantially. The selected feed coefficient, which is a function of the pump-gear speed, is ranges with 0.6–0.8. The optimal rotation speed should be no more than 3000 rpm [4].
In addition, in unsteady operating modes, violation of the hydrodynamic and boundary conditions of lubrication in friction units inevitably occurs, and as a consequence, wear increases, and scuffing becomes a possibility.
The noted disadvantages should be eliminated through the development an oil pump, for example, a piston type with an autonomous drive, that is independent of the crankshaft or camshaft.
The latter is advisable for use as a starter–generator device of an ICE, which allows the increase in the on-board voltage to 42 V and the power of the power supply system created by the generator to 4 kW [2].
The proposed technical solution allows for the consideration of other options for the ICE lubrication system and various oil pump designs.
RESULTS AND DISCUSSION
On the issue of modernization of the ICE lubrication system, the proposed method of driving an oil pump will enable setting up a pump-gear rotation speed at which oil pressure in the system will ensure oil supply to remote and loaded parts, regardless of the crankshaft speed and mode of ICE starting and warming up [6].
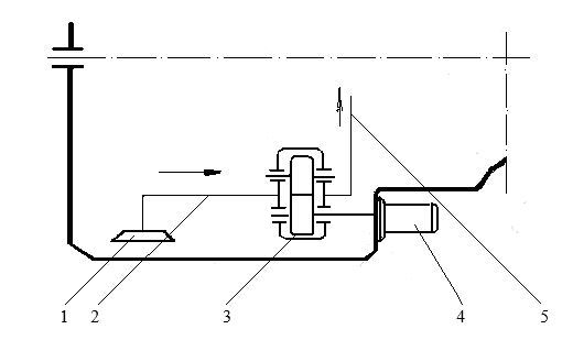
Fig. 1. Diagram of the ICE lubrication system with an electrically driven pump: 1 — an oil header; 2 — a suction part; 3 — an oil pump; 4 — an electric engine for driving the oil pump; 5 — a pressure part.
Рис. 1. Схема смазочной системы ДВС с электроприводным насосом: 1 — маслоприёмник; 2 — всасывающая часть; 3 — масляный насос; 4 — электродвигатель привода масляного насоса; 5 — нагнетательная часть.
Figure 1 presents the proposed ICE lubrication scheme with an electrically driven oil pump located inside the engine crankcase.
As displayed in the diagram, the driving unit of an oil pump considered in the proposed method does not require major changes in engine parts. For such a purpose, the drive shaft of the oil pump can be connected to the shaft of an electric motor, which is powered by a generator and installed depending on the oil pump’s location and design solution (on the pallet, side, or front of the crankcase block).
The precise speed of pump-gear rotation can be guaranteed using a controlled inductor electric motor, namely, a reversible noncontact synchronous-type electric machine (Fig. 2). This machine offers various advantages, including a laminated star rotor 1 without a winding, which has minimal losses, and a multiphase stator winding 2, made in the form of separate concentric coils 3 without crossing the frontal parts, which simplifies the design and production technology and increases reliability during operation [3].
Fig. 2. Design of the active area of an inductive electric motor: 1 — a rotor; 2 — a stator; 3 — a concentric coil.
Рис. 2. Устройство активной зоны индукторного электродвига- теля: 1 — ротор, 2 — статор, 3 — катушка концентрическая.
In addition to the above benefits, the proposed oil pump drive system offers other advantages, namely, the simplified design of the oil pump itself due to the reduced length of its drive shaft and the need to manufacture a skew gear on it; simplified camshaft design due to the absence of the need to manufacture a skew gear on it; reduced load on the camshaft.
A functioning electric drive pump of the lubrication system creates conditions for the regulation of the oil pressure in the system, which depends on the operating modes of the engine.
Different from the classical system, during calculations of the ICE lubrication system with an individual drive pump, the electric motor that drives the oil pump must be selected and the power from the vehicle generator be determined.
The calculation usually starts with determining the heat amount Qo removed by the lubrication system to the environment [5]:
кДж/с,
where Qfuel denotes the heat introduced with the fuel at a given engine power.
The following equation can be used to determine the amount of volume of oil required to remove a given amount of heat from lubricated surfaces :
,
where ρ refers to the oil density, kg/m3; Сo denotes the heat capacity of oil leaving the friction unit kJ/(kg°C); means the difference in oil temperature at the inlet and outlet of the lubrication system, in °C.
Weight flow rate of oil considering leakage and other inevitable losses, including oil bypass through the pressure-reducing valve, is computed as follows:
,
where К indicates a coefficient in consideration of leaks; ηo refers to the coefficient of oil supply by the pump, presents the productivity of lubrication pumps, m3/s.
The power required to drive the oil pump is determined using the following equation:
,
where indicates the operating oil volume; ηmech refers to the mechanical efficiency of the pump.
The obtained value Np an electric motor was selected to operate the lubrication system pump, and the power it obtains from the motor vehicle generator is determined.
Calculation of power requirement for driving the oil pump:
- The amount of heat removed from the engine by oil was calculated, given that in modern automobile engines, 1.5%–3% (assuming 2.2%) of the total amount of heat introduced into the engine with fuel is removed:
kJ/s.
- Calculation of the circulating oil flow rate. Mass circulation oil flow rate is computed as follows:
kg/s,
At a specific heat capacity of oil
- Calculation of the stabilization oil consumption:
kg/s.
- Determination of the estimated performance of the pump, in consideration of oil leaks through the radial and end clearances:
kg/s.
- Calculation of the power expended to drive the oil pump:
where Pм = P2 + P1 MPa represents the excess oil pressure in the system (P1 and P2 are the oil pressure in front of and behind the pump, respectively); is pressure head; m3/s indicates volumetric oil consumption.
CONCLUSIONS
The following conclusion was drawn based on the above information. The proposed scheme for a lubrication system of an ICE ensures rotation of the pump shaft at optimal speeds, regardless of the operating modes of the piston engines, resulting in increased engine service life.
ADDITIONAL INFORMATION
Authors’ contribution. A.Y. Aliev ― search for publications, writing the text of the manuscript; O.M. Aidemirov ― editing the text of the manuscript; S.A. Aliev ― editing the text of the manuscript, creating images. Authors confirm the compliance of their authorship with the ICMJE international criteria. All authors made a substantial contribution to the conception of the work, acquisition, analysis, interpretation of data for the work, drafting and revising the work, final approval of the version to be published and agree to be accountable for all aspects of the work.
Competing interests. The authors declares the absence of obvious and potential conflicts of interest.
Funding source. This study was not supported by any external sources of funding.
ДОПОЛНИТЕЛЬНАЯ ИНФОРМАЦИЯ
Вклад авторов. А.Я. Алиев ― поиск публикаций по теме статьи, написание текста рукописи; О.М. Айдемиров ― редактирование текста рукописи; С.А. Алиев ― редактирование текста рукописи, создание изображений. Авторы подтверждают соответствие своего авторства международным критериям ICMJE (авторы внесли существенный вклад в разработку концепции, проведение исследования и подготовку статьи, прочли и одобрили финальную версию перед публикацией).
Конфликт интересов. Авторы декларируют отсутствие явных и потенциальных конфликтов интересов, связанных с публикацией настоящей статьи.
Источник финансирования. Авторы заявляют об отсутствии внешнего финансирования при проведении исследования.
About the authors
Sabir A. Aliev
Dagestan State Agrarian University named after M.M. Dzhambulatov
Author for correspondence.
Email: aliev.777@mail.ru
ORCID iD: 0009-0007-6340-8627
SPIN-code: 5461-5012
Scopus Author ID: 57216152466
Associate Professor, Cand. Sci. (Engineering), Associate Professor of the Automotive Transport Department
Russian Federation, 91 imam Shamil avenue, 367030 MakhachkalaAli Y. Aliev
Dagestan State Agrarian University named after M.M. Dzhambulatov
Email: aliev-47@mail.ru
ORCID iD: 0009-0005-8970-5369
SPIN-code: 3758-3014
Associate Professor, Cand. Sci. (Engineering), Associate Professor of the Automotive Transport Department
Russian Federation, 91 imam Shamil avenue, 367030 MakhachkalaOmar M. Aidemirov
Dagestan State Agrarian University named after M.M. Dzhambulatov
Email: omar1963@yandex.ru
ORCID iD: 0009-0009-4057-6489
SPIN-code: 6333-7895
Associate Professor, Cand. Sci. (Engineering), Associate Professor of the Automotive Transport Department
Russian Federation, 91 imam Shamil avenue, 367030 MakhachkalaReferences
- Khovakh MS, Maslov GS. Avtotraktornye dvigateli. Moscow: Mashinostroenie; 1971.
- Aliev AYa, Rednov FA. Starter-generatornoe ustroystvo dlya perspektivnykh legkovykh avtomobiley. In: Avtomobilnoe elektrooborudovanie, konstruktsii, materialy, tekhnologiya, problemy perevoda ATE na napryazhenie pitaniya 42 V. Tez. Dokl. Mezhdunarodnogo simpoziuma. Suzdalж 2001. С. 24–25.
- Lukanin VN, Shatrov MG. Dvigateli vnutrennego sgoraniya. Moscow: Vysshaya shkola; 2005.
- Efimov SI, Ivashchenko NA, Ivin VI, et al. Dvigatel vnutrennego sgoraniya. Sistemy porshnevykh i kombinirovannykh dvigateley. Moscow: Mashinostroenie; 1985.
- Kolchin AI, Demidov VP. Raschet avtomobilnykh i traktornykh dvigateley. Moscow: Vysshaya shkola; 2002.
- Patent RUS 91108 / 27.01.2010. Fataliev NG, Aliev AYa. Cistema smazki DVS s elek-troprivodnym maslyanym nasosom. [cited: 07.10.2023] Available from: https://elibrary.ru/download/elibrary_38378023_18408334.pdf EDN: PENYJI
Supplementary files



