Improving the technical device for washing root-and-tuber crops
- Authors: Svintsova O.N.1, Shuhanov S.N.1, Khabardin V.N.1
-
Affiliations:
- Irkutsk State University of Agriculture
- Issue: Vol 91, No 1 (2024)
- Pages: 39-44
- Section: New machines and equipment
- Submitted: 10.01.2024
- Accepted: 01.04.2024
- Published: 15.03.2024
- URL: https://journals.eco-vector.com/0321-4443/article/view/625522
- DOI: https://doi.org/10.17816/0321-4443-625522
- ID: 625522
Cite item
Abstract
BACKGROUND: Achievements of agrarian science ensure the competitive development of agricultural production. The key place in solving the problems of which is occupied by technologies and machines of the agro-industrial sector. One of the main directions of the functioning of agriculture is animal husbandry, in particular the feeding of livestock and poultry. An increase in the output per each feed unit is facilitated with preparing them for feeding, including washing and chopping root-and-tuber crops as the most important component of the diet of farm animals. Improvement of these technical devices helps to improve the quality indicators of their operation.
AIM: Improving the device for washing root-and-tuber crops with the new patent-worthy technical solution.
METHODS: Study of the state of the issue on this topic using a literature sources review. Patent search for technical devices for washing root-and-tuber crops. Studying the principle of their operation and design features. Analysis and generalization of the information obtained for the implementation of the new design solution.
RESULTS: A study of the state of the issue of preparing root-and-tuber crops for feeding to farm animals, the conducted patent search and analysis of the studied material revealed that the existing devices for washing root-and-tuber crops do not meet the requirements. The main disadvantage is the low quality of the technological process performed. The use of a number of physical phenomena, such as gravity, friction, pressure, the interaction of fluid (air or water) with the material being processed, made it possible to solve the complex technical problem of creating a technical device at a whole new level.
CONCLUSIONS: Thus, based on the adopted technical solutions, the device for washing root-and-tuber crops has been improved at the level of patentability, which makes it possible to improve the quality of processing of root-and-tuber crops, including stabilizing the process of their unloading from the device.
Full Text
BACKGROUND
Achievements in agricultural science ensure the competitive development of agricultural production [1–3]. Technologies and machinery of the agro-industrial complex play a key role in addressing its associated challenges [4, 5]. One of the main areas of agricultural operations is animal husbandry, particularly the livestock and poultry feeding. The returns increase from each feed unit is facilitated by feed preparation, specifically the washing and chopping of root and tuber crops, which are crucial components of the diet of farm animals. Numerous studies were dedicated to mechanization of these processes [6–10]. Improvement of these technical units allows to enhance the quality indicators of their performance.
STUDY AIM
The aim of this work was to improve the unit (for washing root and tuber crops) through a new technical solution that meets the criteria for patentability.
MATERIALS AND METHODS
Research on the state of the art in this field was conducted through a review of literature sources and a patent search for technical devices for washing root and tuber crops. The principles of their functioning and design features were studied. The information obtained was analyzed and summarized to develop a new design solution.
RESEARCH RESULTS
Existing installations (for washing root and tuber crops) have several disadvantages. For example, a technical device (for sorting and washing vegetables and fruits) consists of a loading hopper installed in a container with liquid of the rotating drum equipped with calibration holes [11]. The main disadvantage of this installation is its design complexity.
Another machine (for washing root and tuber crops) consists of a loading device, a container with water, and a drum mounted horizontally inside the container. The drum, driven into rotation, is divided into alternating injection and exhaust sections. The exhaust sections are equipped with holes around the drum circumference and blades fixed at an angle to the drum surface. Additionally, the blades in the injection sections are placed towards the rotational movement of the drum, while the blades in the exhaust sections are oriented against the drum rotation. A root and tuber crop ejector is mounted inside the drum’s chamber [12].
The key drawback of this installation is its inability to wash root and tuber crops with sufficient quality. For example, at low drum rotation speeds, the injection and exhaust sections do not perform their functions properly. Consequently, the washing process is slowed down, and some of the root and tuber crops remain in the drum cavity after unloading.
The washing of root and tuber crops improvement involves creating a technical device with enhanced performance properties. The loading device includes a receiving chamber designed to supply root and tuber crops from the loading tray into the drum cavity. The chamber is a hollow truncated cone, with its axis of rotation aligned with the axis of rotation of the drum. The base of the larger end of the cone is smaller than the drum diameter and partially enters the drum chamber. The cone side surface is rigidly and hermetically attached to the front wall of the container. The base of the smaller end of the cone is designed to allow the installation of bearings under the drum shaft in its cut plane. The base is rigidly and hermetically sealed with a disk that has a hole for the bearings.
The cavity of the chamber is connected to the cavity of the loading tray, which is rigidly and hermetically attached to the chamber from above. A rim is rigidly mounted on the inner side surface of the drum structure, on the side of the receiving chamber. At least three spokes are securely attached to the rim in a vertical plane perpendicular to the drum axis of rotation, evenly spaced around the circumference. The free ends of these spokes are rigidly attached to the side surface of the drum shaft. Additionally, the drum structure includes a system that create impact conditions on the root and tuber crops treated with a fluid medium, directing them from the receiving chamber along the drum, specifically along the lower part of the drum.
This system includes a tubular tip that is leak-proof and attached to the front wall of the container. The rotation axis of the tip is parallel to the rotation axis of the drum and is located in the same vertical plane as the drum’s axis of rotation. Additionally, part of the working end of the tip extends into the drum cavity and is installed from its lower part. A pipeline with a valve is hermetically attached to the opposite end of the tip. The drum cover, opposite to the receiving chamber with the loading tray, is formed with holes around the circumference, with their rotation axes shifted toward the side surface of the drum. These holes are protected from the outside by a mesh. This arrangement enables the development of a technical device for washing root and tuber crops with enhanced performance properties. This improvement is achieved through the interaction of a fluid medium (air or water) with the root and tuber crops during both the washing process and subsequent unloading.
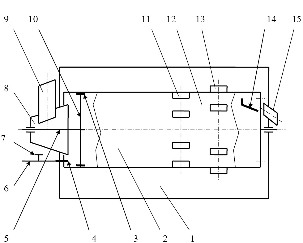
Fig. 1. The technical device for washing root-and-tuber crops. Main cross-section view.
Рис. 1. Техническое устройство для мойки корнеклубнеплодов. Общий вид в разрезе.
Figure 1 presents a general cross-sectional view of a drum technical device for washing root and tuber crops.
A drum technical device for washing root and tuber crops consists of a loading device, namely a receiving chamber 8 with a loading tray 9, as well as a container 1 with water and a horizontally placed drum 2 that rotates. The drum is divided into alternating sections (injection and exhaust, numbered respectively by a series of injection blades 13 and exhaust blades 11 in Fig. 1), with intervals 12 between them. Under the blades 13 and 11, there are holes located around the circumference of the drum 2, and the blades 13 and 11 themselves are mounted at an angle to the surface of the drum 2. Specifically, the blades 13 of the injection sections are oriented toward the rotational movement of the drum 2, while those of the exhaust sections 11 are oriented against the rotation of the drum 2. In the cavity of the drum 2, there is an ejector 14 for directing the root and tuber crops into the unloading tray 15. Additionally, the loading device is equipped with a receiving chamber 8, designed to supply root and tuber crops from the loading tray 9 into the drum 2.
The design of chamber 8 is that of a hollow truncated cone, with its axis of rotation aligned with the axis of rotation of the drum 2. The size of the larger base of this cone is smaller than the diameter of the drum 2, allowing a portion of the cone to enter the drum cavity. The side surface of the cone is rigidly and hermetically attached to the front wall of the container 1. The base of the smaller diameter cone is designed to accommodate bearings under the shaft of the drum 2 in its cut plane and is also rigidly and hermetically sealed by a disk equipped with a hole for these bearings. The cavity of chamber 8 is connected to the cavity of loading tray 9, which, in turn, is rigidly and hermetically attached to chamber 8 from above. A rim 3 is rigidly attached to the drum 2 from the inner side surface, on the side of the receiving chamber 8; at least three spokes 10 are firmly mounted directly to this rim 3 in a vertical plane perpendicular to the axis of rotation of the drum 2. These spokes are evenly spaced around the circumference, with their free ends rigidly attached to the side surface of the shaft 5 of the drum 2. The drum technical device also includes a system that influences the treated root and tuber crops with a fluid medium (air or water) along the course from the receiving chamber 8 along the lower part of the drum 2. This system comprises a tubular tip 4, hermetically attached to the front wall of container 1, so that its axis of rotation is parallel to the axis of rotation of the drum 2 and installed in the same vertical plane as the axis of the drum 2 rotation. The working end of tip 4 is partly placed in the drum 2 cavity and installed from the lower part of the drum. A pipeline 6 for delivering the fluid, along with a valve 7, is hermetically attached to the opposite end of said tip 4. The drum 2 cover, on the side opposite to the receiving chamber 8 with the loading tray 9, is equipped with holes positioned around the circumference, with their rotation axes shifted toward the side surface of the drum 2. These holes are externally protected by a mesh.
The drum technical device for washing root and tuber crops operates in the following manner: The container 1 is filled with water to the required level. Root and tuber crops intended for processing are directed through the loading tray 9; they pass through the receiving chamber 8 and, under the influence of gravity, enter the rotating drum 2. Inside the drum, owing to centrifugal and frictional forces, the crops move upward along the wall of the drum 2. Some of the root and tuber crops, located closer to the center of the drum 2, slide down at the natural repose angle, rolling along the underlying layers before submerging in the water.
During the rotation of the drum 2, the blades 13 of the injection sections entrain water and pump it through the layer of root and tuber crops along the radius of the drum 2, from the periphery to the center. Subsequently, the root and tuber crops are pushed away from the rotating wall of the drum 2 and then fall into the water. Downstream of the injection section (with blades 13), an exhaust section (with blades 11) is installed. Through this section, water is pumped out from the drum 2 through the layer of root and tuber crops, moving radially from the center to the periphery. At low rotation speeds of the drum 2, these washing processes inevitably slow down, leading to a decrease in the quality of crop processing and an increase in washing duration. At this moment, the valve 7 is opened, allowing air or water to be pumped under excess pressure through the tip 4 into the cavity of the drum 2, exclusively in the longitudinal direction. The fluid penetrates through the layer of root and tuber crops strictly in a longitudinal direction and enters to the container 1 through holes in the cover of the drum 2, thus promoting an additional washing effect on the processed root and tuber crops. Due to the holes protected from the outside by a mesh (not shown in Figure 1), the root and tuber crops do not enter the container. To facilitate the process of unloading processed root and tuber crops from the drum 2, the valve 7 is also opened. This directs the fluid along the drum 2. Under the pressure of the longitudinal flow of the fluid, as well as friction and centrifugal force, root and tuber crops move along the inner side surface of the drum 2. Upon contact with the ejector 14, they are separated from the wall and then descend to the unloading tray 15.
CONCLUSIONS
So, on the basis of the adopted technical solutions, the unit for washing root and tuber crops has been improved to the level of patentability, which enables the improvement in the quality of the root and tuber crops processing, including the stabilization of the device unloading process.
ADDITIONAL INFORMATION
Authors’ contribution. All authors made a substantial contribution to the conception of the work, acquisition, analysis, interpretation of data for the work, drafting and revising the work, final approval of the version to be published and agree to be accountable for all aspects of the work. The largest contribution is distributed as follows: S.N. Shukhanov — development of the general concept and editing of the article; O.N. Svintsova — literature review, collection and analysis of literary sources; V.N. Khabardin — literature review, preparation and writing of the text of the article.
Competing interests. The authors declare no conflict of interest.
Funding source. Not specified.
ДОПОЛНИТЕЛЬНАЯ ИНФОРМАЦИЯ
Вклад авторов. Авторы подтверждают соответствие своего авторства международным критериям ICMJE (все авторы внесли существенный вклад в разработку концепции, проведение исследования и подготовку статьи, прочли и одобрили финальную версию перед публикацией).
Наибольший вклад распределен следующим образом: С.Н. Шуханов — разработка общей концепции и редактирование статьи; О.Н. Свинцова — обзор литературы, сбор и анализ литературных источников; В.Н. Хабардин — обзор литературы, подготовка и написание текста статьи.
Конфликт интересов. Авторы заявляют об отсутствии конфликта интересов.
Источник финансирования. Не указан.
About the authors
Olga N. Svintsova
Irkutsk State University of Agriculture
Email: oliya681@mail.ru
ORCID iD: 0009-0000-3358-950X
SPIN-code: 1979-5220
Postgraduate of the Technical Support in Agro-industrial Sector Department
Russian Federation, Molodezny, 664038 Irkutsk district, Irkutsk regionStanislav N. Shuhanov
Irkutsk State University of Agriculture
Author for correspondence.
Email: Shuhanov56@mail.ru
ORCID iD: 0000-0003-2134-6871
SPIN-code: 6382-4059
Associate Professor, Dr. Sci. (Engineering), Professor of the Technical Support in Agro-industrial Sector Department
Russian Federation, Molodezny, 664038 Irkutsk district, Irkutsk regionVasily N. Khabardin
Irkutsk State University of Agriculture
Email: habardinv@mail.ru
ORCID iD: 0000-0002-9201-2492
SPIN-code: 2438-8303
Associate Professor, Dr. Sci. (Engineering), Professor of the Operation of Machine and Tractor Fleet, Life Safety and Professional Education Department
Russian Federation, Molodezny, 664038 Irkutsk district, Irkutsk regionReferences
- Ustroev AA., Zakharov AM, Loginov GA. Technological line for washing potatoes. Tekhnika i oborudovanie dlya sela. 2016;6:34–36. (In Russ). EDN: WBBSRZ
- Altukhov SV, Shukhanov SN. Analysis of hydrodynamic characteristics of sprays of nozzles of ICE. Tractors and Agricultural Machinery. 2018;85(3):3–6. (In Russ). EDN: XSEMHR doi: 10.17816/0321-4443-66360
- Shukhanov SN. Interpretation of qualitative indicators of the functioning of the UZAM-331.10 engine when operating on gaseous fuel. Izvestiya MAAO. 2020;51:32–36. (In Russ). EDN: HYVLEM
- Khabardin VN, Gorbunova TL. Mathematical description of the process of machine maintenance, taking into account its reliability. Izvestiya Orenburgskogo GAU. 2021;1(87):124–129. (In Russ). EDN: VUCPWR doi: 10.37670/2073-0853-2021-87-1-124-129
- Polyakov GN, Shukhanov SN, Kosareva AV. Improving technical means for cultivating spring grain crops with the development of a seeder for sowing in ridges. Permskiy agrarnyy vestnik. 2022;2(38):33–41. (In Russ). EDN: PRTBQQ doi: 10.47737/2307-2873_2022_38_33
- Shamonin VI, Sergeev AV, Loginov GA. Justification of operating modes of a machine for washing potatoes and root crops. Izvestiya Sankt-Peterburgskogo GAU. 2018;52:231–237. (In Russ). EDN: YNDQMH
- Shukhanov SN, Dorzhiev AS. Analysis of factors influencing the quality of operation of the apparatus for grinding root tubers using the method of active experiment. Izvestiya Nizhnevolzhskogo agrouniversitetskogo kompleksa: Nauka i vysshee professi-onalnoe obrazovanie. 2020;2(58):356–363.
- Ryadnov AI, Fedorova OA, Mamakhai AK. Improving the design of a root crop chopper. Vestnik NGIEI. 2021;3(118):40–51. (In Russ). EDN: HGMOXC doi: 10.24412/2227-9407-2021-3-40-51
- Ryadnov AI, Fedorova OA, Mamakhai AK. Results of research on the cutting force of fodder beets during crushing. Izvestiya Nizhnevolzhskogo agrouniversitetskogo kompleksa: Nauka i vysshee professi-onalnoe obrazovanie. 2021;3(63):356–366. (In Russ). EDN: GZGUJQ doi: 10.32786/2071-9485-2021-03-37
- Ryadnov AI, Fedorova OA, Mamakhai AK. Selection of particular indicators for a comprehensive assessment of the efficiency of using a root crop chopper. Elektrotekhnologii i elektrooborudovanie v APK. 2021;68:4(45):45–50. (In Russ). EDN: USRWNY doi: 10.22314/2658-4859-2021-68-4-45-50
- Patent USSR № 340402 / 05.06.1972. Byul. 18. Milkovitskiy S.I. Ustroystvo dlya sor-tirovki i moyki ovoshchey i fruktov. (In Russ). Cited: 04.09.2023. Available from: https://yandex.ru/patents/doc/SU340402A1_19720605
- Patent USSR № 660657 / 05.05.1979. Byul. 17. Ovchinnikov AA, Kononov BV, Silagin VA, et al. Ustroystvo dlya moyki korneklubneplodov. (In Russ). Cited: 04.09.2023. Available from: https://yandex.ru/patents/doc/SU660657A1_19790505
Supplementary files
