Computational and experimental studies of vibration-protective properties of a pneumatic wheel of the MTZ-82 BELARUS tractor with external spring-hydraulic mini-suspension
- 作者: Novikov V.V.1, Pozdeev A.V.1, Chumakov D.A.1, Kolesov N.M.1, Timoshin N.V.1, Kagochkin T.A.1, Skribunova V.E.1
-
隶属关系:
- Volgograd State Technical University
- 期: 卷 91, 编号 4 (2024)
- 页面: 430-441
- 栏目: Theory, designing, testing
- ##submission.dateSubmitted##: 24.01.2024
- ##submission.dateAccepted##: 15.08.2024
- ##submission.datePublished##: 05.11.2024
- URL: https://journals.eco-vector.com/0321-4443/article/view/625949
- DOI: https://doi.org/10.17816/0321-4443-625949
- ID: 625949
如何引用文章
详细
BACKGROUND: Currently used in various sectors of the national economy, numerous wheeled suspensionless vehicles on pneumatic tires have a low level of vibration protection of the frame and limited cross-country ability. Therefore, the development and study of the design characteristics of a pneumatic wheel with increased elastic-damping properties and cross-country ability is a relevant technical problem.
AIM: Development of the design and study the vibration-protective properties of a pneumatic wheel with an external spring-hydraulic mini-suspension to improve the ride smoothness and cross-country ability of large-sized suspensionless vehicles.
METHODS: A description of the design of a wheel with mini-suspension and a support roller is presented. The wheel modeling was carried out in the PascalABC software, which takes into account the nonlinearity of the total force of the pneumatic tire and the spring-hydraulic mini-suspension, which is installed parallel to the tire at an angle to the vertical axis of the wheel. The test method consisted of comparison of free and forced vibrations of the rear pneumatic wheel of the MTZ-82 BELARUS tractor with a 400-965/15.5-38 tire, which operated without and with mini-suspension at a vertical load of 0.6 tons and various excessive pressure in the tire.
RESULTS: The results of computational and experimental studies show that if the tire is radially compressed by 75 mm, the excess pressure inside the pneumatic wheel almost does not change, and if the pressure in the tire decreases from 1.6 to 0.4 bar, the resonant vibration frequency of the standard wheel axle decreases by 25%, while the dynamic coefficient remains unacceptably high (more than 5), leading to the tire breakaway from the supporting surface. Installing a mini-suspension parallel to the wheel in the form of a spring-hydraulic shock-absorbing strut leads to an increase in the resonant frequency by 1 Hz, however, the resonant peaks are reduced by almost 3 times to a dynamic coefficient of 2.5...2, which significantly increases the ride smoothness of suspensionless vehicles and reduces the likelihood of wheel breakaway from the supporting surface.
CONCLUSION: It was found with the studies that the proposed wheel with a mini-suspension as a spring-hydraulic strut and a support roller has a relatively simple design, ensures high vibration-protective properties with small amplitudes of kinematic disturbance and can be used to improve the ride smoothness and cross-country ability of wheeled suspensionless vehicles.
全文:
ВВЕДЕНИЕ
В современном мире производится и эксплуатируется немалое количество бесподвесочных машин, в которых защита остова от вибрации и колебаний осуществляется только пневматическими шинами. Однако, обычные пневматические шины не могут обеспечить необходимую плавность хода машины при движении по дорогам и местности, что снижает скорости движения, ухудшает самочувствие водителей, уменьшает ресурс работы самих колесных машин в целом и ускоряет износ и разрушение дорог. Кроме того, опорная поверхность колес бывает недостаточной для движения по слабым грунтам, что ограничивает опорную проходимость колесных машин.
Для устранения указанных недостатков во всем мире ведутся интенсивные поиски новых конструкций колес с повышенными демпфирующими свойствами и увеличенной опорной поверхностью [1–19].
Например, известно металлическое колесо транспортного средства с подпружиненным относительно ступицы ободом, по внутреннему ребру которого катятся 4 пары роликов, установленных на подпружиненных между собой рычагах [11]. Недостатками данного колеса являются высокая сложность и большой вес его конструкции, а также относительно низкие демпфирующие свойства, осуществляемые за счет пар трения.
Известно также пневматическое колесо со встроенной во внутрь шины пружинно-гидравлической миниподвеской с одним опорным роликом, контактирующим с внутренней поверхностью шины и воспринимающей часть нагрузки на колесо [20]. Вместе с тем, размещение миниподвески внутри шины потребовало выполнение обода из двух частей, каждая из которых приводится во вращение через общий колесных редуктор и коаксиально установленные валы, что существенно усложняет и утяжеляет колесо в целом.
При этом оба указанных колеса не решают задачу увеличения опорной поверхности, что очень важно, например, для сельскохозяйственных машин.
Поэтому задача разработки и исследования новых более простых и надежных конструкций пневматических колес с повышенными виброзащитными свойствами и большей опорной поверхностью является актуальной.
ЦЕЛЬ ИССЛЕДОВАНИЙ
Разработка, теоретическое и экспериментальное исследование пневматического колеса с наружной пружинно-гидравлической миниподвеской для крупногабаритных бесподвесочных машин с целью повышения их плавности хода и опорной проходимости.
МАТЕРИАЛЫ И МЕТОДЫ
На кафедре «Автоматические установки» ВолгГТУ разработаны две оригинальные конструкции пневматических колес среднего и большого диаметров, в которых применяется обычная пневматическая, но «лысая» шина, заправленная сжатым воздухом под давлением ниже стандартного значения, а снаружи колеса под углом к его вертикальной оси установлена пружинно-гидравлическая миниподвеска, воспринимающая часть вертикальной нагрузки [21, 22]. Эти варианты имеют схожие конструкции и отличаются друг от друга тем, что в одной из них на конце продольного направляющего рычага установлен один опорный ролик, а в другой – балансир с двумя опорными роликами на его концах.
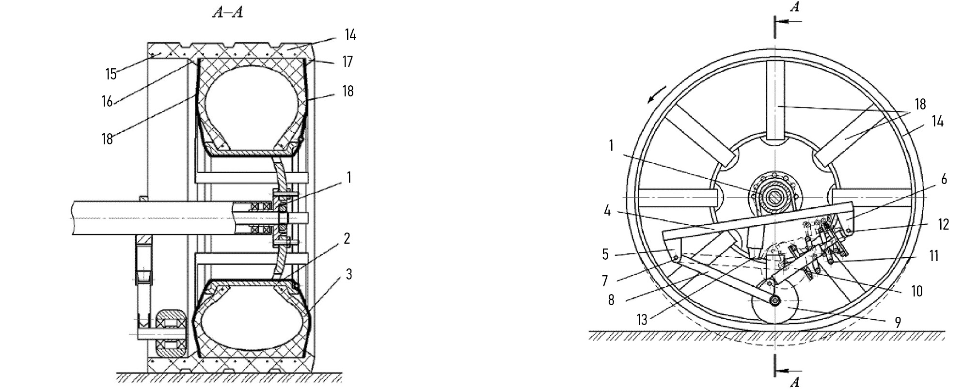
На рис. 1 показан более простой вариант пневматического колеса с наружной миниподвеской и одним опорным роликом по патенту РФ № 2770032 [21].
Рис. 1. Пневматическое колесо с наружной пружинно-гидравлической миниподвеской и одним опорным роликом по патенту РФ № 2770032: 1 — ступица; 2 — обод; 3 — пневматическая шина; 4 — балка; 5 и 6 — проушины; 7 — ось подпружиненного рычага; 8 — подпружиненный направляющий рычаг; 9 — опорный каток; 10 — гидравлический амортизатор; 11 — пружина; 12 — ось гидроамортизатора; 13 — буфер; 14 — лента; 15 — боковой бурт; 16 и 17 — внутренние кольцевые буртики; 18 — резиновые ремни.
Fig. 1. The pneumatic wheel with external spring-hydraulic mini-suspension and a single support roller according to the Patent RU 2770032: 1 — a wheel hub; 2 — a rim; 3 — a pneumatic tire; 4 — a beam; 5, 6 — eye ends; 7 — an axle of a sprung arm; 8 — the sprung guide arm; 9 — the support roller; 10 — a hydraulic damper; 11 — a spring; 12 — an axle of the hydraulic damper; 13 — a bumpstop; 14 — a band; 15 — a side clamps; 16, 17 — internal circular fillets; 18 — rubber belts.
Снаружи «лысой» шины 3 плотно установлена бесконечная резинокордная лента 14 с наружными грунтозацепами, ширина которой превышает ширину шины 3, что существенно повышает опорную поверхность колеса. Лента 14 смещена в сторону неподвижной части ступицы 1 колеса и образует с шиной 3 боковой бурт 15. На неподвижной части ступицы 1 установлен подпружиненный направляющий рычаг 8 с опорным катком 9, который взаимодействует с внутренним буртом 15 в нижней части колеса. На нижнем конце рычага 8 установлена пружина 11 с размещенным внутри неё гидравлическим амортизатором 10. Шина 3 заправлена давлением воздуха ниже стандартного значения.
Пружина 11 воспринимает недостающую нагрузку на шину 3, что обеспечивает сохранение или даже небольшое уменьшение стандартного прогиба шины. Поскольку пружина установлена под углом к вертикальной оси, то это обеспечивает регрессивную упругую характеристику миниподвески, что уменьшает суммарную жесткость колеса.
Гидравлический амортизатор 10, установленный внутри пружины, выполнен газонаполненным, что уменьшает габариты миниподвески и обеспечивает его надежную работу под любыми углами. Гидравлический амортизатор служит для гашения вертикальных колебаний остова машины, тем самым существенно повышая виброзащитные свойства пневматического колеса.
Расчётная схема наклонной пружинной миниподвески имеет вид, показанный на рис. 2.
Рис. 2. Расчетная схема наклонной пружинно-гидравлической миниподвески: x — деформация шины; y — деформация пружины; c и e — постоянные величины; l и d — текущие значения координат точки N; α — угол наклона оси пружины к горизонту; Рпр — сила пружины по оси y; P(x) — сила пружины, приведенная к вертикальной оси x.
Fig. 2. An analytical model of the inclined spring-hydraulic mini-suspension: x — tire deformation; y — spring deformation; c, e — constants; l, d — current coordinates of the point N; α — inclination angle of the spring axis to the horizontal; Рпр — spring force along the axis y; P(x) — spring force along the axis x.
В соответствии с данной расчетной схемой упругая характеристика наклонной миниподвески, приведенная к вертикальной оси, рассчитывается по следующей зависимости:
, (1)
где
, (2)
α — текущий угол установки миниподвески относительно горизонтальной оси колеса,
, (3)
l0 и d0 — начальные значения сторон соответствующего прямоугольного треугольника, определяющие координаты точки N при статической деформации hст пневматической шины, совмещенной с миниподвеской.
На рис. 3 представлены примерные упругие характеристики предлагаемого колеса при допущении, что упругие характеристики шины при разных зарядных давлениях имеют линейный вид (прямые линии 1 и 2). По сравнению с обычным колесом (отрезок BC соответствует Pст) при том же статическом прогибе (отрезок OС соответствует hст) в предлагаемом колесе шина воспринимает уменьшенную в 2 раза нагрузку (отрезок AC соответствует Pст.пш). При этом недостающую нагрузку Pст.мп воспринимает пружинно-гидравлическая стойка, установленная под углом 55 град. В результате жёсткость упругой характеристики предлагаемого колеса в зоне статического положения заметно уменьшается, что должно отразиться на повышении плавности хода машины.
Рис. 3. Упругие характеристики пневматического колеса с пружинно-гидравлической миниподвеской при угле наклона α = 55°: 1 — сила упругости шины предлагаемого колеса; 2 — вертикальная сила миниподвески на подпружиненном опорном катке; 3 — суммарная сила упругости предлагаемого колеса; 4 — сила упругости пневматической шины обычного колеса; Рст и hст — сила и деформация шины колеса под статической нагрузкой; Рст.пш и Рст.мп — сила упругости шины предлагаемого колеса и вертикальная сила миниподвески на подпружиненном опорном катке под статической нагрузкой.
Fig. 3. Stiffness curves of the pneumatic wheel with the spring-hydraulic mini-suspension at the inclination angle α = 55°: 1 — elastic force of the tire of the proposed wheel; 2 — vertical force of the mini-suspension at the sprung support roller; 3 — total elastic force of the proposed wheel; 4 — elastic force of a pneumatic tire of a normal wheel; Рст and hст — force and deformation of the wheel tire under static load; Рст.пш and Рст.мп — elastic force of the tire of the proposed wheel and vertical force of the mini-suspension at the sprung roller under static load.
Расчётная схема пневматического колеса с установленной снаружи наклонной пружинно-гидравлической миниподвеской показана на рис. 4.
Рис. 4. Расчётная схема пневматического колеса с миниподвеской: М — подрессоренная масса (масса колеса и части остова трактора); G — нагрузка на ось колеса; P и R — сила пружины и сила сопротивления амортизатора, приведенные к вертикальной оси; Pш — сила упругости шины; Rш — сила неупругого сопротивления шины; спр и r — жесткость пружины и коэффициент сопротивление амортизатора, приведенные к вертикальной оси; сш — жесткость шины; rш — коэффициент сопротивления шины; q — профиль неровностей дороги; z — вертикальное перемещение оси колеса.
Fig. 4. An analytical model of the pneumatic wheel with the mini-suspension: М — the sprung mass (mass of a wheel and a tractor frame’s part); G — load at the wheel axis; P and R — spring force and damping force normalized to the vertical axis; Pш — tire elastic force; Rш — tire non-elastic resistance force; спр and r — spring stiffness and damper resistance coefficient; сш — tire stiffness; rш — tire resistance coefficient; q — uneven road profile; z — vertical displacement of the wheel axis.
В соответствии с расчётной схемой, с учетом того, что вес G компенсируется статической деформацией шины и миниподвески, математическая модель динамики данного колеса описывается дифференциальным уравнением второго порядка; она учитывает нелинейность суммарной силы амортизационной стойки, приведенной к вертикальной оси колеса:
, (4)
где Рпр — сила пружины, рассчитываемая по уравнению (2); R — сила амортизатора:
, (5)
у и — деформация и скорость деформации пружины.
Для решения математической модели по зависимостям (1)–(5) была написана программа на языке PascalABC и проведены расчеты, на основании которых были построены амплитудно-частотные характеристики (АЧХ) вертикальных колебаний оси колеса при кинематическом возмущении.
Для подтверждения эффективности разработанного колеса с пружинно-гидравлической миниподвеской были проведены экспериментальные исследования на динамическом гидропульсаторном стенде кафедры «Автоматические установки» ВолгГТУ [23].
Для исследований было взято колесо от задней оси трактора МТЗ-82 «Беларус» с шиной 400-965/15.5-38 при разном зарядном давлении (1,6, 1,2, 0,8 и 0,4 бар) и вертикальной статической нагрузке 0,6 т, которая складывалась из веса подрессоренных грузов (5 кН) и веса колеса вместе миниподвеской (1 кН). В качестве миниподвески была применена пружинно-гидравлическая амортизационная стойка с жесткостью пружины 6,54 кН/м и коэффициентами сопротивления амортизатора 24 кН∙с/м — на ходе отбоя и 10 кН∙с/м — на ходе сжатия.
Методика испытаний заключалась в определении статических упругих характеристик колеса и проведении сравнительных свободных и вынужденных колебаний пневматического колеса без и с пружинно-гидравлической амортизационной стойкой, которая на стенде устанавливалась вертикально.
РЕЗУЛЬТАТЫ И ОБСУЖДЕНИЕ
Упругие характеристики колеса вместе с пружинно-гидравлической миниподвеской, которые были приняты для теоретического исследования, показаны на рис. 5. Поскольку пружина миниподвески имеет предварительное поджатие, то ее упругая характеристика и упругая характеристика колеса в целом начинаются не с нуля.
Рис. 5. Расчётные упругие характеристики пневматического колеса с пружинно-гидравлической миниподвеской при угле наклона α = 55° и статической нагрузке 6 кН: 1 — шина; 2 — миниподвеска; 3 — результирующая упругая характеристика колеса в целом; Pст — статическая нагрузка на колесо; hст — статический прогиб шины.
Fig. 5. Calculated stiffness curves of the pneumatic wheel with the spring-hydraulic mini-suspension at the inclination angle α = 55° and the static load of 6 kN: 1 — tire; 2 — mini-suspension; 3 — total stiffness curve of the whole wheel; Pст — static wheel load; hст — static tire deformation.
Расчётные амплитудно-частотные характеристики (АЧХ) вертикальных колебаний оси колеса без и с миниподвеской при гармоническом кинематическом возмущении 10 мм показаны на рис. 6 и 7, соответственно. Расчёт был произведен при следующих исходных параметрах: зарядное давление в шине 1,6 бар; коэффициент апериодичности 0,06 и 0,25; статическая нагрузка 0,6 т, которая складывается из веса подрессоренных грузов (5 кН) и веса колеса (1 кН); жёсткость шины колеса 200 кН/м.
Рис. 6. Расчётные АЧХ вертикальных колебаний оси обычного пневматического колеса при нагрузке на шину 0,6 т: 1 — перемещений; 2 — скоростей; 3 — ускорений; a0 — амплитуда ускорений.
Fig. 6. Calculated response curves of vertical oscillations of axis of a normal pneumatic wheel at load on a tire of 0.6 tons: 1 — displacement; 2 — velocity; 3 — acceleration; a0 — acceleration amplitude.
Рис. 7. Расчётные АЧХ вертикальных колебаний оси пневматического колеса с пружинно-гидравлической миниподвеской при нагрузке на шину 0,6 т: 1 — перемещений; 2 — скоростей; 3 — ускорений; a0 — амплитуда ускорений.
Fig. 7. Calculated response curves of vertical oscillations of axis of the pneumatic wheel with the spring-hydraulic mini-suspension at load on a tire of 0.6 tons: 1 — displacement; 2 — velocity; 3— acceleration; a0 — acceleration amplitude.
Из сравнения графиков, представленных на рис. 6 и 7, видно, что коэффициент динамичности в резонансе у обычного колеса достигает 8, а у предлагаемого колеса с миниподвеской — не более 2,2, при этом ускорения не превышают 3 м/с2.
На рис. 8 показана установка пневматического колеса с пружинно-гидравлической миниподвеской на динамическом гидропульсаторном стенде.
Рис. 8. Установка пневматического колеса с пружинно-гидравлической миниподвеской на динамическом гидропульсаторном стенде: 1 — пневматическое колесо от задней оси трактора МТЗ-82; 2 — пружинно-гидравлическая миниподвеска с опорным роликом; 3 — подвижная плита с грузами.
Fig. 8. Installation of the pneumatic wheel with the spring-hydraulic mini-suspension on the dynamic hydropulsating bench: 1 — the pneumatic wheel of the MTZ-82 tractor’s rear axle; 2 — the spring-damper mini-suspension with the support roller; 3 — a movable table with weights.
С помощью данного стенда были определены статические упругие характеристики колеса (рис. 9), статический прогиб шины при разных избыточных давлениях (рис. 10), а также осциллограммы свободных затухающих колебаний (рис. 11 и 12) и АЧХ вынужденных колебаний колеса без и с миниподвеской (рис. 13 и 14).
Рис. 9. Упругие характеристики и изменение давления в шине пневматического колеса в зависимости от деформации шины δ при статической нагрузке 6 кН при разных избыточных давлениях р: 1…4 — упругие характеристики; 1’…4’ — зависимости избыточного давления в шине от её деформации; 1, 1’ — p = 0,4 бар; 2, 2’ — p = 0,8 бар; 3, 3’ — p = 1,2 бар; 4, 4’ — p = 1,6 бар.
Fig. 9. Stiffness curves and pressure change in the pneumatic wheel’s tire depending on tire deformation δ at the static load of 6 kN and various excessive pressure р: 1…4 — stiffness curves; 1’…4’ — dependence curves of excessive tire pressure on tire deformation; 1, 1’ — p = 0.4 bar; 2, 2’ — p = 0.8 bar; 3, 3’ — p = 1.2 bar; 4, 4’ — p = 1.6 bar.
Рис. 10. Зависимости прогиба шины 400–965/15.5-38 от избыточного давления: 1 — без миниподвески; 2 — с миниподвеской.
Fig. 10. Dependence curves of deflection of the 400-965/15.5-38 tire on excessive pressure: 1 — without the mini-suspension; 2 — with the mini-suspension.
Рис. 11. Экспериментальные осциллограммы свободно-затухающих колебаний обычного пневматического колеса задней оси трактора МТЗ-82 при толчке вниз на 50 мм: 1 — р = 0,4 бар; 2 — р = 0,8 бар; 3 — р = 1,2 бар; 4 — р = 1,6 бар.
Fig. 11. Experimental oscillograph charts of free-decaying oscillations of the normal pneumatic wheel of the MTZ-82 tractor’s rear axle at the rebound to 50 mm: 1 — р = 0.4 bar; 2 — р = 0.8 bar; 3 — р = 1.2 bar; 4 — р = 1.6 bar.
Рис. 12. Экспериментальные осциллограммы свободно-затухающих колебаний колеса задней оси трактора МТЗ-82 с пружинно-гидравлической миниподвеской после толчка вверх на 100 мм: 1 — p = 0,4 бар; 2 —p = 0,8 бар; 3 — p = 1,2 бар; 4 — p = 1,6 бар.
Fig. 12. Experimental oscillograph charts of free-decaying oscillations of the wheel of the MTZ-82 tractor’s rear axle with the spring-hydraulic mini-suspension at the rebound to 50 mm: 1 — p = 0.4 bar; 2 — p = 0.8 bar; 3 — p = 1.2 bar; 4 — p = 1.6 bar.
Рис. 13. Экспериментальные АЧХ размахов вертикальных колебаний оси обычного пневматического колеса от задней оси трактора МТЗ-82 при вертикальной нагрузке 6 кН и разных избыточных давлениях в шине 400-965/15.5-38: 1 — p = 0,4 бар; 2 — p = 0,8 бар; 3 — p = 1,6 бар.
Fig. 13. Experimental response curves of vertical oscillation ranges of the axis of the normal pneumatic wheel of the MTZ-82 tractor’s rear axle at the vertical load of 6 kN and various excessive pressure in the 400-965/15.5-38 tire: 1 — p = 0.4 bar; 2 — p = 0.8 bar; 3 — p = 1.6 bar.
Рис. 14. Экспериментальные АЧХ размахов вертикальных колебаний оси пневматического колеса от задней оси трактора МТЗ-82 с пружинно-гидравлической миниподвеской при вертикальной нагрузке 6 кН и разных избыточных давлениях в шине 400-965/15.5-38: 1 — p = 0,4 бар; 2 — p = 0,8 бар; 3 — p = 1,6 бар.
Fig. 14. Experimental response curves of vertical oscillation ranges of the axis of the pneumatic wheel of the MTZ-82 tractor’s rear axle with the spring-hydraulic mini-suspension at the vertical load of 6 kN and various excessive pressure in the 400-965/15.5-38 tire: 1 — p = 0.4 bar; 2 — p = 0.8 bar; 3 — p = 1.6 bar.
Из анализа упругих характеристик (см. кривые 1…4 на рис. 9) виден небольшой гистерезис шины, не превышающий 1,0–1,5 кН. Кривые 1’…4’ показывают, что при сжатии шины на 75 мм избыточное давление внутри шины почти не меняется, из чего следует, что объем внутри шины практически остается постоянным. Следовательно, сила упругости формируется в основном за счет увеличения пятна контакта шины с опорной поверхностью.
Из рис. 10 видно, что статический прогиб, равный 40 мм у колеса с миниподвеской, не достигается даже при снижении давления в шине в 4 раза с 1,6 до 0,4 бар.
Из анализа осциллограмм обычного колеса (см. рис. 11) видно, что после толчка вниз на 50 мм колебания в основном затухают через 4 полных цикла за 1,3 с независимо от давления в шине. При этом видна небольшая «рябь» мелких последующих колебаний с амплитудой около 2 мм.
При толчке колеса с пружинно-гидравлической миниподвеской вверх на 100 мм (см. рис. 12) его колебания полностью затухают через 2 полных цикла за 0,8 с, при этом декремент затухания равен 5,8, а коэффициент апериодичности равен 0,28, такие данные имеет большинство современных автомобилей с подвеской.
Из анализа графиков на рис. 13 видно, что при снижении давления в шине с 1,6 до 0,4 бар резонансная частота колебаний обычного колеса снижается на 25%, однако коэффициент динамичности вертикальных колебаний остается неприемлемо высоким (более 5), что приводит к отрывам колеса от опорной поверхности механизма нагружения стенда.
Анализ графических данных, представленных на рис. 14, позволяет заключить, что установка параллельно пневматическому колесу пружинно-гидравлической миниподвески приводит к повышению резонансной частоты на 1 Гц. Однако, резонансные пики снижаются почти в 3 раза до коэффициента динамичности 2,5…2, что обеспечивает более комфортное передвижение на транспортном средстве.
При этом по сравнению с обычным пневматическим колесом разработанное колесо с миниподвеской при данном кинематическом возмущении (5 мм) обеспечивает безотрывный режим колебаний.
Кроме того, при увеличении амплитуды кинематического возмущения до 10 мм и выше данная миниподвеска уже не обеспечивает безотрывный режим резонансных колебаний пневматического колеса при любом избыточном давлении в шине. Это связано с тем, что применяемый в эксперименте гидроамортизатор имеет большее сопротивление на ходе отбоя, чем на ходе сжатия, что приводит к зависанию опорного ролика на ходе отбоя. Поэтому для повышения эффективности гашения колебаний необходимо применение гидроамортизатора, в котором сопротивление на ходе отбоя меньше, чем на ходе сжатия.
ВЫВОДЫ
Определены экспериментальные статические упругие характеристики заднего колеса с пневматической шиной 480/70R30 от трактора МТЗ-82 «Беларус» при разных заправочных давлениях, которые имеют нелинейный вид с небольшой петлей гистерезиса и разный статический прогиб.
Статический прогиб шины колеса трактора МТЗ-82 «Беларус» при нагрузке 0,6 т и увеличении давления с 0,4 до 1,6 бар уменьшается с 60 до 27 мм. При этом жесткость колеса возрастает со 160 до 260 кН/м (с 16 до 26 кГ/мм).
Избыточное давление внутри шины при ее сжатии на 100 мм меняется всего на 0,02…0,04 бар только на второй половине хода сжатия, а на первой половине остается постоянным. Следовательно, сила упругости формируется в основном за счет увеличения площади пятна контакта шины с опорной поверхностью.
Обычное пневматическое колесо от задней оси трактора МТЗ-82, вследствие низкого демпфирования в шине, слабо гасит свободные и вынужденные колебания. После толчка опорной поверхности вниз на 50 мм колесо независимо от величины зарядного давления до успокоения совершает 6…5 полных колебаний с декрементом затухания 1,4…1,5, что соответствует коэффициенту апериодичности 0,05…0,06. При испытаниях на вынужденные колебания снижение давления в шине с 1,6 до 0,4 бар уменьшает собственную частоту колебаний на 25% и коэффициент динамичности bz в резонансе с 8 до 5. Однако, ускорения оси колеса превышают 10 м/с2 и наблюдается отрыв колеса от опорной поверхности.
Пневматическое колесо с наружной пружинно-гидравлической миниподвеской эффективно гасит свободные и вынужденные колебания. После толчка шины вверх на 50 мм в зависимости от зарядного давления колесо до успокоения совершает 2…1 полных колебания с декрементом затухания 4,5…19, что соответствует коэффициенту апериодичности 0,24…0,47. При испытаниях на вынужденные колебания коэффициент динамичности в резонансе при снижении зарядного давления в шине уменьшается с 2,5 до 2, а ускорения оси колеса не превышают 3 м/с2. Однако установлено, что для эффективного гашения резонансных колебаний необходимо применение несимметричного демпфирования, при котором сопротивление на ходе сжатия будет больше, чем на ходе отбоя.
ДОПОЛНИТЕЛЬНАЯ ИНФОРМАЦИЯ
Вклад авторов. В.В. Новиков ― написание текста рукописи, экспертная оценка; А.В. Поздеев ― разработка методики испытаний, экспертная оценка, утверждение финальной версии; Д.А. Чумаков ― редактирование текста рукописи, проведение испытаний; Н.М. Колесов ― изготовление и сборка экспериментальной установки, проведение испытаний; Н.В. Тимошин ― изготовление и сборка экспериментальной установки, обработка результатов; Т.А. Кагочкин ― редактирование текста рукописи, создание изображений, проведение теоретических исследований; В.Е. Скрибунова ― поиск публикаций по теме статьи, написание текста рукописи, разработка матмодели, проведение теоретических исследований. Все авторы подтверждают соответствие своего авторства международным критериям ICMJE (все авторы внесли существенный вклад в разработку концепции, проведение исследования и подготовку статьи, прочли и одобрили финальную версию перед публикацией).
Конфликт интересов. Авторы декларируют отсутствие явных и потенциальных конфликтов интересов, связанных с публикацией настоящей статьи.
Источник финансирования. Авторы заявляют об отсутствии внешнего финансирования при проведении исследования.
ADDITIONAL INFORMATION
Authors’ contribution. V.V. Novikov ― writing the text of the manuscript, expert opinion; A.V. Pozdeev ― development of a test procedure, expert opinion, approval of the final version; D.A. Chumakov ― editing the text of the manuscript, conducting tests; N.M. Kolesov ― fabrication and assembly of the experimental setup, testing; N.V. Timoshin ― fabrication and assembly of the experimental setup, processing of results; T.A. Kagochkin ― editing the text of the manuscript, creating images, conducting theoretical research; V.E. Skribunova ― search for publications on the topic of the article, writing the text of the manuscript, development of a mathematical model, conducting theoretical research. All authors made a substantial contribution to the conception of the work, acquisition, analysis, interpretation of data for the work, drafting and revising the work, final approval of the version to be published and agree to be accountable for all aspects of the work.
Competing interests. The authors declare that they have no competing interests.
Funding source. This study was not supported by any external sources of funding.
作者简介
Vyacheslav Novikov
Volgograd State Technical University
Email: nvv_60@mail.ru
ORCID iD: 0000-0002-0917-781X
SPIN 代码: 5698-1330
Professor, Dr. Sci. (Engineering), Professor of the Automatic Units Department
俄罗斯联邦, 28 Lenin avenue, 400005 VolgogradAlexey Pozdeev
Volgograd State Technical University
编辑信件的主要联系方式.
Email: pozdeev.vstu@gmail.com
ORCID iD: 0000-0002-3144-3619
SPIN 代码: 5559-5294
Cand. Sci. (Engineering), Associate Professor of the Automatic Units Department
俄罗斯联邦, 28 Lenin avenue, 400005 VolgogradDmitry Chumakov
Volgograd State Technical University
Email: chda1991@yandex.ru
ORCID iD: 0000-0003-3958-128X
SPIN 代码: 4856-4448
Cand. Sci. (Engineering), Engineer of the Automatic Units Department
俄罗斯联邦, 28 Lenin avenue, 400005 VolgogradNikolay Kolesov
Volgograd State Technical University
Email: kolesov.nikolay2017@yandex.ru
ORCID iD: 0009-0006-2377-5863
SPIN 代码: 3653-6177
Postgraduate of the Automatic Units Department
俄罗斯联邦, VolgogradNikolay Timoshin
Volgograd State Technical University
Email: titan_34rus@mail.ru
ORCID iD: 0009-0006-6890-2854
SPIN 代码: 2327-9267
Postgraduate of the Automatic Units Department
俄罗斯联邦, 28 Lenin avenue, 400005 VolgogradTimofey Kagochkin
Volgograd State Technical University
Email: tkagochkin@mail.ru
ORCID iD: 0009-0004-8944-1175
SPIN 代码: 2758-8598
Student of the Automatic Units Department
俄罗斯联邦, 28 Lenin avenue, 400005 VolgogradValeriya Skribunova
Volgograd State Technical University
Email: sswwaattxx@yandex.ru
ORCID iD: 0009-0001-2338-6941
SPIN 代码: 8056-3510
Student of the Automatic Units Department
俄罗斯联邦, 28 Lenin avenue, 400005 Volgograd参考
- Patent RUS № 2108240 / 10.04.1998. Ryabov IM. Koleso transportnogo sredstva. (In Russ.) EDN: UUZFGT
- Patent RUS № 2133675 / 27.09.1999. Byul. № 21. Enaev AA., Mazur VV, Yatsenko NN. Koleso s vnutrennim podressorivaniem. (In Russ.) EDN: XTYFJB
- Patent RUS № 2144862 / 27.01.2000. Byul. № 3. Ryabov IM. Koleso transportnogo sredstva. (In Russ.) EDN: XPSKUO
- Patent RUS № 2178742 / 27.01.2002. Byul. № 3. Ryabov IM. Koleso transportnogo sredstva. (In Russ.) EDN: EEKHYT
- Gavrikov AN. Razrabotka i obosnovanie parametrov “gibkih koles”, ispolzuemykh na selskokhozyaystvennoy tekhnike [dissertation] Moscow; 2004. (In Russ.) EDN: NMPLXF
- Mazur VV. Povyshenie plavnosti khoda avtotransportnykh sredstv vnutrennim podressorivaniem koles [dissertation] Bratsk; 2004. (In Russ.) EDN: JSVYZZ
- Batmanov VN. Povyshenie effektivnosti raboty traktorov klassa 1,4 pri ispolzovanii nepolnokruglykh dvizhiteley [dissertation] Cheboksary; 2005. (In Russ.) EDN: NNUIHD
- Kuznetsov NG, Zhutov AG, Kareva NV. Horizontal rigidity of the tractor’s drive wheels and its traction performance. Tractors and Agricultural Machinery. 2005; 11: 15–16. (In Russ.)
- Ryabov IM, Chernyshov KV, Sokolov AYu. Mathematical model of a wheel with a pneumatic damping system for non-suspension machines. In: Izv. VolgGTU. Seriya «Nazemnye transportnye sistemy»: mezhvuz. sb. nauch. st. Volgograd: VolgGTU; 2007;2(8):51–53. (In Russ.)
- Zlobin VI. Povyshenie effektivnosti ispolzovaniya kolesnogo traktora klassa 1,4 za schet postanovki sdvoennykh koles v selskokhozyaystvennom proizvodstve Amurskoy oblasti [dissertation] Moscow; 2006. EDN: NOLQMD
- Patent RUS № 2279354 / 10.07.2006. Byul. № 19. Polivaev OI, Pankov AV, Zolotykh ED, Kuznetsov AN. Koleso transportnogo sredstva. (In Russ.) EDN: DAXXEL
- Shilo IN, Chigarev YuV, Romanyuk NN, Volsky AL. Decreasing soil compaction by controlling the damping properties of pneumatic wheel propellers. Vestnik Belorussko-Rossiyskogo universiteta. 2008;1(18):57–62. (In Russ.)
- Grushnikov VA, Kalinkovsky VS. Safe tires. Avtomobilnaya promyshlennost. 2010;3:18–21. (In Russ.)
- Yarovoy VG, Sharapov AP. Tire as an elastic damping link of an agricultural tractor. Vestnik agrarnoy nauki Dona. 2010;3:25–30. (In Russ.)
- Rykov SP, Snitsarev AV, Teterin SN. Design, calculation and test results of a wheel mover for low-speed transport. Sistemy. Metody. Tekhnologii. 2013;3(19):84–89. (In Russ.)
- Patent RUS № 2657815 / 15.06.2018. Byul. № 17. Manfanovsky SB, Enaev AA. Koleso s vnutrennim podressorivaniem i dempfiruyushchimi elementami. (In Russ.) EDN: LGXATM
- Aldhufairi H, Essa K, Olatunbosun O. Multi-chamber tire concept for low rolling-resistance. SAE International Journal of Passenger Cars — Mechanical Systems. 2019;12(2):111–126. doi: 10.4271/06-12-02-0009
- Aldhufairi HS, Olatunbosun OA, Essa K. Multi-chamber tyre designing for fuel economy. Proceedings of the Institution of Mechanical Engineers, Part D: Journal of Automobile Engineering. 2020;234(2–3):522–535. doi: 10.1177/0954407019857026
- Novikov VV, Pozdeev AV, Chernyshov KV, et al. The main directions of development of wheel structures with pneumatic tires. Energo- i resursosberezhenie: promyshlennost i transport. 2021;4(37):38–44. (In Russ.)
- Patent RUS № 2711771 / 22.01.2020. Byul. № 3. Novikov VV, Pozdeev AV, Zhdamirova EV. Koleso transportnogo sredstva. (In Russ.) EDN: YCYHBR
- Patent RUS № 2770032 / 14.04.2022. Byul. № 11. Novikov VV, Kagochkin TA, Skribunova VE, Chernyshov KV, Pozdeev AV. Koleso transportnogo sredstva. (In Russ.) EDN: TANFWR
- Patent RUS № 2768422 / 24.03.2022. Byul. № 9. Novikov VV, Kagochkin TA, Skribunova VE, Chernyshov KV, Pozdeev AV. Koleso transportnogo sredstva. (In Russ.) EDN: MVXPKF
- Pozdeev AV. The device and principle of operation of a single-support hydropulsator vibro-stand: textbook. Volgograd: VolgGTU; 2020. (In Russ.)
补充文件
















