Justification of usability of the heat accumulator of phase transition in vehicles’ engines pre-start warming-up procedure
- Authors: Kolunin A.V.1, Kaminsky V.N.1, Apelinsky D.V.1, Lazarev E.S.2, Korytov M.S.3
-
Affiliations:
- Moscow Polytechnic University
- Omsk State Transport University
- Siberian State Automobile and Highway University
- Issue: Vol 91, No 1 (2024)
- Pages: 55-64
- Section: Theory, designing, testing
- Submitted: 25.01.2024
- Accepted: 16.02.2024
- Published: 15.03.2024
- URL: https://journals.eco-vector.com/0321-4443/article/view/625989
- DOI: https://doi.org/10.17816/0321-4443-625989
- ID: 625989
Cite item
Abstract
BACKGROUND: The trend of activity increase in exploration of transpolar areas has been observed for recent years. Negative temperatures, the key feature of the North, have a negative impact on state of piston engines of on-ground transport. In engine’s cylinders, the process of transition of liquid fuel in gaseous state goes before the mixture ignition. Negative temperatures affect the phase transition process and impede the working body homogenization. Therefore, engine pre-start warming-up procedure goes before successful engine start. Existing typical methods of pre-start warming-up demand fuel consumption and, generally, significant staff resources. Achievements of modern science offer new technologies for solving the issues of warming-up procedures based on accumulating, storage and deployment of heat energy produces by an engine during its operation.
AIM: Justification of usability of the heat accumulator of phase transition in pre-start warming-up procedure for vehicles’ engines operating in conditions of negative temperatures of cold climate.
METHODS: Numerical values of heat accumulator charging period depending on temperature of heat-accumulating material at various initial temperatures of coolant as well as values of the discharging period depending on temperature of heat-accumulating material at various coolant rates were defined experimentally. High-density polyethylene was used as a heat-accumulating material.
RESULTS: As a result of the described experiment, curves of heat accumulator charging period depending on heat-accumulating material temperature at various initial temperatures of coolant and curves of heat accumulator discharging period depending on coolant temperature at various coolant rates were built.
CONCLUSIONS: It is found that the heat accumulator of phase transition with high-density polyethylene as a heat-accumulating material can be used for improving the reliability of vehicles’ piston engine start in conditions of negative temperatures of cold climate.
Full Text
BACKGROUND
The Russian Federation lies in the middle and high latitudes of the continent. Weather conditions in most territories of the country can be classified as rigorous, and seasonal changes are contrasting in nature, with winters being lengthy and frosty. The cold climate zone, whose average temperature during winter months decreases to below −20°C and whose number of cold days reaches 270, covers more than 50% of the area, including the regions of Siberia, the Far North, and the Far East.
The Northern Sea Route covers the shortest communication between the European part of Russia and the Far East. The Northwest Passage represents the sea route between the Atlantic and Pacific oceans. Meanwhile, the air bridge between North America and Southeast Asia passes through polar territories of the Russian Federation. The intact mineral reserves found in these areas belong to Russian people. Such territorial locations offer not only natural resources but also a strategic advantage for the economy and defense sector. The protection and provision of national interests of Russia can be found in the Presidential Decree No. 645 of October 26, 2020 “On the Strategy for the Development of the Arctic Zone of the Russian Federation and Ensuring National Security for the Period until 2035,” and inter alia based on the usage of advanced technologies and equipment adapted to harsh conditions of polar regions. Road transport contributes to the long-term development of northern territories. According to the analytical agency «Autostat», by mid-2023, 3.7 million motor lorries would have been located in Russia. The auto giant KamAZ accounts for more than a quarter (26%) of this fleet; 963 thousand of such trucks are registered in Russia. These trucks are followed by those produced by GAZ rank (600 thousand vehicles), ZIL brand vehicles (402 thousand units), and MAZ and Ural vehicles (265 thousand and 170 thousand units, respectively). Russian brands holds more than 65% of the Russian trucks fleet. Amount of trucks for some regions of Russia is given in Table 1.
Table 1. Trucks fleet in some Russian regions
Таблица 1. Численность парка грузовых автомобилей по некоторым регионам России
No. | Name of region | Number of motor vehicles |
1 | Arkhangelsk region | 23457 |
2 | Sverdlovsk region | 68725 |
3 | Irkutsk region | 70315 |
4 | Krasnoyarsk region | 67443 |
5 | Murmansk region | 9817 |
6 | Omsk region | 52428 |
7 | Primorsky region | 41432 |
8 | Republic of Buryatia | 60217 |
9 | Republic of Karelia | 138014 |
10 | Republic of Komi | 27277 |
11 | Tyumen region | 97049 |
These regions are known by negative winter temperatures. Successful engine start under such conditions necessitates thermal preparation. Mixture ignition in engine cylinders is preceded by the transition of liquid fuel into a gaseous state. Negative temperatures negatively influence the process of phase states changing and prevent the homogenization of the fuel–air mixture. The probability of a successful engine start also decreases due to other reasons related to the viscosity of engine oil and electric battery capacity [1, 2].
Scientists have been attempting to solve the problematic of starting low-temperature engines [3–5]. Days of bonfires making or blowtorches using for successfully engine start are gone in past. Modern society has arrived at a new stage of development. Currently, advanced technologies can ensure successful engine start at negative temperatures within a short period, with minimal energy consumption and minimal labor intensity.
The heat generated by the engine itself during vehicle use can be used for thermal preparation of engines. 25% of the heat introduced with the fuel into the combustion chamber is converted and used in efficient operation during an actual cycle. The thermal potential is wasted due to incomplete combustion of fuel, activation of its internal systems and mechanisms, loss with exhaust gases, and dissipation into the atmosphere through the cooling system. The application of advanced technologies based on modern achievements in science and technology can ensure the rational application of unused heat in efficient engine operations.
PROBLEM FORMULATION
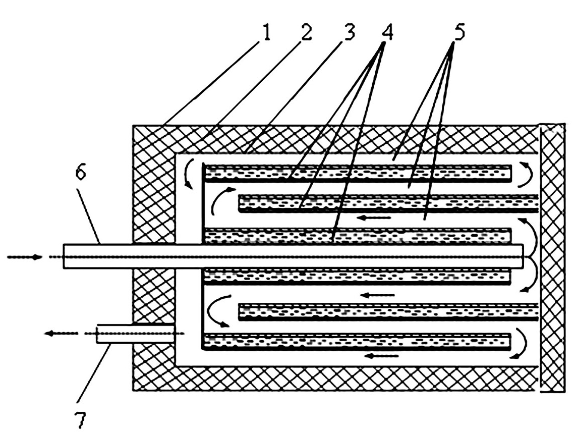
Start-up reliability can be increased and engine resource damage be reduced during low-temperature start-up without additional consumption of energy-producing material via the principle of accumulating its thermal energy in relation to piston engine systems. One of the cardinal ways to solving this problem is using of a device, that can accumulate, store, and use thermal energy. Such devices are termed “thermal accumulators” [6–9]. The most acceptable for thermal preparation among known types of heat accumulators is the phase transition heat accumulator; this type of heat accumulator operates on the principle of “melting – crystallization,” with a thermal effect involving the release or absorption of phase transition heat. Thermal accumulators operate based on the implementation of heat exchange processes among various means. The principle of heat transfer contributes to the general doctrine of heat, whose foundation was laid by Lomonosov on the basis of corpuscular theory of the structure of matter, which was put forward in the middle of the 18th century. Heat transfer processes show associations with heat transfer from more heated bodies to less heated ones. When the state of aggregation changes (melting–solidification, evaporation–condensation), considerable amounts of energy are absorbed or released. Therefore, the enthalpy of substances in such devices does not increase considerably due to the increase in temperature, but because of alterations in the state of aggregation. The primary storage matter (depository) comprises a heat-storing material (HSM) enclosed in hermetically sealed capsules and which is in thermal interaction with the heat transfer fluid. Cooling fluids can be considered as heat transfer fluid if the accumulator is integrated in engine cooling system. The heat-exchange interaction of the heat-storing material with the coolant, using the example of a cooling system, is ensured by the operation of a circulation pump, which sets the low labor intensity of thermal preparation. Various thermal accumulator designs have been patented and described. Figure 1 displays a diagram of the longitudinal section of the simplest design of a cylindrical-phase-transition-heat accumulator.
Fig. 1. The heat accumulator of phase transition in longitudinal section: 1 — an outer housing; 2 — heat isolation; 3 — an inner housing; 4 — metal cylindrical capsules with a heat-accumulating material; 5 — coolant path gaps; 6 — an inlet; 7 — an outlet.
Рис. 1. Тепловой аккумулятор фазового перехода в продольном разрезе: 1 — наружный корпус; 2 — тепловая изоляция; 3 — внутренний корпус; 4 — металлические цилиндрические капсулы с теплоаккумулирующим материалом; 5 — щелевые зазоры теплоносителя; 6 — входной патрубок; 7 — выходной патрубок.
The heat accumulator comprises a heat-insulated cylindrical body and inlet and outlet pipes connected to the cooling system. The housing contains a heat exchanger equipped with coaxially located cylindrical capsules. The hermetically sealed capsules are filled with the heat-storing material [9]. Heat-storing materials include high-density polyethylene, paraffin, and barium hydroxide octohydrate. Thermal insulation materials ensure long-term readiness of heat accumulators during equipment storage. Thermal accumulators may vary in design and amount of heat-storing material [10].
Table 2. Specification of the heat accumulator
Таблица 2. Характеристики теплового аккумулятора
Name | Characteristics |
Heat-storing material | High-density polyethylene |
Weight of heat-storing material, kg | 18 |
Weight, kg | 31,45 |
Overall dimensions, mm | 174×270×460 |
Thermal insulation | Foam plastic and two-layer foamed polymer covered with aluminum foil |
Housing material | Stainless steel |
Heat exchanger material | Brass |
Thermal capacity, J/kg K | 46,5 |
Thermal charge storage time, hours | 39 |
Table 2 presents the characteristics of a heat accumulator, whose design includes 18 kg heat-storing material.
With all the works conducted in the field of thermal accumulators, there are no substantive and objective assessment of their adaptability for vehicle engines is available. In addition, the charging/discharging duration of thermal accumulators under different conditions is unknown. Moreover, comprehensive practice and experience of application is lacking. Thus, an experiment was conducted to determine the possibility (rationality) of using a heat accumulator.
EXPERIMENT
An experiment, which involved the preparation of a special installation, was conducted as a part of the development of innovative technical solutions aimed at the improvement of thermal preparation means. The experimental technique included tests in charging (receipt of thermal energy) and discharging (release of thermal energy) modes. Atmospheric air was used as a coolant. High-density polyethylene was used as a heat-storing material in the phase transition. Table 3 shows properties of high-density polyethylene.
The experiment was performed to determine the dependence of charging time of heat accumulators on various coolant temperatures and that of discharge time on the heat accumulator circuit’s coolant volumetric flow rate. Thus, the volumetric flow rate of the coolant and its initial temperature should define the activities of the heat exchange processes in two different modes and during heat charge/discharge [11].
Table 3. Properties of high-density polyethylene
Таблица 3. Свойства полиэтилена высокой плотности
Parameter | Characteristic |
Density, kg/m3 | 0,956 |
Phase transition temperature, K | 398–408 |
Specific heat of phase transition, kJ/kg | 230 |
Specific heat capacity, kJ/kg∙K | 2,5 |
Thermal conductivity coefficient, W/m∙K | 0,25 |
The former case is charging mode, where heat accumulator’s chargingon time depends of the coolant temperature. The the latter case is in the discharge mode, in which the dependence of heat accumulator’s discharge time on the volumetric flow rate of the coolant was determined.
Table 4. Experiment parameters in charging/discharging modes of the heat accumulator
Таблица 4. Параметры эксперимента в режиме зарядки/разрядки теплового аккумулятора
Charging mode | ||||
Parameter | Temperature of the heat storage material | Charging time | Initial temperature of the coolant | Volumetric flow rate of the coolant |
Value | Argument 20–125 | Required function | 110, 120, 130, 140, 150, 160, 170 | const 0.22 |
Dimension | t, °С | τ, c | t, °С | m3/s |
Discharge mode | ||||
Value | Argument 20–125 | Required function | const minus 25 | 0,1; 0,12; 0,14; 0,16; 0,18; 0,2; 0,22 |
Dimension | t, °С | τ, c | t, °С | m3/s |
The experimental parameters were categorized into fixed and varied ones. Table 4 presents a summary of the experimental parameters in various modes.
The degree of reliability was ensured using an adequate number of measurements obtained and the permissible error of instruments (Table 5).
Table 5. Measuring devices
Таблица 5. Измерительные приборы
Device name | Characteristics |
TPP thermocouple | measurement range from 0 to +600°С error ±1°С material of manufacture – platinum |
Sensor Zentec HS1-01 | measurement range from −40 to +300°С error ±0.5°С |
Multichannel temperature meter MIT-12 | number of channels 12 error ±1°С |
Coolant flow meter G4 UGI Meters LTD | maximum permissible flow rate 380 dm3/min error ±0.5 % |
Timer Kaiser | Laboratory electronic type |
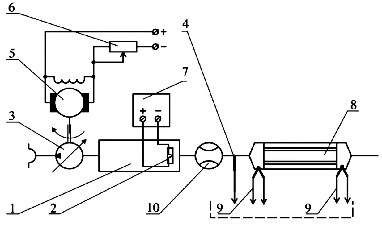
Following the classification, this experiment was categorized as a laboratory experiment [10]. The experiment was conducted in a specialized laboratory with an air temperature of 20°C, an atmospheric pressure of 768 mmHg, and air humidity of 82%. Figure 2 presents the experiment used a special unit.
Fig. 2. Diagram of the experimental facility: 1 — an initial coolant temperature adjuster; 2 — a heating-cooling element; 3 — a supercharger; 4 — a thermal couple; 5 — an electric engine; 6 — a variable resistance element; 7 — an automatic control system of the heating-cooling element; 8 — a heat accumulator; 9 — thermal couples; 10 — the UGI Meters G4 gas flowmeter.
Рис. 2. Схема экспериментальной установки: 1 — регулятор начальной температуры теплоносителя; 2 — нагревательно-охладительный элемент; 3 — воздушный нагнетатель; 4 — термопара; 5 — электрический двигатель; 6 — переменное сопротивление; 7 — автоматическая система управления нагревательно-охладительным элементом; 8 — тепловой аккумулятор; 9 — термопары; 10 — расходомер газовый G4 фирмы UGI Meters LTD.
The experimental technique involved seven cycles of charging and discharging modes performed sequentially. Repeated cycles promote the increase in the reliability of information for the achievement of the experimental aim [11]. The thermal accumulator was charged until a phase-transition temperature of the heat-storing material of 125°C with various coolant temperatures a constant flow rate. Heat accumulator discharge was achieved at a certain temperature of the heat-storing material of 20°C with various activities of coolant circulation and at its constant initial temperature, after which another charge was performed.
In accordance with the experimental plan, a fixed temperature of the coolant was set in heat accumulator 8 using the heating element power control system, after which the coolant was supplied by a supercharger 3. The duration was quantified from the initial charging of the heat accumulator, that is, from 20°C, and recorded depending on temperature modifications every 10°C to the set temperature of the heat-storing material (125°C). Temperature change the of the heat-storing material can influence the charging cycle duration [10]. Each initial temperature of the coolant corresponded to its own series of measurements. In this work, seven series of measurements were performed. Table 6 presents the charging times of the heat accumulator depending on the coolant temperature.
The dependence of heat-accumulator charging time on the heat-storing material temperature was constructed graphically at various initial temperatures of the coolant based on the values obtained. Figure 3 presents the dependencies.
Table 6. Heat accumulator charging period depending on the heat-storing material temperature at various coolant initial temperatures
Таблица 6. Время зарядки теплового аккумулятора в зависимости от температуры теплоаккумулирующего материала при различных начальных температурах теплоносителя
Heat-storing material temperature, °С | 20 | 30 | 40 | 50 | 60 | 70 | 80 | 90 | 100 | 110 | 120 | 125 | |
Charge time, s | |||||||||||||
Coolant temperature, °С | 110 | 0 | 102 | 125 | 358 | 552 | 753 | 983 | 1262 | 1544 | |||
120 | 0 | 91 | 201 | 325 | 491 | 662 | 880 | 1141 | 1452 | 1795 | |||
130 | 0 | 89 | 178 | 295 | 431 | 569 | 778 | 1028 | 1361 | 1709 | 2051 | ||
140 | 0 | 85 | 155 | 262 | 371 | 493 | 672 | 908 | 1227 | 1601 | 1998 | 2434 | |
150 | 0 | 79 | 133 | 231 | 295 | 421 | 578 | 802 | 1150 | 1495 | 1921 | 2145 | |
160 | 0 | 60 | 120 | 176 | 221 | 315 | 448 | 683 | 1003 | 1402 | 1804 | 2032 | |
170 | 0 | 60 | 102 | 131 | 167 | 250 | 350 | 550 | 850 | 1250 | 1650 | 1896 | |
Fig. 3. Curves of heat accumulator charging period depending on the heat-accumulating material temperature at various coolant initial temperatures.
Рис. 3. Зависимости времени зарядки теплового аккумулятора от температуры теплоаккумулирующего материала при различных начальных температурах теплоносителя.
Under discharge conditions, the experimental technique provided a nonvariable initial value of the coolant and different volumetric flow rates. The temperature of the heat-storing material can influence the discharge duration of thermal accumulators [10]. Each volumetric flow rate of the coolant corresponded to its own series of measurements. In this work, seven series of measurements were performed. Table 7 presents a summary of the numerical values of the discharge time of the heat accumulator depending on the coolant flow rate.
Based on numerical values, we plotted the graphical dependences of the discharge period of the heat accumulator on the coolant temperature at different volumetric flow rates of the coolant (Fig. 4).
Table 7. Heat accumulator discharging period depending on heat-storing material temperature at various coolant rates
Таблица 7. Время разрядки теплового аккумулятора в зависимости от температуры теплоаккумулирующего материала при различных объёмных расходах теплоносителя
Heat-storing material temperature, °С | 125 | 120 | 110 | 100 | 90 | 80 | 70 | 60 | 50 | 40 | 30 | 20 | |
Discharge time, s | |||||||||||||
Coolant flow rate, m3/s | 0,1 | 0 | 10 | 22 | 62 | 104 | 153 | 214 | 275 | 345 | 436 | 538 | 674 |
0,12 | 0 | 9 | 21 | 56 | 95 | 140 | 191 | 246 | 315 | 391 | 487 | 617 | |
0,14 | 0 | 8 | 20 | 50 | 86 | 127 | 168 | 216 | 278 | 346 | 438 | 567 | |
0,16 | 0 | 7 | 19 | 45 | 77 | 111 | 145 | 186 | 237 | 301 | 389 | 505 | |
0,18 | 0 | 6 | 19 | 40 | 68 | 95 | 122 | 155 | 198 | 255 | 349 | 456 | |
0,2 | 0 | 5 | 17 | 28 | 48 | 68 | 92 | 125 | 168 | 222 | 301 | 414 | |
0,22 | 0 | 4 | 10 | 18 | 28 | 43 | 66 | 97 | 140 | 194 | 257 | 366 | |
Fig. 4. Curves of heat accumulator discharging period depending on heat-accumulating material temperature at various coolant rates.
Рис. 4. Зависимости времени разрядки теплового аккумулятора о.т температуры теплоносителя при ра.зл.ич.ны.х объёмных расходах теплоносителя.
The following conclusions were formulated from the described experimental results.
- Under various temperatures of the heat-storing material, the established dependences of the thermal accumulator charge duration indicate the influence of initial coolant temperatures on charging cycle duration. The coolant temperature increase reduced the charging time. The charging time under experimental conditions ranged from 1896 s to 2434 s.
- The dependences of the discharge duration of a thermal accumulator under various activities of coolant movement werer established, and they indicate the influence of the temperature of the latter on discharge cycle duration. The discharge duration under experimental conditions ranged from 366 s to 674 s.
- The duration of charge–discharge cycles and the low labor intensity of the work can technologically fit using various measures to improve the heat exchange processes of a cold engine. At negative temperatures during a cold climate, phase-transition thermal accumulators with a high-density heat-storing material (polyethylene) can be used to increase the reliability of starting piston engines of vehicles.
CONCLUSIONS
The device described in this work applies to the improvement of heat exchange processes as a part of the thermal preparation of vehicle piston engines at subzero temperatures. The new technical solution can be recognized through its high technology, low labor intensity, and energy efficiency. The device, described in this article,can increase the temperature of lubrication system oil, coolant of the cooling system, and the mixture of atmospheric air gases in the air supply system. High thermal insulation efficiency is a necessary condition for such application, which preserves the acquired energy for a long time in order to avoid self-discharge due to heat exchange processes with the environment.
ADDITIONAL INFORMATION
Authors’ contribution. A.V. Kolunin — search for publications on the topic of the article, writing the text of the manuscript; V.N. Kaminsky — expert opinion, approval of the final version; E.S. Lazarev — editing the manuscript text; D.V. Apelinsky — editing the manuscript text, creating images; M.S. Korytov — creating images and tables. All authors made a substantial contribution to the conception of the work, acquisition, analysis, interpretation of data for the work, drafting and revising the work, final approval of the version to be published and agree to be accountable for all aspects of the work.
Competing of interests. The authors declare the absence of obvious and potential conflicts of interest.
Funding source. This study was not supported by any external sources of funding.
ДОПОЛНИТЕЛЬНАЯ ИНФОРМАЦИЯ
Вклад авторов. А.В. Колунин ― поиск публикаций по теме статьи, написание текста рукописи; В.Н. Каминский ― экспертная оценка, утверждение финальной версии; Е.С. Лазарев ― редактирование текста рукописи; Д.В. Апелинский ― редактирование текста рукописи, создание изображений; М.С. Корытов ― создание изображений и таблиц. Авторы подтверждают соответствие своего авторства международным критериям ICMJE (все авторы внесли существенный вклад в разработку концепции, проведение исследования и подготовку статьи, прочли и одобрили финальную версию перед публикацией).
Конфликт интересов. Авторы декларируют отсутствие явных и потенциальных конфликтов интересов, связанных с публикацией настоящей статьи.
Источник финансирования. Авторы заявляют об отсутствии внешнего финансирования при проведении исследования.
About the authors
Alexander V. Kolunin
Moscow Polytechnic University
Author for correspondence.
Email: kolunin2003@mail.ru
ORCID iD: 0000-0001-7151-8489
SPIN-code: 7483-9619
Associate Professor, Cand. Sci. (Engineering), Associate Professor of the Power Plants for Transport and Small Energy Department
Russian Federation, 38 Bolshaya Semenovskaya street, 107023 MoscowValery N. Kaminsky
Moscow Polytechnic University
Email: kamr@mail.ru
ORCID iD: 0000-0002-5430-4304
SPIN-code: 8509-5210
Dr. Sci. (Engineering), Professor of the Power Plants for Transport and Small Energy Department
Russian Federation, 38 Bolshaya Semenovskaya street, 107023 MoscowDmitry V. Apelinsky
Moscow Polytechnic University
Email: apelinskiy_mami@mail.ru
ORCID iD: 0000-0003-2841-6895
SPIN-code: 2311-0480
Associate Professor, Cand. Sci. (Engineering), Associate Professor of the Power Plants for Transport and Small Energy Department
Russian Federation, 38 Bolshaya Semenovskaya street, 107023 MoscowEvgeny S. Lazarev
Omsk State Transport University
Email: incoe@yandex.ru
ORCID iD: 0000-0002-0226-3678
SPIN-code: 7069-0551
Senior Lecturer of the Heat Power and Thermal Engineering Department
Russian Federation, OmskMikhail S. Korytov
Siberian State Automobile and Highway University
Email: kms142@mail.ru
ORCID iD: 0000-0002-5104-7568
SPIN-code: 2921-4760
Professor of the Department of Automobile Transport, Doctor of Technical Sciences, Associate Professor
Russian Federation, 5 Mira Avenue, 644080, OmskReferences
- Kolunin AV. Vliyanie nizkikh temperatur okruzhayushchey sredy na periodichnost tekhnicheskogo obsluzhivaniya silovykh ustanovok dorozhnykh i stroitelnykh mashin [dissertation] Omsk; 2006. EDN: NOLQPP
- Kolunin AV, Materi IV, Derevskov NYu. Obzor sredstv obespecheniya puska dizelnykh dvigateley v usloviyakh otritsatelnykh temperature. Strategicheskaya stabilnost. 2021;4(97):34–38. EDN: KHYBCW
- Seledkin AA, Malozemov AA. Otsenka puskovykh kharakteristik dizeley tipa 4ch13/14 i chn13/14 v usloviyakh nizkikh temperatur okruzhayushchego vozdukha. In: Materialy Mezhdunarodnoy nauchno-tekhnicheskoy konferentsii «Problemy ekspluatatsii i obsluzhivaniya transportno-tekhnologicheskikh mashin». Tyumen. 08 aprelya 2009. Tyumen; 2009:305–310.
- Seledkin AA, Malozemov AA, Gertsev VV. Effektivnost meropriyatiy po uluchsheniyu puskovykh kharakteristik dizeley razmernostyu 13/14. Nauchnye problemy transporta Sibiri i dalnego vostoka. 2009;2:220–223. EDN: LPWZHJ
- Romanov DV, Kukis VS, Malozemov AA. Uluchshenie puskovykh kachestv dizeley razmernostyu 13/14. Nauchnye problemy transporta Sibiri i Dalnego Vostoka. 2011;1:211–214. EDN: LPWZHJ
- Kolunin AV, Altukhov YaV, Terzi DV, et al. Teplovoy akkumulyator kak sredstvo povysheniya puskovoy nadezhnosti porshnevykh dvigateley v usloviyakh otritsatelnykh temperatur. In: Sbornik materialov 9 mezhdunarodnoy nauchno-tekhnicheskoy konferentsii «Tekhnika i tekhnologiya neftekhimicheskogo i neftegazovogo proizvodstva» 2019. Omsk: OmGTU; 2019:179–180.
- Patent RUS 2052734 / 20.01.1996. Byul. №2. Alekseev GL, Borisov SYu, Alekseev GL, et al. Akkumulyator teploty. [cited: 08.10.2023] Available from: https://elibrary.ru/download/elibrary_38026453_11655862.pdf EDN: VMTDIY
- Patent RUS 2755235 / 14.09.2021. Byul. № 26. Shabalin DV, Terzi DV, Altukhov YaV, et al. Sposob i ustroystvo predpuskovoy podgotovki dvigatelya vnutrennego sgoraniya. [cited: 08.10.2023] Available from: https://elibrary.ru/download/elibrary_46606177_39024178.PDF EDN: DZJMMC
- Terzi DV. Induktsionnaya podderzhka rabotosposobnosti teplovogo akkumulyatora dvigatelya v usloviyakh otritsatelnykh temperature. Vestnik grazhdanskikh inzhenerov. 2019;4(75):145–150. EDN: BTTDKT doi: 10.23968/1999-5571-2019-16-4-145-150
- Terzi DV, Altukhov YaV. Ispolzovanie printsipa akkumulirovaniya energii dlya nadezhnogo puska dvigatelya v usloviyakh otritsatelnykh temperatur okruzhayushchey sredy. In: Materialy II Mezhdunarodnoy nauchno-prakticheskoy konferentsii «Dinamika razvitiya sistemy voennogo obrazovaniya». Omsk: OGTU; 2020:133–141. EDN: ZYNSHK
- Terzi DV, Altukhov YaV, Materi IV. Teplovoy akkumulyator fazovogo perekhoda kak sredstvo uluchsheniya puskovykh kharakteristik dvigateley v usloviyakh otritsatelnykh temperature. Voprosy oboronnoy tekhniki. Seriya 16: Tekhnicheskie sredstva protivodeystviya terrorizmu. 2020;5–6(143–144):92–98. EDN: MJNGCI
Supplementary files








