The influence of the composition of the combed grain heap on the preliminary separation of loose grain
- Authors: Ozhereliev V.N.1, Nikitin V.V.1, Savin V.Y.2, Sinyaya N.V.1
-
Affiliations:
- Bryansk State Agrarian University
- Bauman Moscow State Technical University
- Issue: Vol 91, No 5 (2024)
- Pages: 553-561
- Section: Theory, designing, testing
- Submitted: 18.03.2024
- Accepted: 03.11.2024
- Published: 06.12.2024
- URL: https://journals.eco-vector.com/0321-4443/article/view/629204
- DOI: https://doi.org/10.17816/0321-4443-629204
- ID: 629204
Cite item
Abstract
BACKGROUND: The paper reviews the state of the problem of grain harvesting by the method of combing plants on the root. Attention is focused on the potential economic efficiency of the method and on the scientific and technological problems hindering its widespread implementation. In particular, in order to reduce the degree of crushing of loose grain, it is necessary to separate it preliminary and prevent it from entering the threshing device. It is proposed to remove grain directly on the lattice bottom of the inclined chamber of the combine harvester. The scientific hypothesis of the study suggests that in order to improve separation, it is advisable to remove a significant part of light impurities from the pile directly preliminary in the body of the combing adapter.
AIM: Evaluation of the efficiency of separation of loose grain by removing a significant part of light impurities from the combed pile before it enters the inclined chamber.
METHODS: To confirm the hypothesis, the experiment was conducted in which a combed grain pile of wheat of the «Moskovskaya 56» variety of different component composition was fed to a lattice surface equipped with a scraper conveyor. The weight content of the grain varied from 70 to 100%. The experiment took into account the proportion of loose grain that passed through the holes of the grate at its length of 920 mm and the width of the holes of 12 mm. It ranged from 65 to 80% as the content of loose grain in the pile increased.
RESULTS: According to the study results, it was found that the passage of loose grain through the openings of the lattice bottom varies between 65-80%. At the same time, a decrease in the mass fraction of loose grain in the pile reduces its passage through the openings of the lattice surface by 15%.
CONCLUSION: Preliminary removal of light impurities from the combed grain pile, comparable in size to loose grain, can be carried out by using an inertial separation system. Reducing the proportion of light impurities in the pile entering the combine harvester cleaning system makes it possible to significantly increase the efficiency of its operation.
Full Text
Введение
Стремление к совершенствованию техники и технологий является одним из главных драйверов развития человечества. Особенно это актуально для сельского хозяйства, поскольку качественное продовольствие становится недоступным для сотен миллионов жителей планеты, что, в значительной степени, связано с постоянно растущей себестоимостью производства.
В производстве зерна опережающими темпами возрастает доля затрат на его уборку, что связано, в частности, с непропорциональным ростом цены зерноуборочных комбайнов. В связи с этим, актуальной задачей является изыскание альтернативного и более дешёвого способа уборки зерновых культур. Наиболее перспективным с этой точки зрения является очёс зерна на корню, что обусловлено, в частности, исключением в этом случае энергозатрат на деформацию и разрыв соломы, достигающих в традиционном зерноуборочном комбайне до 70% от общих затрат энергии на обмолот [1]. Кроме того, создаются предпосылки по существенному упрощению конструкции уборочной техники, её металлоёмкости и цены [2]. С этой целью в Крымском федеральном университете предложено окончательную обработку очёсанного вороха производить не в комбайне, а на стационаре. По расчётам крымских учёных такая технология позволит уменьшить приведённые затраты на уборку зерна по сравнению с использованием традиционного комбайна на 36% [3].
Следует также иметь в виду перспективу уменьшения уровня прямых потерь зерна. Так, в Омской области при сопоставимых условиях потери зерна при прямом комбайнировании традиционной жаткой составили 3,7%, тогда как при использовании однобарабанной очёсывающей жатки ОЗОН они уменьшились до 2,5% [4, 5].
В Кубанском ГАУ предложено агрегатировать очёсывающий адаптер с универсальным энергетическим модулем, который может быть дополнительно снабжён дисками для заделки в почву соломы, оставшейся на поле после очёса зерна [6]. При этом авторы делают правомерный вывод о том, что очёс по-прежнему будет оставаться экзотической технологией до тех пор, пока не удастся решить проблему дополнительного повреждения и даже дробления в молотильном устройстве поступающего в него с очёсанным ворохом свободного зерна. Об обоснованности такого опасения можно судить по тому, что, в большинстве случаев, практическое применение очёсывающих жаток на постсоветском пространстве ограничено пока Северным Казахстаном [7].
Как свидетельствуют приведённые выше аргументы, конструктивно-технологическая схема современного зерноуборочного комбайна не соответствует задаче эффективной обработки очёсанного зернового вороха. В частности, оставшиеся недомолоченными колосья, имеют, как правило, слишком короткую соломину неспособную обеспечить приемлемую эффективность ударного воздействия на содержащиеся в них зерновки бичей молотильного барабана [8].
Более серьёзной проблемой является поступающее в молотильный аппарат свободное зерно, которое в очёсанном ворохе по массе может содержаться от 60 до 85% [2]. Очевидно, что никакой технологической потребности в направлении свободного зерна в молотильное устройство нет. При этом зерновки подвергаются жёсткому ударному воздействию со стороны бичей барабана, что способствует как существенному росту энергозатрат, так и резкому увеличению доли дроблёного или, во всяком случае, повреждённого зерна. В силу чего, по сути, мы расходуем энергию на выполнение вредной работы, не обусловленной технологическими потребностями уборочного процесса. Следовательно, первоочередной научной и практической задачей является адаптация конструкции комбайна к эффективной работе с очёсанным зерновым ворохом [9].
Радикальным решением проблемы является перенесение операций по доработке вороха на стационар, либо его непосредственное использование без дополнительной сепарации, например, в животноводстве, путём измельчения всей получаемой массы для получения таким образом основного компонента комбикорма [2, 3, 6, 10]. Второй вариант предполагает радикальное изменение конструкции зерноуборочного комбайна, обеспечивающее предварительную сепарацию очёсанного вороха до его поступления в молотильный аппарат. Выделенное таким образом свободное зерно вместе с частью лёгких примесей должно поступать непосредственно в систему очистки комбайна, а недомолоченные колосья, соломины и другие относительно крупные примеси в молотильное устройство.
Указанное направление модернизации зерноуборочного комбайна может быть реализовано в двух вариантах, точнее — посредством двух групп конструктивных решений. Первая группа предполагает размещение рабочих органов для предварительной сепарации свободного зерна непосредственно перед молотильным барабаном. Поскольку свободного места для этого в конструкции серийных комбайнов не предусмотрено, то необходимо сдвинуть назад молотильный аппарат, укоротив при этом на соответствующую величину соломотряс.
Такое изменение конструкции не должно негативно отразится на эффективности работы последнего, так как очёсанный ворох имеет крайне низкую соломистость. Проблема заключается в том, что модернизированный таким образом комбайн может эффективно работать только с очёсывающим адаптером, тогда как при необходимости перехода на уборку кукурузы или подсолнечника могут возникнуть значительные сложности. Пока приемлемых конструктивных решений проблемы потери комбайном универсальности не предложено, однако, по мнению ряда учёных, она в наших условиях является чрезмерной [11].
Значительно меньше проблем с компоновкой агрегата вызывает размещение устройства для предварительной сепарации свободного зерна непосредственно в наклонной камере [12]. Для этого её днище выполняют решетчатым и под ним размещают дополнительное устройство для подачи прохода непосредственно на транспортную доску системы очистки (рис. 1).
Рис. 1. Общий вид зерноуборочного комбайна с модернизированной наклонной камерой: 1 — наклонная камера; 2 — плавающий транспортёр; 3 — решетчатое днище; 4 — дополнительный скребковый транспортёр; 5 — свободное зерно; 6 — транспортная доска.
Fig. 1. General view of a combine harvester with an upgraded inclined chamber: 1 — the inclined chamber; 2 — a floating conveyor; 3 — a lattice bottom; 4 — an additional scraper conveyor; 5 — loose grain; 6 — a transport board.
В Брянском ГАУ экспериментальной наклонной камерой была снабжена очёсывающая жатка ЖО-5 «ОЗОН», агрегатировавшаяся с комбайном «Нива-Эффект». Испытания в 2021 году прошли успешно. В частности, удалось в три раза уменьшить содержание в бункере дроблёного зерна [9, 13]. Тем не менее, работа по совершенствованию конструкции была продолжена. Она была направлена на изыскание возможности увеличения скорости сепарации вороха на решетчатом днище наклонной камеры.
Научная гипотеза заключается в том, что для ускорения прохода вороха сквозь отверстия целесообразно предварительно удалить из него максимально возможную долю лёгких примесей. В принципе, задача аналогична оптимизации работы системы очистки комбайна, которой посвящено значительное число публикаций [14–18]. Однако, имеют место и существенные отличия. Дело в том, что в системе очистки комбайна решета обдуваются воздушным потоком снизу, обеспечивая витание и удаление лёгких примесей. При сепарации очёсанного вороха в наклонной камере избыточный воздушный поток, генерируемый очёсывающим барабаном, проходит над поверхностью решетчатого днища, что не позволяет ему оказать существенное влияние на процесс разделения компонентов. Кроме того, значительная часть избыточного воздуха удаляется непосредственно из корпуса очёсывающего адаптера, проходя сквозь сетчатые окна его крышек с размером ячеек меньшим размера зёрен очёсываемой культуры. Поэтому, по сути, происходит просыпание зерна и других сопоставимых с ним по размеру компонентов сквозь отверстия решетчатого днища под действием силы тяжести. В связи с этим, в отличие от очистки зерноуборочного комбайна, на выходе получается ворох, содержащий кроме свободного зерна и значительную долю лёгких примесей.
Поскольку свободное зерно и лёгкие примеси конкурируют между собой за проход сквозь отверстия решетчатого днища, то ускорения процесса сепарации целесообразно значительную часть последних удалить непосредственно в корпусе очёсывающего адаптера. Для этой цели может быть использован избыточный воздушный поток и инерционная система разделения компонентов по парусности [19].
В силу того, что конструкция очёсывающего адаптера усложняется, то целесообразно заранее оценить потенциальный положительный эффект, который предполагается получить в результате модернизации устройства. Данное исследование посвящено экспериментальному определению указанного положительного эффекта, заключающегося в степени увеличения эффективности сепарации в результате предварительного удаления из очёсанного вороха значительной части лёгких примесей до его поступления в наклонную камеру.
Цель исследований
Целью исследования является оценка эффективности сепарации свободного зерна за счет удаления из очёсанного вороха значительной части лёгких примесей до его поступления в наклонную камеру.
Материалы и методы
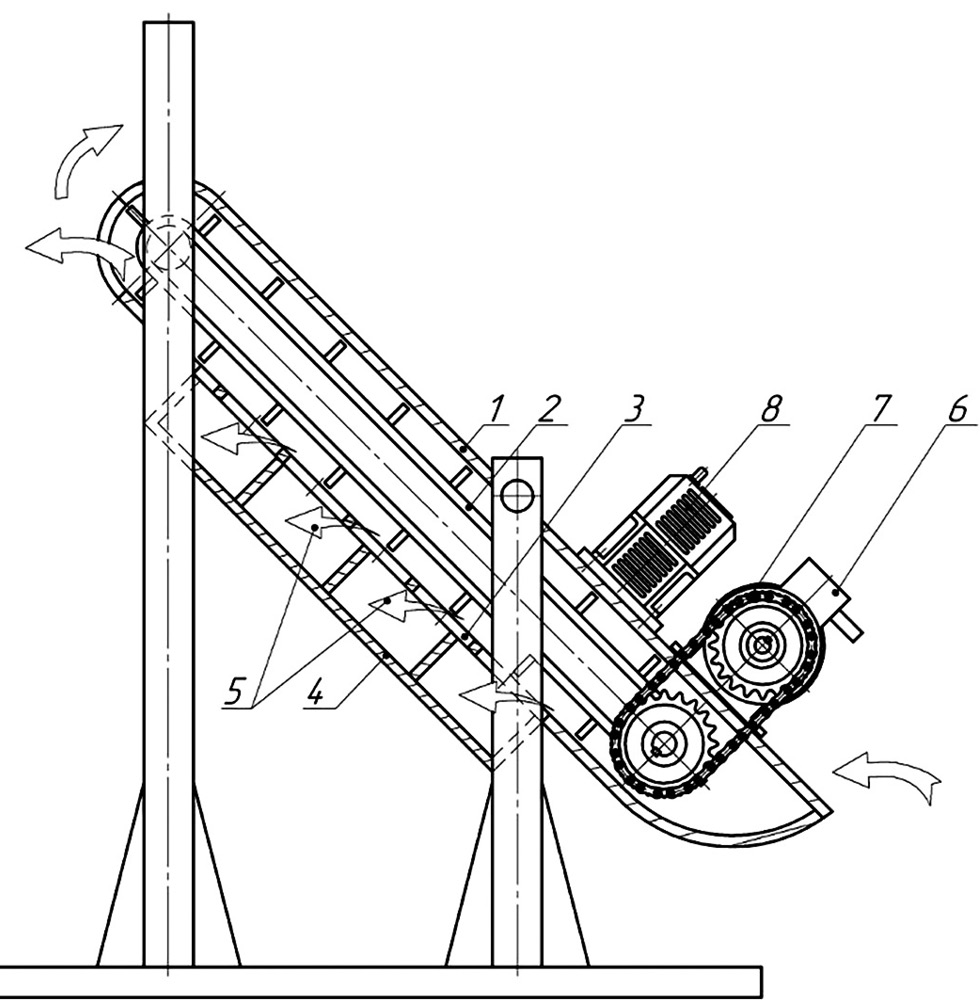
Для проведения эксперимента на базе колосового элеватора комбайна КЗС-1218 была изготовлена экспериментальная установка, имитировавшая процесс сепарации вороха в наклонной камере комбайна, принципиальная схема которой представлена на рис. 2 [20].
Рис. 2. Принципиальная схема экспериментальной установки: 1 — корпус колосового элеватора; 2 — транспортёр скребковый; 3 — решётка; 4 — ёмкость; 5 — проход вороха; 6 — электродвигатель; 7 — передача цепная; 8 — частотный преобразователь «Веспер» Е2-8300.
Fig. 2. Schematic diagram of the experimental installation: 1 — the body of a grain elevator; 2 — a scraper conveyor; 3 — a lattice; 4 — a container; 5 — a pile passage; 6 — an electric motor; 7 — a chain transmission; 8 — the Vesper E2-8300 frequency converter.
Для обеспечения решения поставленной исследовательской задачи нижняя стенка корпуса 1 элеватора была демонтирована, а вместо неё установлена решетчатая поверхность 3 длиной 920 мм, в которой выполнены сплошные продольные отверстия шириной 12 мм. При этом неизменным сохранен скребковый транспортёр 2, привод которого осуществлялся посредством электродвигателя 6 и цепной передачи 7. Частотный преобразователь 8 («Веспер» Е2-8300) обеспечивал бесступенчатое изменение скорости движения скребкового транспортёра 2. При этом система крепления элеватора позволяет изменять угол наклона решетчатой поверхности от 0° до 45°.
Эксперимент был спланирован как однофакторный, с варьированием доли свободного зерна в подаваемом ворохе от 71,43% до 100%. Базовая масса навески составляла 1 кг свободного зерна. При переходе на очередное значение факторного признака добавляли 0,1 кг лёгких примесей, сохраняя в навеске базовую массу свободного зерна. В результате были получены значения массовой доли зерна в ворохе 71,43; 76,92; 83,33; 90,91 и 100%. При этом при некотором увеличении массы навески её объем увеличивался более существенно, что обусловлено меньшей объёмной массой лёгких примесей по сравнению с соответствующими параметрами свободного зерна. Эксперимент выполняли на очёсанном зерновом материале пшеницы сорта «Московская 56» влажностью порядка 12%.
Эксперимент осуществлялся следующим образом. Устанавливали корпус 1 элеватора в горизонтальное положение, после чего включали электродвигатель 6, доводя с помощью частотного преобразователя 8 частоту его вращения до величины, при которой линейная скорость скребкового транспортёра 2 становилась равной скорости скребков плавающего транспортёра наклонной камеры комбайна (3 м/с). Затем в течение 1 секунды навеска вороха подавалась на вход скребкового транспортёра 2. Полученный в результате сепарации проход 5 вороха, включавший свободное зерно и сопутствующие ему мелкие примеси сопоставимого размера, накапливался в размещённой под решетчатой поверхностью 3 ёмкости 4. После остановки электродвигателя 6 ёмкость 4 снимали, разбирали ворох 5 по фракциям и определяли массовую долю свободного зерна, прошедшего сквозь отверстия решетчатой поверхности 3. Эксперимент был выполнен в пятикратной повторности.
Результат и его обсуждение
Результаты эксперимента приведены в табл. 1. Графическая интерпретация результата приведена на рис. 3.
Таблица 1. Результаты изменения эффективности сепарации от содержания в ворохе свободного зерна
Table 1. Results of changes in the efficiency of separation from the content of loose grain in the pile
Содержание зерна в ворохе, % | Проход свободного зерна, % | Сход зерна, % |
100 | 80,58 | 19,42 |
90,91 | 73,70 | 26,30 |
83,33 | 69,34 | 30,66 |
76,92 | 67,12 | 32,88 |
71,43 | 65,06 | 34,94 |
Рис. 3. Результаты эксперимента: a — зависимость прохода свободного зерна от его массовой доли в ворохе; b — экстраполяция длины решетчатой поверхности, необходимой для полного прохода свободного зерна.
Fig. 3. The results of the experiment: a — the dependence of the passage of loose grain on its mass fraction in the pile; b — extrapolation of the length of the lattice surface necessary for the complete passage of loose grain.
Как и предполагала научная гипотеза, выдвинутая в настоящем исследовании, с увеличением в ворохе доли лёгких примесей (при неизменной массе свободного зерна) пропускная способность решетчатой поверхности уменьшается. Закономерность процесса выражается следующим полиномом второй степени (рис. 3, а):
, (1)
где Сзер — массовая доля свободного зерна в ворохе, %; Пзер — массовая доля свободного зерна, прошедшего сквозь отверстия решетчатого днища, от его массы в исходном ворохе, поступившем на решетчатую поверхность, %.
О высокой степени адекватности модели свидетельствует величина коэффициента детерминации (R2 = 0,999).
Анализ полученных данных свидетельствует о том, что проход свободного зерна через отверстия решетчатого днища варьирует в пределах 65–80%. При этом уменьшение в ворохе массовой доли свободного зерна до 71,43% снижает его проход сквозь отверстия решетчатой поверхности на 15%. Экстраполяция полученной зависимости позволила установить, что для того, чтобы обеспечить полный проход свободного зерна сквозь отверстия решетчатой поверхности, в зависимости от массовой доли в ворохе свободного зерна, ее длина должна варьироваться в пределах от 0,99 м до 1,25 м (см. рис. 3, b). При этом с высокой степенью достоверности (R2 = 0,999) между длиной решетчатой поверхности и массовой долей свободного зерна подчиняется полиномиальной зависимости:
. (2)
То есть, как и было установлено ранее, длина решетчатой поверхности близка к длине днища наклонной камеры серийного зерноуборочного комбайна [21]. Тем не менее, предварительное удаление части лёгких примесей до поступления вороха в наклонную камеру имеет смысл.
Таким образом, максимальная разница в пропускной способности решетчатого днища наклонной камеры при принятых параметрах процесса равна порядка 15%. То есть, при поступлении в наклонную камеру вороха без предварительного удаления из него лёгких примесей эффективность сепарации должна уменьшаться и степень уменьшения следует признать существенной. Последнее подтверждает актуальность задачи снабжения корпуса очёсывающего адаптера системой инерционного отделения лёгких примесей, а её решение должно обеспечить значимый экономический эффект.
Заключение
- Предварительное удаление из очёсанного зернового вороха лёгких примесей, сопоставимых по размеру со свободным зерном, может увеличить скорость сепарации последнего на решетчатом днище наклонной камеры комбайна на 15%, что переводит проблему предварительной сепарации лёгких примесей непосредственно в корпусе очёсывающего адаптера в разряд актуальных задач.
- Предварительное удаление из очёсанного зернового вороха лёгких примесей, сопоставимых по размерам со свободным зерном, может быть осуществлено путём использования сепарирующей системы инерционного типа.
- Уменьшение в ворохе, поступающем в систему очистки комбайна доли лёгких примесей, позволяет заметно увеличить эффективность её работы.
Дополнительная информация
Вклад авторов. В.Н. Ожерельев — поиск публикаций по теме статьи, написание текста рукописи; В.В. Никитин — экспертная оценка, проведение экспериментальных исследований, утверждение финальной версии; В.Ю. Савин — создание изображений, редактирование текста рукописи; Н.В. Синяя — обзор литературы, сбор и анализ литературных источников, создание изображений. Все авторы подтверждают соответствие своего авторства международным критериям ICMJE (все авторы внесли существенный вклад в разработку концепции, проведение исследования и подготовку статьи, прочли и одобрили финальную версию перед публикацией).
Конфликт интересов. Авторы декларируют отсутствие явных и потенциальных конфликтов интересов, связанных с публикацией настоящей статьи.
Источник финансирования. Авторы заявляют об отсутствии внешнего финансирования при проведении исследования.
Additional information
Authors’ contribution. V.N. Ozhereliev — analysis of publications on the research topic, creating images, writing the text of the manuscript. V.V. Nikitin — data evaluation, conducting experimental research, approved the final version of the manuscript. V.Yu. Savin —creating images, editing the text of the manuscript. N.V. Sinyaya — literature review, collection and analysis of literature sources, creating images. All authors made a substantial contribution to the conception of the work, acquisition, analysis, interpretation of data for the work, drafting and revising the work, final approval of the version to be published and agree to be accountable for all aspects of the work.
Competing interests. The authors declare no any transparent and potential conflict of interests in relation to this article publication.
Funding source. Authors state that this research was not supported by any external sources of funding.
About the authors
Viktor N. Ozhereliev
Bryansk State Agrarian University
Email: vicoz@bk.ru
ORCID iD: 0000-0002-2121-3481
SPIN-code: 3423-0991
Dr. Sci. (Agriculture), Professor, Professor of the Technical Systems in Agrobusiness, Environmental Management and Road Construction Department
Russian Federation, BryanskViktor V. Nikitin
Bryansk State Agrarian University
Author for correspondence.
Email: viktor.nike@yandex.ru
ORCID iD: 0000-0003-1393-2731
SPIN-code: 5246-6938
Dr. Sci. (Engineering), Associate Professor, Head of the Technical Service Department
Russian Federation, BryanskVladimir Y. Savin
Bauman Moscow State Technical University
Email: savin.study@yandex.ru
ORCID iD: 0000-0002-2476-9768
SPIN-code: 1784-5296
Cand. Sci, (Engineering), Associate Professor, Associate Professor of the Heat Engines and Hydraulic Machines Department
Russian Federation, MoscowNatalia V. Sinyaya
Bryansk State Agrarian University
Email: sinzea@yandex.ru
ORCID iD: 0000-0002-1794-1347
SPIN-code: 9225-4347
Cand. Sci. (Engineering), Associate Professor, Associate Professor of the Technical Service Department
Russian Federation, BryanskReferences
- Pustygin MA. Theory and technological calculation of threshing devices. Moscow: OGIZ-SEL`XRZGIZ; 1948. (in Russ.).
- Lezhenkin AM, Kravchuk VI, Kushnarev AS. Grain harvesting technology using the stand stripping method: status and prospects. Doslidniczkoe; 2010. (in Russ.).
- Berenshtejn IB, Melnik DYu. Technical and economic assessment of technologies for harvesting grain crops by the method of harvesting plants on the root. Izvestiya selskoxozyajstvennoj nauki Tavridy. 2016; 6 (169): 67–73. (in Russ.) EDN: YKQQPN
- Damanskij RV, Chekusov MS, Kem AA, et al. Evaluation of the technology of harvesting grain crops by the method of harvesting on the root. Vestnik Omskogo GAU. 2023; 1 (49): 145–151. (in Russ.) EDN: QIZZSG
- Damanskij RV. Optimization of the technological process of harvesting grain crops by the method of combing plants on the root. Vestnik Omskogo GAU. 2023; 2 (50): 137–142. (in Russ.) EDN: BWMHPK
- Rinas NA, Maskatova LV. Prospects of standing grain harvesting technology. In: Proceedings of the Russian science conference «Estestvenno-nauchnye i gumanitarnye issledovaniya: teoreticheskie i prakticheskie aspekty». Materialy XXXI Vserossijskoj nauchno-prakticheskoj konferencii. Rostov-na-Donu, 2021:273–277. (in Russ.) EDN: EGBBGN
- Astaf VLY, Golikov VA, Zhalnin EV, et al. Strategy of technical support of grain harvesting operations in republic of Kazakhstan. AMA, Agricultural Mechanization in Asia, Africa and Latin America. 2020;51(3):46–51. EDN IZRIWY
- Ozherelev V.N, Nikitin V.V., Alakin V.M., Stanovov S.N. Investigation of the parameters of a combed grain pile. Texnika v selskom xozyajstve. 2013;1:7–9. (in Russ.) EDN: QHMZNB
- Ozherelev VN, Nikitin VV. The results of the combine design adaptation to work with a stripper header. Inzhenernye tekhnologii i sistemy. 2022;32(2):190–206. (in Russ.) doi: 10.15507/2658-4123.032.202202.190-206 EDN: RBNYLL
- Savin VYu. Justification of rational parameters and operating modes of a trailed stripping tool for harvesting grain crops [avtoref. dissertation]. Voronezh; 2011. (in Russ.) EDN: QHMZNB
- Pyanov VS. Methods of increasing grain production in Russian farms by intensifying the work of grain harvesting combines [avtoref. dissertation]. Zernograd; 2017. (in Russ.) EDN: ZQDHZD.
- Ozherelyev VN, Nikitin VV, Belous NM, et al. Perspectives of grain pile separation before it enters the thresh-ER. International Journal of ngineering and Technology (UAE). 2018;7(2.13):14–116. doi: 10.14419/ijet.v7i2.13.11622 EDN: BUJYTI
- Ozhereliev VN, Nikitin VV, Sinyaya NV, et al. Combing the standing crops with preliminary separation of loose grains. Tractors and agricultural machinery. 2022;89(1):73–79. (in Russ.) doi: 10.17816/0321-4443-100849 EDN: BXWMXP
- Lovchikov AP., Kulagin SN. Methodological provisions for the development of a mathematical model of the combination of sieves in the cleaning system of a combine harvester. Izvestiya Orenburgskogo gosudarstvennogo agrarnogo universiteta. 2023;2(100):80–83. (in Russ.) doi: 10.37670/2073-0853-2023-100-2-80-83 EDN: PXYFEA
- Lovchikov AP, Kulagin SN. Development of a mathematical model of wind-sieve cleaning of a combine harvester with a combination of sieves. Izvestiya Orenburgskogo gosudarstvennogo agrarnogo universiteta. 2022;5(97):122–125. (in Russ.) doi: 10.37670/2073-0853-2022-97-5-122-125 EDN: RNWJNV
- Lovchikov AP. Theoretical background of the combination of sieves of the combine harvester cleaning system. Izvestiya Orenburgskogo gosudarstvennogo agrarnogo universiteta. 2022;3(95):116–119. (in Russ.) doi: 10.37670/2073-0853-2022-95-3-116-119 EDN: OIJDFY
- Sorochenko SF. A mathematical model of the movement of a grain pile through a sieve of the cleaning adapter of a combine harvester. Vestnik Altajskogo gosudarstvennogo agrarnogo universiteta. 2016;12(146):131–138. (in Russ.) EDN: XDRUUL
- Baran IA, Popov VB. On the issue of improving the performance of the cleaning system of a self-propelled combine harvester. Vestnik GGTU im. P.O. Suxogo. 2023;1:20–30. (in Russ.) EDN: WLRLVW
- Patent RUS № 2566017 / 20.10.2015. Byul. № 29. Ozherelev VN, Nikitin VV. Device for standing plants threshing. (in Russ.) EDN: ZFTMNN
- Ozherelev VN, Nikitin VV. Pre-separation of the combed grain heap in an inclined chamber. In: Proceedings of the Russian science conference «Agropromyshlennyj kompleks na rubezhe vekov». Voronezh; 2015. (in Russ.) EDN: WEDLVN
- Nikitin VV. Determination of the optimum bottom length of the inclined chamber of a combine harvester at the point of collision. Selskii mekhanizator. 2018;(5):8–9. (in Russ.) EDN: XWCSDZ
Supplementary files






