Justification of the parameters of the working body of the deep tiller for anti-erosion tillage
- Authors: Parkhomenko G.G.1, Kambulov S.I.1,2, Buzhinsky N.V.1, Belousov S.V.1,3
-
Affiliations:
- Agrarian Scientific Center «Donskoy»
- Don State Technical University
- Kuban State Agrarian University named after I.T. Trubilin
- Issue: Vol 92, No 1 (2025)
- Pages: 17-24
- Section: New machines and equipment
- Submitted: 23.04.2024
- Accepted: 29.03.2025
- Published: 10.05.2025
- URL: https://journals.eco-vector.com/0321-4443/article/view/630669
- DOI: https://doi.org/10.17816/0321-4443-630669
- EDN: https://elibrary.ru/PSYAAD
- ID: 630669
Cite item
Abstract
BACKGROUND: As the crop production is continuously being improved in the modern life support system of mankind with qualitative and quantitative yield, it is necessary to find a balance in the metal intensity of agricultural processes, since this undoubtedly has an important overall economic significance because obtaining stable and high-quality yield is necessary in the agricultural production system. A special place in this system is taken by basic tillage, both with and without seam turnover. To ensure the workflow of basic tillage for sowing, a new working body for basic non-fallow tillage was developed at the Donskoy Agrarian Scientific Center, in the structural division of SKNIIMESKh, Zernograd. The task is to conduct a comparative analysis of operation of the new working body with serial ones in preparing the soil for sowing.
AIM: Determination of the parameters of a deep tiller for anti-erosion tillage.
METHODS: The deep tiller, developed in the department of mechanization of crop production of the Donskoy Agrarian Scientific Center, carries out soil tillage with undercutting of the furrow along the width of the machine, performing non-continuous tilling by working bodies, with appropriate arrangement in the transverse direction. Morphological and functional analysis methods, as well as statistical extrapolation methods implemented in the Microsoft Excel environment were used for data processing.
RESULTS: The optimal operating parameters of the proposed new working body for basic tillage have been determined, and a diagram of the force interaction of the working body of the deep tiller with the soil is given.
CONCLUSION: As a result of the research, the reasonable parameters of the working body of the deep tiller for antierosion tillage were found, the chisel length, the soil crumbling angle (installation to the bottom of the furrow), the distance between the working bodies in the longitudinal and transverse directions when placed with a ledge at an angle of 30 degrees to the motion direction were determined.
Keywords
Full Text
ВВЕДЕНИЕ
В сельскохозяйственных регионах с высокой вероятностью возникновения эрозионных процессов, существенно влияющим на плодородие почвы, является глубокое безотвальное рыхление [1]. Глубокая безотвальная обработка почвы в ряде случаев обеспечивает более высокую урожайность сельскохозяйственных культур по сравнению с отвальной вспашкой [2]. Глубокое безотвальное рыхление способствует разуплотнению нижних слоёв почвы [3, 4]. При этом обработка без оборота пласта способствует лучшему сохранению влаги и меньшему распылению почвы [5, 6]. Снижение распыления почвы при её глубокой безотвальной обработке способствует уменьшению эрозионных процессов [7, 8] и деградации, обусловленной псевдослитизацией ввиду переуплотнения [9]. При этом необходимо определить рациональные параметры глубокорыхлителя [10, 11].
Цель работы: определение параметров глубокорыхлителя для противоэрозионной обработки почвы.
МЕТОДЫ
Глубокорыхлитель, разработанный в отделе механизации растениеводства аграрного научного центра «Донской», осуществляет обработку почвы с недорезом пласта по ширине захвата машины, производя не сплошное рыхление рабочими органами, с соответствующей расстановкой в поперечном направлении (рис. 1).
Рис. 1. Рабочий орган глубокорыхлителя (общий вид): 1 — долото; 2 — стойка; 3 — плоскорезная лапа; 4 — прутки.
Fig. 1. The working body of the deep tiller (general view): 1 — chisel; 2 — rack; 3 — flat–cut paw; 4 — rods.
Рабочий орган глубокорыхлителя состоит из долота 1, закреплённого на стойке 2, соединённого с плоскорезными лапами 3, задняя торцевая часть которых продолжена прутками 4, установленными на расстоянии друг от друга в горизонтальной плоскости.
Рабочий орган предназначен для глубокого (свыше 25 см) рыхления без оборота пласта с образованием кротовин при противоэрозионной обработке почвы; уничтожения сорной растительности и щелевания с почвоуглублением. Стойка рабочего органа также выполнена по форме профиля прутка с полукруглой лобовой поверхностью подобно обтекателю, что позволяет самоочищаться в процессе функционирования от сорных растений и пожнивных остатков путём их интенсивного сползания при трении с почвой.
РЕЗУЛЬТАТЫ
Долото, установленное под углом крошения β, формирует прямоугольную щель в продольно-вертикальной плоскости массива почвы, которая расширяется плоскорезными лапами, образуя прорезь с боковыми сторонами, расположенными под углом сдвига почвы ψ. Прутки способствуют расширению прорези и удлинению потока почвы по рабочему органу, а также для подъёма крупных глыб для последующего измельчения катком и выноса корней сорной растительности на поверхность поля.
На поверхности долота рабочего органа глубокорыхлителя осуществляется процесс подъёма пласта почвы со сдвигом. В начале движения глубокорыхлителя на поднимаемый пласт оказывает воздействие только долото. При поступательном движении глубокорыхлителя за счёт сопротивления почвы воздействию режущей кромки долота рабочего органа, функционирующего на заданной глубине a, происходит смещение пласта вверх, возникает поле напряжений σ; при достижении предела их прочности на сдвиг (складывающихся из сцепления и внутреннего трения почвы) образуется плоскость отрыва, которая подобно фронту трещины достигает поверхности.
При наполнении долота почвой пласт продвигается далее, наблюдается установившийся основной поток по рабочему органу. При этом основной поток состоит из фрагментов почвы, разделённых плоскостями отрыва, которые могут совершать относительное движение. В процессе продвижения пласта по рабочему органу возрастает потенциальная энергия, обусловленная преодолением сил внешнего (почва о поверхность рабочего органа) и внутреннего (почва о почву) трения ( φ и ρ соответственно).
Рис. 2. Поле напряжений в поперечно-вертикальной плоскости при взаимодействии рабочего органа глубокорыхлителя с почвой.
Fig. 2. The stress field in the transverse-vertical plane during the interaction of the working body of the deep tiller with the soil.
Далее при достижении пласта задней кромки рабочего органа происходит разделение потока: часть фрагментов почвы, размер которых не превышает расстояния между прутками, свободно падают вниз, а неразрушенные глыбы подвергаются дополнительному крошению за счёт возрастающих напряжений.
Поле напряжений (рис. 2) при взаимодействии с почвой можно разделить на следующие области:
- по контуру рабочего органа;
- за пределами контура;
- остаточные напряжения, не достаточные для разрушения пласта
Таким образом, при взаимодействии рабочего органа глубокорыхлителя с пластом почвы наблюдаются 3 фазы (рис. 3):
- подъём;
- основной поток;
- сход (см. рис. 2).
При сходе пласта важной количественной характеристикой энергопотребления вектор силы основного потока почвы.
Рис. 3. Фазы взаимодействия пласта почвы с рабочим органом глубокорыхлителя.
Fig. 3. Phases of interaction of the soil layer with the working body of the deep tiller.
При затруднённом сходе пласта может возникнуть изменение вектора силы основного потока, в результате чего почва перемещается не в сторону задней торцевой части рабочего органа, а в противоположном направлении, стремясь к сгруживанию на долоте и на плоскорезных лапах.
При этом существенно увеличивается тяговое сопротивление за счёт возрастания нагрузки в процессе осуществления подъёма, обусловленного массой сгруженной почвы; основной поток проталкивает разрушенный и не вполне разрушенный пласт подобно отвалу бульдозера, которые между собой взаимодействуют с дополнительной затратой энергии.
Рис. 4. Силовое взаимодействие рабочего органа глубокорыхлителя с почвой в продольно-вертикальной плоскости.
Fig. 4. The force interaction of the working body of the deep tiller with the soil in a longitudinally vertical plane.
Во избежание изменения направления основного потока необходимо обеспечить требуемое усилие подпора Q со стороны необработанного пласта (рис. 4) с площадью поперечного сечения S или площадью плоскости сдвига (фрагмента отрыва):
. (1)
Таким образом, при условии (1) почва не сгруживается, а перемещается в основном потоке по долоту и плоскорезным лапам в сторону задней торцевой части рабочим органом с закреплёнными на ней прутками.
Рабочий орган глубокорыхлителя, установленный под углом крошения к дну борозды β, в процессе функционирования испытывает силовое взаимодействие с пластом: от ∑ — результирующей сопротивления почвы и трения, действия инерции I , связанной с углом сдвига ψ , тяжести почвы G , выраженное в прямоугольной системе координат проекциями на оси x и z :
(2)
Согласно теореме изменения количества движения, при скорости V фрагмента отрыва почвы от пласта: F · dt = dm · (V-V0) При отсутствии движения V0= 0 секундной массе фрагмента в процессе подъёма, выраженной отношением dm/dt, скорости агрегата Vаг сила инерции Массу выразим через плотность γ.
Тогда для рабочего органа длиной l получим силу инерции пласта: Аналогично представим силу тяжести через объём обрабатываемого пласта:
При этом следует иметь в виду, что щель формируется долотом, а прорезь образуется в первую очередь за счёт обрушения боковых вертикальных стенок под углом скола (сдвига) ψ а затем уже и от взаимодействия с плоскорезными лапами.
Формирование фрагмента отрыва осуществляется на долоте, поэтому в условиях блокированного резания при отсутствии обработанной почвы с боковых сторон рабочего органа глубокорыхлителя площадь плоскости сдвига (фрагмента отрыва):
.
Тогда выражения для определения силы инерции и силы тяжести обрабатываемого пласта примут следующий вид (длина рабочего органа совпадает с длиной долота):
(3)
Полученные выражения (3) подставим в (2) и (1):
После преобразования получим неравенство, определяющее условие достаточного подпора от необработанной почвы для обеспечения установившегося основного потока по направлению к задней торцевой части рабочего органа глубокорыхлителя при отсутствии сгруживания:
. (4)
При подстановке угла сдвига:
. (5)
Из анализа полученного неравенства (5) следует, что условие обеспечения основного потока почвы без сгруживания не зависит от заданной глубины обработки почвы и ширины рабочего органа, а определяется квадратом скорости агрегата, его длиной, углом крошения (установки к дну борозды) и физико-механическими свойствами обрабатываемой среды (плотность, внешнее и внутреннее трение) с учётом перемещения движущихся масс.
Исходя из того, что физико-механические свойства обрабатываемой среды и наибольшая скорость, регламентированная агротехническими требованиями, являются факторами, не подвергающимися влиянию (как и напряжение почвы), препятствовать сгруживанию почвы перед рабочим органом глубокорыхлителя можно, корректно выбирая угол крошения и длину.
В результате расчёта установлены рациональные значения длины долота 0,2–0,3 м и угла крошения почвы (установки к дну борозды) 25–30 град.
При определении длины выступающей части носка долота рекомендуется использовать аналитическую зависимость с учётом геометрических размеров долота и приваренных к нему плоскорезов [12].
Используемые в настоящее время почвообрабатывающие машины не всегда соответствуют агротехническим требованиям к качеству выполнения технологических операций [13, 14].
Для осуществления качественного технологического процесса чизелевания с наименьшими затратами энергии необходимо соблюдать следующее условие:
, (6)
где M — ширина междуследия (расстояние между рабочими органами в продольном направлении, м).
В этом случае обеспечивается качественное сплошное рыхление верхнего слоя почвы и недорез пласта по ширине захвата рабочего органа на глубине за счёт оптимального расположения поля напряжений и их пересечения с боковых сторон долота.
При оптимальном размещении рабочих органов на раме почвообрабатывающей машины рыхление почвы осуществляется без непроизводительных потерь влаги [15]. Это связано с тем, что при чизелевании осуществляется несплошное резание.
При стрелообразной схеме размещения все рабочие органы функционируют в полусплошной среде, осуществляя полусвободное полублокированное резание с одной открытой стенкой. Подобная схема позволяет исключить забивание их почвой и растительными остатками.
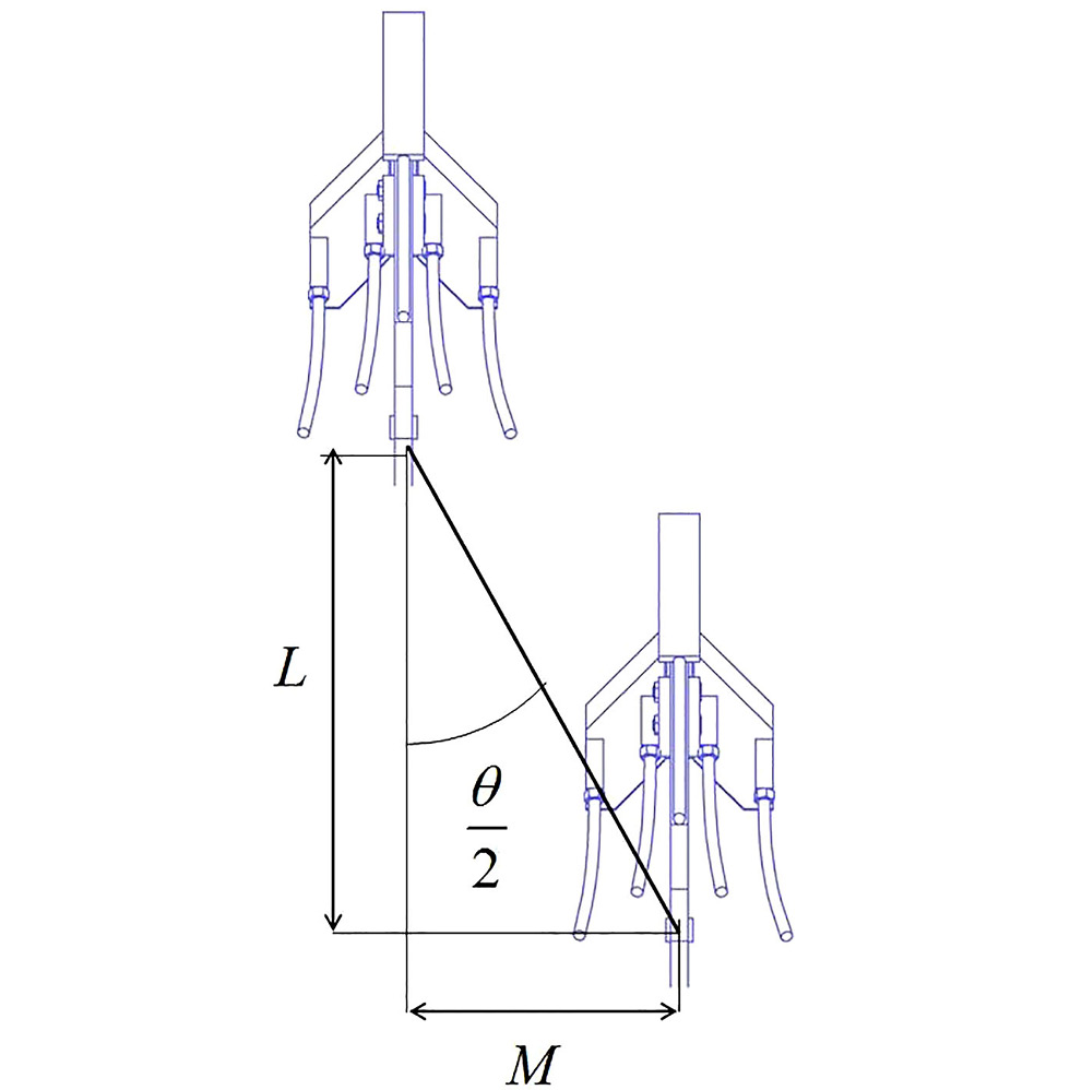
Тяговое сопротивление может быть снижено при соответствующей расстановке рабочих органов, например, стрелообразной схеме или с уступом, под углом к направлению движения (рис. 5).
Рис. 5. Расстановка рабочих органов глубокорыхлителя.
Fig. 5. The arrangement of the working bodies of the deep tiller.
При этом только передний рабочий орган испытывает наибольшее тяговое сопротивление, функционируя в сплошной среде, осуществляя процесс несвободного блокированного резания (при отсутствии открытой боковой стенки — разрыхлённой сбоку почвы), что способствует значительному повышению тягового сопротивления. Следующие за ним рабочие органы функционируют в полублокированной среде, при этом обеспечивается полусвободное полублокированное резание с одной открытой стенкой, согласно схеме распространения поля напряжений.
Рис. 6. Определение расстояния между рабочими органами в продольно-горизонтальной плоскости.
Fig. 6. Determination of the distance between the working bodies in the longitudinal-horizontal plane.
Расстояние между рабочими органами в продольном направлении (рис. 6) при подобной схеме размещения определяется по формуле:
. (7)
При расстановке в продольном направлении рабочих органов следует предусмотреть достаточную величину расстояния в продольном направлении для обеспечения покрытия поля напряжений. Иными словами говоря, должно выполняться условие:
, (8)
где l′ — конструктивный размер, характеризующий длину рабочего органа (вылет стойки) в проекции на продольно-горизонтальную плоскость, м; l″ — поле напряжений почвы в продольном направлении, м.
В результате расчёта установлено расстояние между рабочими органами в продольном и поперечном направлениях: M = (0,39 − 0,47) м и L ≥ (0,68 − 0,81) м при расстановке с уступом под углом к направлению движения град.
ЗАКЛЮЧЕНИЕ
В результате исследований установлены рациональные параметры рабочего органа глубокорыхлителя для противоэрозионной обработки почвы:
- длина долота 0,2–0,3 м; угол крошения почвы (установки к дну борозды) 25–30 град.;
- расстояние между рабочими органами в продольном 0,39–0,47 м и поперечном направлениях 0,68–0,81 м при расстановке с уступом под углом 30 град. к направлению движения.
ДОПОЛНИТЕЛЬНАЯ ИНФОРМАЦИЯ
Вклад авторов. С.И. Камбулов — руководство исследованием, концептуализация, методология, администрирование проекта; Г.Г. Пархоменко — формальный анализ, проведение исследования, создание черновика рукописи, визуализация; Н.В. Бужинский — формальный анализ, проведение исследования, создание черновика рукописи, визуализация; С.В. Белоусов — формальный анализ, проведение исследования, создание черновика рукописи, создание окончательной версии (доработка) рукописи и её редактирование. Все авторы подтверждают соответствие своего авторства международным критериям ICMJE (все авторы внесли существенный вклад в разработку концепции, проведение исследования и подготовку статьи, прочли и одобрили финальную версию перед публикацией).
Раскрытие интересов. Авторы декларируют отсутствие явных и потенциальных конфликтов интересов, связанных с проведённым исследованием и публикацией настоящей статьи.
Источники финансирования. Авторы заявляют об отсутствии внешнего финансирования при проведении исследования и подготовке публикации.
ADDITIONAL INFORMATION
Author contributions. S.I. Kambulov — research management, conceptualization, methodology, project administration; G.G. Parkhomenko — formal analysis, conducting research, creating a draft of the manuscript, visualization; N.V. Buzhinsky — formal analysis, conducting research, creating a draft of the manuscript, visualization; S.V. Belousov — formal analysis, conducting research, creating a draft of the manuscript, creating and editing the final version (revision) of the manuscript. All authors confirm their authorship compliance with the ICMJE international criteria (all authors made a significant contribution to the conceptualization, research and preparation of the article, read and approved the final version before publication).
Disclosure of interests. The authors declare that they have no competing interests.
Funding sources. This study was not supported by any external sources of funding.
About the authors
Galina G. Parkhomenko
Agrarian Scientific Center «Donskoy»
Email: parkhomenko.galya@yandex.ru
ORCID iD: 0000-0003-1944-216X
SPIN-code: 6048-2834
Cand. Sci. (Engineering), Leading Researcher of the Crop Farming Mechanization Department of the Laboratory of Field Crop Farming Mechanization
Russian Federation, ZernogradSergey I. Kambulov
Agrarian Scientific Center «Donskoy»; Don State Technical University
Email: kambulov.s@mail.ru
ORCID iD: 0000-0001-8712-1478
SPIN-code: 3854-2942
Dr. Sci. (Engineering), Associate Professor, Chief Researcher of the Crop Farming Mechanization Department of the Laboratory of Field Crop Farming Mechanization; Professor of the Technologies and Equipment for Processing Ag-ricultural Products Department
Russian Federation, Zernograd; Rostov-on-DonNikita V. Buzhinsky
Agrarian Scientific Center «Donskoy»
Email: 27091999n@gmail.com
ORCID iD: 0009-0004-8968-4337
SPIN-code: 4551-7297
Postgraduate of the Crop Farming Mechanization Department of the Laboratory of Field Crop Farming Mechanization
Russian Federation, ZernogradSergey V. Belousov
Agrarian Scientific Center «Donskoy»; Kuban State Agrarian University named after I.T. Trubilin
Author for correspondence.
Email: sergey_belousov_87@mail.ru
ORCID iD: 0000-0002-8874-9862
SPIN-code: 6847-7933
Scopus Author ID: 714080
ResearcherId: Q-1037-2017
Cand. Sci. (Engineering), Junior Researcher of the Crop Farming Mechanization Department of the Laboratory of Field Crop Farming Mechanization; Associate Professor of Processes and Machines in Agribusiness Department
Russian Federation, Zernograd; 13 im Kalinina st, Krasnodar, 350044References
- Nesmian AY, Shchirov VV, Oldyrev SM. Assessment of the influence of non-constructive factors on the resistivity of light clay chernozems during chiseling. Bulletin of agrarian science of the Don. 2019;2(46):11–17. (In Russ.) EDN: GIBIEL
- Kuzychenko YA. Resource-saving methods of basic tillage on dark chestnut soils of the central Caucasus. Achievements of science and technology of the agro–industrial complex. 2014;6:48–50. (In Russ.) EDN: SCHUDER
- Ridal VV. Anal from the design of technical means for deep loosening of the soil. Bulletin of the student scientific society. 2017;8(2):47–49. (In Russ.) EDN: UOYAXQ
- Cherkasov GN, Pykhtin IG, Gostev AV. Modern approach to the systematization of soil treatments in agrotechnologies of a new generation. Achievements of science and technology of the agro–industrial complex. 2016;30(1):5–8. (In Russ.) EDN: TLFACHT
- Jabborov NI, Dobrinov AV, Fedkin DS. Agroecological principles of the formation of a zonal soil treatment system. Regional ecology. 2015;5(40):23–27. (In Russ.) EDN: VDWGMZ
- Pykhtin IG, Gostev AV. Modern problems of application of various systems and methods of basic tillage. Achievements of science and technology of the agro–industrial complex. 2012;1:3–6. (In Russ.)
- Kolesnichenko TV. Analysis of methods of tillage and its fertility in the Kuban. Trends in the development of science and education. 2021;72-2:81–83. (In Russ.) doi: 10.18411/lj-04-2021-65 EDN: OEIMDB
- Belts AF. Investigation of the stability of the depth of the course of a tillage sowing unit to protect the soil from water erosion. In: Results of research work for 2021 : Materials of the Jubilee scientific and practical conference dedicated to the 100th anniversary of the Kuban State Agrarian University, Krasnodar, April 06, 2022. Krasnodar: Kuban State Agrarian University named after I.T. Trubilin; 2022:209–211. (In Russ.) EDN: ULDHRIDGE
- Patent RUS 2085891 / 27.07.1997 Parkhomenko SG, Yarovoy VG, Kravchenko VA, Melikov IM. Tire tester. (In Russ.) EDN: OKPHZD
- Parkhomenko GS, Parkhomenko SG, Parkhomenko GG. In the Mathcad environment, Calculation of operating modes of traction-driven machine-tractor units. In: Achievements of science in agro–industrial production: Materials of the XLIV International Scientific and Technical Conference: in 4 parts, Chelyabinsk, January 26–27, 2005. Chelyabinsk: Chelyabinsk State Agroengineering University, 2005;2:271–275. (In Russ.) EDN: TUURNF
- Parkhomenko GS, Parkhomenko SG, Parkhomenko GG. Modeling on a PC using the MVTU software package of the improved power SAR of the MTZ-80 tractor. In: Materials of the XLIII scientific and technical conference. Chelyabinsk State Agroengineering University. Chelyabinsk: Chelyabinsk State Agroengineering University; 2004;2:22–26. (In Russ.) EDN: TUNIVN
- Obidov A, Nuriev K, Allanazarov M, et al. Parameters of tillage working bodies. Web conference E3S. 2021;284. doi: 10.1051/e3sconf/202128402012
- Myalo VV, Myalo OV, Demchuk EV, Mazyrov VV. Substantiation of the main parameters of the cultivator’s working body for continuous tillage in the system of environmentally safe resource-saving agriculture. IOP Conf. Ser.: Earth Environ Sci. 2018; 224. doi: 10.1088/1755-1315/224/1/012023
- Abbaspour-Gilandeh Y, Fazeli M, Roshanianfard A, et al. The influence of various parameters of working organs and tools on the productivity of several types of cultivators. Agriculture. 2020;10. doi: 10.3390/agriculture10050145
- Sandor ZS, Tallai M, Kinches I, et al. The influence of various methods of tillage on some microbiological properties of the soil. DRC Sustainable Future. 2020;1(1):14–20. doi: 10.37281/DRCSF/1.1.3
Supplementary files









