Теоретическое обоснование конструктивных параметров питающего устройства шнекового типа в установке для приготовления жидких кормовых смесей
- Авторы: Солонщиков П.Н.1, Шевченко А.В.1
-
Учреждения:
- Вятский государственный агротехнологический университет
- Выпуск: Том 92, № 1 (2025)
- Страницы: 43-48
- Раздел: Теория, конструирование, испытания
- Статья получена: 30.05.2024
- Статья одобрена: 17.03.2025
- Статья опубликована: 10.05.2025
- URL: https://journals.eco-vector.com/0321-4443/article/view/632390
- DOI: https://doi.org/10.17816/0321-4443-632390
- EDN: https://elibrary.ru/BEQLWI
- ID: 632390
Цитировать
Полный текст
Аннотация
Обоснование. Большая часть основной продукции животноводства в предстоящие годы будет производиться на существующих фермах в условиях их коллективной аренды, а также в фермерских индивидуальных хозяйствах, что обеспечит интенсивное развитие отрасли.
Цель работы — получение теоретических и аналитических зависимостей, для обоснования конструктивных параметров питающего устройства в установке для приготовления жидких кормовых смесей.
Материалы и методы. Представлена установка для приготовления жидких кормовых смесей представляет собой многофункциональное техническое средство, способное выполнять 3 функции: дозирование материала (заменитель цельного молока), подача жидкости (функция нагнетания) и приготовление смеси (функция смесителя). Даны соответствующие расчётные схемы для определения параметров.
Результаты. Анализ рабочих органов машин и средств механизации по транспортированию сухих компонентов, что шнековый орган, изготовленный по научно обоснованным рекомендациям, может удовлетворить требованиям и особенностям выполняемого им подачи компонента на смешивание.
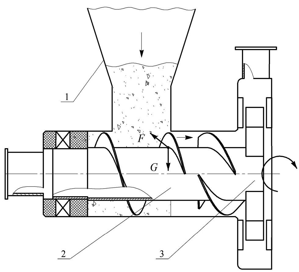
Процесс отделения сухого компонента и его перемещение к рабочему колесу заключается в следующем. Сухой компонент находится в загрузочной камере 1 и далее под силой тяжести попадет на питающее устройство 2, которое перемещает корм к рабочему колесу. При наличии поступательного движения машины нижняя кромка кожуха шнека, имеющая форму клина, внедряется в компонент валок и отделяет его от поверхности, который затем поступает в рабочую зону шнека. Шнек витками подстругивает часть сухого корма и перемещает её к рабочему колесу установки.
Заключение. Полученные теоретические и приложенные аналитические зависимости позволяют определить конструктивные параметры шнека в том числе, отношение шага шнека к его диаметру, что необходимо учитывать при проектировании установок для приготовления смесей с подачей сухого компонента к рабочему колесу. Кроме того, данную методику можно использовать для написания программ для ЭВМ.
Ключевые слова
Полный текст
ВВЕДЕНИЕ (АКТУАЛЬНОСТЬ)
Разработка установок для приготовления жидких кормовых смесей, является важным фактором, облегчающим трудовые затраты на фермах и комплексах. Существующие установки имеют много недостатков, так как помимо основного блока для смешивания кормов, необходима дозированная подача сухого компонента (корма). Патентная литература предлагает множество решений проблемы подачи компонента в узел смешивания, но наиболее простым является подача с помощью питающего устройства шнекового типа, так как он наиболее часто встречается для дозировки сухого компонента. Вместе с тем, задача совместного привода рабочего органа смешивания и питающего устройства не решается и во всех конструкциях они имеют раздельный привод, что ведет к неоправданным затратам энергии [1–4].
ЦЕЛЬ ИССЛЕДОВАНИЯ
Целью работы является обоснование параметров питающего устройства шнекового типа, обеспечивающего перемещение материала в рабочее колесо установки для приготовления жидких кормовых смесей.
МАТЕРИАЛЫ И МЕТОДЫ
Установка для приготовления смесей, содержит загрузочный бункер, корпус с рабочим колесом, полый шнек со спиральной навивкой, всасывающий и нагнетательный патрубки, полый шнек со спиральной навивкой, одним концом закреплен в рабочем колесе, а его противоположный конец закреплен в подшипнике. Соответственно питающее устройство перемещает материал из загрузочного бункера, при этом питающее устройство вращается вместе с рабочим колесом установки [5–13].
РЕЗУЛЬТАТЫ И ОБСУЖДЕНИЕ
Анализ рабочих органов машин и средств механизации по транспортированию сухих компонентов показал, что шнековый орган, изготовленный по научно обоснованным рекомендациям, может удовлетворять требованиям и особенностям выполняемой им подачи компонента на смешивание.
Процесс отделения сухого компонента и его перемещение к рабочему колесу заключается в следующем. Сухой компонент находится в загрузочной камере 1 (рис. 1) и далее под силой тяжести попадет на питающее устройство 2, которое перемещает корм к рабочему колесу. При наличии поступательного движения машины нижняя кромка кожуха шнека, имеющая форму клина, внедряется в компонент валок и отделяет его от поверхности, который затем поступает в рабочую зону шнека. Шнек витками подстругивает часть сухого корма и перемещает её к рабочему колесу установки (рис. 1).
Рис. 1. Схема установки для приготовления смесей: 1 — загрузочная камера; 2 — питающее устройство шнекового типа; 3 — рабочее колесо.
Fig. 1. Scheme of the facility for mixtures preparation: 1 — a loading chamber; 2 — a screw-type feeding device; 3 — an impeller.
Рассмотрим поведение частицы сухого компонента в рабочей зоне шнека и определим его конструктивные параметры. Условно допустим, что масса компонента, которая вновь поступает в рабочую зону шнека, выполняет функции крышки кожуха шнека и проследим поведение частицы массой m. Будем полагать, что частица массой m в данный момент времени занимает положение под углом ε по отношению к вертикальной плоскости CА (рис. 2). Разложим силу тяжести G частицы на две составляющие [1]: по радиусу шнека и касательной к нему.
При этом получим:
ac = Gsin ε, ac = Gcos ε.
Развернув на плоскости винтовую линию и поверхность кожуха (рис. 3), рассмотрим схему сил, действующих на винтовую линию шнека и поверхность кожуха, и векторов скоростей.
Реакция поверхности R будет направлена под углом , где а — коэффициент трения сухого компонента о винтовую поверхность.
Направление силы трения F проходит по линии, вдоль которой располагается вектор абсолютной скорости V, наклоненный в данном положении к AC под углом β, и является искомой величиной, причем сила трения направленна обратно к V.
Рис. 2. Схема сил, действующих на частицу в зоне шнека.
Fig. 2. Diagram of forces acting at a particle in the screw area.
На рис. 2 составляющая сила, направленная по радиусу и равная , проектируется в точку. Отсюда очевидно, что
, (1)
где f2 — коэффициент трения корма о кожух; Nk ― нормальная составляющая реакции.
(2)
Рис. 3. Схема разложения сил и скоростей.
Fig. 3. Diagram of forces and velocities decomposition.
причём из рис. 3 видно
(3)
Из условия равновесия сил имеем:
(4)
На основании формул (1)–(4):
= 1. (5)
Определим положение частицы, имеющую осевую скорость при , .
Из уравнения (5) следует
(6)
Из формулы (6) может быть определено положение частицы сухого компонента и угол , в котором ее осевая скорость равна нулю, и согласно (3) V = ωr .
На основании (6) имеем:
(7)
Чтобы правая часть была положительной, необходимо:
При ε =180° f2 cosε ⋅sin ε = − f2.
Это соответствует условию, при котором нормальное давление 0
Nk = 0, так как при ε =180° и β = 0°
Тогда .
Большую практическую ценность представляет вопрос о выявлении режима, при котором β = 90°, и частица сухого компонента будет иметь вектор скорости V, параллельный оси шнека.
При этих условиях из (5) получаем
= 1; (8)
Следовательно, частица сухого компонента, оказавшаяся на образующей под углом ε и определяемая из уравнения (8), будет перемещаться вдоль образующей шнека с поступательной скоростью V0. При β = 90° из уравнения (3) получаем
(9)
При ε = 0° на основании (5) имеем:
Сомножитель второй сомножитель тоже не может быть равен нулю.
Следовательно, остается положить, что
, ,
тогда:
(10)
Отсюда видно, что из начального положения ( ) частица корма всегда движется так, что вектор абсолютной скорости V составляет с осью шнека угол и при находим
(11)
Практически интерес представляет также задача об определении угла наклона периферийной винтовой линии шнека, при котором обеспечивается максимальная осевая скорость и производительность шнека.
Дифференцируя (11), находим:
и из условия получим и
Получили результат, сходный с тем, который касается винтовой пары в отношении максимального КПД [2, 7].
Осевая скорость при составит
(12)
Определим конструктивные параметры шнеков, предназначенных для транспортирования сухого компонента
При этом пределы и , тогда и , и .
Это определяет отношение шага шнека к диаметру в виде
ВЫВОДЫ (ЗАКЛЮЧЕНИЕ)
Полученные теоретическо-аналитические зависимости позволяют определить конструктивные параметры шнека, в том числе, отношение шага шнека к его диаметру, что необходимо учитывать при проектировании установок для приготовления смесей с подачей сухого компонента к рабочему колесу. Кроме того, данную методику можно использовать для написания программ для ЭВМ.
ДОПОЛНИТЕЛЬНАЯ ИНФОРМАЦИЯ
Вклад авторов. П.Н. Солонщиков — общее руководство рукописью, разработка математических моделей для определения параметров питающего устройства, А.В Шевченко — разработка задач, написание основного текста, разработка математических моделей, подготовка введения и выводов, а также проведение оптимизационных расчётов. Авторы подтверждают соответствие своего авторства международным критериям ICMJE (авторы внесли существенный вклад в разработку концепции, проведение исследования и подготовку статьи, прочли и одобрили финальную версию перед публикацией).
Раскрытие интересов. Авторы декларируют отсутствие явных и потенциальных конфликтов интересов, связанных с публикацией настоящей статьи.
Источники финансирования. Авторы заявляют об отсутствии внешнего финансирования при проведении исследования.
ADDITIONAL INFORMATION
Author contributions. P.N. Solonshchikov — general management of the manuscript, development of the mathematical models for determining the parameters of the supply device; A.V. Shevchenko — task setting, writing the main text, development of the mathematical models, preparing the introduction and conclusions; performing optimization analyses. The authors confirm that their authorship meets the international criteria of the ICMJE (all authors made a significant contribution to the development of the concept, research and preparation of the article, read and approved the final version before publication).
Disclosure of interests. The authors declare the absence of obvious and potential conflicts of interest.
Funding sources. This study was not supported by any external sources of funding
Об авторах
Павел Николаевич Солонщиков
Вятский государственный агротехнологический университет
Автор, ответственный за переписку.
Email: solon-pavel@yandex.ru
ORCID iD: 0000-0003-4695-7126
SPIN-код: 2559-6921
Scopus Author ID: 57228252900
к.т.н., доцент кафедры технологического и энергетического оборудования
Россия, 610017, Киров, Октябрьский пр-кт, д. 133Артём Васильевич Шевченко
Вятский государственный агротехнологический университет
Email: artiom.shievchienko.2014@mail.ru
ORCID iD: 0009-0002-5119-3327
SPIN-код: 8795-3826
ассистент кафедры эксплуатации машин и технологического оборудования
Россия, 610017, Киров, Октябрьский пр-кт, д. 133Список литературы
- Mokhnatkin VG, Shulyatyev VN, Filinkov AS, et al. Program and methodology of tests of the device for input and mixing of powdered components with liquid. In: Improvement of operational indicators of agricultural energy. Proceedings of the V International Scientific and Practical Conference “Science — Technology — Resource Saving”, dedicated to the 60th anniversary of the Faculty of Engineering: Collection of scientific papers. Kirov: Vyatka State Agricultural Academy, 2012;(13):96–100. (In Russ.) EDN: XYCZEB
- Mokhnatkin VG, Shulyatyev VN, Filinkov AS, et al. Review of devices and installations for preparation of whole milk substitutes and analysis of their efficiency In: Improvement of operational indicators of agricultural energy. Proceedings of the V International Scientific and Practical Conference “Science — Technology — Resource Saving”, dedicated to the 60th anniversary of the Faculty of Engineering: Collection of scientific papers. Kirov: Vyatka State Agricultural Academy, 2012;(13):101–105. (In Russ.) EDN: XYDUKJ.
- Patent RUS / 20.12.2010 Bul. № 13. Mokhnatkin VG, Shulyatyev VN, Filinkov AS, et al. Device for preparation of mixtures. (In Russ.) EDN: TGUFJE
- GOST 6134-2007. Dynamic pumps. Test methods. Moscow: Standartinform; 2008. (In Russ.)
- Mokhnatki VG, Filinkov AS, Solonshchikov PN. Multipurpose pumps for mixing intensification. Rural mechanizer. 2013;(8):25. (In Russ.) EDN: RCFKDH
- Filinkov AS, Solonshchikov PN, Oblasov AN, et al. Device for mixing components with liquid for the preparation of nutrient media. Bulletin of N.I. Vavilov Saratov State Agrarian University. 2013;(9):50–53. (In Russ.) EDN: RELJTJ
- Bulatov SYu, Semenov SV. Analysis of designs of technical means for the preparation of grain molasses. In: Actual directions of development of engineering and technology in Russia and abroad — realities, opportunities, prospects: Materials and reports, Knyaginino, March 25, 2021. Knyaginino: Nizhny Novgorod State Engineering and Economic Institute; 2021:26–30. (In Russ.) EDN: BWIXWT
- Bulatov SYu, Semenov SV. Cause-effect diagram with positive and negative feedbacks of the process of grain molasses production. In: Problems of modern science and society: preservation and development of the Great Victory heritage, Knyaginino, May 08–13, 2021. Knyaginino: Nizhny Novgorod State Engineering and Economic Institute; 2021:105–112. (In Russ.) EDN: MGLRBA
- Patent RUS 146974 / 20.10.2014 Mokhnatkin VG, Shulyatyev VN, Filinkov AS, et al. Installation for preparation of mixtures. (In Russ.) EDN: LALGBF
- Solonshchikov P, Savinykh P, Ivanovs S. Determination and optimization of feeding device parameters in the plant for preparing liquid feed mixtures. Ural sustainability research. 2021;45(340):13–20. doi: 10.2478/plua-2021-0003 (In Russ.) EDN: HTGYII
- Solonshchikov P, Barwicki J, Savinyh P, Gaworski M. Optimalization of design parameters of experimental installation concerning preparation of liquid feed. Mixtures. Processes. 2021;9(12),2104. (In Russ.) doi: 10.3390/pr9122104 EDN: PYPPKI
- Gorbunov RM. Increase of centrifugal milk pump functioning efficiency by means of working bodies improvement and parameters optimization [dissertation] Kirov; 2007. (In Russ.) EDN: NJJPYJ
- Bulatov SYu. Development and improvement of technological lines and technical means of fodder preparation in the conditions of small forms of farming [dissertation] Knyaginino; 2018. (In Russ.) EDN: YVBRSX
Дополнительные файлы






