Investigation of the process of flax pulling by devices with transverse channels
- Authors: Rostovtsev R.A.1, Kovalev M.M.1, Perov G.A.1
-
Affiliations:
- Federal Research Center for Bast Fiber Crops
- Issue: Vol 91, No 6 (2024)
- Pages: 760-769
- Section: Theory, designing, testing
- Submitted: 26.08.2024
- Accepted: 31.12.2024
- Published: 21.12.2024
- URL: https://journals.eco-vector.com/0321-4443/article/view/635399
- DOI: https://doi.org/10.17816/0321-4443-635399
- ID: 635399
Cite item
Abstract
BACKGROUND: Mechanized pulling of crops is carried out by the most efficient flax milling machines with transverse belt-disc channels. At the same time, the analysis of the works showed that the action of the inertia forces of plants when moving in curved pulling channels is not analyzed, their effect on the quality of the technological process is not found, the condition for pulling all plants from the soil without their excessive flattening, which reduces their effectiveness, is not determined.
OBJECTIVE: Theoretical and experimental study of the process of pulling flax plants with devices with transverse belt-disc channels.
METHODS: Experimental studies were carried out according to well-known and developed methods, with an assessment of flax products according to the GOST standards. The influence of the centrifugal inertia forces of plants on the bending of the plant belt, stretching of its upper part and loss of flax balls, and the condition of pulling all plants, taking into account the maximal strength of the tearing resistance of plants, were determined. Standard equipment and developed installations were used.
RESULTS: Dependences were obtained for determining the inertia forces of plants in the zones of pulling pulleys and deflecting rollers, and bending moments created by the inertia forces of plants and acting on plants, as well as the speed of the pulling belt, to prevent greater inertia forces of plants, negatively affecting the quality of work, and the condition of pulling all plants from the soil with taking into account the maximal strength of the stretching resistance. The limit value of the bending angle of the plant belt, which should not exceed 20°, has been found experimentally.
CONCLUSIONS: When designing flax milling machines with belt-disc channels to reduce the inertia forces, it is necessary that the elements of adjacent milling sections have the same size and shape as possible, which will reduce the forces of inertia of plants, eliminate peak pressures in a channel, increase the durability of the belt, reduce losses of flax products.
Keywords
Full Text
ВВЕДЕНИЕ
Лен-долгунец остается в стране единственной культурой стратегического назначения в силу возможности его использования в различных отраслях народного хозяйства. Несмотря на это, особенно в последние годы, имеет место уменьшение объемов его производства, а качество льносырья остается низким [1]. Сокращение импортных поставок целлюлозного текстильного сырья может быть достигнуто созданием отечественной сырьевой базы, увеличением урожайности культуры и повышением качества льнопродукции [2, 3]. Объемы и качество льнопродукции в значительной степени определяются технологиями уборки культуры с последующим приготовлением и реализацией льносырья на перерабатывающие предприятия.
Для эффективного использования технических средств на последующих технологических операциях, каждая из них должна создавать наилучшие условия для выполнения последующих воздействий рабочих органов. Поэтому для сохранения урожая необходимо постоянное совершенствование льнотеребильных аппаратов в направлении снижения отрицательного влияния их рабочих органов на растения, приводящее к ухудшению показателей работы [4].
Уборку льна осуществляют по пяти технологиям: сноповой, комбайновой, двухфазной, комбинированной и дифференцированной. Указанные технологии направлены на получение высококачественной льнотресты либо семян [5], в которых механизированное теребление посевов является основной технологической операцией, выполняемой льнотеребильными аппаратами разных конструкций. Широкое применение получили теребильные аппараты с ленточно-дисковыми ручьями, характеризующиеся тем, что у них равномерное давление по длине ручья, скольжение ремня по теребильному шкиву отсутствует, надежность выполнения технологического процесса высокая, а мощность на привод наименьшая, что позволяет считать его наиболее перспективным для применения в льнотеребильных аппаратах [5–7].
Поэтому ленточно-дисковые теребильные ручьи, имеющие наиболее простую конструкцию, получили основное применение в аппаратах с поперечным относительно движения мобильного энергосредства технологическим потоком вытеребливаемых растений льна: с расстилом лент льна в сторону убранного поля (ТЛН-1,5А), и с расстилом лент между колёс энергосредства (прямоточные теребильные аппараты ТЛН-1,9ПМ).
Известны многочисленные работы, в которых изложены теория и методы расчета аппаратов с поперечными ленточно-дисковыми ручьями, исследовано взаимодействие рабочих органов с растениями льна, разработаны эффективные приемы, направленные на повышение качества и надежности выполнения процесса теребления льна-долгунца [8–12].
Вместе с тем, анализ работ по исследованию процесса теребления растений льна-долгунца аппаратами с поперечными ленточно-дисковыми ручьями показал, что ряд вопросов остаются малоизученными или не рассмотренными. Не проведен анализ действия сил инерции растений при перемещении в криволинейных теребильных ручьях, не установлено их влияние на качество выполнения технологического процесса, не определено условие теребления всех растений из почвы без их чрезмерного расплющивания.
Цель работы — теоретическое и экспериментальное исследование процесса теребления растений льна-долгунца аппаратами с поперечными ленточно-дисковыми ручьями.
МАТЕРИАЛЫ И МЕТОДЫ
Развитие конструкций льнотеребильных аппаратов и опыт их эксплуатации показывает, что в наибольшей степени удовлетворяют предъявляемым к ним требованиям аппараты с поперечными ленточно-дисковыми ручьями, когда технологические потоки растений движутся в поперечных к перемещению машины направлениях и расстилаются по льнищу на стороне убранного поля или между колёс мобильного энергосредства при прямоточном технологическом процессе. Две секции такого аппарата показаны на рис. 1, с шириной захвата «b» для каждой.
Рис. 1. Схемы к анализу сил инерции в аппарате с поперечными ленточно-дисковыми ручьями: а — вид сверху; b — вид сбоку: 1 — теребильный ремень; 2 — ведущий шкив; 3 — теребильные шкивы; 4 — отклоняющие ролики; 5 — верхние и нижние направляющие; 6 — рама; 7, 8 — центральные и боковые стеблеподводы переменной кривизны, 9 — растения льна.
Fig. 1. Schemes for the analysis of inertia forces in a device with transverse belt-disc channels: а — top view; b — side view: 1 — a pulling belt; 2 — a driving pulley; 3 — pulling pulleys; 4 — deflecting rollers; 5 — upper and lower guides; 6 — a frame; 7, 8 — central and lateral stem guides of variable curvature; 9 — flax plants.
Учитывая перспективность таких аппаратов, они постоянно совершенствуются путем введения в них инновационных конструкционных элементов. Для обеспечения стабилизации давления в теребильных ручьях и устранения разделения технологических потоков растений рамы 6 располагают за теребильными шкивами 3, а теребильные секции оснащаются делителями со стеблеподводами переменной кривизны, обеспечивающие целенаправленное движение растений в пространстве между смежными делителями, уменьшая растянутость растений в ленте [6, 8, 9].
При тереблении растений 9 они стеблеподводами 7, 8 делителей подводятся в устья К1, К2 теребильных ручьев, затем на дугообразных участках А1В1С1, Д1Е1, А2В2С2 извлекаются из почвы. Отдельные технологические потоки растений формируются в ленту и расстилаются по льнищу.
При движении в точках растений появляются центростремительные ускорения в зоне шкивов Wш и в зоне отклоняющих роликов Wр, и центробежные силы инерции Рш и Рр соответственно. На рис. 1, а показаны векторы этих ускорений и сил инерции.
Экспериментальные исследования проводили в Федеральном научном центре лубяных культур в г. Твери. В процессе исследований использовали методы общего и логического анализа, расчетно-конструктивный, теоретической механики. Использовали компьютерные программы, теорию вероятности и математическую статистику [13–15].
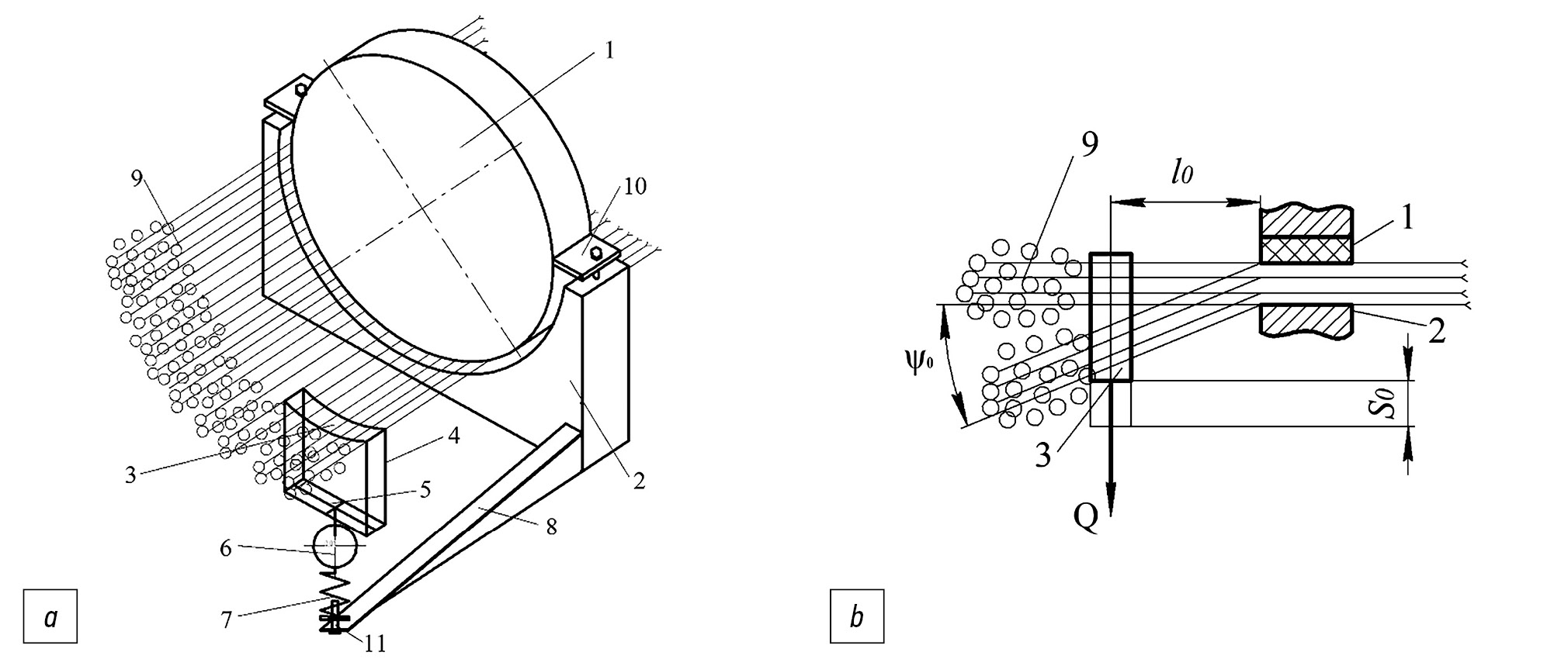
Во время проведения опытов применяли стандартную аппаратуру и специально разработанные установки. Лабораторно-полевые исследования проводили на изготовленной установке, схема которой показана на рис. 2, а.
Рис. 2. Схема установки для исследования отрыва семенных коробочек льна с ленты растений, зажатой в дугообразном теребильном ручье (а) и схема отгиба ленты растений (b): 1 — теребильный шкив; 2 — дугообразная опора; 3 — узкая накладка из резины; 4 — несущие стержни; 5 — площадка; 6 — динамометр; 7 — пружина; 8 — неподвижный кронштейн; 9 — лента растений; 10 — пластины крепления шкива; 11 — винтовой механизм.
Fig. 2. The scheme of the installation for the study of the separation of flax balls from a plant ribbon clamped in an arc-shaped pulling channel (а) and the scheme of bending the plant belt (b); 1 — a pulling pulley; 2 — an arc–shaped support; 3 — a narrow rubber lining; 4 — bearing rods; 5 — a platform; 6 — a dynamometer; 7 — a spring; 8 — a fixed bracket; 9 — a plants belt; 10 — pulley mounting plates; 11 — a screw mechanism.
Необходимость исследования процесса отгиба ленты растений и условий отрыва семенных коробочек с цветоножек объясняется тем, что при перемещении ленты растений по дугам теребильного шкива и отклоняющего ролика возникают силы инерции, под действием которых создаются моменты отгиба растений, во время которого вследствие растяжения верхней части ленты возможен отрыв семенных коробочек с цветоножек на ней.
Для проведения опыта выбирали участки поля с наличием на них растений среднеспелого сорта «ВИЗИТ» с требуемыми характеристиками, которые вытеребливали вручную и доставляли в лабораторию, где их сортировали по общей длине растений. Для исследований формировали отрезки ленты растений длиной 0,1 м с числом растений по 125 и 290 шт, что соответствует 1250 и 2900 шт на погонном метре ленты, незначительной (2–3) и значительной (5–6) обсемененностью растений (показателям, наиболее характерным для реальных условий работы уборочных машин) .
Относительная растянутость растений в пробе лент была 1,2 раза, общая длина растений 0,8 м, а зона расположения семенных коробочек в верхней части ленты составила 0,3 м. Диаметр стеблей растений был 1,0–1,5 мм (тонкостебельный лен, наиболее эффективный для переработки на волокно) и 2,0–2,5 мм (толстостебельный лен, менее эффективный для переработки на волокно). Спелость семенных коробочек была: в ранней жёлтой спелости — 75% семенных коробочек были зеленого цвета и 25% — жёлто-зеленого, а в жёлтой — 48% жёлто-зеленых и 52% жёлтых.
Для проведения опыта ленту растений 9 укладывали на дугообразную опору 2, после чего её прижимали теребильным шкивом 1, посредством пластин 10 с винтами, к дугообразной опоре 2. Затем на ленту растений 9 укладывали накладку 3, связанную с несущими стержнями 4, закреплёнными к площадке 5, к которой присоединен динамометр 6, с пружиной 7 и винтовым механизмом 11. Использование такого устройства позволяет осуществлять изменение силы Q, а следовательно и отгиба S0 ленты растений с фиксацией показаний на приборе динамометра. После каждой установки пружины 7 замеряли отгиб S0 (рис. 2, b). Располагая значениями S0 и расстоянием l0 от шкива 1 до линии действия силы Q, определяли угол отгиба ψ0 ленты растений по формуле:
. (1)
Учитывая большую трудоёмкость опытов, они проводились в трёхкратной повторности [5]. Полученные данные эксперимента обрабатывали по известным методикам [14, 15].
РЕЗУЛЬТАТЫ ИССЛЕДОВАНИЯ
Рассмотрим действие сил инерции растений льна-долгунца при их перемещении в дугообразных теребильных ручьях, их влияние на качество выполнения технологического процесса, установим условие теребления всех растений из почвы без их чрезмерного расплющивания.
Пусть растение льна 9 массой mp в положении М (рис. 1) движется вместе с теребильным ремнем 1 со скоростью VП по криволинейной (далее дугообразной) траектории радиусом кривизны rш в зоне теребильного шкива 3, и радиусом кривизны rр в зоне отклоняющего ролика 4 в положении растения в точке М1.
При постоянной скорости VП растения льна в зоне шкива 3 будут иметь только центростремительное ускорение Wш, которое направлено вдоль линии МО1, а в зоне отклоняющего ролика 4 Wр направленное вдоль линии М1О2′. В соответствии с положениями теоретической механики [13] можно записать, что в зоне теребильного шкива
; (2)
отклоняющего ролика
. (3)
При прямолинейном и равномерном движении осей О1 и О2 сила инерции Рш растения массой mp в положении М будет:
. (4)
Аналогично с (4) сила инерции Рр растения в его положении М1 запишется:
. (5)
В (4) и (5) знак указывает на то, что направления векторов сил Рш и Рр противоположны векторам ускорений Wш и Wр.
Количество растений, приходящееся на единицу длины iор теребильного ремня 1 будет [10]:
, (6)
где iо — густота растений (количество растений на 1 м2 поля); b — ширина захвата теребильной секции; j — номер теребильной секции в аппарате; μ — показатель скоростного режима (отношение скорости машины VМ к скорости теребильного ремня VП.
При равномерном распределении растений по длине ремня масса растений mp1 приходящаяся на единицу длины ремня равна:
. (7)
Подставляя в (4) и (5) вместо mp значение из (7) получим силы инерции Рш и Рр растений, расположенных на единице длины ремня:
; (8)
. (9)
Анализ формул (8) и (9) показывает, что с уменьшением радиуса кривизны ремня силы инерции, больше. Возрастают они также с увеличением ширины захвата и количества секций, густоты растений, показателя скоростного режима аппарата и скорости ремней.
Построенные на основе формул (8) и (9) эпюры сил инерции растений в плоскости теребильного аппарата и в плоскостях, перпендикулярных к нему по всей высоте растений (рис. 3) показывают, что силы инерции наибольшие в зонах отклоняющего ролика и направляющих, а в зоне теребильного шкива они наименьшие.
Рис. 3. Направления сил инерции растений в плоскости теребильного аппарата (a) и в плоскостях, перпендикулярных к нему (b, c).
Fig. 3. Directions of inertia forces of plants in the plane of the pulling device (a) and in planes perpendicular to it (b, c).
Силы инерции действуют как в зоне зажатия растений ремнем и направляющими, так и по всей их высоте. В силу того, что ремень натянут и направляющие закреплены прочно, то он не отходит от шкива, а направляющие от ремня. Однако, не зажатые части растений (верхушечная и нижняя части) могут отогнуться под действием изгибающего момента, созданного силами инерции относительно плоскости нахождения ремня и направляющих.
Определим эти изгибающие моменты. Изгибающие моменты, создаваемые силами инерции, действуют на участках h1h2 и h3h4 растений (рис. 3, b), и на участках l1l2 и l3l4 (рис. 3, c). Исходя из допущения, что силы инерции одинаковы по всей высоте растений и сила инерции Рш формула (8) действует на всем участке h1h2, следует, что равнодействующая распределённой нагрузки на участке h1h2 нижней части растений равна .
Приложена эта равнодействующая распределённой нагрузки посередине участка h1h2 на расстоянии от нижней кромки ремня. Момент Мшн относительно точки h2 будет
, (10)
где h1h2 и h3h4 — расстояния между соответствующими точками h1 и h2, h3 и h4.
На верхней части h3h4 растений, равнодействующая распределённой нагрузки равна , и приложена посередине между точками h3 и h4 на расстоянии от верхней кромки (края) ремня. Момент Мшв относительно точки h3 равен:
. (11)
Изгибающие моменты (см. рис. 3, b) создают силы, действующие на участках l1l2 и l3l4. Считая, что эти силы одинаковы по всей высоте растений, и сила Ррн по формуле (9) действует по всей высоте (участку растений) l1l4, то равнодействующая распределённой нагрузки на нижнем участке l1l2 будет равна . Приложена она посередине между точками l1 и l2 на расстоянии от нижней направляющей. Момент Мрн, создаваемый относительно точки l2 (относительно нижней направляющей) будет:
(12)
На участке l3l4 верхней части растений равнодействующая Ррв распределённой нагрузки , приложенная посередине между точками l3 и l4 на расстоянии от верхней направляющей. При этом момент Мрв, создаётся относительно верхней направляющей и равен:
. (13)
От действия моментов и Мрн возможен отгиб корней растений в направлении векторов (см. рис. 3, b и 3, c). Величина их отгиба зависит от сопротивления растений отгибу.
При таком отгибе возможно появление на растениях повреждений, влияющих на выработку длинного волокна, таких, как например надлом древесины. Кроме того, под действием моментов Мшв и Мрв может иметь место растягивание верхушечной части растений с отрывом семенных коробочек, что недопустимо. Для недопущения этого явления необходимо ограничить моменты Мшв и Мрв, которые обуславливают отгиб растений.
В ФГБНУ ФНЦ ЛК проведены исследования процесса отгиба ленты растений льна, сцепленной в верхней части семенными коробочками, при её нахождении в криволинейном теребильном ручье. Результаты эксперимента показаны в табл. 1.
Таблица 1. Результаты исследования отгиба ленты растений и условий отрыва семенных коробочек от соцветий
Table 1. The results of the study of the bending of the plants belt and the conditions for the separation of flax balls from inflorescences
Количество растений на одном погонном метре длины ленты, шт/м | Фаза спелости растений льна | Количество семенных коробочек на растении (обсемененность), шт | Угол отгиба ленты растений при котором начинается отрыв семенных коробочек ψ0 , град | Масса m оторванных семенных коробочек (г), при отгибе ленты растений на угол: | ||
ψ0 | ψ0 +10° | ψ0 +20° | ||||
125 | Ранняя жёлтая | 2–3 | 30,2 | 0,08 | 0,14 | 0,20 |
5–6 | 28,1 | 0,12 | 0,24 | 0,32 | ||
290 | 2–3 | 29,1 | 0,13 | 0,19 | 0,26 | |
5–6 | 26,7 | 0,18 | 0,29 | 0,42 | ||
125 | Жёлтая | 2–3 | 29,3 | 0,11 | 0,16 | 0,26 |
5–6 | 26,2 | 0,16 | 0,28 | 0,36 | ||
290 | 2–3 | 27,0 | 0,28 | 0,36 | 0,41 | |
5–6 | 25,0 | 0,38 | 0,45 | 0,56 | ||
Полученные данные свидетельствуют о том, что угол отгиба ψ0 в основном зависит от количества семенных коробочек на растении (обсемененности) и количества растений на одном погонном метре длины ленты. В меньшей степени от фазы спелости растений льна. Чем больше обсемененность и количество растений на одном метре длины ленты, тем меньше угол ψ0, при котором начинается отрыв семенных коробочек с растений.
Трехфакторным дисперсионным анализом [14, 15] установлено, что действие факторов: количества семенных коробочек на растениях и количество растений на одном погонном метре длины ленты, а также фазы спелости культуры достоверно. Наибольшее влияние на угол отгиба ψ0 ленты растений оказывает количество коробочек на нем (доля влияния 50,3), затем количество растений на одном погонном метре длины ленты (доля влияния 39,5). Наименьшее влияние на значение угла ψ0 в эксперименте оказала фаза спелости растений (доля влияния 10,2).
Для устранения потерь семенных коробочек в процессе движения ленты растений в криволинейных теребильных ручьях при уборке высокоурожайного льна (наиболее сложные условия) необходимо, чтобы угол отгиба ψ0 ее был меньше 25° (см. табл. 1) и не превышал его предельных значений, равных ≈ 0,8 ψ0, который обозначим ψ0П ≈ 20°.
Таким образом проведённый эксперимент показал, что предельный угол отгиба ψ0П ленты не должен быть больше 20°. При таком угле отгиба ψ0П изгибающий одиночные растения момент тонкостебельного льна в фазе ранней жёлтой спелости равен 18·10-3 Нм, а толстостебельного он составляет 32·10-3 Нм. В фазе жёлтой спелости эти изгибающие моменты соответственно равны 28·10-3 Нм и 39·10-3 Нм.
Предельный изгибающий момент обозначим [MРВП]. Поскольку сила инерции, действующая в зоне отклоняющего ролика наибольшая, то для расчётов принимаем формулу (13), по которой определяется изгибающий момент в зоне этого ролика, но вместо РРВ подставляем в эту формулу для каждого растения РР по формуле (5). В этом случае граничный расчётный изгибающий момент будет равен:
.
Из неравенства с учётом изложенного, получим
.
Из этого неравенства следует, что
. (14)
Скорость теребильного ремня, рассчитанная по формуле (14), предотвращает большие силы инерции растений, наличие которых ухудшает количественные и качественные показатели работы аппарата.
По формуле (14) проведены расчёты скорости ремня применительно к теребильным секциям аппаратов с поперечными ленточно-дисковыми ручьями (ТЛН-1,5А, ТЛН-1,9П, ТЛН-1,9ПМ и др.): = 0,09 м; средней общей длине растений l1l4 = 0,8 м; длине верхушечной части растений l3l4 = 0,5 м; для тонкостебельного льна в ранней жёлтой спелости МРВП = 18·10-3 Нм; mр = 0.0018 кг; в жёлтой спелости МРВП = 28·10-3 Нм; mр = 0.002 кг; для толстостебельного льна в ранней жёлтой спелости МРВП = 32·10-3 Нм; mр = 0.002 кг; в жёлтой спелости МРВП = 39·10-3 Нм; mр = 0.0025 кг.
Расчет показал, что скорость теребильного ремня, полученная при указанных исходных данных, находится в пределах 2,7…3,0 м/с, что соответствует этой скорости ремня в серийных и опытных аппаратах с поперечными и продольными ручьями.
Рассмотрим особенности процесса теребления (выдергивания) растений льна из почвы и условия их выполнения.
В процессе теребления растений из почвы [10–12] происходит обрыв его побочных корешков, а затем обрывается главный корень, при котором сила теребления Р достигает максимального значения Рmax. При этом длина пути действия силы теребления Р растения для разных растений разная и составляет от 0,02 до 0,06 м [11, 12]. Для качественного теребления растений необходимо, чтобы на всем убираемом участке в теребильных ручьях было обеспечено достаточное для преодоления этой силы Рmax давление.
Такое условие теребления растений следующее [10–11]: , где Р — сила теребления, Н; Вр — ширина ремня, м; dc — диаметр стебля, м; fл — коэффициент трения между стеблями льна. Это неравенство справедливо при условии зажатия всех стеблей в ручье если в числитель вместо силы Р подставить силу Рmax, т.е.
. (15)
Увеличивать значительно давление q нельзя, так как это приведёт к чрезмерному расплющиванию стеблей и снижению выработки наиболее ценного длинного волокна. Допустимое давление [q] в ручье, при котором исключается чрезмерное их расплющивание, составляет 180–200 кПа, при среднем давлении 190 кПа [10, 11]. С учётом изложенного получим условие теребления растений из почвы:
. (16)
Если необходимо увеличить ширину ремня Вр так, чтобы соблюдалось неравенство (16).
Давление q согласно [10, 11] равно , где S — сила натяжения ремня, Н. Подставляя это значение вместо q в левую часть неравенства (15) и решая его относительно силы натяжения S ремня, получим
. (17)
Таково условие извлечения всех растений льна из почвы без их избыточного расплющивания теребильным аппаратом.
ВЫВОДЫ
- Вследствие криволинейного движения в теребильных ручьях и около отклоняющих роликов у растений развиваются центробежные силы инерции, что действуют параллельно плоскости теребильного аппарата по всей высоте этих растений (4)–(9). Эти силы тем больше, чем больше масса растений и скорость ремня и меньше радиусы шкива и ролика. Под действием этих центробежных сил возникают моменты, сгибающие ленту растений в плоскости, перпендикулярной плоскости теребильного аппарата, и вызывающие растяжение верхней части ленты растений с отрывом семенных коробочек. Для предотвращения этого явления скорость теребильного ремня должна быть ограничена неравенством (14).
- Согласно проведенным исследованиями установлено, что при осуществлении технологического процесса допустимое значение угла отгиба ψ0 ленты растений, сцепленной семенными коробочками и зажатой в дугообразных ручьях, до которого не происходит отрыва семенных коробочек, не должно превышать 20°.
- При извлечении растений из почвы теребильный аппарат нагружается тем больше, чем больше максимальная сила, потребная для вытягивания растений из почвы. Получены теоретические зависимости (15) и (17) для расчёта процесса извлечения растений из грунта с учётом максимальной силы сопротивления растения выдергиванию, исключающие избыточное расплющивание растений.
- При проектировании льнотеребильных аппаратов с поперечными ленточно-дисковыми ручьями следует исходить из того, чтобы элементы теребильных ручьев смежных секций имели одинаковые размеры и форму, что позволит исключить пиковые давления в нём, увеличить долговечность теребильного ремня и снизить потери семенных коробочек.
ДОПОЛНИТЕЛЬНАЯ ИНФОРМАЦИЯ
Вклад авторов. Р.А. Ростовцев ― формулирование концепции решения, постановка задачи, анализ результатов исследования; М.М. Ковалев ― научное руководство, подготовка начального текста с последующей доработкой, проведение критического анализа исследований, визуализация, утверждение финальной версии; Г.А. Перов ― определение методологии исследования, сбор и анализ материалов по теме исследования, проведение исследований, доработка текста. Авторы подтверждают соответствие своего авторства международным критериям ICMJE (все авторы внесли существенный вклад в разработку концепции, проведение исследования и подготовку статьи, прочли и одобрили финальную версию перед публикацией).
Конфликт интересов. Авторы декларируют отсутствие явных конфликтов интересов, связанных с публикацией настоящей статьи.
Источник финансирования. Работа выполнена при поддержке Минобрнауки России в рамках Государственного задания ФГБНУ ФНЦ ЛК (№ FGSS-2022-0005).
ADDITIONAL INFORMATION
Authors` contribution. R.A. Rostovtsev ― formulation of the solution concept, problem statement, analysis of research results; M.M. Kovalev ― scientific guidance, preparation of the initial text with subsequent revision, conducting a critical analysis of research, visualization, approval of the final version; G.A. Perov ― definition of research methodology, collection and analysis of materials on research topic, conducting research, revision of the text. All authors made a substantial contribution to the conception of the work, acquisition, analysis, interpretation of data for the work, drafting and revising the work, final approval of the version to be published and agree to be accountable for all aspects of the work.
Competing interests. The authors declare the absence of obvious conflicts of interests related to the publication of this article.
Funding source. This work was supported by the Ministry of Science and Higher Education of the Russian Federation within the framework of the State Assignment of the Federal Scientific Center for Bast Crops (No. FGSS-2022-0005).
About the authors
Roman A. Rostovtsev
Federal Research Center for Bast Fiber Crops
Email: info@fnclk.ru
ORCID iD: 0000-0003-0368-1035
SPIN-code: 9513-1220
ResearcherId: AIE-3974-2022
Corresponding Member of the RАS, Dr. Sci. (Engineering), Professor, Director
Russian Federation, TverMikhail M. Kovalev
Federal Research Center for Bast Fiber Crops
Email: m.m.kovalev@mail.ru
ORCID iD: 0000-0003-2424-4205
SPIN-code: 6189-8619
Dr. Sci. (Engineering), Chief Researcher of the Agroengineering Technologies Laboratory
Russian Federation, TverGennady A. Perov
Federal Research Center for Bast Fiber Crops
Author for correspondence.
Email: vniiml2@mail.ru
ORCID iD: 0000-0002-5830-6817
SPIN-code: 4478-4991
ResearcherId: AAB-5326-2022
Cand. Sci. (Engineering), Leading Researcher of the Agroengineering Technologies Laboratory
Russian Federation, TverReferences
- Novikov EV, Basova NV, Bezbabchenko AV. Bast crops in Russia and abroad: state, problems and prospects of their processing. Technical cultures. Scientific Agricultural journal. 2021;1:30–40. doi: 10.54016/SVITOK.2021.1.1.005
- Rostovtsev RA, Chernikov VG, Shchapovsky IV, et al. The main problems of scientific support of flax production. Agricultural machinery and technology. 2020;14(3):45–52. doi: 10.22314/2073-7599-2020-14-3-45-52
- Basova NV, Novikov EV. Analysis of the production of bast crops in Russia during the period of import substitution. Technical cultures. Scientific Agricultural journal. 2023;3(2):54–63. doi: 10.54016/SVITOK.2023.67.29.007
- Pozdnyakov BA. Actual directions of improving the system of machines for harvesting flax. Machinery and equipment for the village. 2019;8:2–6. doi: 10.33267/2072-9642-2019-8-2-6
- Kovalev MM. Technologies and machines for combined harvesting of flax [disertation] Moscow; 2010.
- Patent RUS No. 2086090 / 08/10/97. Byul. 22. Kovalev MM, Brotsman AI, Chernikov VG, et al. The flax mill. Accessed: 19.05.2024. Available from: https://patents.s3.yandex.net/RU2086090C1_19970810.pdf
- Patent RUS No. 2321203 / 04/10/08. Byul. No. 10. Kovalev MM, Khailis GA, Prosolov SV, et al. The flax mill. Accessed: 19.05.2024. Available from: https://patents.s3.yandex.net/RU2321203C1_20080410.pdf
- Rostovtsev RA, Kovalev MM, Perov GA, Prosolov SV. Substantiation of the parameters of the pulling sections of devices with transverse streams. Tractors and agricultural machinery. 2023;90(4):373–385. doi: 10.17816/0321-4443-352499
- Rostovtsev RA, Kovalev MM, Perov GA, et al. Investigation of the innovative process of twisting stems in devices with transverse streams. Engineering technologies and systems. 2022;32(3):355–372. doi: 10.15507/2658-4123.032.202203.355-372
- Khailis GA. Theory of flax harvesting machines. Moscow: Rosinformagrotech; 2011. Accessed: 19.05.2024. Available from: http://www.cnshb.ru/Vexhib/volk/12_11236.pdf
- Khailis GA, Kovalev MM. Theory of flax milling machines with transverse handles. Kiev: UAAN; 1999.
- Yukhimchuk SF. Obgruntuvannya parametri i doslidzhennya robotyonobralnykh aparativ with transverse rivchaks [dissertation] Lutsk; 1998. Accessed: 19.05.2024. Available from: https://viewer.rsl.ru/ru/rsl01000785285?page=1&rotate=0&theme=white .
- Shack YuF, Ksenzov VA. Theoretical mechanics. Moscow: KolosS; 2005.
- Kulaichev AP. Methods and means of complex statistical data analysis. Moscow: INFRA-M; 2022.
- Gorlach BA. Probability theory and mathematical statistics. St. Petersburg: Lan; 2021.
Supplementary files






