Thermal profiling of crankshaft torsional vibration damper for eight-cylinder automotive diesel engine
- Authors: Kostina A.R.1, Nikishin V.N.1
-
Affiliations:
- Kazan Federal University
- Issue: Vol 92, No 3 (2025)
- Pages: 270-277
- Section: Theory, designing, testing
- Submitted: 13.09.2024
- Accepted: 28.06.2025
- Published: 01.07.2025
- URL: https://journals.eco-vector.com/0321-4443/article/view/635969
- DOI: https://doi.org/10.17816/0321-4443-635969
- EDN: https://elibrary.ru/ACRKIJ
- ID: 635969
Cite item
Abstract
BACKGROUND: High torsional vibrations can lead to crankshaft failure. To reduce them, a damper is installed on the front crankshaft flange of high-powered inline diesel engines. The performance of torsional vibration dampers depends both on the damper design and the engine operating conditions. For a comprehensive assessment of damping performance, vibration amplitude of the crankshaft front flange is monitored. Thermal profiling of liquid dampers allows to determine their performance and characterize the changes in their thermal state based on temperature changes of the engine’s working fluid.
AIM: To study the damper thermal state and its influence on the torsional vibration damping performance.
METHODS: This study used experimental methods, conducted on an eight-cylinder automobile diesel engine. The value of the crankshaft twist angle was determined during the operation of the diesel engine by the external speed characteristic by torsiography on a special test bench. The thermal condition of the dampers was assessed by thermometry using special thermocouples, the measurement was carried out at the rated operating mode of the engine.
RESULTS: Thermal profiling of torsional vibration dampers was conducted. The authors determined the relationship between the crankshaft torsion angle, oil and damper temperature, and the warm-up time at 2,400 rpm.
CONCLUSION: The damper thermal state depends on the oil temperature in the engine pan and does not depend on the location of the measuring points on the housing. There are minor changes of the crankshaft twist angle when operating for 1 hour at 2,400 rpm.
Full Text
BACKGROUND
Torsional vibrations occur in the crankshaft of multi-cylinder automotive and tractor engines. Resonance associated with vibrations both reduces the crankshaft strength and results in impacts in the crankshaft gear drives (oil pump drive and high-pressure fuel pump drive), and increased oil and fuel consumption and engine noise [1–3].
To reduce the amplitude of crankshaft torsional vibrations, dampers are used. The two most common types of dampers are rubber and viscous dampers [1]. Rubber dampers have a more streamlined design, but they can only be effective at one resonant frequency and cannot be placed in a confined space due to the risk of overheating. Viscous dampers are usually effective in almost the entire range of operating crankshaft speeds; thus, they are widely used in engines (see Fig. 1).
Torsional vibration dampers can be installed either outside or inside the engine.
Fig. 1. Damping performance of the front main support coupling bolt of the 8CN 12/13 diesel engine: 1, w/o torsional vibration damper; 2, w/damper.
Viscous dampers are enclosed without forced cooling. It is a common fact that the damping performance depends on the viscosity of the liquid used and viscosity depends on temperature [8].
For example, Geislinger D60/14/2 marine dampers use contact methods (thermocouples) and non-contact methods (IR imagers). Thus, they monitor the damper temperature using sensors at the inlet and outlet of the oil system and the damper thermal state [4]. In addition, torsiography is used in combination with indirect calculations [5–6]. For example, studies conducted at the Astrakhan State Technical University used such calculations to predict the heating of silicone dampers [7]. This study is aimed to investigate the thermal state of a torsional vibration damper.
In order to evaluate the effectiveness of the damper under different engine operating conditions, torsiography of the crankshaft nose oscillations was carried out with simultaneous monitoring of the temperature of the 8ЧН 13/12 engine damper.
To assess the damper performance in different engine operating conditions, torsiography of the crankshaft oscillations was performed with simultaneous temperature monitoring of the 8CN 13/12 engine damper.
AIM
To study the damper thermal state and its influence on the torsional vibration damping performance.
METHODS
The damper performance was determined by the largest amplitude of the crankshaft twist angle measured during operation based on the full-load curve.
An eight-cylinder compression ignition engine equipped with a torsional vibration damper in the crankcase compartment was tested. The engine was installed on a special test bench to perform torsion testing of the engine crankshaft. Fig. 2 shows the equipment installation drawing for crankshaft torsiography.
Fig. 2. Equipment installation for crankshaft torsiography: 1, engine; 2, washer with sensors; 3, accelerometers; 4, collector; 5, bracket; 6, cables; 7, vibration meter; 8, computing device; 9, braking gear; 10, engine mounts.
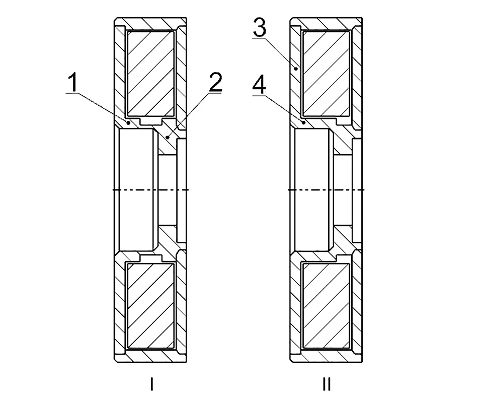
To conduct the tests, two liquid torsional vibration dampers with installed thermocouples were manufactured. Fig. 3 shows the thermocouple layout. Option 1 uses the detachable damper; the groove on the supporting surface is located at the center. Option 2 uses the detachable damper; the groove on the supporting surface is shifted to the edge.
Fig. 3. Thermocouple layout on dampers: option 1, the groove on the supporting surface is located at the center (1, 2 are thermocouples); option 2, the groove is shifted to the edge (3, 4 are thermocouples).
The tests included the full-load curve (FLC) measurement and torsiography of the engine crankshaft. A torsional vibration damper for the engine crankshaft was installed on the engine (option 1), to determine the thermal state. Next, the damper was removed and installed (option 2) and the measurements from the previous steps were repeated.
The damper performance was assessed based on the largest amplitude of the crankshaft twist angle measured during engine operation and the full-load curve. The damper thermal state was studied under the rated operating conditions of the engine at a crankshaft speed of 2,400 rpm. The selected engine crankshaft speed of 2,400 rpm ensures steady-state thermal operating conditions of the engine and the highest workload and sensitivity of the instruments, facilitating an accurate assessment of the engine condition and overheating zones. Temperature measurements were taken once in 5 minutes during 1-hour engine operation.
TEST RESULTS
Fig. 4 shows the crankshaft torsiography without a torsional vibration damper and with two damper options. The graph reveals that when the engine is operated without a damper, two resonant frequencies of crankshaft rotation are observed. The largest amplitudes of the crankshaft twist angles are 0.252° and 0.186° at 1,750 rpm and 1,950 rpm with 8 and 7 engine harmonics, respectively. For reference, the largest amplitude of the crankshaft twist angle of the 8CN 12/13 engine is 0.22° [9–11]. Thus, the crankshaft twist angle of the 8CN 13/12 engine is by 14.5% greater than that of the 8CN 12/13 engine.
Fig. 4. Relationship between the crankshaft twist angle and its speed without a torsional vibration damper and with two damper options (8, 7 are engine harmonics).
The torsional vibration damper installed on the 8CN 13/12 engine eliminates any resonance. The twist angle amplitude in the vibration resonance conditions reduced by 2.5 times. The largest crankshaft twist angle in the engine with a damper is 0.198° at 2,400 rpm.
Torsiography analysis shows that the damper performance is almost identical. Both dampers operate effectively in the range from 1,600 rpm to 2,000 rpm; the dampers do not reduce the crankshaft twist angle amplitude above 2,000 rpm.
Fig. 5 and Fig. 6 show the damper thermal profiling. Thermal profiling shows that the temperature at all measurement points is actually the same.
Fig. 5. Relationship between the crankshaft twist angle, oil temperature, and damper temperature (option 1) in points 2, 3, 4 and the warm-up time at 2,400 rpm.
Fig. 6. Relationship between the crankshaft twist angle, oil temperature, and damper temperature (option 2) in points 2, 3, 4 and the warm-up time at 2,400 rpm.
It is worth noting that nonuniform oil temperature in Fig. 6 is caused by the service conditions of the diesel engine reaching the operational conditions.
After a 30–35 minute warm-up, the damper temperature stabilizes; at 60 minutes of engine operation in these conditions, it is 90° and 85° for the dampers, respectively.
The damper temperature is determined by the oil temperature in the engine pan. It can be concluded that the thermal state of the torsional vibration dampers depends on the oil temperature in the engine crankcase. The crankshaft twist angle during warm-up is marginal for both damper options. The difference between the largest and smallest angle is 0.006–0.008°. An exception is the first 5 minutes of warming up in the damper option 2 (see Fig. 6), where the difference is 0.025°.
When the engine is operated without a crankshaft torsional vibration damper, resonance occurs at the 8th engine harmonic at 1,750 rpm with the twist angle of 0.252°.
The torsional vibration damper eliminates this resonance. The largest torsional vibration amplitude of an engine with a damper is 0.198° at 2,400 rpm.
DISCUSSION
This study addresses the issue of reducing torsional vibrations in the crankshaft of a high-power diesel engine. The results obtained during the study, indicating the occurrence of dangerous crankshaft twist angles and the occurrence of resonant frequencies, confirm that modern diesel engines cannot be operated without the use of dampers. Torsional vibrations have a logical explanation from a mechanical perspective. Increased power is associated with an increase in the average effective pressure in the cylinders, which leads to an increase in the amplitude of the disturbing torque. This, in turn, increases the level of torsional stress and the risk of crankshaft failure. These findings emphasize the importance of damper selection. Data obtained on the thermal state of liquid dampers, namely, the relationship between damper temperature and oil temperature, make it possible to monitor damper performance under real-world conditions.
CONCLUSION
When the engine is running without a damper, resonant crankshaft speeds occur, with a crankshaft twist angle of 0.252°. The damper thermal state depends on the oil temperature in the engine pan and does not depend on the location of the measuring points on the housing. There are minor changes of the crankshaft twist angle when operating for 1 hour at 2,400 rpm. The results of the damper efficiency study, which combines crankshaft torsiography and damper temperature measurements, provide a comprehensive analysis not only for assessing torsional loads but also for evaluating the thermal state of the liquid dampers. An important practical result of the study is the proof that the thermal state of the liquid damper is determined by the oil temperature in the engine pan. This directly contributes to increased reliability and the prevention of resonant failure of engine crankshafts.
ADDITIONAL INFORMATION
Author contributions: V.N. Nikishin: conducting an experiment, collecting and processing the results; A.R. Kostina: writing and editing the text of the manuscript. All the authors approved the version of the manuscript to be published and agreed to be accountable for all aspects of the work, ensuring that issues related to the accuracy or integrity of any part of the work are appropriately investigated and resolved.
Ethics approval: Not applicable.
Funding sources: No funding.
Disclosure of interests: The authors have no relationships, activities, or interests for the last three years related to for-profit or not-for-profit third parties whose interests may be affected by the content of the article.
Statement of originality: No previously obtained or published material (text, images, or data) was used in this study or article.
Data availability statement: The editorial policy regarding data sharing does not apply to this work as no new data was collected or created.
Generative AI: No generative artificial intelligence technologies were used to prepare this article.
Provenance and peer review: This paper was submitted unsolicited and reviewed following the standard procedure. The peer review involved two external reviewers, a member of the editorial board, and the in-house scientific editor.
About the authors
Albina R. Kostina
Kazan Federal University
Author for correspondence.
Email: satullaevaar@gmail.com
ORCID iD: 0009-0003-0291-923X
SPIN-code: 2612-7997
Postgraduate of the Vehicles Department of the Naberezhnye Chelny Institute
Russian Federation, KazanVyacheslav N. Nikishin
Kazan Federal University
Email: VNNikishin@kpfu.ru
ORCID iD: 0009-0004-3880-9419
SPIN-code: 6978-1196
Dr. Sci. (Engineering), professor, Professor of the Vehicles Department Department of the Naberezhnye Chelny Institute
Russian Federation, KazanReferences
- Nikishin VN. The applied theory of oscillations in automobile and engine construction. Naberezhnye Chelny: Kamskaya inzhenerno ekonomicheskaya academia; 2012. (In Russ.) EDN: WMPPEV
- Nikishin VN. Formation and quality assurance of automotive diesel. Naberezhnye Chelny: Kamskaya inzhenerno ekonomicheskaya academia; 2006. (In Russ.) EDN: QNTZGF
- Nikishin VN. Formation and quality assurance of automotive diesel. Naberezhnye Chelny: Kamskaya inzhenerno ekonomicheskaya academia; 2008. (In Russ.) EDN: QNTZFL
- Xiao C, Hu H, Ou-Yang Q, et al. Analysis of temperature field of multicomponent lubrication for torsional vibration damper. Frontiers in Materials. 2022(9):930825. doi: 10.3389/fmats.2022.930825. EDN: PHGDAQ
- Ibadullaev A. Development of diagnostics methodology and determination of residual resource for mechanical torsional vibration dampers of ship propulsion complexes. Vestnik Astrakhanskogo gosudarstvennogo tekhnicheskogo universiteta. Seriya: Morskaya tekhnika i tekhnologiya. 2024(2):65-75. doi: 10.24143/2073-1574-2024-2-65-75 (In Russ.) EDN: PNEXBW Accessed May 15, 2025.
- Homik W, Mazurkow A, Woś P. Application of a Thermo-Hydrodynamic Model of a Viscous Torsional Vibration Damper to Determining Its Operating Temperature in a Steady State. Materials (Basel). 2021;(14):5234. doi: 10.3390/ma14185234
- Sibryaev K, Ibadullaev A, Gorbachev M, et al. System of working fluid supply in a model spring torsional vibration damper. Vestnik Astrakhanskogo gosudarstvennogo tekhnicheskogo universiteta. Seriya: Morskaya tekhnika i tekhnologiya. 2024(4):46-53. doi: 10.24143/2073-1574-2024-4-46-53 (In Russ.) EDN: PSRYYT
- Nikishin VN. Formation and provision of quality indicators for automotive diesels at the stage of their design and refinement. [dissertation abstract] Moscow; 2007. (In Russ.) EDN: MAGDWS
- Popov KS, Nikishin VN. Methodology of the engine temperature mode studying. Mezhdunarodny zhurnal. 2016(5):60-63. doi: 10.18454/IRJ.2016.52.158 (In Russ.) EDN: XDNALT
- Nikishin VN, Svetlichnyi KN. Diagnostics of the silicone damper of torsional vibrations of the crankshaft according to vibration parameters. Lesa Rossii I hosyaistvo v nih. 2012(1-2):77-77. (In Russ.) EDN: PVJQGR
- Nikishin VN, Belokon KG, Sibiryakov SV. Impact processes in crankshaft sliding bearings from torsional vibrations. Lesa Rossii I hosyaistvo v nih. 2012(1-2):78–81. (In Russ.) EDN: PVJQHB
Supplementary files








