Comparative analysis of methods for improving the quality of hardened pipe and bar stock for agricultural machinery parts
- Authors: Dement'yev V.B.1, Zasypkin A.D.1
-
Affiliations:
- Udmurt Federal Research Center of the Ural Branch of the Russian Academy of Sciences
- Issue: Vol 88, No 2 (2021)
- Pages: 52-60
- Section: Articles
- Submitted: 08.11.2021
- Published: 15.04.2021
- URL: https://journals.eco-vector.com/0321-4443/article/view/87338
- DOI: https://doi.org/10.31992/0321-4443-2021-2-52-60
- ID: 87338
Cite item
Abstract
The problem of obtaining a high-quality surface is acute in thermal, chemical-thermal and thermomechanical processing of products of rolling production. But, due to the fact that many metallurgical plants are insufficiently equipped with cleaning tools for these types of processing, the required surface quality of metal products is not ensured. Operations related to the removal of defects in the surface of rolled products employ from 30 to 60 % of the workers in rolling shops. The need for cleaning leads to a rupture of the production flow, since the metal must be pre-cooled for inspection and cleaning of defects. As a result, the total cost of cleaning is 2–3 times higher than the cost of performing the main technological operations – heating and deformation of the metal. In this regard, the combined methods of hot rolling with simultaneous hardening and elimination of surface defects are of particular interest, which gives significant energy savings and excludes etching operations in solutions of sulfuric and hydrochloric acids.
The paper considers new methods for stripping rolled stock before deformation in the high-temperature thermomechanical treatment (HTMT) mode of cylindrical hot-rolled solid and hollow billets with screw compression (SC) deformation, combining, along with a high-performance method of shaping and strengthening of rolled products, environmentally friendly (acid-free) methods of surface cleaning, as well as methods of removing surface layer defects combined with mechanical processing. At the same time, simultaneously with cleaning the surface and increasing the accuracy of rolled products, the structure of the surface layer is formed by the mechanism of phase transformations during thermomechanical processing.
The type of fracture changes at low-temperature destruction from brittle to ductile.
It should also be noted, that there is the need for further development of such well-proven cleaning methods as blade and waterjet processing, which allow, when cleaning rolled products from any steel grades from scale, to implement the most reliable cleaning system, ensure effective removal of surface and deeper defects, increase yield, reduce energy consumption and fit well into the continuous rolling mill line. According to recent studies, waterjet treatment increases the fatigue life of hollow cylindrical parts by up to 15 %.
Full Text
Introduction
Bar stock hardening in the high-temperature thermomechanical treatment (HTMT) mode and its further machining to a finished product have no fundamental obstacles (a certain nomenclature of the parts does not require finishing processing after hardening at all). However, the currently existing technological processes for manufacturing hollow parts such as the pin type, shafts, and axles from hot-rolled billets face difficulties. These processes include the use of labor-intensive deep drilling works for creating longitudinal holes in solid billets or solving the problem of improving inner surface of hollow billets obtained in the metallurgical cycle [1], which largely determines the durability of parts subjected to cyclic operational loads. Simultaneously, the second direction is the most acceptable from the standpoint of saving material resources and increasing labor productivity when manufacturing large volumes of hollow billets using existing and specialized equipment [2].
Under modern conditions, the commercial success of industrial enterprises is determined by the competitiveness of manufactured products, which is largely determined by their quality [3]. The analysis of the system for ensuring and improving the quality of metallurgy and mechanical engineering products revealed that this problem is largely solved at the stage of design and technological preparation of production. An integrated approach to the design of technological processes enables us to solve an important and complex problem of optimizing the surface quality, considering the working conditions of the part.
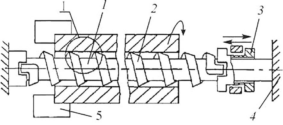
On the HTMT helps improve many mechanical characteristics of steels such as static and cyclic strength, viscosity and plasticity, and wear resistance [4, 5]. The use of induction heating reduces the intensity of processes of scale formation and decarbonization of surfaces of rolled products [6, 7]. Unfortunately, the use of this highly efficient processing to improve the operational reliability of machine parts is difficult because of some aspects of the steel properties after HTMT, namely, anisotropy of properties, high hardness, which complicates the processing of parts by cutting [5]. The creation of HTMT technology (Fig. 1) is possible in case these aspects are taken into account at the stage of designing the parts and their manufacturing technology.
Fig. 1. Sizing pipes on a short mandrel: 1 – inductor; 2 – billet; 3 – short mandrel; 4 – deforming rollers; 5 – internal sprayer; 6 – external sprayer; С’ – extension of the mandrel beyond the plane of the rollers
Because of the studies, , dependencies were established for many hardening processes using HTMT. These dependencies associate the processing conditions and quality of the part surface. This association enables us to set the processing modes that provide, considering technological heredity, the specified quality parameters, namely, the height and shape of irregularities, accuracy, level of mechanical properties, etc. Setting up these processing modes simplifies controling the individual parameters of products hardened using HTMT. Now, HTMT is minimized and replaced with controling processing conditions such as the degree of deformation, feeding, rigidity of the technological system, and the deformation temperature.
Particular interest in HTMT-based strengthening technologies is because they enable us to improve product quality by strengthening the working surfaces, increasing their accuracy, and reducing their roughness without replacing the material. The efficiency of the shaping and hardening processes through HTMT with deformation using screw compression (SC) is ensured by developing and applying new deformation schemes for product functioning in various operating conditions, as well as by the developing the principles of controlling the processing modes.
At present, various design and technological methods are used in the field of metallurgy and mechanical engineering. These methods help improve the efficiency of controlling the parameters of technical systems, including the technological class. It is, therefore, important to develop general, universal approaches to intensifying the SC HTMT process based on the solutions proven by theory and practice. Simultaneously, the use of HTMT in the production cycle of a range of highly loaded cylindrical parts significantly expands the field of billet application from hot-rolled round bars as one of the most common types of metallurgical products [8].
The research substantiated recommendations for using HTMT in the production cycle of a range of heavily loaded cylindrical parts.
Materials and methods
Consumer demands regarding the quality of finished rolled products classify operations aimed at improving surface quality as one of the main technological operations. However, because many metallurgical plants are not adequately equipped with cleaning tools, the required quality of metal products is provided in volumes that do not meet customer needs. The problem of stripping surface defects is critical in thermal, chemical-thermal, and thermomechanical hardening of hot-rolled billets. Operations related to surface defect removal in rolled products employ 30%–60% of workers in rolling shops. The need for cleaning leads to a rupture in the production flow, as the metal must be precooled for defect inspection and cleaning. As a result, the total costs of organizing cleaning are two to three times higher than the costs of performing the main technological operations, namely, metal heating and deformation. In this regard, the integrated and combined methods of hot rolling with simultaneous removal of surface defects, which provide significant energy savings, are of certain interest.
The work under consideration proposes new stripping schemes for high-temperature thermomechanical processing of cylindrical hot-rolled solid and hollow billets with screw compression deformation, combining a high-performance method of shaping and strengthening of rolled products with cleaning the surface from scale using environmentally friendly (acid-free) methods, as well as using mechanical treatments for removing surface layer defects.
In rolling production, fire, abrasive, blade, and electrophysical methods are used for removing surface defects on hot and cold metals. Simultaneously, cleaning of hot metals is economically feasible, technically justified, and maximum productive [9].
Recently, the existing cleaning methods have been improved and fundamentally new high-performance methods have been created. These methods aim at complete process automation of removing surface defects of rolled products, combining the processes of heating [10], cleaning, deformation, and cooling of rolled stock in one installation, as well as replacing etching operations with environment-friendly (mechanical) processing methods.
As the cost of stripping is 40–50% of the cost of forming [9], the choice of the stripping method, the design of equipment and tools, as well as the place of operation in the technological cycle are relevant.
When choosing a stripping method (Fig. 2), the productivity and process cost factors; the possibility of organizing a continuous-sequential technological cycle; the combination of the rolling process with defective layer removal; the ability to process various steels and alloys; the extent of waste disposal; environmental pollution; as well as automation and mechanization of the process must be considered [9].
Fig. 2. Classification of methods for cleaning metal surfaces
The fire method can be used to clean hot carbon and low-alloy steels, as well as complex-alloyed steels. Here, the billets from complex-alloyed steels are cleaned by adding an exothermic reagent and a fluxing agent (powder scarfing) to the zone of fire cleaning. A significant advantage of this method is the possibility of granulation with high-pressure water of metal waste generated during the cleaning process. This waste contains up to 90% iron and in terms of chemical composition and granulometric composition, close to iron powders of grades PZh-3 to PZh-5 according to GOST 9849–74 [9].
Results and discussion
The abrasive cleaning method is used for continuous and selective removal of surface defects of cold billets. This method is characterized by a significantly high cost of the tool, low productivity with high-cost cleaning and area occupancy by the equipment, as well as the difficulty in process automation. For these reasons, abrasive cleaning is widely used only in factories producing high-quality steels on units installed outside the process flow [11].
Blade processing (lathe, milling, and needle milling) is important in rolled metal product production from special steels and alloys, as this processing helps save valuable waste in the form of metal shavings for subsequent remelting.
A cost structure analysis for abrasive and blade cleaning methods showed significant differences because of their technological characteristics. The blade method is more profitable when cleaning semifinished products from steels easy to process using a cutter. Hard-processing steels must be ground using an abrasive method. The abrasive method for stripping is more productive, and the correct choice of tool parameters helps process all steel grades without reducing the productivity of metal removal. Therefore, the costs of wages, electricity, and amortization expenses remain unchanged when cleaning steels of all machinability groups and constitute an insignificant share of the total cost level. An abrasive tool is the main expensive item (70%–90%).
With blade stripping, the main share of costs accounts for wages, amortization expenses, and electricity, which increase significantly with the transition to cleaning hard-processing steels, while reducing process productivity (Fig. 3).
Fig. 3. The value of the cost of removing 1 ton of a defective layer without taking into account metal losses in processing waste: L – blade processing; A – abrasive processing
Simultaneously, the above analysis gives only a general idea of the technological aspects of these two cleaning methods and does not enable assessing the economic efficiency of their application. The reason is that the analysis does not consider the metal loss as waste because the metal can be recycled. The recycling is considered a significant factor, as billets from expensive steel grades are subjected to continuous lathing or grinding.
The waste from blade processing is recycled by 98%. Simultaneously, in the process of their remelting, all alloying additives are extracted from the waste, i.e.,., the number of irretrievable losses is minimized. The waste from abrasive cleaning is sold through VtorCherMet. Only nickel and cobalt are extracted during further processing, while the rest of the expensive elements is irretrievably lost, which significantly reduces the economic efficiency.
As a result, the general level of costs for abrasive processing, considering irrevocable metal losses and disposal of waste, is always higher than that for blade processing, especially when cleaning high-alloy steels [11].
However, in some cases, as noted in [12, 13], the abrasive cleaning process can be implemented at costs close to the costs for blade cleaning or even less. The reduced difference is possible because of the recently created varieties of highly abrasion-resistant tools and the developed schemes for ground waste disposal.
Figure 4 presents a comparison of the effectiveness of various methods of metal cleaning used in Russian metallurgical plants, according to the most important technical and economic indicators (TEI). These results are averaged over several plants and are compiled for cleaning a comparable range of rolled metal products [9].
Fig. 4. Comparative technical and economic indicators of the used stripping means: 1 – fire stripping (FS) in the stream of blooming mills; 2 – FS in the stream of crimping mills; 3 – FS of stainless steels; 4 – abrasive machines; 5 – thermal milling machines; 6 – milling machines; 7 – air arc stripping; 8 – electro-contact stripping; − cost of stripping, thousand rubles/tonne; − performance of the method of the metal removal, tonne/year; − annual productivity, tonne/year
Aspects of blade and abrasive processing
In the technological process of manufacturing hardened tubular and solid hot-rolled steel billets, to obtain a defect-free surface, the blade cleaning location plays a significant role in the general technological cycle of the production of billets hardened using the HTMT method. Calibration use in the HTMT mode with SC deformation as a hardening treatment complicates this problem to some extent. The reason is that blade processing of the billet after hardening presents certain difficulties because of the high hardness of the billets (HRCe 50–60). Therefore, cleaning with a blade tool before hardening is advisable.
Figure 5 presents the possible technological options for the use of the blade stripping.
Fig. 5. Possible technological applications of blade stripping: а – good option; b – possible option; c–d – options justified only in exceptional cases; OS – outside surface; IS – inner surface
External surface treatment is not difficult because of a sufficient range of specialized equipment and tools. However, defective layer removal from the inner surface can create difficulties such as a significant length and small diameter of processing (L ≥ 5d; d = 10–30 mm), uneven allowance distribution allowance for processing the diameter along the hole length, and various nonmetallic inclusions and surface defects.
To increase the productivity of machining deep holes in hot-rolled billets (with axis curvature, surface waviness, and non-circularity), a screw-cutting tool (SCT), loosely mounted on a smooth cylindrical mandrel, has been developed [14].
Figure 6 presents a diagram of the process of cleaning the inner surface of a pipe using an SCT tool. The device and the principle of tool operation with a radial feed of the cutting edge are described in [14]. The SCT geometrical parameters are presented in Fig. 7.
Fig. 6. Screw-cutting tool (SCT): I – mandrel; 2 – SCT; 3 – bushing; 4 – tailstock; 5 – lathe chuck
Fig. 7. Geometric parameters of SCT
The cutting force during the processing of the SCT (PSCT) depends on the penetration depth and the SCT length, determined from the following: L = π · D · n, where n is the number of SCT turns.
A successful solution to the problem of removing an uneven allowance from the surface of a stitched billet hole can be facilitated using processing with helical reamers (PHR). A distinct characteristic of this tool is its execution in the form of a single-start spiral, with the left approach of the turns at an angle ω = 50°–80° (Fig. 8). When choosing an interval of values of the angle of elevation of turns, it is necessary to consider the diameter of the tool working part and the axial pitch of the tooth helix. The processing modes with helical reamers and the geometric parameters of the tool are described in [14]. The cutting force during PHR is determined in the same way as at PSCT.
Fig. 8. Helical reamer: 1 – shank; 2 - cutting part
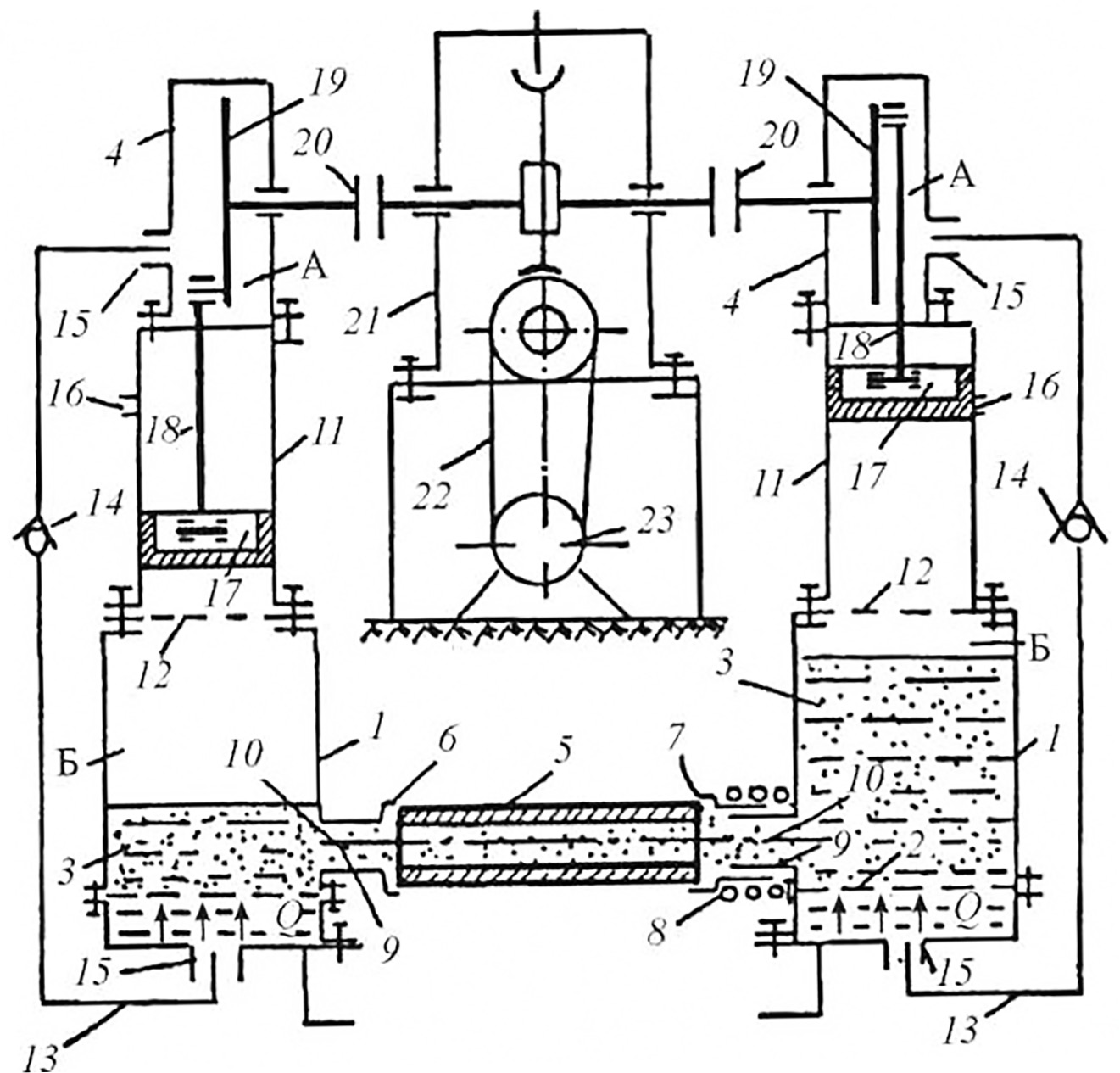
Hydroabrasive treatment (HT) is one of the more effective methods for processing the inner surface of hardened pipes. The HT efficiency of parts (Fig. 9) operating under fatigue loading is presented in the works by I. M. Nesterenko. As applied to the hollow parts, this type of processing is advisable for use when cleaning a hole after SC HTMT (Fig. 1), when the surface hardness of the products is HRCe 52–53 or more. The parts subjected to abrasive treatment showed an increase in durability of up to 15% during bench tests. Figure 9 presents a diagram of a device for high-performance HT of the inner surface of pipes [15].
Fig. 9. Diagram of a device for waterjet processing of the inner surface of pipes: 1 – working chamber; 2 – support grid; 3 – abrasive powder; 4 – upper chamber; 5 – part; 6, 7 – socket; 8 – spring; 9 – valve; 10 – housing; 11 – working cylinder; 12 – protective grill; 13 – pipeline; 14 – check valve; 15 – hole for the pipeline; 16 – air hole; 17- piston; 18 – connecting rod; 19 – flywheel; 20 – clutch; 21 – reducer; 22 – flexible gear; 23 – engine
Conclusions
Thus, combining promising methods for removing defects from the rolled surface (machining) and methods for reducing scale formation and other defects on the surface of the rolling stock (application of induction heating) in conjunction with progressive HTMT with screw compression deformation is a field of creating resource-saving technologies for manufacturing parts with increased operational characteristics. The need to develop such promising cleaning methods as hydroabrasive treatment is noteworthy, which enables implementing a completely waste-free cleaning system when cleaning rolled products from any steel grades from scale, ensuring effective removal of surface and deeper defects, increasing the yield ratio, reducing energy consumption, and fitting well into the line of a continuous rolling mill. Additionally, according to recent studies, the hydroabrasive treatment increases the fatigue life of hollow cylindrical parts by up to 15%.
About the authors
V. B. Dement'yev
Udmurt Federal Research Center of the Ural Branch of the Russian Academy of Sciences
Email: oka592@rambler.ru
Dsc in Engineering
Russian Federation, IzhevskA. D. Zasypkin
Udmurt Federal Research Center of the Ural Branch of the Russian Academy of Sciences
Author for correspondence.
Email: oka592@rambler.ru
PhD in Engineering
Russian Federation, IzhevskReferences
- Shavrin O.I. [i dr.] Kachestvo poverkhnosti tsilindricheskikh izdeliy s termomekhanicheskim uprochneniyem [Surface quality of cylindrical products with thermomechanical hardening]. Ural.otd. Ros. akad. Nauk Publ. Izhevsk, 2006. 178 p.
- Shavrin O.I., Trukhachev A.V., Savinov V.A., Konyshev V.N. Ekonomiya metalla i povysheniye yego nadezhnosti v mashinostroyenii [Saving metal and increasing its reliability in mechanical engineering]. Ustinov, Udmurtiya, 1985. 94 p.
- Dal’skiy A.M. Tekhnologicheskoye obespecheniye nadezhnosti vysokotochnykh detaley mashin [Technological support for the reliability of high-precision machine parts]. Moscow: Mashinostroyeniye Publ., 1975. 223 p.
- Bernshteyn M.L. Termomekhanicheskaya obrabotka metallov i splavov [Thermomechanical treatment of metals and alloys]. V 2-kh t. Moscow: Metallurgiya Publ., 1968. 1171 p.
- Shavrin O.I. Tekhnologiya i oborudovaniye termomekhanicheskoy obrabotki detaley mashin [Technology and equipment for thermomechanical processing of machine parts]. Moscow: Mashinostroyeniye Publ., 1983. 176 p.
- A.s. 871943 (SSSR) Deformiruyushchiy instrument dlya vintovogo protyagivaniya [Deforming tool for screw broaching]. (Shavrin O.I. i dr.). Opubl. V B.I., 1981, No 38.
- A.s. 16467712 (SSSR). Instrument dlya mekhanicheskoy obrabotki glubokikh otverstiy [Deep hole machining tool] (Trukhachev A.V., Dement’yev V.B., Zasypkin A.D) Opubl. V B.I., 1991, No 17.
- Prokatnoye proizvodstvo. Spravochnik [Rolling production. Directory] v 2-kh t. Pod red. YE.S. Rokotyana, s predisl. A.I. Tselikova. Moscow: Gosudarstvennoye nauchno-tekhnicheskoye izdatel’stvo po chernoy i tsvetnoy metallurgii Publ., 1962. Vol. 1. 743 p.
- Dayker A.L. i dr. Sovremennyye vysokoproizvoditel’nyye sredstva zachistki poverkhnosti prokata [Modern high-performance cleaning products for rolled surfaces]. Moscow: Metallurgiya Publ., 1983. 192 p.
- Telegin A.S., Lebedev N.S. Konstruktsiya i raschet nagrevatel’nykh ustroystv [Design and calculation of heating devices]. Moscow: Mashinostroyeniye Publ., 1975. 217 p.
- Itogi nauki i tekhniki VNNITI AN SSSR. Prokatnoye i volochil’noye proizvodstvo [Results of science and technology VNNITI of the USSR Academy of Sciences. Rolling and drawing production]. Vol. 14. 1986. 176 p.
- Vladychenskiy K.V. Povysheniye effektivnosti proizvodstva i rasshireniye sortamenta goryachekatanykh profiley [Increasing production efficiency and expanding the range of hot-rolled profiles]. Khar’kov, 1982, 3-12 (RZH Met, 1984, 11D79).
- Mortita Masahiko. Tetsu to khagan E, Tetsu to hagane, J. Iron and steel inst. Jap., 1982, 68, № 5, 438 (RZH Met, 1982, 12V26).
- A.s. 1569208 (SSSR) Ustroystvo dlya gidroabrazivnoy obrabotki vnutrenney poverkhnosti trub [Device for waterjet treatment of the inner surface of pipes] (Dement’yev V.B., Trukhachev A.V., Zasypkin A.D.). Opubl. V B.I., 1990.
Supplementary files












