Method for analyzing parameters of single-level pneumatic elastic elements with backpressure
- Authors: Nakaznoy O.A.1, Tsipilev A.A.1
-
Affiliations:
- Bauman Moscow State Technical University (National Research University)
- Issue: Vol 89, No 1 (2022)
- Pages: 23-30
- Section: New machines and equipment
- Submitted: 31.01.2022
- Accepted: 07.02.2022
- Published: 08.07.2022
- URL: https://journals.eco-vector.com/0321-4443/article/view/99890
- DOI: https://doi.org/10.17816/0321-4443-99890
- ID: 99890
Cite item
Full Text
Abstract
BACKGROUND: Trucks, as a rule, have a significate difference between the kerb and gross weights. Usual spring or leaf suspensions do not allow to have acceptable values of static running and suspension stiffness at different machine loading, and pneumatic elastic elements, despite their relative simplicity, are mainly implemented only on overseas technology samples, and designers do not pay attention to pneumatic elastic elements with counterpressure. One of determinants of truck users is the acceptable vibration loading of the driver’s seat. Trucks with a carrying capacity comparable or even overestimated to their kerb weight, when they move without cargo on public roads, especially with a dirt surface, have significant levels of vibration acceleration at using the metal elastic.
AIMS: The purpose of the present work is to reduce the vibration loading of the driver’s seat due to rational choice of parameters of the cushioning system with pneumatic elastic elements with backpressure, that ensures the non-zero static travel and saticfactory stiffness of suspension in the kerb and loaded state.
METHODS: Using the regorous mathematical tools of Mechanics, Pneumatics and Thermodinamics, scientific-based theoretical prerequisites as well confirm the validity and reliability of the presented dependencies for characteristics calculation, conclusions and recommendations.
RESULTS: According to the method developed and proposed in this article, effective characteristics of the pneumatic elastic elements with a single-level stiffness and backpressure for a KAMAZ-53215 Selkhoznik truck were obtained. At the kerb weight, the static stroke of the front and rear suspensions is approximately 0.06 m; at a gross weight it is of 0.12 m and 0.24 m, respectively. The period of normal vertical vibrations decrease by 25% versus a gross vehicle weight and by 31% at absence of backpressure, however, it occurs in the allowable range.
CONCLUSIONS: The proposed method allows to determine the base design parameters of the pneumatic elasticity of the suspension elements of wheeled vehicles, providing an acceptable periods for a normal vertical oscillations of the cushoining body with maintaining the non-zero static stroke to a large weight range.
Full Text
ВВЕДЕНИЕ
Вопросы определения рациональных характеристик упругих элементов прогрессивных систем подрессоривания являются актуальной задачей, поскольку связаны сразу с несколькими свойствами проектируемых машин. В первую очередь, это обеспечение требуемых показателей плавности хода, что при условии непрерывного роста тяговооруженности автомобилей и расширения условий их эксплуатации становится все более сложной задачей. Рациональная характеристика упругого элемента дает возможность обеспечить рациональную характеристику демпфирующего элемента и, соответственно, снизить тепловую нагруженность пневмогидравлического устройства при сохранении относительно малых его размеров. Наконец, рациональные характеристики позволяют проектировать подвеску с заделом на возможность модернизации машины с сопутствующим изменением ее массовых показателей либо для обеспечения возможности установки на модельном ряде.
Выбор пневматических упругих элементов прогрессивных систем подрессоривания обусловлен их наибольшей перспективностью [1–6] с точки зрения совершенствования систем подрессоривания транспортных машин. О путях совершенствования подвесок написано множество научных работ, среди которых можно выделить [7–11], посвященные системам подрессоривания с пневматическими упругими элементами, в том числе с многоуровневыми (фрактальными) системами подрессоривания.
В настоящей статье представлены основные зависимости для вычисления конструктивных параметров гидропневматических рессор (ГПР) с противодавлением (ПД), позволяющие получить рациональные характеристики их упругих элементов.
ИСХОДНЫЕ ДАННЫЕ ДЛЯ РАСЧЕТОВ
Для определения характеристик упругих элементов необходимо знать следующие величины:
1) статическую силу от веса подрессоренной массы, действующую на одну подвеску, Pст;
2) значения силовой передаточной функции u(f) при f=fст и f=fmax (подробно методика определения силовых и кинематических передаточных функций представлена в [12]);
3) значения статического xст=x(fст) и полного xполн=x(fполн) ходов штока;
4) коэффициент динамичности подвески Kд.
Определение характеристики сводится к нахождению основных конструктивных параметров: начальных объемов пневматических полостей и зарядных давлений газа при температуре Tзар. Цель определения основных конструктивных параметров – нахождение таких значений объемов и давлений, при которых для температуры Tзар выполняются условия:
,
где Pк – сила упругого сопротивления, приведенная к оси колеса, Н.
Введем в рассмотрение следующие величины, имеющие размерности согласно единицам СИ:
1) эффективный диаметр поршня Dэ;
2) эффективный диаметр поршня со стороны пневматической полости ПД, Dэ.пд=(D2п – d2шт)0,5, где dшт – диаметр штока ГПР;
3) эффективная площадь поршня Sп=0,25πD2э;
4) эффективная площадь поршня со стороны пневматической полости ПД Sпд=0,25πD2э.пд;
5) начальный объем основной пневматической полости V0;
6) начальный объем пневматической полости ПД Vпд.0;
7) зарядное давление газа в основной пневматической полости p0;
8) зарядное давление газа в пневматической полости ПД pпд.0;
9) температура зарядки ПГР газом Tзар;
10) предполагаемая температура установившегося теплового режима при работе ГПР Tраб.
Величины, означающие начальные объемы и зарядные давления газа в основных пневматических полостях при наличии ПД, будем отмечать верхним штрихом с сохранением индексов, соответствующих рассматриваемому случаю.
ХАРАКТЕРИСТИКИ УПРУГОГО ЭЛЕМЕНТА ДЛЯ ОДНОУРОВНЕВОЙ ГПР
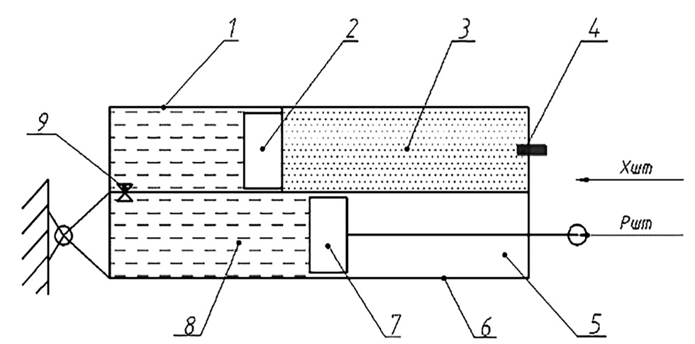
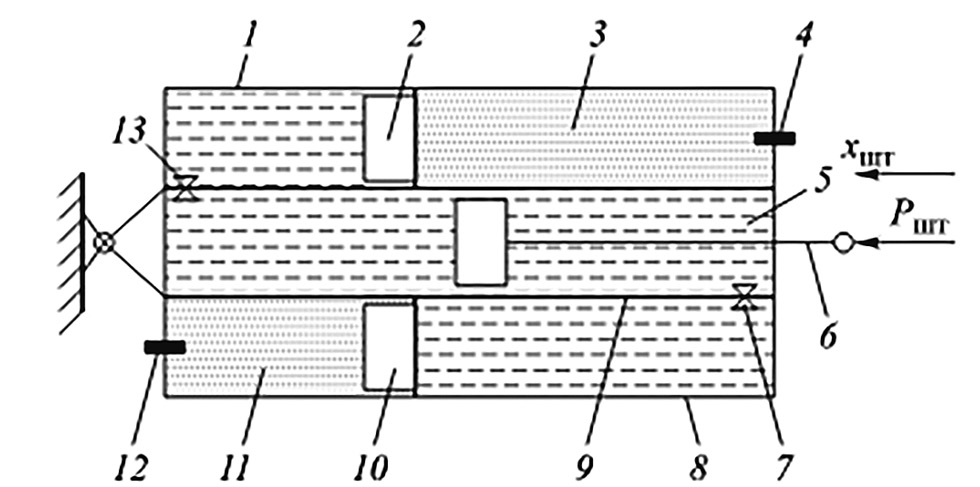
Под одноуровневой ГПР (ОУ ГПР) будем понимать такую ГПР, в которой реализован один уровень жесткости. На рис. 1 представлена схема ОУ ГПР без ПД, а на рис. 2 – ОУ ГПР с ПД.
Рис. 1. Конструктивная схема ОУ ГПР: 1 – пневмоцилиндр; 2 – поршень-разделитель; 3 – пневматическая полость; 4 – зарядный клапан; 5 – штоковая полость гидроцилиндра; 6 – гидроцилиндр; 7 – поршень со штоком; 8 – поршневая полость гидроцилиндра; 9 – дросселирующая система; Xшт – направление перемещения штока при прямом ходе подвески; Pшт – направление действия силы. / Fig. 1. Structural diagram of a single-level hydropneumatic spring: 1 – pneumocylinder; 2 – dividing piston; 3 – pneumatic cavity; 4 – charging valve; 5 – rod cavity of a hydrocylinder; 6 – hydrocylinder; 7 – rodpiston; 8 – rod cavity of a hydrocylinder; 9 – throttling system; Xшт – rod moving directon at forward stroke of a suspension; Pшт – force directon.
Рис. 2. Конструктивная схема ОУ ГПР с ПД: поз. 1–5 – см. рис. 1; 6 – поршень со штоком; 7 – дросселирующая система противодавления; 8 – пневмоцилиндр противодавления; 9 – гидроцилиндр; 10 – поршень-разделитель; 11 – пневматическая полость; 12 – зарядный клапан; 13 – дросселирующая система. / Fig. 2. Structural diagram of a single-level hydropneumatic spring with backpressure: 1 – pneumocylinder; 2 – dividing piston; 3 – pneumatic cavity; 4 – charging valve; 5 – rod cavity of a hydrocylinder; 6 – rod piston; 7 – throttling system of backpressure; 8 – pneumocylinder of backpressure; 9 – hydrocylinder; 10 – dividing piston; 11 – pneumatic cavity; 12 – charging valve; 13 – throttling system.
В общем виде характеристика упругого элемента ОУ ГПР без ПД имеет вид:
,
где fT – значение вертикального хода колеса, при котором выполняется равенство Pшт(fT, T)=Pст / u(fст). Если температура T столь велика, что Pшт(f0, T)>Pст / u(f0), принимают fT =0. Если температура T настолько мала, что Pшт(fmax, T)<Pст / u(fmax), принимают fT = fполн. Это ограничение обусловлено наличием ограничителей хода направляющего элемента в подвеске; x(fT) – перемещение штока под действием статической силы при температуре T. Если T=Tзар, то x(fT)=x(fст). На этапе проектного расчета подвески для оценки наибольших давлений газа задаются рабочей температурой Tраб. При этой температуре предполагается переход ГПР в стационарный тепловой режим работы; n – показатель политропы. Для статической характеристики принимают n=1,00, а для динамической – n=1,25…1,40.
Определение начального объема пневматической полости V0 и зарядного давления p0 осуществляется по известной методике, описанной в [13]. В соответствии с ней начальный объем вычисляют из условия обеспечения заданного коэффициента динамичности при наиболее интенсивном режиме работы ГПР, когда n=1,40, а зарядное давление – при статическом нагружении ГПР, когда n=1,00. Для нахождения начального объема через коэффициент динамичности сравнивают значения сил упругого сопротивления на штоке для статического и полного ходов, а для нахождения зарядного давления вычисляют состояние ГПР при вывешенном колесе относительно его статического положения по известным начальному объему и статическому давлению газа в ГПР. В соответствии с этим:
Проведем преобразования:
, .
При введении ПД шток разгружается, следовательно, фактические значения статического хода и максимального усилия, приведенного к оси штока, меняются. Статический ход увеличивается, а максимальная сила, напротив, снижается. Для сохранения величины коэффициента динамичности подвески необходимо увеличить зарядные давления в пневматических полостях. Однако изменением одного только зарядного давления нельзя обеспечить сохранение и статического хода, и коэффициента динамичности. В связи с этим необходимо увеличить и начальный объем основной пневмокамеры. Для нахождения величин, определяющих увеличение начального объема и зарядного давления, воспользуемся известной зависимостью для определения характеристики упругого элемента ОУ ГПР с ПД [13]:
причем
.
Величины δV и δp найдем из условия
Далее, подставляя значения сил упругого сопротивления для случаев ОУ ГПР без ПД и с ПД в эти равенства, найдем связь между величинами δV и δp:
,
или
,
где .
Эту систему уравнений решают численно или графически. Во втором случае строят функцию Kд.шт(δV) и по точке пересечения со значением, определяемым выражением Kлин / u(fст), находят требуемое значение δV, а далее вычисляют δp.
Коррекция зарядного давления приводит к росту максимального давления газа в пневматических полостях, и в ряде случаев оно может превысить допустимое значение по условию работоспособности уплотнительных устройств. В таком случае следует увеличить эффективный диаметр поршня с пересчетом величин, связанных с ним. Введение противодавления приводит также к некоторому возрастанию жесткости подвески в области статического хода и уменьшению значения периода собственных колебаний автомобиля, что будет показано далее.
ПРИМЕР РЕАЛИЗАЦИИ ХАРАКТЕРИСТИК
В соответствии с приведенной выше методикой рассмотрим получение характеристики упругого элемента подвески колес грузового автомобиля КАМАЗ-53215 Сельхозник. Для него полная масса составляет 19 650 кг, а снаряженная – 8350 кг. Согласно данным производителя, нагрузка на переднюю ось составляет 3500 кг при снаряженной массе и 5080 кг при полной массе. Суммарная нагрузка на задние оси составляет от 4850 кг для снаряженной массы до 14 570 кг при полной массе. Масса неподрессореных частей передней оси составляет 1000 кг, задних осей в сумме – 2000 кг. На одно колесо, таким образом, приходится статическая нагрузка:
- передняя ось: 12 300 Н для снаряженной массы и 20 000 Н для полной массы;
- задние оси: 7000 Н для снаряженной массы и 30 800 Н для полной массы.
При расчете характеристик будем считать, что:
1) силовое передаточное отношение постоянно u(f)=1, кроме того, x(f)=f;
2) полный ход подвески передней оси fполн=0,24 м, статический ход подвески передней оси fст=0,12 м;
3) полный ход подвески задних осей fполн=0,30 м, статический ход подвески передней оси fст=0,24 м;
4) коэффициент динамичности подвески передней оси Kдин=2,0;
5) коэффициент динамичности подвески передней оси Kдин=2,0.
На рис. 3 представлены реализации характеристик упругого элемента ОУ ГПР без ПД и с ПД для температуры Tзар=293 К для колес передней оси, а на рис. 4 – те же данные для колес задних осей.
Рис. 3. Характеристики упругого элемента ОУ ГПР: 1 – характеристика упругого элемента ОУ ГПР без ПД при n=1,25; 2 – характеристика упругого элемента ОУ ГПР с ПД при n=1,00; 3 – характеристика упругого элемента ОУ ГПР с ПД при n=1,25 при снаряженной массе; 4 – характеристика упругого элемента ОУ ГПР с ПД при n=1,25 при полной массе; 5 – характеристика упругого элемента ОУ ГПР без ПД при n=1,00; 6 – уровень статической силы при полной массе; 7 – уровень статической силы при снаряженной массе; Pшт – сила упругого сопротивления газа, кН; x – перемещение штока, м. / Fig. 3. Characteristics of an elastic element of a single-level hydropneumatic spring: 1 – characteristic of an elastic element of a single-level hydropneumatic spring without backpressure at n=1,25; 2 – characteristic of an elastic element of a single-level hydropneumatic spring with backpressure at n=1,00; 3 – characteristic of an elastic element of a single-level hydropneumatic spring with backpressure at n=1,25 and kerd weight; 4 – characteristic of an elastic element of a single-level hydropneumatic spring with backpressure at n=1,25 and gross vehicle weight; 5 – characteristic of an elastic element of a single-level hydropneumatic spring without backpressure at n=1,00; 6 – static force at grosse weight; 7 – static force at kerd weight; Pшт – gas elastic resistance force, kN; x – rod displacement, m.
Рис. 4. Характеристики упругого элемента ОУ ГПР: поз. 1–7, x, Pшт – см. рис. 3. / Fig. 4. Characteristics of an elastic element of a single-level hydropneumatic spring: pos. 1–7, x, Pшт, kN – gas elastic resistance force – see fig. 3.
При снаряженной массе машины статический ход подвески для колес передней оси составляет 0,060 м, а для колес задних осей – 0,062 м. Клиренс машины увеличивается на 0,06 м.
Рассчитаем период собственных вертикальных колебаний для автомобиля. Известна связь периода с жесткостью подвески [10]:
где mп – подрессоренная масса автомобиля, кг; cподв – жесткость подвески в области статического хода, Н/м; nподв – общее количество подвесок.
Жесткость подвески можно вычислить как
.
Для машины с полной массой:
- жесткость подвески колес передней оси cподв=148 800 H/м,
- жесткость подвески колес задней оси cподв=307 500 H/м,
- со снаряженной массой:
- жесткость подвески колес передней оси cподв=184 500 H/м,
- жесткость подвески колес задней оси cподв=123 700 H/м.
Период собственных вертикальных колебаний для машины с полной массой Tz=0,655 c, для машины со снаряженной массой Tz=0,495 c. При этом период собственных колебаний автомобиля полной массы с подвеской без ПД Tz=0,716 c.
Анализ полученных значений периода собственных вертикальных колебаний позволяет сделать следующие выводы. Введение ПД незначительно увеличивает общую жесткость подвески (в пределах 20% для машины с полной массой), однако позволяет обеспечить ненулевой статический ход при применении нерегулируемых пневматических упругих элементов. Жесткость подвески с ПД при снаряженной массе машины возрастает практически вдвое, так что подвеска будет восприниматься как «тряская».
ЗАКЛЮЧЕНИЕ
Представленные в настоящей статье зависимости позволяют производить определение основных конструктивных параметров ОУ ГПР с ПД и без ПД для колесных машин, обеспечивающие требуемые значения статического хода и коэффициента динамичности. Предложенные выражения для расчета характеристик упругого элемента ГПР позволяют исследовать работу подвески во всем диапазоне температур эксплуатации, что весьма полезно не только для анализа рациональности выбранной конструктивно-компоновочной схемы, но и при исследовании плавности хода машин путем имитационного математического моделирования, в том числе, с учетом внутренней динамики работы ГПР. Кроме этого, в статье показано, что введение ПД увеличивает жесткость подвески, однако, поскольку ГПР с ПД не позволяет обнулить статический ход после разгрузки машины, приведенная жесткость не будет бесконечной (как для машины с ГПР без ПД). Соответственно, хотя движение на автомобиле с жесткой подвеской и будет некомфортным, но возможным без чрезмерных вибрационных нагрузок, возникающих при обнулении статического хода. Для увеличения периода собственных колебаний необходимо введение второго уровня подрессоривания.
ДОПОЛНИТЕЛЬНО
Вклад авторов. О.А. Наказной – поиск материалов, формализация идеи статьи, проверка основных расчетов, экспертная оценка, утверждение финальной версии; А.А. Ципилев – написание и редактирование текста рукописи, проведение расчетов.
Конфликт интересов. Авторы декларируют отсутствие явных и потенциальных конфликтов интересов, связанных с публикацией настоящей статьи.
Источник финансирования. Авторы заявляют об отсутствии внешнего финансирования при проведении исследования.
ADDITIONAL INFORMATION
Author contribution. O.A. Nakaznoy contributed to analysis of research topic publications, developed the theoretical formalism, verification of base calculations, expert evaluation, proved the final version of manuscript; A.A. Tsipilev performed the calculations, wrote and edited the manuscript.
Competing interests. The authors declare no any transparent and potential conflict of interests in relation to this article publication.
Funding source. Authors state that this reasearch was not supported by any external sources of funding.
About the authors
Oleg A. Nakaznoy
Bauman Moscow State Technical University (National Research University)
Email: nakaznoi@gmail.com
ORCID iD: 0000-0003-4029-2434
SPIN-code: 9767-0435
Doctor of Sciences in Engineering, Professor
Russian Federation, MoscowAlexander A. Tsipilev
Bauman Moscow State Technical University (National Research University)
Author for correspondence.
Email: alexts@bmstu.ru
ORCID iD: 0000-0002-5764-0506
SPIN-code: 3877-2736
Candidate of Sciences in Engineering, Assistant Professor
Russian Federation, 5 build. 1, Lefortovskaya Naberezhnaya, Moscow, 105005References
- Kotiev GO, Smirnov AA, Shilkin VP. Issledovanie rabochikh protsessov v pnevmogidravlicheskikh ustroistvakh sistem podressorivaniya gusenichnykh mashin: ucheb. posobie. Moscow; Izd-vo MGTU im. N.E. Baumana; 2001. (In Russ).
- Kotiev GO. Kompleksnoe podressorivanie vysokopodvizhnykh dvukhzvennykh gusenichnykh mashin. Moscow; MGTU im. N.E. Baumana; 2010. (In Russ).
- Sarach EB, Kotiev GO, Smirnov IA. Development prospects of the suspension system for high-speed tracked vehicles. Engineering journal: science and innovation. (10):48. Available from: http://engjournal.ru/catalog/machin/transport/976.html. (In Russ).
- Zhileikin MM, Kotiev GO, Sarach EB. Eksperimental'noe issledovanie nagruzochnykh kharakteristik dvukhkamernoi pnevmogidravlicheskoi ressory podveski avtomobil'nykh platform novogo pokoleniya srednei i bol'shoi gruzopod"emnosti. Nauka i obrazovanie: nauchnoe izdanie MGTU im. N.E. Baumana. 2011;(10):77. Available from: http://technomag.bmstu.ru/doc/346642.html. (In Russ).
- Zhileikin MM, Kotiev GO, Sarach EB. Metodika podbora kharakteristik upravlyaemoi podveski s dvumya urovnyami dempfirovaniya mnogoosnykh kolesnykh mashin. Nauka i obrazovanie: nauchnoe izdanie MGTU im. N.E. Baumana. 2011;(2):15. Available from: http://technomag.bmstu.ru/doc/293578.html. (In Russ).
- Zhileikin MM, Kotiev GO, Sarach EB. Metodika rascheta kharakteristik pnevmogidravlicheskoi upravlyaemoi podveski s dvukhurovnevym dempfirovaniem mnogoosnykh kolesnykh mashin. Nauka i obrazovanie: nauchnoe izdanie MGTU im. N.E. Baumana. 2011;(1):45. Available from: http://technomag.bmstu.ru/doc/346660.html. (In Russ).
- Kotiev GO. Prognozirovanie eksplutatsionnykh svoistv sistem podressorivaniya voennykh gusenichnykh mashin. [dissertation]. Moscow; MGTU; 2000. (In Russ).
- Sarach EB. Metod vybora kharakteristik sistemy podressorivaniya s netselym chislom stepenei svobody dlya bystrokhodnoi gusenichnoi mashiny. [dissertation]. Moscow; MGTU; 2003. (In Russ).
- Smirnov AA. Matematicheskoe modelirovanie pnevmogidravlicheskikh ustroistv sistem podressorivaniya transportnykh sredstv. [dissertation]. Moscow; MGTU; 1999. (In Russ).
- Sukhorukov AV. Upravlenie dempfiruyushchimi elementami v sisteme podressorivaniya bystrokhodnoi gusenichnoi mashiny. [dissertation]. Moscow; 2003. (In Russ).
- Tsipilev AA. Metody opredeleniya raschetnykh kharakteristik i otsenki teplovoi nagruzhennosti pnevmogidravlicheskikh ustroistv sistem podressorivaniya bystrokhodnykh gusenichnykh mashin na etape proektirovaniya. [dissertation]. Moscow; MGTU im. N.E. Baumana; 2017. (In Russ).
- Sarach EB, Tsipilev AA. Osnovy raschetov pnevmogidravlicheskikh sistem podressorivaniya. Uchebnoe posobie. Moscow: Izdatel'stvo MGTU im. N.E. Baumana; 2017. (In Russ).
- Tsipilev AA. Osnovy raschetov pnevmogidravlicheskikh sistem podressorivaniya. Uchebno-metodicheskoe posobie. Moscow: Izdatel'stvo MGTU im. N.E. Baumana; 2020. (In Russ).
Supplementary files







