Radiolarians of family Heliodiscidae Haeckel, 1881 from the upper cretaceous (campanian–maastrichtian) chert deposits of the Vaamychgyn unit of Yanranai accretionary complex, Koryak upland
- Authors: Bragina L.G.1, Bragin N.Y.1
-
Affiliations:
- Geological Institute of Russian Academy of Sciences
- Issue: Vol 27, No 2 (2019)
- Pages: 123-133
- Section: Articles
- URL: https://journals.eco-vector.com/0869-592X/article/view/11488
- DOI: https://doi.org/10.31857/S0869-592X272123-133
- ID: 11488
Cite item
Full Text
Abstract
Campanian–Maastrichtian radiolarians from the section of Vaamychgyn unit in Yakenmyveem River (Koryak Upland, Ekonai terrane) were studied for the first time. The age of studied assemblage is determined as Campanian–Maastrichtian due to common presence of Excentrosphaerella vivenkensis (Lipman), Lithomespilus mendosa (Krasheninnikov) and Stichomitra livermorensis Campbell et Clark. Representatives of family Heliodiscidae Haeckel are abundant. This family is widely common in boreal and austral regions and can be of high value for stratigraphy and paleobiogeographic reconstructions. New data allow to refine the time of first appearance of Excentrosphaerella teuria (Hollis), that was previously known only from the Early Paleocene. The species Cromyosphaera vivenkensis Lipman is assigned here to genus Excentrosphaerella Dumitrica.
Keywords
Full Text
ВВЕДЕНИЕ
Исторически сложилось так, что радиолярии применяются для датировки ранее немых толщ в районах со сложным тектоническим строением, где отсутствуют другие фоссилии. В настоящее время накоплены значительные данные по радиоляриям верхнего мела Северо-Востока России (Липман, 1967; Геология..., 1987; Брагина, 1991; Палечек и др., 2003 и многие другие). Среди их видов есть такие, которые постоянно встречаются в кампане и маастрихте Северо-Востока России. Некоторые из них, возможно, станут важными таксонами в зональной схеме для бореальной области (например, Cromyosphaera vivenkensis Lipman, Orbiculiforma renillaeformis (Campbell et Clark), Clathrocyclas hyronia Foreman, C. diceros Foreman, Lithomespilus mendosa (Krasheninnikov), Stichomitra livermorensis Campbell et Clark).
Р.Х. Липман (1967), описавшая виды Cromyosphaera vivenkensis Lipman и C. tschurini Lipman, указывала на их важное значение для стратиграфии Северной Камчатки. Следует отметить, что эти виды были описаны из нерасчлененных отложений верхнего мела–палеогена Северной Камчатки (Липман, 1967). Дальнейшие исследования подтвердили широчайшее распространение обоих видов в разрезах верхнего мела Северо-Востока России. В настоящее время Cromyosphaera vivenkensis и C. tschurini известны не только в Северной Камчатке (Липман, 1967; Жамойда, 1972), но и в Западной Камчатке (Палечек и др., 2003; Вишневская и др., 2005; Вишневская, 2006). В Корякском нагорье оба вида распространены на востоке (Эконайская структурная зона, бассейн р. Ваамычгын; настоящая работа). Несколько местонахождений известно и в южной части Корякского нагорья: в бассейне р. Ачайваям (Жамойда, 1972), в верхах р. Ветроваям (Вишневская, 2001), в бассейне р. Пикасьваям (Вишневская, 2001); в Олюторской зоне (хр. Майни Какыйнэ), в пределах слоев с Haliomma (?) intracanthacea–Clathrocyclas hyronia (маастрихт) (Практическое..., 1999, табл. LVI, фиг. 3, 4), а также в кампане–маастрихте Олюторского полуострова (бухта Анастасии, определения В.С. Вишневской, приведенные в Соловьев и др., 1998). Кроме того, этот вид встречен и в более южных районах. Так, С. vivienkensis описан в комплексе с Amphipyndax stocki–Theocapsomma comys (маастрихт, возможно верхи кампана) отложений березовской свиты Восточно-Сахалинских гор (Практическое..., 1999, табл. LV, фиг. 1) и в нерасчлененных отложениях кампана–маастрихта Малой Курильской гряды (Палечек и др., 2008).
В настоящей публикации на основании эксцентрического положения микросферы внутри медуллярной оболочки (табл. I, фиг. 5) вид Cromyosphaera vivenkensis отнесен к роду Excentrosphaerella Dumitrica, 1978 (семейство Heliodiscidae Haeckel, 1881). Первоначально было выделено подсемейство Heliodiscinae Haeckel (1881). Позднее П. Думитрика (Dumitrica, 1984) расширил диагноз подсемейства, считая главной его особенностью эксцентрическое положение микросферы, и включил в его состав все роды, характеризующиеся этой особенностью строения раковины. Позднее ранг подсемейства был повышен до уровня семейства (De Wever et al., 2001). В публикации (Вишневская, 2006) перечислены все роды, относящиеся к семейству Heliodiscidae Haeckel, а также приведены первые данные, указывающие на присутствие отдельных представителей семейства (роды Astrоphacus Haeckel, 1881 и Excentrosphaerella Dumitrica, 1978) в верхнемеловых отложениях Северо-Востока России. Поскольку эксцентрическое положение микросферы у рода Astrоphacus не доказано, в настоящее время из позднемеловых родов только род Excentrosphaerella однозначно включен в это семейство (O’Dogherty et al., 2009). В публикации (Вишневская, 2006) приведены описания трех новых видов, принадлежащих к роду Excentrosphaerella (E. kamchatica Vishnevskaya et Dumitrica, 2003; E. kovalenkovi Vishnevskaya, 2006 и E. sukhovi Vishnevskaya et Kurilov, 2006 (Вишневская, 2006), из нерасчлененных отложений коньяка–нижнего кампана и сантона–нижнего кампана Западной Камчатки. В этой же публикации В.С. Вишневская обратила внимание на эксцентрическое положение микросферы у вида Haliomma teuria Hollis, описанного из палеоцена Новой Зеландии (Hollis, 1997, pl. 3, fig. 6), и отнесла этот вид к роду Excentrosphaerella. В настоящее время Excentrosphaerella teuria (Hollis), ранее известный только в нотальной области, впервые выявлен и в нерасчлененных отложениях кампана–маастрихта Корякского нагорья (настоящая работа). Таким образом, можно предполагать, что этот вид имеет биполярное распространение. Следовательно, в позднемеловое время семейство Heliodiscidae имело весьма широкое распространение, охватывающее не только бореальную, но и нотальную область, что важно для проведения широких корреляций.
Таблица I. Все экземпляры происходят из верхнемеловых (кампан–маастрихт) отложений разреза по р. Якенмывеем Корякского нагорья (обр. М381-Б).
1, 2, 5–7 – Excentrosphaerella vivenkensis (Lipman): 1, 2 – внешняя форма кортикальной оболочки и коническая форма наружной части игл, 5 – неполная раковина с хорошо заметной внутри второй оболочки эксцентрично расположенной микросферой с отчетливо заметными четырьмя порами на половине ее диаметра, 6а – неполная раковина с хорошо видным закономерным расположением пор третьей оболочки, 6б – увеличенное изображение второй оболочки с одноразмерными порами, 7а – разрушенная раковина, в которой хорошо различимы основания толстых игл, выходящих за пределы четвертой оболочки, 7б – увеличенная часть неполной раковины, в которой отчетливо видно пористую микросферу и характер пористости второй оболочки; 3 – Pseudoeucyrtis sp. aff. P. belogorskensis Bragina; 4 – Lithomespilus mendosa (Krasheninnikov). Длина масштабной линейки а (для фиг. 1, 2, 6а, 7а) равна 100 мкм; длина масштабной линейки б (для фиг. 3, 4, 5) – 50 мкм; длина масштабной линейки в (для фиг. 6б, 7б) – 40 мкм.
Итак, на Северо-Востоке и Дальнем Востоке России представители семейства Heliodiscidae известны на обширной площади: на Камчатке, в Корякском нагорье, а также в Восточно-Сахалинских горах и в пределах Малой Курильской гряды. Из вышесказанного очевидно повышенное внимание к представителям этого семейства. Изученный комплекс, содержащий многочисленные экземпляры видов, относящихся к семейству Heliodiscidae, выделен из разреза по р. Якенмывеем (Эконайская зона Корякского нагорья).
Целью данной работы является уточнение таксономических, биостратиграфических и палеобиогеографических данных по семейству позднемеловых радиолярий Heliodiscidae, необходимое для более широкого использования группы в геологической практике и, в итоге, для детализации региональных и общих стратиграфических схем.
МАТЕРИАЛ И МЕТОДИКА ИССЛЕДОВАНИЯ
В основу работы положен материал из верхнемеловых (кампан–маастрихт) кремнистых отложений ваамычгынской толщи по р. Якенмывеем, собранный и любезно предоставленный К.А. Крыловым в 1985 г. Образцы кремнистых пород обрабатывали с помощью разбавленной фтористоводородной кислоты (5–10%). В полученных осадках из двух образцов были отобраны скелеты радиолярий хорошей и удовлетворительной сохранности. Выделенные микрофоссилии изучали и фотографировали на растровом сканирующем микроскопе Tescan 2300 в режиме BSE-детектора (табл. I–II).
Таблица II. Все экземпляры происходят из верхнемеловых (кампан–маастрихт) отложений разреза по р. Якенмывеем Корякского нагорья (обр. М381-Б).
1–4 – Excentrosphaerella teuria (Hollis, 1997): 1а, 1б – характер пористости и эксцентричность расположения микросферы внутри второй оболочки, а также четыре поры, заметные на половине диаметра микросферы; 2а – неполная раковина, 2б – увеличенная часть раковины, демонстрирующая характер перемычек между второй и третьей оболочкой; 2в – увеличенный фрагмент раковины с хорошо заметным характером соединения между третьей, четвертой и пятой оболочками с помощью радиальных перекладин; 3а – неполная раковина, 3б – увеличенная часть раковины, демонстрирующая характер пористости четвертой и пятой оболочек; 4 – неполная раковина. Длина масштабной линейки а (для фиг. 1, 2а, 3а, 4) равна 100 мкм; длина масштабной линейки б (для фиг. 2в, 3б) – 50 мкм; длина масштабной линейки в (для фиг. 1б, 2б) – 40 мкм.
ГЕОЛОГИЧЕСКОЕ ПОЛОЖЕНИЕ
В пределах Корякского нагорья широко развиты разнообразные мезозойские кремнистые толщи. Наиболее молодые из них, верхнемеловые, распространены на юге, в Олюторской зоне, а также в пределах Эконайской структурной зоны, протягивающейся от центральной части Корякского нагорья на восток, до оз. Пекульнейское (рис. 1). Верхний мел в Эконайской зоне развит в составе Янранайского аккреционного комплекса (Григорьев и др., 1987). Янранайский комплекс занимает нижнее структурное положение в Эконайской зоне, являясь относительным автохтоном для серии покровов этой зоны (Соколов, 2002), и подразделяется на несколько толщ, имеющих между собой тектонические взаимоотношения. Выделяются следующие толщи: яканувеемская (верхняя юра–нижний мел), ваамычгынская (альб–верхний мел), якенмывеемская (альб–верхний мел), олистостромовая (маастрихт), причем датировка этих образований была в основном выполнена по радиоляриям (Григорьев и др., 1987). Наиболее значительные выходы Янранайского комплекса известны в восточной части Эконайской зоны, в бассейне р. Ваамычгын (рис. 2).
Рис. 1. Местоположение (а) и тектоническая схема (б) Корякского нагорья (по Соколов, 2002, с уточнением).
1–11 – структурные зоны (террейны): 1 – Ганычаланская и Усть-Бельская; 2 – Айнынско-Майнская; 3 – Алганская; 4 – Куюльский офиолитовый массив; 5 – Великореченская, 6 – Майницкая, 7 – Алькатваамская; 8 – Эконайская; 9 – выходы Янранайского комплекса (верхняя юра–мел) в составе Эконайской зоны; 10 – Укэлаятская зона; 11 – Олюторская зона.
Рис. 2. Геологическая карта Янранайской аккреционной призмы с положением изученного разреза по р. Якенмывеем, в бассейне р. Ваамычгын (по Cоколов, 2003, с дополнениями).
1 – Ионайский покров, палеозойско-триасовые вулканогенно-кремнистые образования; 2–5 – тектоно-стратиграфические единицы Янранайского аккреционного комплекса: 2 – верхняя пластина, яканувеемская толща, верхняя юра–нижний мел, основные вулканиты, кремнистые породы, в верхах толщи аргиллиты, алевролиты, песчаники, 3 – нижняя пластина, якенмывеемская толща, альб–турон, основные вулканиты и кремнистые породы, коньяк–кампан, терригенные турбидиты, 4 – средняя пластина, ваамычгынская толща, альб–кампан, основные вулканиты, кремнистые породы, туфы, известняки-ракушечники; 5 – олистостромовая толща, микститы, турбидиты, олистостромы с олистолитами пород Янранайского комплекса и Ионайского покрова; 6 – четвертичные отложения; 7 – надвиги; 8 – разломы; 9 – местоположение результативных образцов из разреза по р. Якенмывеем.
Нами были изучены образцы кремнистых пород из важнейшего разреза ваамычгынской толщи, расположенного в левом борту долины р. Якенмывеем в 10 км выше ее впадения в р. Ваамычгын (Григорьев и др., 1987) (рис. 2). Ваамычгынская толща здесь тектонически перекрывает терригенные отложения якенмывеемской толщи. Ниже дается сокращенное описание разреза ваамычгынской толщи по (Григорьев и др., 1987):
Пачка 1. Красные и розовые известковистые яшмы с радиоляриями альба–сеномана (определения В.С. Вишневской): Alievium antiquum Pessagno, Holocryptocanium geysersensis Pessagno, H. tuberculatum Dumitrica, Novixitus mclaughlini Pessagno, Pseudodictyomitra pseudomacrocephala (Squinabol), P. vestalensis Pessagno, Thanarla elegantissima (Cita), T. veneta (Squinabol), Xitus alievi (Foreman). Видимая мощность до 5 м.
Пачка 2. Миндалекаменные базальты с подушечной отдельностью. Мощность 8–10 м.
Пачка 3. Переслаивание красных яшм, зеленых основных туфов и темно-бурых железистых силицитов. В яшмах встречены радиолярии Archaeospongoprunum sp., Thanarla elegantissima (Cita), Zifondium sp., Novixitus sp., Spongocapsula sp. cf. S. zamoraensis Pessagno, Amphipyndax mediocris (Tan Sin Hok), Holocryptocanium sp., Dictyomitra multicostata gr. (Zittel), отнесенные В.С. Вишневской к сеноману. Мощность пачки 6 м.
Пачка 4. Базальты с офитовой структурой и линзами яшмо-кварцитов. Мощность 2 м.
Пачка 5. Тонкослоистые полосчатые красные яшмы. Определимые радиолярии здесь не найдены. Мощность 6 м.
2 м не обнажено.
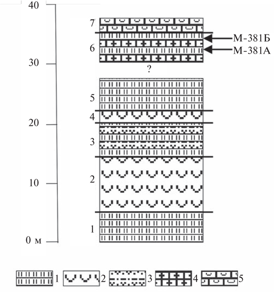
Пачка 6. Ритмичное чередование красных яшм и темно-бурых умбритов (железисто-марганцевые металлоносные осадочные породы). Ранее здесь радиолярии не были известны, но в аналогах этих отложений в другом обнажении (по правому берегу р. Якенмывеем) отмечались находки радиолярий сантона–кампана (Григорьев и др., 1987). В средней и верхней частях пачки 6 взяты образцы М-381А и М381Б, из которых нами выделен представительный комплекс радиолярий: Excentrosphaerella teuria (Hollis), E. vivenkensis (Lipman), Lithomespilus mendosa (Krasheninnikov), Praestylosphaera pusilla (Campbell et Clark), Protoxiphotractus perplexus Pessagno, Amphipyndax stocki (Campbell et Clark), Pseudoeucyrtis sp. aff. P. belogorskensis Bragina, Stichomitra livermorensis Campbell et Clark, Stichomitra sp. aff. S. shirshovica Vishnevskaya и Theocampe vanderhoofi Campbell et Clark. Мощность 5 м.
Пачка 7. В основании пласт серых массивных калькаренитов (15 см), выше красновато-серые ракушечники с остатками крупных радиально-ребристых иноцерамов Schmidticeramus sp. cf. S. schmidti (Michael) и гастропод Gigantocapulus giganteus (Schmidt). Мощность до 1.5 м.
АНАЛИЗ КОМПЛЕКСА РАДИОЛЯРИЙ
Первое упоминание о верхнемеловых (сантон-кампанских) радиоляриях из ваамычгынской толщи приводится в статье (Григорьев и др., 1987). В этой работе указано, что на правом берегу р. Якенмывеем в кремнистых породах, сопоставляемых с пачкой 6 разреза по левому борту долины р. Якенмывеем, был обнаружен комплекс сантон-кампанских радиолярий. К сожалению, в статье не приведен списочный состав комплекса верхнемеловых радиолярий.
Впервые устанавливается местоположение комплекса в разрезе (верхняя часть ваамычгынской свиты, пачка 6; настоящая работа; рис. 2, 3). Впервые приводятся фотоизображения радиолярий из этого комплекса и анализируется его состав.
Рис. 3. Литологическая колонка разреза верхнемеловых (кампан–маастрихт) кремнистых отложений ваамычгынской толщи по р. Якенмывеем.
1 – кремнистые породы; 2 – базальты; 3 – туфы; 4 – умбриты (железисто-марганцевые металлоносные осадочные породы); 5 – известняки-ракушечники. Слева от колонки показаны номера пачек, справа от колонки – положение изученных образцов.
Из многочисленных комплексов, содержащих вид Excentrosphaerella vivenkensis (Lipman), наиболее хорошо представлен фотографически и изучен кампан-маастрихтский комплекс радиолярий из олистостромовой толщи берегового разреза от устья р. Палана до устья р. Анадырка Западной Камчатки (Палечек и др., 2003, табл. I, II). Этот комплекс весьма близок по видовому составу к изученному комплексу и имеет с ним ряд общих видов: Excentrosphaerella vivenkensis (Lipman), Lithomespilus mendosa (Krasheninnikov), Praestylosphaera pusilla (Campbell et Clark), Protoxiphotractus perplexus Pessagno, Amphipyndax stocki (Campbell et Clark), Stichomitra livermorensis Campbell et Clark, Stichomitra sp. aff. S. shirshovica Vishnevskaya и Theocampe vanderhoofi Campbell et Clark. Большая часть этих видов весьма характерна для дальневосточных ассоциаций. Исключение составляют вид Theocampe vanderhoofi Campbell et Clark, который широко распространен в кампане и маастрихте Калифорнии (Campbell, Clark, 1944; Foreman, 1968) и лишь изредка встречается в разрезах Камчатки (Палечек и др., 2003), а также вид Pseudoeucyrtis sp. aff. P. belogorskensis Bragina. Интересно отметить, что вид Pseudoeucyrtis belogorskensis Bragina описан из отложений верхнего сантона Кипра (Брагина, 2014) и известен в отложениях этого же возраста в Крыму (Брагина и др., 2016). Еще один из видов комплекса, Stichomitra livermorensis Campbell et Clark, весьма характерен не только для калифорнийских разрезов, но и для кампана и маастрихта Корякского нагорья и Камчатки (Соловьев и др., 1998; Вишневская, 2001 и многие другие). Вид Lithomespilus mendosa (Krasheninnikov) широко распространен в позднем кампане–маастрихте (Палечек и др., 2003). В комплексе отсутствуют виды, относящиеся к роду Clathrocyclas, столь характерному для маастрихта Северо-Востока России.
Характернейшим видом в разрезах Корякского нагорья и Камчатки следует считать вид Excentrosphaerella vivenkensis (Lipman), который часто бывает доминантным в комплексах кампана и в более древних отложениях не встречен. Анализируя вышесказанное, возраст рассматриваемого комплекса может быть определен в пределах кампана–маастрихта благодаря совместному присутствию видов Excentrosphaerella vivenkensis (Lipman), Lithomespilus mendosa (Krasheninnikov) и Stichomitra livermorensis Campbell et Clark. Следует отметить, что в районе исследования комплексы кампана и маастрихта в основном и представлены видами, широко распространенными в одновозрастных разрезах Калифорнии. Тем интереснее отметить среди членов комплекса вид Excentrosphaerella teuria (Hollis) (табл. II, фиг. 1–4, настоящая работа). Этот вид был описан из отложений раннего палеоцена Новой Зеландии (Hollis, 1997). Полученные данные позволили расширить время существования этого вида, ранее известного только с раннего палеоцена (Hollis, 1997), в пределах кампана–маастрихта, а также палеобиогеографическое распространение вида, ранее известного только в нотальной области (настоящая работа). Таким образом, изученный комплекс в основном представлен видами, широко распространенными в кампане и маастрихте Северо-Востока России, включая представителей семейства Heliodiscidae, имеющих важное стратиграфическое и палеобиогеографическое значение.
ОБСУЖДЕНИЕ ПОЛУЧЕННЫХ РЕЗУЛЬТАТОВ
Проблема расчленения разрезов в районах со сложным тектоническим строением связана с редким присутствием в них какой-либо другой группы фоссилий, кроме радиолярий. Поэтому особую ценность представляют публикации, в которых стратиграфические выводы подтверждены данными по ортостратиграфическим группам (Вишневская и др., 2005). К сожалению, таких работ недостаточно, поэтому до сих пор существует проблема датировки кремнистых отложений верхнего мела Северо-Востока России. Тем не менее в отдельных местонахождениях зафиксированы совместные с радиоляриями находки иноцерамов. Следует особо отметить, что в Корякском нагорье E. vivenkensis известен (Вишневская, 2002) в слоях, содержащих Inoceramus orientalis (вид-индекс одноименной зоны нижнего кампана; Атлас..., 1993). В бассейне р. Ватына (Корякское нагорье) E. vivenkensis (Lipman) встречен в слоях, содержащих раковины Pennatoceramus orientalis (Sokolov). Последнее позволило Е.А. Языковой отнести эти слои к нижнекампанской зоне Pennatoceramus orientalis (Aтлас..., 1993). Эти достоверные сведения позволяют уточнить время первого появления вида Excentrosphaerella vivenkensis (Lipman). Совместно с E. vivenkensis довольно часто встречаются виды Clathrocyclas diceros Foreman и C. hyronia Foreman, характерные для верхнего кампана–маастрихта (Вишневская, 2001; Палечек и др., 2003). E. vivenkensis никогда не был встречен в отложениях выше маастрихта, поэтому его следует считать стратиграфически важным видом, характеризующим кампанские и маастрихтские отложения на Северо-Востоке России.
В разрезах Северо-Востока России вид E. vivenkensis встречен в стратиграфическом интервале, для которого в низких широтах выделяется радиоляриевая зона Amphipyndax tylotus (верхний кампан–маастрихт) (Sanfilippo, Riedel, 1985). Важно отметить, что A. tylotus Foreman изредка встречается и на Северо-Востоке России, например на Срединном хребте Камчатки и на Олюторском хребте Корякского нагорья (Вишневская, 2001, табл. 3, фиг. 5, 7, 8). Последнее подтверждает важное стратиграфическое значение некоторых представителей семейства Heliodiscidae. Однако эти данные не окончательные и требуют дальнейших уточнений.
Необходимо помнить, что раковины радиолярий, выделенные из вулканогенно-кремнистых толщ, формировавшихся в сложной тектонической обстановке, часто имеют плохую или посредственную сохранность, а тонкостенные таксоны (например, A. tylotus) часто не сохраняются. При этом существенно повышается стратиграфическое значение толстостенных представителей семейства Heliodiscidae, которые могут датировать вмещающие отложения. Таким образом, привлечение представителей семейства Heliodiscidae к решению стратиграфических задач открывает перспективы для уточнения возраста вмещающих их отложений. Присутствие в изученном комплексе вида Excentrosphaerella teuria еще раз свидетельствует о возможности широких корреляций верхнемеловых отложений Северо-Востока России с одновозрастными отложениями в нотальной области.
ПАЛЕОНТОЛОГИЧЕСКОЕ ОПИСАНИЕ
Коллекция № 4823-60 хранится в Геологическом институте РАН (ГИН РАН), Москва.
КЛАСС RADIOLARIA MÜLLER, 1858
ОТРЯД SPUMELLARIINA EHRENBERG, 1876
СЕМЕЙСТВО HELIODISCIDAE HAECKEL, 1881
Род Excentrosphaerella Dumitrica, 1978
Типовой вид: Excentrosphaerella sphaeroconha Dumitrica, 1978; неоген Румынии.
Диагноз. Сферическая раковина с двойной кортикальной оболочкой и медуллярной оболочкой с эксцентрически расположенной внутри нее микросферой.
Видовой состав: Пять видов помимо типового вида: Excentrosphaerella vivenkensis (Lipman, 1967), нерасчлененные отложения верхнего мела–палеогена, Северная Камчатка; E. teuria (Hollis, 1997), нижний палеоцен, Новая Зеландия; E. kamchatica Vishnevskaya et Dumitrica, 2003, нерасчлененные отложения сантона–кампана, Западная Камчатка (Vishnevskaya, Dumitrica, 2003); E. kovalenkovi Vishnevskaya, 2006, нерасчлененные отложения сантона–нижнего кампана, Западная Камчатка, и E. sukhovi Vishnevskaya et Kurilov, 2006, нерасчлененные отложения коньяка–нижнего кампана, Западная Камчатка (Вишневская, 2006).
Сравнение. Отличается от рода Heliodiscus Haeckel, 1862 сферической формой раковины.
Распространение. Верхний коньяк–нижний палеоцен, бореальная и нотальная области.
Excentrosphaerella vivenkensis (Lipman, 1967), emend. herein
Табл. I, фиг. 1–6
Cromyosphaera vivenkensis sp. nov.: Липман, 1967, с. 92–93, табл. I, фиг. 1–9, табл. II, фиг. 1–4.
Cromyosphaera vivenkensis Lipman: Жамойда, 1972, табл. XIV, фиг. 1, табл. XV, фиг. 2, 3, табл. XIX, фиг. 2а, 2б.
Cromyosphaera vivenkensis Lipman: Практическое..., 1999, табл. LV, фиг. 1, табл. LVI, фиг. 3.
Cromyosphaera vivenkensis Lipman: Вишневская, 2001, с. 157, табл. 7, фиг. 1–4, табл. 17, фиг. 1–4.
Cromyosphaera (?) vivenkensis Lipman: Палечек и др., 2003, табл. 1, фиг. 1, 2.
Cromyosphaera (?) vivenkensis Lipman: Вишневская и др., 2005, с. 34, табл. 11, фиг. 2, табл. 14, фиг. 2, табл. 25, фиг. 1, 2.
Cromyosphaera tschurini Lipman: Вишневская, 2005, с. 33–34, табл. 16, фиг. 1.
Cromyosphaera vivenkensis Lipman: Вишневская, 2005, с. 34, табл. 13, фиг. 2.
Голотип: № 9, микроколлекция 1813а/2/5 в коллекции № 7767 ЦГМ им. Ф.Н. Чернышева, Санкт-Петербург.
Описание. Крупная сферическая раковина. Толщина внешней кортикальной оболочки в 4 раза превышает толщину внутренней кортикальной оболочки, которая в 2–2.5 раза превышает толщину медуллярной оболочки. Эксцентрически расположенная пористая микросфера с четырьмя порами на половине сферы находится внутри медуллярной оболочки. Редкие перекладины соединяют микросферу с медуллярной оболочкой. Медуллярная оболочка состоит из многоугольных (обычно шестиугольных) ячеек порового каркаса со сторонами приблизительно равной ширины; внутри ячеек каркаса расположены округлые поры одинакового размера, диаметр которых в 2–3 раза превышает расстояние между соседними порами. Редкие и довольно массивные радиальные перекладины соединяют медуллярную оболочку, внутреннюю и внешнюю кортикальные оболочки и продолжаются за пределами раковины в виде коротких и массивных игл конической формы. Внутренняя кортикальная оболочка состоит из шестиугольных ячеек поровых каркасов, внутри которых находятся поры округлых очертаний, диаметр которых в полтора-два раза превышает расстояние между соседними порами. Многочисленные радиальные перекладины соединяют внутреннюю и внешнюю кортикальные оболочки. Поверхность внешней кортикальной оболочки состоит из округло-многоугольных поровых каркасов, сильно различающихся по размеру и расположенных нерегулярно. В местах соединения нескольких пор имеется шип незначительного размера.
Материал. 7 полных и многочисленные неполные экземпляры.
Размеры, в мкм. Диаметр микросферы 15–18, медуллярной оболочки 60–65, диаметр внутренней кортикальной оболочки 140–155, диаметр наружной кортикальной оболочки 290–300, длина наружной части иглы 35–40.
Сравнение. Отличается от Excentrosphaerella kamchatica Vishnevskaya et Dumitrica, 2003 развитием игл на внешней кортикальной оболочке.
Замечание. В публикации (Практическое..., 1999) в табл. LV, фиг. 1 приведено фотоизображение С. vivienkensis Lipman в шлифе. На этом фотоизображении отчетливо заметны две перемычки, соединяющие внутреннюю сферу с помещенной в нее микросферой, причем длина этих перемычек незначительно больше или равна половине диаметра медуллярной оболочки, и обе перемычки направлены не к центру раковины. Иными словами, это первые опубликованные данные, которые позволяют предполагать эксцентрическое положение микросферы внутри медуллярной оболочки. Фотоизображение внутреннего строения С. vivienkensis Lipman, а также внешнего строения раковины с наружными иглами приведено в (Вишневская, 2001, табл. 7, фиг. 3, 4).
Распространение. Верхний мел; нерасчлененные отложения верхнего мела–палеогена Олюторской зоны Северной Камчатки (Липман, 1967; Жамойда, 1972); нерасчлененные отложения коньяка–кампана Западной Камчатки (Палечек и др., 2003; Вишневская и др., 2005; Вишневская, 2006); нижний кампан юга Корякского нагорья (бассейн р. Пикасьваям; Вишневская, 2001); кампан–маастрихт Олюторского полуострова (Соловьев и др., 1998); маастрихт южной части Корякского нагорья (Олюторская зона, хр. Майни Какыйнэ) (Практическое..., 1999); верхний кампан–маастрихт восточной части Корякского нагорья (Практическое..., 1999) и кампан–маастрихт Эконайской структурной зоны восточной части Корякского нагорья (настоящая работа); маастрихт Восточно-Сахалинских гор (Практическое..., 1999) и кампан–маастрихт острова Шикотан (Палечек и др., 2008).
ВЫВОДЫ
- Из верхней части разреза ваамычгынской толщи по р. Якенмывеем впервые изучен комплекс кампан-маастрихтских радиолярий. Данный комплекс содержит многочисленные экземпляры представителей семейства Heliodiscidae, отнесенные к двум видам рода Excentrosphaerella.
- Впервые на Северо-Востоке России установлено присутствие вида Excentrosphaerella teuria (Hollis), ранее известного только в разрезах палеоцена Новой Зеландии, и уточнено время его существования – в пределах кампана–палеоцена. Таким образом, можно предполагать биполярное распространение семейства Heliodiscidae.
- Уточнена родовая принадлежность вида Cromyosphaera vivenkensis Lipman, отнесенного в данной работе к роду Excentrosphaerella, а также уточнено время существования этого вида – кампан–маастрихт.
- Анализ таксономического разнообразия позднемеловых комплексов Северо-Востока и Дальнего Востока России по литературным и полученным в настоящей работе данным позволяет сделать вывод о необходимости использования представителей семейства Heliodiscidae в работах по стратиграфии и корреляции верхнего мела Северо-Востока России.
Благодарности. Авторы выражают признательность К.А. Крылову (Стэнфордский университет, США) за переданные образцы и данные по их геологической привязке, а также Н.В. Горьковой (ГИН РАН) за помощь в фотографировании на СЭМ. Авторы признательны М.С. Афанасьевой, В.С. Вишневской и Т.Н. Палечек за ценные советы и замечания.
Источник финансирования. Работа выполнена в соответствии с планами научно-исследовательской работы ГИН РАН (Брагин Н.Ю. – тема № 0135-2018-0033) и при частичной финансовой поддержке грантов РФФИ (проекты №№ 15-05-04700, 16-05-00363 и 18-05-00494). Химическое препарирование образцов, а также изучение радиолярий под электронным микроскопом проведены за счет гранта РФФИ № 15-05-04700, морфолого-таксономические исследования – за счет грантов РФФИ № 16-05-00363 и 18-05-00494.
About the authors
L. G. Bragina
Geological Institute of Russian Academy of Sciences
Author for correspondence.
Email: l.g.bragina@mail.ru
Russian Federation, 7, Pyzhevsky lane, Moscow, 119017
N. Yu. Bragin
Geological Institute of Russian Academy of Sciences
Email: l.g.bragina@mail.ru
Russian Federation, 7, Pyzhevsky lane, Moscow, 119017
References
- Атлас руководящих групп меловой фауны Сахалина. СПб.: Недра, 1993. 327 с.
- Брагина Л.Г. Радиолярии позднего кампана–маастрихта острова Шикотан // Палеонтолого-стратиграфические исследования фанерозоя Дальнего Востока. Владивосток: Дальневосточное книжное изд-во, 1991. С. 100–103.
- Брагина Л.Г. Новые виды радиолярий отряда Nassellaria из коньяка–сантона формации Перапеди (Южный Кипр) // Палеонтол. журн. 2014. № 2. С. 3–10.
- Брагина Л.Г., Бенямовский В.Н., Копаевич Л.Ф. Радиолярии, фораминиферы и биостратиграфическое расчленение коньяка–кампана разреза Алан-Кыр, Горный Крым // // Стратиграфия. Геол. корреляция. 2016. Т. 24. № 1. С. 44–63.
- Вишневская В.С. Радиоляриевая биостратиграфия юры и мела России. М.: ГЕОС, 2001. 376 с.
- Вишневская В.С. Новые виды радиолярий верхнего мела юга Корякского нагорья (Северо-Восток России) // Палеонтол. журн. 2002. № 5. С. 3–6.
- Вишневская В.С. Новые виды семейства Heliodiscidae Haeckel (Radiolaria) // Палеонтол. журн. 2006. № 2. С. 21–28.
- Вишневская В.С., Басов И.А., Палечек Т.Н., Курилов Д.В. Биостратиграфия юрско-меловых отложений Западной Камчатки по радиоляриям // Западная Камчатка: геологическое развитие в мезозое. М.: Научный мир, 2005. С. 6–54.
- Геология юга Корякского нагорья. М.: Наука, 1987. 168 с.
- Григорьев В.Н., Крылов К.А., Соколов С.Д. Юрско-меловые отложения Янранайского аккреционного комплекса (Корякское нагорье) // Очерки по геологии Северо-Западного сектора Тихоокеанского пояса. М.: Недра, 1987. С. 132–159.
- Жамойда А.И. Биостратиграфия мезозойских кремнистых толщ Востока СССР (на основе изучения радиолярий). Л.: Недра, 1972. 243 с. (Труды ВСЕГЕИ. Нов. сер. Т. 183).
- Липман Р.Х. Новые виды радиолярий Северной Камчатки. Л.: Недра, 1967. С. 89–103 (Труды ВСЕГЕИ. Биостратиграфический сборник. Т. 129. Вып. 3).
- Палечек Т.Н., Соловьев А.В., Шапиро М.Н. Структура и возраст осадочно-вулканогенных мезозойских отложений Паланского разреза (Западная Камчатка) // Стратиграфия. Геол. корреляция. 2003. Т. 11. № 3. С. 74–91.
- Палечек Т.Н., Терехов Е.П., Можеровский А.В. Кампан-маастрихтские радиолярии из малокурильской свиты острова Шикотан // Стратиграфия. Геол. корреляция. 2008. Т. 16. № 6. С. 76–89.
- Практическое руководство по микрофауне. Т. 6. Радиолярии мезозоя. СПб.: Изд-во ВСЕГЕИ, 1999. 272 с.
- Cоколов С.Д. Формирование активных континентальных окраин и вертикальная аккреция // Вертикальная аккреция земной коры. М.: Наука, 2002. С. 147–173.
- Cоколов С.Д. Аккреционная тектоника: понятийная база, проблемы и перспективы // Проблемы глобальной геодинамики. Ред. Рундквист Д.В. Материалы Теоретического семинара ОГГГГН РАН. Вып. 2. Москва, 2003. С. 32–56.
- Соловьев А.В., Палечек Т.Н., Палечек Р.М. Тектоностратиграфия северной части Олюторской зоны (Корякское нагорье, район бухты Анастасии) // Стратиграфия. Геол. корреляция. 1998. Т. 6. № 4. С. 92–105.
- Campbell A.S., Clark B.L. Radiolaria from the Upper Cretaceous of middle California // Geol. Soc. Am. Spec. Pap. 1944. № 57. р. 1–61.
- De Wever P., Dumitrica P., Caulet J.-P. et al. Radiolarians in the sedimentary records. Amsterdam: Elsevier, 2001. P. 1–533.
- Dumitrica P. Badenian Radiolaria from Central Paratethys // Chronostratigraphie und Neostratotypen, Miozän der Zentralen Paratethys. Bd. VI. M4, Badenien (Moravien, Wielicien, Kosovien). Bratislava: VEDA, 1978. P. 231–261.
- Dumitrica P. Systematics of Sphaerellarian Radiolarians // Morphology, Ecology, and Evolution of Radiolarians: EURORAD-IV. Abstracts. Leningrad: Nauka, 1984. P. 91–103.
- Ehrenberg C.G. Fortsetzung der mikrogeologischen Studien als Gesammt-Uebersichtder mikroskopisschen Paläontologie gleichartiganalysirter Gebirgsarten der Erde, mit specieller Rucksicht auf den Polycystinen-Mergel von Barbados. Abhand. Königlishe Preussichen Acad. Wissens., Berlin, 1876. P. 1–225.
- Foreman H. Upper Maastrichtian Radiolaria of California // Paleontol. Spec. Pap. 1968. № 3. P. 1–82.
- Haeckel E. Die Radiolarien (Rhizopoda Radiolaria). Berlin: Reimer, 1862.
- Haeckel E. Entwurf eines Radiolarien–Systems auf Grund von Studien der Challenger-Radiolarien // Jehaische Z. Naturwiss. 1881. V. 15. № 3. P. 418–472.
- Hollis C.J. Cretaceous–Paleocene Radiolaria from Eastern Marlborough, New Zealand. Lower Hutt, New Zealand: Institute of Geological & Nuclear Sciences Ltd., 1997. P. 1–152 (Institute of Geological & Nuclear Sciences Monograph No. 17).
- Müller J. Über die Thalassicollen. Polycystinen und Acanthometren des Mittelmeers. Abhandlungen der königlichen Academie der Wissenschaften zu Berlin, 1858. P. 1–62.
- O’Dogherty L., Carter E., Dumitrica P. et al. Catalogue of Mesozoic radiolarian genera. Pt. 2: Jurassic–Cretaceous // Geodiversitas. 2009. V. 31. № 2. P. 271–356.
- Sanfilippo A., Riedel W.R. Cretaceous radiolarian // Plankton Stratigraphy. Eds. Bolli H.M., Saunders J.B., Perch-Nielsen K. Cambridge: Cambridge Univ. Press, 1985. P. 573–630.
- Vishnevskaya V., Dumitrica P. Excentrosphaerella kamchatica n. sp., the oldest known Heliodiscid radiolarians in the Upper Cretaceous of Kamchatka // INTERRAD X. Abstracts. Lausanne, 2003. P. 113.
Supplementary files







