Къ вопросу объ „апраксіи“
- Авторы: Образцов В.Н.1,2
-
Учреждения:
- Новороссійскiй Университет
- Клиника нервныхъ болѣзней проф. Н. М. Попова
- Выпуск: Том XVIII, № 3 (1911)
- Страницы: 535-564
- Раздел: Статьи
- Статья получена: 17.06.2021
- Статья одобрена: 17.06.2021
- Статья опубликована: 15.07.1911
- URL: https://journals.eco-vector.com/1027-4898/article/view/71643
- DOI: https://doi.org/10.17816/nb71643
- ID: 71643
Цитировать
Полный текст
Аннотация
Въ вопросѣ о мозговыхъ локализаціяхъ особенно привлекаютъ вниманіе невропатолога тѣ центры, дѣятельность которыхъ вызываетъ комплексы мышечныхъ движеній направленныхъ къ выполненію цѣлесообразныхъ дѣйствій. Такимъ идеальнымъ типомъ цѣлесообразнаго движенія можетъ служить членораздѣльная рѣчь.
Ключевые слова
Полный текст
Въ вопросѣ о мозговыхъ локализаціяхъ особенно привлекаютъ вниманіе невропатолога тѣ центры, дѣятельность которыхъ вызываетъ комплексы мышечныхъ движеній направленныхъ къ выполненію цѣлесообразныхъ дѣйствій. Такимъ идеальнымъ типомъ цѣлесообразнаго движенія можетъ служить членораздѣльная рѣчь. И дѣйствительно, съ тѣхъ поръ какъ Broca, Wernicke, Kussmaul, Charchot, Lichtheim и др.1 и 2) построили схемы, объясняющія процессы рѣчи и ея разстройствъ, многое въ невропатологіи сдѣлалось и яснѣе и опредѣленнѣе. Однако вопросъ объ афазіи далеко еще не исчерпанъ; онъ является источникомъ новыхъ теорій, новыхъ гипотезъ, путемъ которыхъ есть желаніе расширить указанныя схемы за предѣлы ихъ прямого назначенія. Таковы напр., теоріи децентрализаціи Bastian’а 3), Freud’а 4), Monakow’а 5), и наконецъ P. Marie 6).
„Движеніе“, какъ физіологическій терминъ, въ обширномъ смыслѣ этого слова, обнимаетъ собою все то, чѣмъ проявляетъ себя организованная матерія во всѣхъ сферахъ своего существованія и физическаго и духовнаго. Но по сравненію съ большимъ значеніемъ этого слова въ физіологіи сдѣлано очень мало для точнаго выясненія скрытаго механизма, путемъ котораго движеніе можетъ явиться выразителемъ нашихъ намѣреній, желаній, стремленій, поступковъ, эмоцій и т. п.
Завѣсу таинственности между физической и духовной сторонами нашего организма и пытается поднять ученіе объ апраксіи въ современномъ его значеніи.
Мы позволимъ себѣ остановиться, хотя бы на основныхъ положеніяхъ этого ученія прежде, чѣмъ каснемся имѣющагося въ нашемъ распоряженіи клиническаго случая.
Небольшая историческая справка подтверждаетъ высказанную мысль о близости ученій объ афазіи и апраксіи.
Еще Griesinger былъ знакомъ съ тѣмъ, что афазики иногда неправильно выполняютъ цѣлевыя движенія, но не давалъ этому соотвѣтствующаго толкованія, скорѣе склоняясь къ мнѣнію Gudden’а и Kussmaul’я, что у афазиковъ наблюдается способность смѣшивать различныя понятія. Finkelnburg указалъ, что на ряду съ афазіей встрѣчается утрата пониманія и другихъ условныхъ знаковъ, напр., монетъ, нотъ и называлъ этотъ симптомъ—„асимболія“, включая сюда же симптомъ, когда больной терялъ способность цѣлесообразно выполнять свои движенія. Wernicke термину „асимболія“ придалъ уже спеціальное значеніе при разстройствахъ узнаванія, чему Freud далъ названіе—„агнозія“. Этотъ послѣдній терминъ Kussmaul, Starr и Pick замѣнили названіемъ „апраксія“ для обозначенія тѣхъ разстройствъ, когда больной неправильно употреблялъ предметы, однако полагали, что неправильное употребленіе зависитъ отъ неузнаванія самого предмета. Meynert ближе подошелъ къ современной точки зрѣнія, раздѣляя апраксію на сенсорный и моторный типъ, указывая, что при послѣднемъ разстройство происходитъ отъ того, что больной утерялъ способность возстановлять въ памяти двигательный образъ самого движенія.
Но началомъ развитія ученія объ апраксіи нужно считать 1900 годъ, когда Liepmann 7) опубликовалъ свой случай правосторонней апраксіи и тѣмъ уничтожилъ всякую мысль о томъ, что причиной апраксіи можетъ быть неузнаваніе.
Почти одновременно появилось изслѣдованіе проф. В. М. Бехтерева 8), затѣмъ Рісk’а 9), Kleist’а 10) и др. и въ настоящее время можно считать уже установленнымъ, что подъ апраксіей слѣдуетъ понимать „утрату или разстройство способности пользоваться своими движеніями при сохраненной подвижности мышцъ, при отсутствіи разстройствъ координаціи или непроизвольныхъ движеній.
Проф. В. М. Бехтеревъ апраксіей называетъ такое состояніе, „когда, несмотря на отсутствіе паралитическихъ явленій, цѣль дѣйствія нарушается и оно или замѣняется другимъ актомъ двигательнаго характера или же вовсе не выполняется“.
Онъ относитъ сюда слѣдующіе случаи, принадлежащіе къ такъ наз. „идеаторной“ формѣ апраксіи. Напримѣръ:
- Паціентъ долженъ зажечь свѣчу. Онъ подноситъ къ свѣчѣ спичку, но даетъ ей сгорѣть совсѣмъ или въ концѣ концовъ тушитъ. Это,—простая утрата представленія о цѣли.
- Паціентъ чиститъ зубной щеткой усы. Здѣсь движеніе вмѣсто того, чтобы опредѣлиться понятіемъ зубной щетки опредѣляется ближайшимъ понятіемъ щетки для усовъ.
- Паціенъ долженъ зажечь сигару. Онъ ее узнаетъ,— открываетъ спичечницу, тычетъ въ нее какъ будто считаетъ ее за инструментъ для обрѣзыванія сигаръ; послѣ этого онъ третъ по боковой поверхности спичечницы, какъ будто хочетъ зажечь спичку. Здѣсь дѣло идетъ о смѣшеніи отдѣльныхъ частей сложнаго, но соединеннаго комплекса дѣйствій.
- Паціентъ чиститъ сапожной щеткой экскоріированное мѣсто руки или, узнавая банку съ ваксой, когда ему предлагаютъ вычистить башмакъ, беретъ послѣдній и начинаетъ чистить по своей туфлѣ башмакомъ. Здѣсь эстезіонное представленіе получаетъ перевѣсъ надъ требуемымъ дѣйствіемъ;: причиной служитъ тяжелое нарушеніе вниманія.
Приведенные примѣры относятся къ идеаторной апраксіи, въ отличіе отъ которой существуетъ двигательная, имѣющая свои признаки.
Чтобы понять ихъ основное различіе мы позволимъ себѣ остановиться нѣсколько подробнѣе, на тѣхъ схемахъ, которыя существуютъ для объясненія этого интереснаго явленія. Въ основу можетъ быть положена схема Wernicke. Этой же схемой пользовались, значительно ее усложнивъ, изучающіе апраксію Liepmann, Pick, Кроль 11) и др.
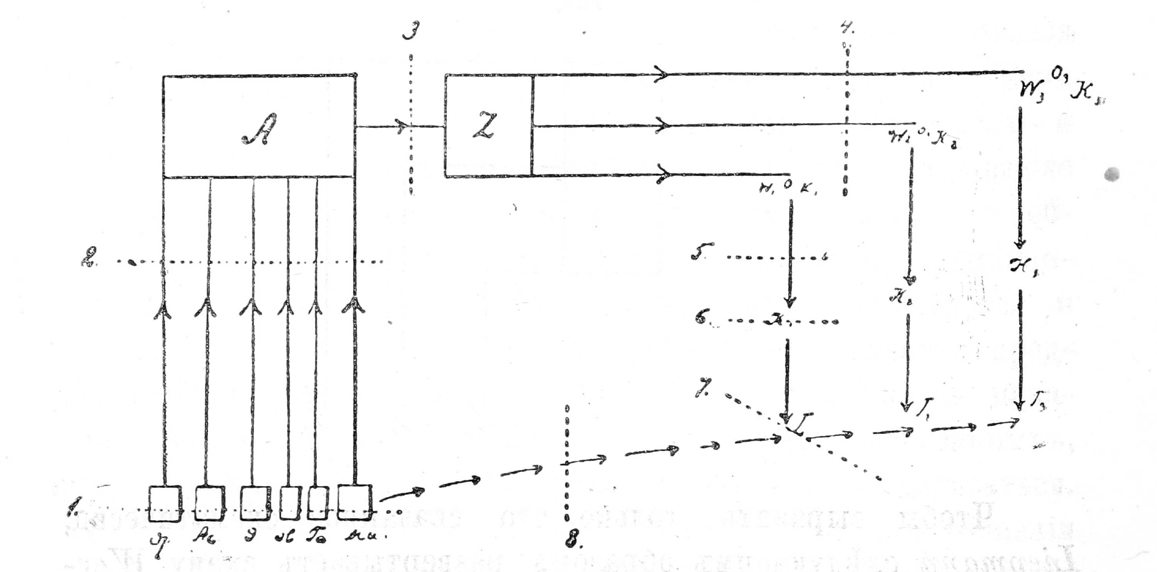
Каждый двигательный произвольный актъ слагается изъ сознанія цѣли и способа ея достиженія. Если мы встрѣчаемъ своего знакомаго и протягиваемъ ему руку, то прежде всего мы его замѣчаемъ, т. е. образъ нашего знакомаго воспринимается зрительнымъ центромъ и въ нашемъ сознаніи является представленіе о знакомомъ. Это представленіе служитъ началомъ новаго ряда представленій, ассоціативно-связанныхъ, результатомъ чего является наше намѣреніе поздороваться. Далѣе психическій процессъ подъ вліяніемъ нашего рѣшенія переходитъ въ актъ двигательнаго характера,—протягиваніе руки, пожиманіе и проч. необходимыя для того движенія (фиг. 1).
Фиг.1. Схема восприятiй
Указанный простой примѣръ можетъ быть, конечно, значительно сложнѣе, благодаря сложности процессовъ въ пути воспріятій, въ пути идеаціи или психомоторномъ, но схема остается одной и той же; осложняется не качественная, но количественная сторона, точнѣе,—въ составъ ея входитъ то большее, то меньшее количество отдѣльныхъ комплексовъ, связанныхъ общимъ намѣреніемъ и направленныхъ къ опредѣленной цѣли.
Такимъ образомъ каждый изъ актовъ, опредѣляющихъ конечную цѣль нашего намѣренія состоитъ изъ ряда другихъ двигательныхъ актовъ, возможныхъ въ отдѣльности, но не ведущихъ еще къ назначенной въ данномъ случаѣ конечной цѣли. Для того же, чтобы цѣль была достигнута требуется выполненіе ихъ и въ опредѣленномъ порядкѣ и во взаимномъ отношеніи, т. е. наличность двигательныхъ въ собственномъ смыслѣ представленій обусловливаетъ правильность получаемыхъ результатовъ.
Чтобы выразить только что сказанное схематически, Liepmann слѣдующимъ образомъ развертываетъ схему Wernicke. „S“—актъ нашихъ воспріятій, „А“—основное представленіе (Ausgansvorstellung), „Z“—представленіе цѣли дѣйствія (zweekmässig). Это послѣднее общее цѣлевое представленіе и состоитъ въ свою очередь изъ цѣлаго ряда частныхъ представленій (z1—z2—z3) и каждому изъ нихъ соотвѣтствуетъ опредѣленный иннерваціонный путь (J1—J2—J3).
Однако при попыткахъ приложить указанную схему къ клиническимъ случаямъ апраксіи и смежныхъ съ нею явленій приходится ввести въ нее еще новыя понятія. Эта схема претендуетъ объяснить не только апраксію, но многое въ неврологіи и психіатріи; можетъ быть въ этомъ ея существенный недостатокъ (фиг. 2).
Фиг. 2.
Новыя понятія въ этой схемѣ касаются прежде всего—„z“, т. е. частныхъ представленій. По Liepmanny „z“ есть представленіе о томъ пути, который проходитъ тотъ или иной органъ при своемъ движеніи, слѣдовательно, это пространственное представленіе (W—wegevorstellung), которое опредѣляется нашими органами чувствъ по преимуществу, а кромѣ того путемъ ощущеній самаго движенія, т. е. кинэстетическимъ чувствомъ. Поэтому то въ полной схемѣ „Z“ и замѣнено инымъ обозначеніемъ, а именно „W0K“.
Принимая во вниманіе сказанное, мы слѣдующимъ образомъ должны прилагать схему Liepmann’a. къ потребностямъ объясненія клиническихъ случаевъ (см. фиг. 3).
Фиг.3. Схема по Liepmann-Лролю
Op, Ас, G, Ol, Та, Ми суть кортикальные аппараты нашихъ воспріятій въ области зрѣнія, слуха, вкуса, обонянія, тактильнаго и мышечнаго чувства и, если пораженіе локализируется въ этихъ областяхъ, то мы имѣемъ корковую слѣпоту, глухоту, корковую анэстезію или атаксію (пораженіе 1).
Если мы имѣемъ пораженіе (2) въ томъ мѣстѣ головного мозга, гдѣ проходятъ пути отъ корковыхъ центровъ воспріятій къ областямъ, гдѣ надлежитъ совершаться процессамъ идентификаціи, то мы воспринимаемъ, но не узнаемъ видимаго, слышамаго, осязаемаго и т. д. Это именно то, что входитъ въ группу агнозій — какова душевная слѣпота, словесная глухота и пр.
Третій видъ разстройствъ (3) возможенъ тогда, когда пораженіе захватываетъ область между „A“ и „Z“, т.е. основное представленіе вырабатывается, но цѣлевое не можетъ быть воспроизведено потому, что прерванъ путь ассоціативныхъ комбинацій. Сюда относятся психическія разстройства съ нарушеніемъ ассоціативной дѣятельности (сравн. схему 1).
Далѣе, нарушеніе психомоторнаго процесса можетъ наступить тамъ, гдѣ вырабатывается двигательная формула движенія. Больной знаетъ, что ему слѣдуетъ сдѣлать, т. к. представленіе цѣли у него существуетъ, но онъ не знаетъ какъ это нужно сдѣлать, ибо двигательная формула, какъ таковая не слагается и больной вмѣсто того, чтобы сдѣлать одно, дѣлаетъ другое или совсѣмъ ничего не дѣлаетъ. Это будетъ „идеаторная апраксія“.
Пятый (5) случай представляетъ „моторную апраксію“. Разстройство движенія здѣсь происходитъ потому, что разстраивается связь двигательнаго представленія съ двигательной центральной иннерваціей. Нужно представлять себѣ дѣло такимъ образомъ. У больного существуетъ воспріятіе, онъ вырабатываетъ основное представленіе, у него есть представленіе цѣли, далѣе имъ выработана двигательная формула, но когда онъ пытается соединить эту формулу съ иннерваціонной областью, то оказывается, что дѣйствіе совершается не таковымъ, на которое онъ расчитывалъ. При чисто моторной апраксіи должно быть совершенно исключено явленіе агнозіи, должна существовать цѣлость оптическихъ и кинэстетическихъ образовъ; лишь при этихъ условіяхъ можно допустить нарушеніе въ области ведущей къ иннерваціонной.
Шестой случай (6) нарушенія допустимъ тогда, когда страдаетъ область самихъ кинэстетическихъ воспріятій; это т. наз. „душевный параличъ“ (Bruns, Bleuer).
Въ седьмыхъ (7) мы имѣемъ обыкновенный центральный параличъ.
И, наконецъ, въ восьмыхъ (8)—„атаксіи“, когда поражается периферическій аппаратъ, несущій къ нашему сознанію кинэстетическія ощущенія.
Если мы примемъ во вниманіе цѣли, къ которымъ стремится только что представленная схема, то согласимся, что ученіе объ апраксіи дѣлаетъ смѣлую попытку многое въ невропатологіи включить въ свою программу. Въ самомъ дѣлѣ, съ точки зрѣнія схемы будетъ совершенно безразлично чѣмъ и какъ будетъ проявлено растройство движенія: рѣчью, выразительнымъ знакомъ, замѣняющимъ рѣчь, мимическимъ выраженіемъ лица, пластическимъ движеніемъ нашего тѣла или двигательнымъ актомъ, направленнымъ къ достиженію цѣли,—все это можетъ быть включено въ ученіе объ апраксіи. Dromard 12), недавно посвятившій свою монографію вопросу о мимикѣ у душевно-больныхъ, разсматриваетъ амимію, парамимію и пр., аномаліи эмотивныхъ движеній, какъ явленія апрактическаго характера.
Ограничившись пока этими замѣчаніями, мы приведемъ клиническое описаніе случая, наблюдавшагося нами въ амбулаторіи клиники нервныхъ болѣзней.
Больная А. Л. Д., 32 лѣтъ, замужняя, православная, русская, неграмотная, занимается домашнимъ хозяйствомъ, живетъ вмѣстѣ со своимъ мужемъ въ Одессѣ всего 2 года.
Анамнестическія свѣдѣнія получены отъ самой больной, но тщательно провѣрены со словъ ея мужа.
Отецъ, по словамъ больной, человѣкъ здоровый; въ настоящее время имѣетъ около 60 лѣтъ отъ роду; съ молодыхъ лѣтъ пьетъ водку, временами напивается и допьяна. Мать жива, обладаетъ удовлетворительнымъ здоровьемъ. Дѣдъ со стороны отца былъ человѣкомъ здоровымъ, умеръ 70-ти лѣтъ. Дѣда по матери больная не помнитъ. Бабка съ отцовской стороны страдала какими-то припадками съ потерей сознанія, со стороны матери бабушка умерла и незадолго до смерти проявляла призники душевнаго разстройства. Братья и сестра отца и матери здоровы.
Кромѣ больной въ семьѣ ея родителей было 10 ч. дѣтей; въ живыхъ одна сестра и 6 братьевъ. Одинъ изъ братьевъ въ дѣтствѣ страдалъ ночнымъ недержаніемъ мочи и по ночамъ „ходилъ“; у матери былъ 1 выкидышъ и одни роды произошли близнецами.
Больная родилась въ срокъ, по счету второй, въ то время, когда отцу было 30, а матери 20 лѣтъ; беременность ею протекала правильно. Свое дѣтство и юность провела въ деревнѣ, занимаясь хозяйствомъ; перенесла еще въ дѣтствѣ какое-то инфекціонное заболѣваніе, не оставившее никакихъ послѣдствій. Характеромъ всегда обладала веселымъ и, по словамъ мужа, знавшаго ея съ дѣтства, была очень смышленной дѣвушкой. 16 лѣтъ она вышла замужъ и только спустя годъ начала менструировать. У больной всего было 5 беременностей, но въ живыхъ только одинъ сынъ. Первая беременность наступила на 19-мъ году,—ребенокъ умеръ отъ недостаточнаго ухода. Второй родился въ срокъ, живъ сейчасъ и здоровъ. Третій родился доношеннымъ, но мертвымъ; четвертый и пятый умирали въ первые мѣсяцы отъ дѣтскихъ поносовъ.
Мужъ больной категорически отрицаетъ у себя lues; физически онъ совершенно здоровъ, очень хорошаго тѣлосложенія и питанія.
Начало заболѣванія совпадаетъ съ восьмымъ мѣсяцемъ первой беременности. По словамъ мужа, днемъ больная почувствовала упорную головную боль, тошноту и головокруженіе, а ночью съ ней случился припадокъ, сопровождавшійся потерей сознанія и судорогами; такихъ припадковъ въ теченіе сутокъ было очень много, одинъ смѣнялся другимъ и сознаніе между ними едва прояснялось. Въ это время больная и произвела на свѣтъ ребенка, родившагося живымъ, но спустя мѣсяцъ онъ скончался, такъ какъ, въ виду болѣзни матери, за нимъ былъ проявленъ весьма слабый надзоръ и попеченіе.
Послѣ того какъ прекратились припадки, больная не приходила въ полное сознаніе, и въ теченіе приблизительно одной недѣли ничего не видѣла. Зрѣніе возстановилось, но лишь мало по малу она начала оріентироваться въ окружающей обстановкѣ. Въ чемъ собственно проявлялась спутанность сознанія довольно трудно возстановить даже по разсказамъ ея мужа, но есть основаніе думать, что неспособность оріентироваться въ окружающемъ и была причиной этой спутанности. Сначала больная неправильно отвѣчала на вопросы, но потомъ давала правильные отвѣты, оставаясь однако „странной“, не знала напр., „что надо дѣлать“, „куда что положить, гдѣ и что поставить“ и т. д. Ранѣе она была очень не дурной рукодѣльницей, а послѣ болѣзни потеряла способность шить и вышивать, даже тогда, когда ей укажутъ, какъ это надо сдѣлать. Но особенно поразилъ окружающихъ слѣдующій фактъ. Послѣ болѣзни больная отправилась въ сосѣднюю деревню къ своей матери, гдѣ она бывала очень часто и дорога куда была ранѣе для нея хорошо знакома. Однако она не попала туда, а очутилаль въ сосѣдней деревнѣ. Изъ разспросовъ оказалось, что по пути въ деревню матери дороги расходятся и, дойдя до перепутья, больная не знала, куда слѣдуетъ идти, такъ какъ не могла сообразить, какъ нужно повернуть въ сторону отъ принятаго ею прямого направленія.
Съ тѣхъ поръ больную нельзя было отпускать куда-либо одну, а требовался всегда провожатый, который указывалъ, какое направленіе она должна взять. За 14 лѣтъ болѣзни симптомъ этотъ мало измѣнился къ лучшему,—больная попрежнему не оріентируется въ окружающей мѣстности.
Въ настоящее время жалобы больной сводятся къ тому, что она, будучи физически здоровымъ человѣкомъ, не можетъ никуда выходить одна, такъ какъ не знаетъ, какъ возвратиться домой, гдѣ она должна повернуть направо, гдѣ налѣво, какъ войдти въ домъ, въ которомъ она живетъ; кромѣ того, она совершенно разучилась совершать ручную работу— шить, вышивать и чувствуетъ, что благодаря всему этому является тяжелой обузой для семьи.
Чтобы подробнѣе изучить особенности указанныхъ симптомовъ, мы подвергли разспросамъ ея мужа, который могъ, конечно, привести намъ цѣлый рядъ фактовъ, указывающихъ, что мы имѣемъ дѣло съ чрезвычайно сложнымъ состояніемъ, со своеобразнымъ нарушеніемъ способности оріентироваться въ пространствѣ.
Такъ, удалось выяснить, что больная можетъ правильно совершать движенія, походка ея нисколько не затруднена, если опа совершаетъ движеніе по прямой линіи, но, если ей приходится рѣшать вопросъ, куда слѣдуетъ повернуть направо или налѣво, то она не въ состояніи рѣшить его, такъ какъ не знаетъ, какъ сдѣлать поворотъ, чтобы вновь идти прямо. Мужъ ея напр., вспоминаетъ, что живя въ Москвѣ, онъ попросилъ однажды жену одну пройдти по улицѣ къ назначенной имъ цѣли, объяснивъ предварительно, что сначала она должна идти прямо и, дойдя до перекрестка, свернуть направо или налѣво, самъ же продолжалъ слѣдить за женою. Она пошла прямо, дошла до мѣста поворота, постояла и вновь двинулась впередъ до тѣхъ поръ, пока не попала въ одинъ изъ московскихъ тупиковъ и остановилась окончательно не зная, что дѣлать дальше. Если ей теперь приходится идти по улицѣ, гдѣ находится ея квартира, то она идетъ прямо до самаго дома, но когда подходитъ къ воротамъ, то уже требуется указаніе посторонняго человѣка, если нужно повернуться въ ту или иную сторону, въ противномъ случаѣ она долго будетъ стоять на одномъ мѣстѣ и съ весьма большими затрудненіями рѣшитъ необходимый шагъ. Въ пространствѣ небольшихъ размѣровъ симптомъ этотъ не выступаетъ столь рѣзко. У себя дома она можетъ оріентироваться относительно сносно, но постоянно путаетъ направленіе, когда нужно идти, напр. изъ кухни въ ту или другую комнату, хотя ихъ всего двѣ. Если ей нужно, что-либо вынести въ сѣни она несетъ въ противоположномъ направленіи и послѣ долгихъ усилій поправляетъ свою ошибку.
Кромѣ этого она утеряла способность производить ручную работу. Она знаетъ что нужно сдѣлать, но не знаетъ, какъ это дѣлается. Такъ во время шитья или вышиванія не умѣетъ закрѣпить узелъ, не знаетъ, какъ провести иглу на другую сторону матеріи; если ей приходится пришить заплату, то она не знаетъ, какъ правильно приладить ее къ отверстію, а если дать ей розрозненные два куска скроеной матеріи, то она не можетъ сложить и сшить, хотя и знаетъ прекрасно, что изъ этихъ кусковъ должно получиться.
Все это особенно бросается въ глаза, если принять во вниманіе, что до болѣзни она дѣлала вполнѣ правильно и даже больше, такъ какъ, по ея словамъ, имѣла ученицъ, своихъ подругъ, выучивъ ихъ шитью, кройкѣ и различнымъ вышиваніямъ.
Далѣе, въ число болѣзненныхъ явленій мужъ, да и сама больная, включаетъ слѣдующее: она потеряла способность правильно, симметрично и цѣлесообразно размѣщать какіе либо предметы. Если ей приходится приготовить, напримѣръ, чайный столъ, разставивъ посуду, то она сдѣлаетъ это далеко не такъ, какъ принято и какъ она дѣлала раньше,—стаканы поставитъ на мѣстѣ подноса для самовара или въ безпорядкѣ на краю стола и т. п. Благодаря этому она совершенно отказалась производить подобную работу въ присутствіи гостей и всегда поручаетъ дѣлать это или мужу, или кому-либо изъ близкихъ знакомыхъ. Даже, если ей нужно взять стулъ, поставить его къ столу, то стулъ она поставитъ бокомъ такъ, что на немъ неудобно сидѣть. Въ церквѣ, во время службы она часто стоитъ бокомъ къ алтарю и не знаетъ, какъ нужно исправить свое положеніе. Кромѣ всего сказаннаго мужъ добавляетъ, что если по пути больная встрѣчается съ препятствіемъ, напр., канавой, лужей, при чемъ есть возможность обойти это препятствіе, то она приходитъ въ замѣшательство, какъ бы выбираетъ дорогу, но въ концѣ концовъ идетъ впередъ и препятствія не минуетъ.
Вотъ основной характеръ симптомовъ у нашей больной. Сама она не только не отрицаетъ приведеннаго выше, но охотно поясняетъ примѣрами; въ этомъ направленіи ее можно считать даже болтливой,—перебиваетъ мужа, вмѣшиваясь въ бесѣду, однако внимательно слѣдитъ за разсказомъ и не отступаетъ отъ логической послѣдовательности.
Больная была подвергнута тщательному и многократному изслѣдованію, какъ со стороны душевной, такъ и состороны физической, при чемъ удалось обнаружить, что она вполнѣ сознательно относится къ своему болѣзненному состоянію. Она понимаетъ, что для окружающихъ является весьма тяжелой обузой, горько плачетъ, сознавая, что не можетъ какъ слѣдуетъ ухаживать за своимъ сыномъ, а мужа заставляетъ краснѣть передъ другими. Сознаніе личности у нея сохранено вполнѣ; она знаетъ, гдѣ находится и кто ее окружаетъ; во времени оріентируется вполнѣ удовлетворительно. Бредовыхъ идей у нея нѣтъ, не было и ранѣе въ теченіе всей ея 14-лѣтней болѣзни. Рѣчь послѣдовательна и логически правильна.
Память прошлаго сохранена удовлетворительно; безъ особеннаго труда она могла сообщить о себѣ анамнестическія свѣдѣнія точно и опредѣленно съ необходимыми подробностями до времени ея заболѣванія; начальный періодъ заболѣванія вспоминается больной съ большимъ трудомъ. По словамъ мужа однако память за послѣднее 14 лѣтъ ухудшилась, хотя онъ не склоненъ отмѣтить прогрессивнаго ухудшенія. Она напр., не рѣдко забываетъ о такихъ вещахъ, которыя казалось бы должна хорошо помнить (приходится ей напоминать, что сегодня день назначенъ дли стирки бѣлья и пр. мелочи домашняго хозяйства). Однако дефекты, безъ сомнѣнія существующіе, не обращаютъ на себя особеннаго вниманія окружающихъ и не рѣзко выражены. Въ сферѣ пассивнаго и активнаго вниманія также не наблюдается какихъ-либо рѣзкихъ измѣненій; безъ труда удается поддерживать съ больной довольно продолжительную бесѣду. Соображаетъ больная въ границахъ доступнаго ей пониманія удовлетворительно.
Обращаясь къ характеристикѣ сферы ея чувства, нужно указать, что физическое самочувствіе у нея не нарушено; но, благодаря безпомощности, она не считаетъ себя здоровой; это послѣднее является нерѣдко причиной ея слезъ и удрученнаго настроенія. Больная всегда была человѣкомъ веселымъ и во время болѣзни сохранила эту веселость, однако, говоритъ мужъ, теперь веселость иная, въ ней какъ бы встрѣчаются слѣды нѣкотораго недомыслія,—шутки не блещатъ остроуміемъ, словоохотливость граничитъ съ назойливостью. Наблюдаются дефекты и въ сферѣ ея моральнаго чувства. Такъ, по словамъ мужа, ея отношеніе къ ребенку заставляетъ желать много лучшаго,—въ этихъ отношеніяхъ нѣтъ теплоты и участія,— все сводится на формальное отношеніе, скорѣе проявляемое по обычаю, чѣмъ по личной иниціативѣ. Отношеніе къ мужу тоже формальное; потребность половой жизни мужъ считаетъ ослабленной.
Въ сферѣ воли приходится отмѣтить пониженіе иниціативы, но трудно рѣшить зависитъ ли это отъ основныхъ симптомовъ ея страданія или отъ пониженія интеллекта. Правильнѣе сдѣлать допущеніе, что и то и другое обстоятельство оказываютъ вліяніе на волевую дѣятельность нашей больной.
Такимъ образомъ, на основаніи приведенныхъ данныхъ, мы склонны считать больную за субъекта съ умѣреннымъ пониженіемъ умственныхъ способностей;не можетъ подлежать никакому сомнѣнію, что это пониженіе стоитъ въ прямой связи съ ея болѣзнью, а не является врожденнымъ.
Въ виду своеобразности наблюдаемыхъ у больной симптомовъ, мы старались по возможности приблизиться къ уясненію ихъ путемъ детальныхъ разспросовъ, личнаго наблюденія и опыта.
Первый вопросъ, который намъ представлялось необходимымъ выяснить это,—отъ чего происходитъ своеобразное разстройство въ волевыхъ движеніяхъ больной. Можетъ быть зрительныя воспріятія окружающей мѣстности и окружающей обстановки слишкомъ слабо фиксируются въ сознаніи больной, можетъ быть они слишкомъ слабо запоминаются, благодаря чему больная, чувствуя новизну окружающихъ условій, дѣлается неувѣренной, нерѣшительной въ своихъ движеніяхъ и „не знаетъ“, „куда“ нужно идти, чтобы достигнуть цѣли. Но есть полное основаніе думать, что болѣзненный симптомъ происходитъ не отъ этого. Мы попросили больную описать намъ обстановку, въ которой она живетъ, расположеніе комнатъ, что и гдѣ стоитъ въ комнатѣ, какія постройки находятся во дворѣ, описать наружность домовъ, находящихся рядомъ, расположеніе комнатъ у ея знакомыхъ и т. д., касаясь мелкихъ подробностей, раскрашивая о формѣ и цвѣтѣ предметовъ; далѣе мы попросили возстановить въ памяти мѣстности, въ который она жила ранѣе, и весь полученный матеріалъ провѣрили разспросами присутствующаго здѣсь же мужа. Оказывается разсказъ вполнѣ соотвѣтствуетъ дѣйствительности, изъ чего мы должны заключить, что причина указаннаго выше разстойства зависитъ не отъ неузнаванія мѣстности, т. к. воспоминанія о ней сохраняются хорошо. Если можно такъ выразиться, теоретически цѣль дѣйствія достигается, но нарушеніе видимо встрѣчается въ сферѣ практическаго выполненія. Слѣдуетъ однако замѣтить, что больная, передавая намъ описаніе мѣстности съ видимымъ затрудненіемъ обозначала направленіе словами „направо“, „налѣво“ и какъ бы реально хотѣла воспроизвести мѣстоположеніе предмета по ту или другую сторону своего тѣла; это не всегда ей удавалось и мужу приходилось дѣлать поправки.
Намъ лично не разъ приходилось видѣть замѣшательство больной въ то время, когда нужно было сдѣлать поворотъ тѣла въ ту или иную сторону, сообразно съ необходимостью выполнить цѣлевое движеніе путемъ передвиженія всего тѣла въ пространствѣ. Мы умышленно, при посѣщеніяхъ больной клиники, ставили ее въ новыя условія обстановки, давая, однако, одну и ту же задачу: самостоятельно совершить путь обратно по тому же направленію, по которому она шла вмѣстѣ съ нами. Лишь только больная доходила до того мѣста, гдѣ необходимо было сдѣлать поворотъ, она явно затруднялась въ выборѣ направленія, не зная, какъ нужно поступить, чтобы продолжать путь; преодолѣвъ это препятствіе, она шла прямо до слѣдующаго поворота и т. д. Далѣе мы постарались экспериментально воспроизвести нѣкоторые изъ наблюдающихся у больной симптомовъ Такъ, воспользовавшись лабораторной посудой, мы попросили разставить ее на столѣ въ томъ порядкѣ, въ какомъ мы укажемъ. Въ сущности пустая работа удавалась ей съ большимъ трудомъ и далеко не совершенно. Располагая банки крестомъ, по двѣ, по три врядъ и т. д. она очень слабо сообразовалась съ законами симметріи, затрудняясь, куда слѣдуетъ поставитъ предметъ направо или налѣво для того, чтобы задача была выполнена. Помимо этого были поставлены опыты для опредѣленія, въ какой мѣрѣ пострадала у нашей больной комбинаторная способность. Мы воспользовались для этого методикой, рекомендуемой Психо-неврологическимъ Институтомъ проф. В. М. Бехтерева и пріемами, употребляемыми въ Москов. централ, пріемномъ покоѣ для душевно-больныхъ прив.-доц. Берншейномъ. Больной предложены были для складыванія разрѣзанныя картинки. Даже наиболѣе простая задача № 1 оказалось ей не подъ силу, при чемъ обнаружено, что начала она работу безъ предварительнаго ознакомленія съ содержаніемъ картинки и обращала вниманіе главнымъ образомъ на правильность совпаденія разрѣза; однако это именно послѣднее и не удавалось ей,—она не могла положить одинъ отрѣзокъ къ другому параллельно, а ставила ихъ наискось, неправильно.
Кромѣ всего этого мы просили больную при насъ заняться шитьемъ и вышиваніемъ по канвѣ и гладью и могли воочію убѣдиться, что даже человѣкъ совершенно неумѣющій вышивать или шить, могъ бы сдѣлать это съ большимъ успѣхомъ, чѣмъ наша больная 1.
Напримѣръ, при вышиваніи она не умѣетъ сдѣлать креста на канвѣ потому, что не знаетъ, какъ нужно провести иглу въ правую или лѣвую клѣтку канвы, чтобы получился крестъ; тоже самое получается и при работѣ гладью. При шитьѣ скроенной матеріи ея затрудняетъ прилаживаніе отдѣльныхъ отрѣзковъ, а кромѣ того и работа иглой, т. к., проведя нитку на обратную сторону матеріи, она уже не можетъ помѣстить стёжекъ на соотвѣтствующемъ мѣстѣ. Все это производитъ впечатлѣніе, что передъ нами работница, у которой впервые въ рукахъ игла.
Особенности разстройствъ цѣлевыхъ движеній убѣждаютъ насъ въ томъ, что у больной пострадали прежде всего пространственныя представленія, при чемъ они оказываются нарушенными не только по отношенію къ движеніямъ въ рукахъ, но и по отношенію къ передвиженіямъ всего тѣла въ пространствѣ.
Физическій осмотръ и изслѣдованіе указали, что больная средняго роста, удовлетворительнаго питанія и тѣлосложенія; подкожный жировой слой развитъ умѣренно, кожные покровы чисты. Со стороны внутреннихъ органовъ нами ничего патологическаго не обнаружено.
Активныя движенія конечностями совершаются вполнѣ правильно; при пассивныхъ мы не встрѣчаемъ какого либо препятствія, объемъ движеній нормаленъ. Физическая сила умѣренная, но по сравненію той и другой половины тѣла оказывается, что грубая сила при пожиманіи руки ослаблена на правой половинѣ. Больная не лѣвша, но по динамометру правой рукой выжимаетъ 15 дѣленій, лѣвой 17 по нижней скалѣ. Бъ ногахъ едва замѣтное ослабленіе силы справа. Въ лицѣ легкая ассиметрія: правая носогубная складка нѣсколько сглажена, лѣвый уголъ рта при показываніи зубовъ оттягивается энергичнѣе праваго. Языкъ въ сторону не уклоняется. Кромѣ сказаннаго въ остальныхъ черепныхъ нервахъ нарушеній нѣтъ. Зрачки нормальной величины; на свѣтъ и конвергенцію сохраняютъ живую реакцію. Сухожильные рефлексы съ lig. patellae живые, одинаковы на той и другой ногѣ. Рефлексы съ biceps et triceps, brachii въ предѣлахъ нормы. Кожные и со слизистыхъ оболочекъ сохранены.
Кожная чувствительность сохранена на всей поверхности тѣла и на всѣ виды. Стереогностическое чувство не разстроено.
Атактическихъ явленій ни въ верхнихъ, ни въ нижнихъ конечностяхъ нѣтъ. Глубокое мышечное чувство сохранено.
Изслѣдованіе органа зрѣнія произведено было прив.доц. В. П. Филатовымъ, за что считаю долгомъ поблагодарить его. Глазное дно оказалось нормальнымъ, острота зрѣнія тоже, со стороны глазныхъ мышцъ никакихъ уклоненій. Единственная находка, на которую пришлось натолкнуться это при изслѣдованіи поля зрѣнія, а именно,—суженіе поля зрѣнія на правомъ глазу (см. схему фиг. 4). Боясь, что подобная картина дѣло случайности (больная могла давать ошибочныя показанія), мы нѣсколько разъ повторяли это изслѣдованія и результаты получали одни и тѣ же.
Фиг.4 Схема изслѣдованіе поля зрѣнія
По мнѣнію спеціалиста—офтальмолога, результаты изслѣдованія нельзя игнорировать, хотя бы потому, что въ самомъ началѣ заболѣванія у больной наблюдалась кратковременная слѣпота, но чрезвычайно трудно дать объясненіе подобному суженію поля зрѣнія и только на правомъ глазу.
Добавимъ, что при изслѣдованіи мочи не найдено ни бѣлка, ни сахара, соли выпадаютъ въ весьма умѣренномъ количествѣ.
Такимъ образомъ, результаты физическаго изслѣдованія безъ сомнѣнія убѣждаютъ насъ, что у больной есть наличность страданія головного мозга,—у нея легкій hemiparesis dextra. Но труднѣе рѣшить вопросъ,—стоитъ онъ въ связи съ остальными симптомами страданія или нѣтъ. Жалобъ на слабость въ правой рукѣ и ногѣ, нужно имѣть въ виду, больная никогда не заявляла. Намъ ее пришлось открыть лишь путемъ объективнаго изслѣдованія. Однако мы беремъ на себя смѣлость заявить, что физическія и душевныя явленія у больной не есть простое совпаденіе, а стоятъ другъ отъ друга въ тѣсной зависимости, и если больная не замѣчала отмѣченной слабости, то только потому, что выражена она очень незначительно.
Желая освѣтить клиническую картину нашего случая подобными же наблюденіями другихъ авторовъ, мы при тщательныхъ разыскахъ въ доступной для насъ литературѣ не нашли вполнѣ аналогичнаго случая, но натолкнулись на нѣчто подобное.
D-r. Rose 13) описалъ случай, въ которомъ апрактическія явленія касались мышцъ шеи. Больной не умѣлъ совершать движенія головой въ стороны тогда, когда въ этомъ являлась потребность по его личной иниціативѣ.
Съ нашей точки зрѣнія еще большимъ интересомъ можетъ пользоваться случай H. W. Rhein’а 14), недавно описанный въ американской литературѣ.
Дѣло касается больного 55 л., у котораго имѣлось слѣпота центральнаго происхожденія. Интеллектъ былъ вполнѣ сохраненъ, память хорошая. Кромѣ того у него имѣлся парезъ лѣвой руки съ нарушеніями тактильнаго и температурнаго чувства при отсутствіи атактическихъ явленій. Апрактическія явленія выражались тѣмъ, что больной неправильно выполнялъ цѣлевыя движенія: вмѣсто того, напр., чтобы послушать тиканіе часовъ и поднести ихъ къ уху, онъ подноситъ ихъ ко рту, чтобы выпить изъ стакана, онъ подносилъ его къ подбородку. Но особенно выступалъ рельефно слѣдующій симптомъ, очень близко напоминающій нашъ. Больной потерялъ способность совершать движенія при ходьбѣ въ прямомъ направленіи; когда ему нужно было идти прямо къ цѣли, то вмѣсто этого онъ постоянно шелъ въ сторону. Правда, больной быль слѣпъ, но своеобразная походка не могла зависитъ отъ боязни, такъ какъ онъ не могъ совершить правильнаго движенія и тогда, когда ему указывали, что впереди нѣтъ никакого препятствія. Вотъ сколько нибудь напоминающій нашъ случай, цѣнный еще потому, что post mortem больной подвергся вскрытію, о чемъ мы сообщимъ ниже.
Ученіе объ апраксіи являлось бы безпочвенннымъ, если бы патолого-анатомическія изслѣдованія не указывали, что между локализаціей и клиническими симтомами существуетъ зависимость. Правда, мы еще не можемъ сказать, что вопросъ этотъ окончательно разрѣшенъ, но и то немногое, что имѣется до сего времени, позволяетъ говорить объ органической основѣ апраксіи и приблизительно локализировать страданіе. Особенно цѣнными нужно считать случаи одностороннихъ апрактическихъ разстройствъ, сопровождавшихся вскрытіями. Таковы случаи Liepmann’а 7), В. М. Бехтерева 8), Westphal’я, Strohmayer’а.
Въ случаѣ Liepmann’а наблюдалась апраксія правой стороны. На вскрытіи найдено пораженіе лѣваго полушарія, при чемъ центральныя извилины оказались окруженными гнѣздами размяченія; два фокуса находились въ лобной доли, темянная доля оказалась тоже измѣненной, особено въ g. supramarginalis; пораженъ былъ cingulus, разрушено corpus callosum, кромѣ sphlenium. Кромѣ того два фокуса обнаружены и въ правомъ полушаріи.
Болѣе чистымъ въ патолого-анатомическомъ отношеніи мы должны считать случай правосторонней апраксіи проф. В. М. Бехтерева, такъ какъ на вскрытіи обнаруженъ фокусъ въ области передняго и средняго отдѣла g. supramarginalis и въ ооласти верхней части задней центральной извилины.
Въ случаѣ Westphal’я наблюдался очагъ размягченія съ правой стороны въ области лобной доли и затылочной.
Въ выше указанномъ нами случаѣ Rhein’а на вскрытіи найдены были кисты въ затылочно-темянной доли лѣваго полушарія, перерожденіе бѣлыхъ волоконъ въ правой затылочной, темянной и задней части височной доли.
Локализировать апраксію (подобно тому, какъ локализируется двигательная форма афазіи) чрезвычайно трудно. Но мы не можемъ умолчать о томъ, что проф. В. М. Бехтеревъ „апраксію ставитъ въ тѣсную связь съ пораженіемъ задней центральной извилины и прилежащаго отдѣла g. supramarginalis“.
Съ большей опредѣленностью можно говорить о томъ, при пораженіи какого полушарія мы чаще встрѣчаемъ явленія апраксіи. Ссылаясь на статистику Liepmann’а, мы можемъ указать, что изъ 83 гемиплегиковъ было 41 правостороннихъ и изъ нихъ въ 20 случаяхъ наблюдались апрактическія явленія, тогда какъ у остальныхъ 42 ихъ не было. По статистикѣ д-ра Кроля 11) изъ 83 гемиплегиковъ имѣли 38 правостороннюю гемиплегію, 40 лѣвостороннюю и 4 двустороннюю локализацію. У лѣвостороннихъ не было апраксіи, у правостороннихъ она встрѣчалась 19 разъ, а съ двусторонними очагами 1 разъ. Если это такъ, то не подлежитъ сомнѣнію, что пораженіе лѣваго полушарія въ преобладающемъ числѣ случаевъ вызываетъ апраксію.
Ученіе объ апраксіи подобно тому, какъ ученіе объ афазіи можно считать строго построеннымъ лишь тогда, когда психологическія схемы, находятъ доказательство въ схемахъ патолого-анатомическихъ, подтверждаемыхъ результатами вскрытій. Вполнѣ естественно, что патолого-анатомъ, предвидя результаты вскрытія на основаніи клиническихъ симптомовъ, имѣетъ основаніе построить схемы возможныхъ пораженій.
Этимъ путемъ легче подойдетъ къ вопросу о локализаціи и топической діагностики страданія. На этомъ основана схематизація патолого-анатомическаго характера.
Фиг. 5.
На этомъ основана схематизація патолого-анатомическаго характера.
На основаніи всего приведеннаго въ началѣ нашей работы, (см. схему № 3) мы должны допустить, что каждое цѣлесообразное движеніе можетъ совершиться тогда, когда къ центру, завѣдующему этимъ движеніямъ не разрушены пути, по которымъ идутъ, какъ прямыя возбужденія, такъ и коррективы этихъ движеній. Такими коррективами можно считать возбужденія, идущія съ различныхъ областей мозга, связанныя съ идеаціей самого движенія. Исходя изъ этого общаго положенія, мы должны предполагать, что разобщеніе двигательной области отъ другихъ областей мозга должно нарушить само движеніе и въ зависимости отъ мѣста нарушенія проявить это особенностью клинической картины.
Совершенно не предрѣшая вопроса, мы слѣдущимъ образомъ должны трактовать схему д-ра М. П. Никитина, не существенно видоизмѣненную нами (схема № 5-й).
Если мы имѣемъ пораженіе строго соотвѣтствующее двигательной зонѣ лѣваго полушарія, то естественно встрѣчаемся съ параличемъ правой половины и возможно съ явленіями корковаго раздраженія смежныхъ областей. Но въ этомъ же случаѣ можетъ наступить „диспраксія“ лѣвой руки потому, что въ процессъ могутъ быть вовлечены волокна, идущія отъ центра правой руки черезъ мозолистое тѣло; наблюдаются случаи, когда дѣло не доходитъ до паралича, а ограничивается легкой слабостью и явленіями напоминающими двигательную апраксію (Gliedkinetische Apraxie, иннерваціонная апраксія по Kleist’y, корковая по Heilbronner’у), тогда возможно допустить локализацію ниже, тотчасъ подъ корою. Если пораженіе находится въ centrum semiovale, въ бѣломъ веществѣ подъ корою, то благодаря нарушенію волоконъ проэкціонной системы получается параличъ правой половины, но т. к. одновременно съ этимъ могутъ быть разрушены волокна, идущія черезъ мозолистое тѣло, то и въ лѣвой рукѣ или ногѣ могутъ наступить диспрактическія разстройства.
Топическая діагностика бѣлаго вещества въ области мозолистаго тѣла основывается на слѣдующихъ данныхъ. Правая рука не испытываетъ разстройствъ въ сферѣ движенія, но диспрактическія разстройства наблюдаются въ лѣвой рукѣ. Изъ этого дѣлаютъ выводъ о преобладающемъ значеніи лѣваго полушарія.
Далѣе пораженіе можетъ локализироваться въ бѣломъ веществѣ темянной или затылочной доли, тогда двигательная область явиться разобщенной отъ указанныхъ территорій мозга, — въ результатѣ апраксія правой и диспраксія лѣвой половины. Наконецъ могутъ быть пораженными пути отъ двигательныхъ зонъ черезъ внутреннюю капсулу. Въ этомъ случаѣ наступаетъ обыкновеннаго параличъ противоположной половины тѣла.
Кромѣ приведенной схемы можно привести схему д-ра Кроля (фиг. № 6) въ общихъ чертахъ говорящую то же, что предыдущая схема. Для того же, чтобы объяснить правостороннюю апраксію можетъ служить т. наз. горизонтальная схема Liepmann’a (схем. № 7-й). При пораженіи въ пунктѣ I. нужно представлять поверхностную локализацію съ потерей кинэстетическихъ представленій (Seelenlähmung душевный параличъ Nothnagel’я, моторная асимболія Meynert’а, картикальная апраксія Heilbronner’а иннерваціонная апраксія Kleist’а).
Фиг. 6.
При пораженіи во II пунктѣ—моторная апраксія, въ пунктѣ III локализація идеаторной апраксіи.
Возвращаясь къ нашему клиническому случаю, намънеобходимо разрѣшить два вопроса, а именно: 1., къ какому виду апраксій мы должны его отнести—къ моторному или идеаторному, а 2., гдѣ, хотя бы приблизительно, слѣдуетъ локализировать пораженіе.
Фиг. 7.
Д-ръ М. П. Никитинъ 5) даетъ слѣдующіе отличательные признаки двигательной апраксіи. 1., Двигательная апраксія обычно захватываетъ отдѣльные члены тѣла. 2., Двигательная апраксія обнаруживается при простѣйшихъ дѣйствіяхъ. 3., Она обнаруживается и тогда, когда больному предлагается копировать дѣйствіе другого лица, дѣйствіе даже не отличающееся сложностью. Въ отличіе отъ двигательной, моторной, идеаторная характеризуется слѣдующими важнѣйшими признаками: 1., Она проявляется во всей мускулатурѣ тѣла 2., Идеаторная апраксія обнаруживается лишь при болѣе или менѣе сложныхъ движеніяхъ, тогда какъ простѣйшія выполняются вполнѣ правильно. „Когда больного заставить, говоритъ д-ръ Никитинъ, производить такія дѣйствія, выполненіе которыхъ требуетъ въ большей мѣрѣ предварительнаго внутренняго плана, то разстройство тотчасъ же обнаруживается, причемъ оно носитъ особый характеръ, близко напоминающій ошибочныя реакціи, которыя нерѣдко наблюдаются у здоровыхъ людей въ состояніи разсѣянности. 3., Подражаніе несложнымъ дѣйствіямъ другого лица при идеаторной апраксіи является сохраненнымъ.
Въ клинической практикѣ мы вправѣ конечно ожидать и комбинированныхъ случаевъ апраксіи. Въ рамки выше приведенныхъ пунктовъ нельзя уложить и наблюдаемый нами случай.
Можно ли считать, что разстройство движеній у нашей больной проявляется во всей мускулатурѣ, а не въ отдѣленныхъ членахъ. У нея разстроена способность поворачивать тѣло при ходьбѣ въ ту или иную сторону. Однако съ точки зрѣнія механики движеній при поворотахъ тѣла участвуютъ опредѣленныя группы мышцъ, дѣйствующихъ на подобіе обособленнаго органа, правда, болѣе сложно конструированнаго, чѣмъ для сгибанія и разгибанія руки или ноги и т. п., но не проще, чѣмъ для движенія впередъ въ формѣ мѣрнаго шага. Разстройство способности шить и вышивать явленіе конечно сложное, но дѣйствіе принадлежитъ опредѣленному органу.
Что же касается отличія двухъ видовъ апраксій на основаніи простоты или сложности дѣйствія, то и этотъ пунктъ можетъ быть истолкованъ различно. Сложнымъ дѣйствіемъ нужно считать то, въ составъ котораго входитъ большое количество психо-моторныхъ комплексовъ въ ихъ послѣдовательной зависимости, но дѣйствіе, съ этой точки зрѣнія, можетъ не казаться таковымъ, если путь къ достиженію цѣли является обыденнымъ, привычнымъ, а само дѣйствіе совершается безъ ощутимыхъ усилій нашего активнаго вниманія. Вышиваніе, шитье сложны по своему внутреннему механизму, но были обычны для нашей больной, благодаря ея многолѣтнему опыту.
Мы не отрицаемъ, что у больной апрактическія явленія могли носить характеръ „ошибочныхъ реакцій“, но это далеко не правило, т. к. наличность активнаго вниманія, напр., когда она шла куда либо, зная цѣль своего дѣйствія, или совершала работу, очень слабо помогала справляться съ основными симптомами. Наконецъ, нужно указать, что копировать дѣйствія вообще она могла, но копированіе значительно страдало, если дѣйствіе относилось къ разряду ей утерянныхъ. Такъ, она лучше совершала свой путь, если кто либо указывалъ ей дорогу, идя спереди, но повторить вышиванье, шитье, разставить стаканы, какъ ей показано, она была не въ состояніи,— характеръ разстройства оставался одинъ и тотъ же.
На основаніи всего этого мы не можемъ отнести нашъ случай исключительно къ идеаторной апраксіи; правильнѣе намъ кажется трактовать его, какъ смѣшанный, такъ какъ на основаніи клинической картины можно допустить, что наряду съ разлитымъ пораженіемъ головного мозга (обнаруженное нами пониженіе интеллекта) наблюдается явленія фокуснаго пораженія (Hemiparesis dextra).
Опираясь на вышеприведенную схему Lіертапп’а-Кроля, мы должны локализировать пораженіе въ пунктахъ 4, 5 и 7. Иначе говоря, у нашей больной сохранены центральные аппараты воспріятій, она узнаетъ то, что воспринимаетъ, основное представленіе вырабатывается, существуетъ наличность представленія цѣпи, но двигательная формула не слагается (идеаторная фаза), не переходитъ это формула и въ соотвѣтствующее движеніе или переходитъ въ значительными неправильностями; кинэстетическія воспріятія видимо сохранены, но существуетъ легкій парезъ правой ½ тѣла (пункт. 7).
Что касается вопроса объ анатомической локализаціи процесса, то естественно, что здѣсь мы должны остановиться на болѣе или менѣе вѣроятныхъ предположеніяхъ.
Правосторонній гемипарезъ говоритъ намъ за пораженіе лѣваго полушарія; убѣждаетъ насъ въ этомъ и наличность апрактическихъ явленій, совпадающая съ вышеприведенными статистическими выводами.
Что же касается болѣе точной топической діагностики, то на основаніи клиническихъ данныхъ возможно локализировать мѣсто пораженіе выше capsul. interna, въ centrum semiovale, а именно въ той области подкорковаго вещества, гдѣ одновременно могутъ быть поражены и пути ассоціаціоннаго характера къ двигательнымъ областямъ, можетъ быть, коммиссуральные въ corp. callosum и пути двигательнаго характера въ caps, interna. Судя по имѣющимся результатамъ вскрытій, нѣтъ ничего не вѣроятнаго, что и мы допустимъ пораженіе въ смежныхъ областяхъ съ двигательной, въ темянно-затылочномъ участкѣ лѣваго полушарія. Отнюдь не настаивая, а дѣлая лишь предположеніе,—не являются ли отчасти пораженными волокна къ зрительнымъ областямъ затылочной доли лѣваго полушарія. Можетъ быть этимъ обстоятельствомъ объясняется и картина эксцентрическаго суженія поля зрѣнія у нашей больной на правомъ глазу. Повторяемъ, въ виду клинической сложности нашего случая мы дѣлаемъ только предположенія. Возможно также, что процессъ не ограничился только этой локализаціей, а далъ фокусы корковыхъ пораженій и въ иныхъ областяхъ.
Намъ остается сказать нѣсколько словъ о причинѣ пораженія. Нужно признаться, что вопросъ этотъ не является для насъ яснымъ, хотя мы и предприняли возможные шаги для его выясненія. Анамнезъ заставилъ предположить,—нѣтъ ли у больной lues’a. Изъ пяти беременностей у больной въ живыхъ только 1 ребенокъ. Первый, родившійся во время начала заболѣванія, умеръ отъ недостаточнаго ухода. Этому можно довѣрить и на основаніи словъ больной и ея мужа. Второй совершенно здоровъ. Третій родился доношеннымъ, но мертвымъ, четвертый и пятый умирали въ дѣтскомъ возрастѣ отъ поносовъ. Такимъ образомъ подозрительно мы должны относиться къ 3-мъ родамъ. Этому можно противопоставить полную и заслуживающую довѣрія искренность мужа больной, отрицающаго у себя и его жены венерическое заболѣваніе.
Но въ анамнезѣ есть обстоятельство, на которое мы должны обратить вниманіе. Больная заявила, что первая беременность и четвертая сопровождались у нея судорогами и временной слѣпотой, при чемъ пояснила, что 4 роды она провела въ Москвѣ въ Бахрушинской больницѣ.
Узнавъ это, мы обратились съ просьбой прислать намъ копію скорбнаго листа и при любезномъ содѣйствіи г. директора прив.-доц. С. Ф. Чижа [2] вскорѣ получили полное подтвержденіе словъ больной.
Изъ исторіи болѣзни (№ 1810, 1906 г.) видно, что роды сопровождались судорожными припадками, изъ которыхъ одинъ былъ до, а 2 послѣ родовъ, въ мочѣ наблюдался бѣлокъ; первыя роды тоже сопровождались эклампсіей, о которой сообщала намъ больная.
Невольно возникаетъ предположеніе, что, если не lues игралъ роль въ происхожденіи страданія, то не играла ли роль эклампсія, развившаяся на почвѣ уреміи.
Вопросъ объ уреміи въ происхожденіи нервныхъ и душевныхъ болѣзней пока разработанъ довольно слабо. Но не подлежитъ сомнѣнію, что головныя боли, рвота, разстройство мыслительной способности, бредъ, деменція, паденіе моральнаго чувства, далѣе амаурозы, retinitis, парезы, спазмы, тетанообразные, эпилептиформные и даже истероподобные припадки должны быть отнесены на счетъ токсичности крови. Этой симптоматологіи можетъ удовлетворить и клиническая картина страданія нашей больной.
Мы уже старались отмѣтить, что между афазіей и апраксіей существуетъ близость,—онѣ родныя сестры одного и того же патолого-анатомическаго процесса. Близость же между афазіей и уреміей, при которой на ряду со спутанностью сознанія наблюдаются и афатическія явленія, можетъ указывать на сосудистыя разстройства, лежащія въ основѣ этихъ симптомовъ. Rose 16) разсматриваетъ афазію, какъ введеніе въ уремію и называетъ ее mono-aphasie въ своемъ случаѣ (В. И. Семидаловъ). Rusmann 17) думаетъ, что афазія рецедивирующаго характера можетъ быть единственнымъ симптомомъ уреміи, но „можетъ быть рядомъ съ правосторонней гемиплегіей“, Въ случаяхъ Vigouraux, Suquelier 18) и Fleury вмѣстѣ съ аментивной спутанностью наблюдались и разстройства рѣчи. Все это заставляетъ В. И. Семидалова 19) сдѣлать выводъ, что „можно говорить о локализированныхъ разстройствахъ рѣчи въ ходѣ уремическаго процесса“. А если это дѣйствительно такъ, то тоже самое можно сказать и по отношенію апраксіи.
По поводу афазій уремическаго происхожденія Meynert построилъ гипотезы ангіоспастическаго состоянія сосудовъ, въ зависимости отъ экссудата въ лимфатическихъ пространствахъ. Pierret 20) для локализированныхъ симптомовъ тоже настаиваетъ на ангіоспастическій теоріи, вполнѣ правильно, по нашему мнѣнію, замѣчая, что отъ спазма до органическаго суженія одинъ шагъ. Не совершился ли и у нашей больной этотъ шагъ, давъ въ результатѣ стойкій симптомокомплексъ вышеописанныхъ болѣзненныхъ явленій?
1 Больная демонстрировалась мною въ одномъ изъ засѣданій Общества Русскихъ Врачей при Император. Новор. Университетѣ. Здѣсь же были демонстрированы особенности разстройствъ ея движеній.
2 Считаю своимъ долгомъ принести самую искреннюю благодарность многоуважаемому С. Ф. Чижу за его любезный отвѣтъ.
Об авторах
В. Н. Образцов
Новороссійскiй Университет; Клиника нервныхъ болѣзней проф. Н. М. Попова
Автор, ответственный за переписку.
Email: info@eco-vector.com
прив.-доцент университета
Россия, Новороссійск; ОдессаСписок литературы
- Г. Идельсонъ. Современное состояніе ученія объ афазіи. Невр. Вѣст. 1897 г.
- В. Е. Ларіоновъ. Обзоръ работъ объ афазіи. Обозр. психіатр. 1898 г.
- D. Н. Charlton Bastian. Uber Aphasie und andere Sprachstörungen. Leipzig. 1902.
- Feud. Zur Auffassung der Aphasien. 1891
- Monakow. Aphasie und Diaschisis. Neur. Centralblatt. 1906. № 22.
- Pierre Marie. Revision de la question de l’aphasie. Sem. Medic. 1909 г.
- Liepmann. H. Das krankheitsbild der Apraxie («motorischen Asymbolie»). Berlin 1900. Онъ-же. Drei aufsätze aus dem Apraxiegebiet. Berlin 1908.
- Бехтеревъ. В. M. О локализаціи двигательной апраксіи. Обозр. Псих. 1906 г. № 1. Онъ-же. Отчеты научныхъ собраній врачей Спб. клиники нервн. и душевн. болѣзней за 1902—1903 г. To-же за 1907 г.
- Arnold Pick. Studien über motorische Apraxie. Wien und Leipzig. 1905.
- Kleist. Ueber Apraxie. Monats. f. Phych. ü Neurol. 1906 г. Онъ-же. Kartikale Apraxie. Jurn. f. Psych. 1907.
- Кроль M. Б. Современное положеніе вопроса объ апраксіи. Журналъ Корсакова 1908 г. кн. 2.
- Dromard. La mimique chez des aliénés. Paris. 1909.
- Rose. De l’apraxie des muscles cephaliques. La Sem. Medic. 1809. № 17. Онъ-же De l’apraxie. L’Encephale 1907 г.
- H. W. Rhein. Cas of. prob. Apraxie. Amer. Journ. f. ment. et nerv. 1907.
- Никитинъ M. П. Объ апраксіи. Врач. Газет. 1909 № 49—50.
- Rose. Aphasia als Einleit. eines uräm. Anfalls. Цит. къ Семидалову.
- Цит. по Семидалову.
- Vigouraux et Juquelier. Delire et petit brightisme Arch. d. Neurol. 1903.
- В. И. Семидаловъ. Психическія разстройства при уреміи 1903. Соврем. Психіатр. 1907.
- Pierret. L’uremie à forme nerveuse. Progr. Medic. 1896 г. — Подробный литературный указатель см. Felix Kose. De L’Apraxie. L’Encephale 1907 г. стр. 542. M. П. Никитинъ. Объ апраксіи. Врач. Газета. 1909 № 49—50.
Дополнительные файлы










