Structural and parametric identification of the circular transfer table
- Authors: Lysov V.E.1, Polyakov V.A.1
-
Affiliations:
- Samara State Technical University
- Issue: Vol 28, No 4 (2020)
- Pages: 131-141
- Section: Electrical Engineering
- URL: https://journals.eco-vector.com/1991-8542/article/view/61168
- ID: 61168
Cite item
Full Text
Abstract
The paper discusses the issue of improving the accuracy of reproducing the task signal by a circular transfer table, which is most widely used both for autonomous operation and as part of electromechanical systems, for example, coordinate boring machines. The disadvantage of traditional table designs is the presence of backlash in the supply of motion from the electric motor to the faceplate, the faceplate fixing devices, that limits the static and dynamic accuracy in the faceplate position and, consequently, in the processing of the part. The paper discusses a fundamentally new design of the table - in the form of a mechatronic module, which has the electric motor and faceplate connected without a gearbox. This made it possible to eliminate the disadvantages of the traditional transfer table and ensure high statistical and dynamic accuracy in reproducing the task signal.
Full Text
В автоматизированном машиностроении для создания современных технологических машин необходимо использовать разнообразные приводные модули, к которым предъявляется комплекс жестких требований. Основными из них являются высокая точность выполнения исполнительных движений, снижение массы и габаритов, надежность в работе и большой срок службы, возможность применения оборудования в широком диапазоне температур окружающей среды, при воздействии вибраций и других возмущений или помех. Аналогичные приводные модули применяются, например, для осуществления движения разнообразных сборочных устройств, рабочих органов лазерных технологических комплексов, позиционно-следящих устройств металлорежущих станков и механообрабатывающих роботов [1, 2]. Требования к точности, скорости и развиваемым усилиям исполнительных движений определяются особенностями технологической операции, которую требуется автоматизировать, а необходимость встраивания привода в технологическую машину требует сведения размеров привода к минимуму. При попытке синтеза модуля из серийно выпускаемых имеющихся в наличии компонентов могут быть получены технически и экономически неэффективные решения, поэтому проектирование узкоспециализированного приводного модуля, который наиболее полно отвечает предъявляемым требованиям, часто является более целесообразным. Обеспечение компактности конструкции приводного модуля, встраиваемого в технологическую машину, имеет особое значение в ряде практических применений [3, 4].
Рассмотрим проблему повышения точности воспроизведения заданной траектории движения на примере поворотного стола. Оснащение поворотным столом металлорежущего станка, например координатно-расточного или координатно-шлифовального, позволяет выполнять многообразные операции с одной установки. Это расширяет функциональные возможности станка, позволяет повысить его производительность и точность обработки.
Существующие конструкции поворотных столов, оснащенные электроприводами подачи, имеют существенный недостаток – наличие червячного редуктора между приводным электродвигателем и планшайбой, на которой устанавливается деталь для обработки или инструмент. Редуктор для компенсации термодеформаций в процессе работы стола должен иметь люфт в пределах 15 секунд [5].
Мехатронные модули являются базовыми функциональными компонентами мехатронных систем и машин с компьютерным управлением, как правило, предназначенными для выполнения движений по одной управляемой координате. Качественно новых свойств мехатронных модулей по сравнению с традиционными приводами можно достичь методом синергетической интеграции составляющих элементов.
Синергетическая интеграция представляет собой не просто объединение отдельных сегментов в систему с помощью интерфейсных блоков, а создание единого приводного модуля путем конструктивного объединения и даже взаимопроникновения составляющих элементов, часто имеющих различную физическую природу [6].
Целесообразность мехатронного подхода к проектированию приводных модулей обусловливается сложностью и противоречивостью предъявляемых к ним требований. В частности, обеспечение желаемого уровня качества модуля достигается конструктивным и функциональным взаимопроникновением его компонентов путем следования принципу синергетической интеграции элементов системы. Многие составляющие элементы модуля с учетом их последующего эффективного объединения создаются в ходе параллельного системного проектирования.
При проектировании модулей движения с применением мехатронного подхода в первую очередь необходимо определить возможные точки интеграции элементов в структуре привода. После выявления таких точек интеграции становится возможным принимать конкретные инженерные решения на проектирование и изготовление модуля движения на основе технологического и технико-экономического анализа.
Часто обеспечение компактности и надежности модуля является доминирующим требованием, которое можно реализовать путем применения бесконтактных электрических машин и внедрения информационно-измерительных элементов привода в его исполнительные элементы. Датчики при этом отдельными электромеханическими устройствами уже не являются, а становятся неотъемлемой частью исполнительного двигателя [7]. Синергетический эффект также проявляется, если за некоторыми компонентами привода закреплено выполнение нескольких функций одновременно. Применение таких решений позволяет отказаться от многих механических интерфейсов, ведет к упрощению и удешевлению конструкции, устранению необходимости механически подгонять и согласовывать датчик и двигатель. Усиление значимости цифровых контроллеров приводов также рационально для повышения качества модулей в случае использования простых и недорогих аппаратных компонентов совместно с применением эффективных алгоритмов управления и обработки данных. Использование фотоимпульсных датчиков при необходимости обеспечения надежной работы привода в широком диапазоне температур невозможно в условиях возникновения вибраций и ударов [8], поэтому в качестве наиболее предпочтительных рассматриваются специально создаваемые индукционные датчики положения, в которых учитываются требования к конструктивным особенностям проектируемых приводных модулей.
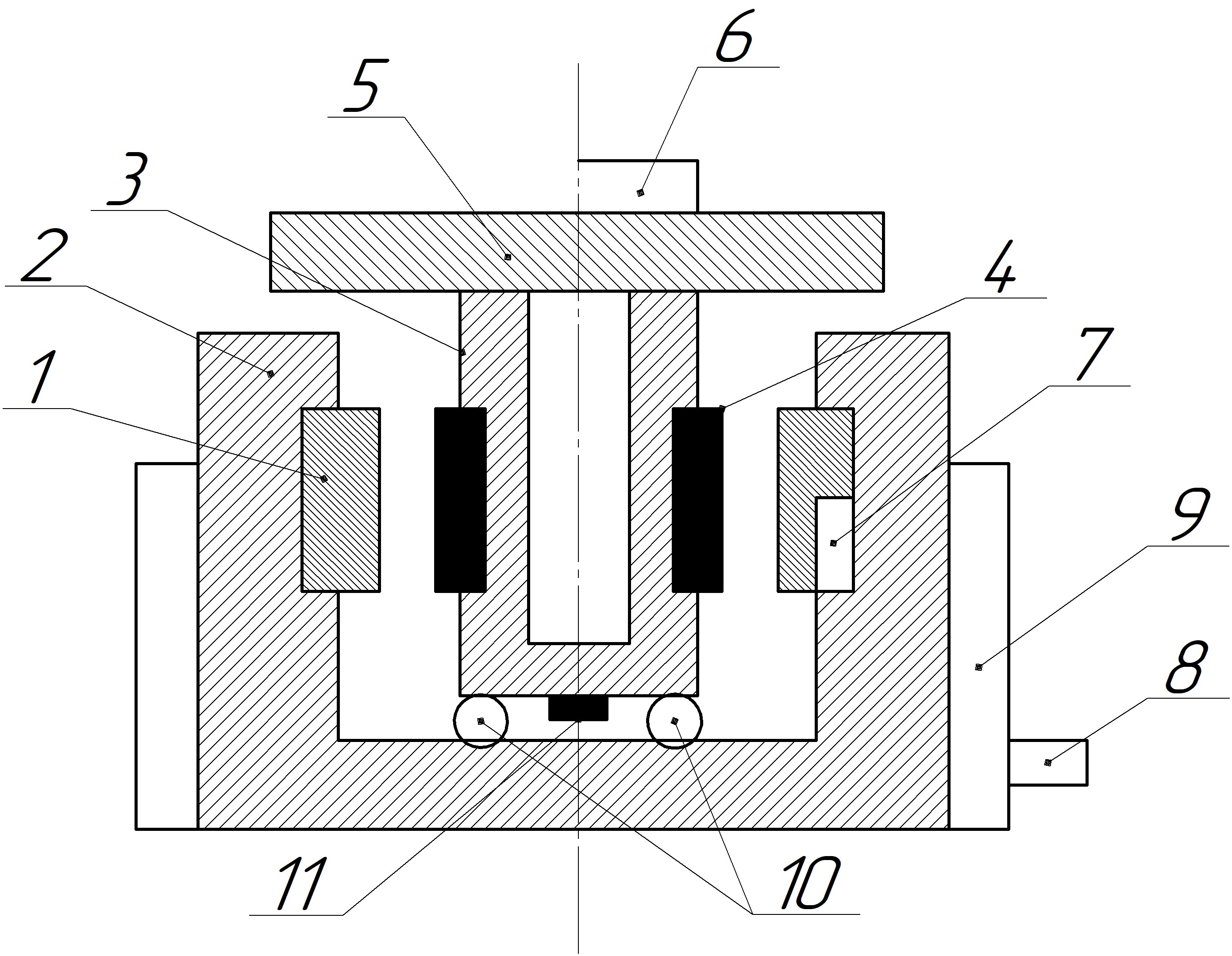
На рис. 1 показана функциональная схема мехатронного модуля движения.
Рис. 1. Функциональная схема мехатронного модуля движения:
1 – обмотка статора; 2 – статор двигателя; 3 – ротор двигателя;
4 – постоянные магниты на роторе двигателя; 5 – планшайба;
6 – обрабатываемая деталь; 7 – датчики температуры;
8 – вход жидкости в радиатор статора; 9 – радиатор статора;
10 – подшипники статора; 11 – датчики параметров электродвигателя
Конструкция поворотного стола в виде мехатронного модуля, являющегося объектом системы автоматического управления, создается на основе синергетического объединения [9] электродвигателя, механического устройства в виде планшайбы и информационного устройства в виде датчиков, которые контролируют параметры движения, в одном модуле. Предлагаемый модуль может быть создан для прецизионного поворотного стола модели СК-36 на основе синхронного электродвигателя с постоянными магнитами на роторе, например 1FW6.
Чтобы представить мехатронный модуль движения в качестве объекта системы автоматического управления его позиционированием, стабилизацией или регулированием скорости при изменении программы обработки, момента удержания или сил резания в процессе позиционирования, необходимо провести его идентификацию и разработать структурную схему.
Синхронный двигатель модуля в режиме позиционирования планшайбы работает на удержание, иначе говоря, работает на упор [10]. Ток статора имеет стохастический характер и изменяется для режимов обработки изделия при вращении ротора в соответствии с нагрузочной диаграммой. При таких режимах электропривода происходит нагрев статора, от него температура передается к ротору и установленной на нем планшайбе. Вследствие этого неизбежно изменение размеров планшайбы и детали, что приводит к их деформации, тем самым снижается точность обработки [11, 12].
Исследование процесса нагрева реального электродвигателя со всем многообразием сторон термического процесса связанных между собой частей, отличающихся друг от друга формой, размерами, термическими параметрами, производительностью внутренних источников тепла (патерами), описать не представляется возможным. Поэтому целесообразно пренебречь некоторыми факторами, мало влияющими на процесс. Рассмотрим термические процессы, связанные с обмоткой и пакетом железа статора. Представим электродвигатель термической моделью (рис. 2) [13].
Рис. 2. Термическая модель электродвигателя:
ж – железо статора; а – пазовая и л – лобовая части обмотки;
l0 – длина обмотки статора; la – длина пакета железа
Процесс нагрева осуществляется со стороны статорной обмотки. Тепловой поток через воздушный зазор проходит к ротору и планшайбе. Ввиду того [13], что температуры нагрева, имеющие место в электрических машинах, невелики, переносом тепла лучеиспусканием можно пренебречь. Следовательно, наибольшее количество тепла отдается конвекцией и теплопроводностью. В этой связи процесс нагрева двигателя, а в конечном итоге планшайбы и детали, на ней установленной, можно оценить на основе уравнения теплового баланса:
(1)
где ΔP – суммарные потери мощности [Вт; м2кг-3];
А – теплоотдача [кал/(c°C); Дж/с°C];
τ – превышение температуры тела над температурой окружающей среды [°C];
С – теплоемкость [кал/°C; Дж/°C].
Решение уравнения (1) [14] позволяет определить температуру нагрева электродвигателя – статора:
(2)
где τS – начальное превышение температуры над температурой окружающей среды;
– установившееся значение температуры статора;
-постоянная времени нагрева статора.
Если в начальный момент времени превышение температуры статора над окружающей средой равно нулю (τH = 0), то выражение (2) преобразуется к виду
(3)
При охлаждении до температуры окружающей среды, когда τF = 0, получим
(4)
Переменные потери мощности в статоре
(5)
где I – ток статора;
RS – активное сопротивление обмотки статора.
Потери в стали:
(6)
где PStn – номинальные потери в стали;
f, fn – текущее и номинальное значение частоты изменения напряжения статора; .
Механические потери
(7)
Введем обозначение .
Суммарные потери вычисляются как сумма зависимостей (5), (6), (7).
С учетом изложенного они могут иметь вид
(8)
С учетом зависимости (3) процесс нагрева статора электродвигателя можно представить в виде типового апериодического звена:
(9)
Здесь KS – коэффициент, характеризующий превышение температуры к току статора.
Нагрев планшайбы и закрепленной на ней детали происходит одновременно с процессом нагрева статора [14]. Передаточная функция процесса нагрева планшайбы в соответствии с зависимостью представляется апериодическим звеном вида
(10)
где τр – превышение температуры планшайбы относительно окружающей среды;
КP – коэффициент передачи, учитывающий понижение температуры планшайбы относительно температуры статора.
Вентиляция в воздушном зазоре между статором и ротором влияет на значения и .
Процесс деформации детали под воздействием температуры имеет сложный характер, определяется формой и материалом детали и также может быть описан апериодическим звеном:
(11)
где z – геометрическое изменение размеров детали в зависимости от превышения температуры детали;
КD – коэффициент, учитывающий геометрическое изменение детали от превышения температуры над окружающей средой и определяемый в зависимости от материала обрабатываемой детали;
ТD – постоянная времени изменения размера детали.
Значение ТD находится экспериментально и по соотношению с ТP составляет .
Синхронный двигатель с постоянными магнитами в роторе [15, 16, 17] можно представить типовым колебательным звеном:
(12)
где ω(p) – частота вращения вала электродвигателя;
u(р) – напряжение статора электродвигателя;
ТE – электромагнитная постоянная времени статора;
ТM – электромеханическая постоянная синхронного электродвигателя.
Структурная схема мехатронного модуля с учетом описания процессов работы для последующей разработки представлена на рис. 3.
Из рис. 3 следует, что объект управления является двухконтурным: первый контур формирует заданную траекторию перемещения планшайбы, второй контур стабилизирует температуру мехатронного модуля.
Рис. 3. Структурная схема мехатронного модуля движения
На рис. 3 показаны параметры:
G и D – вес и диаметр детали, установленной на поворотном столе;
g – ускорение свободного падения;
J – момент инерции;
ω – угловая скорость вращения планшайбы;
M – статический момент;
K – коэффициент, связывающий ток с моментом;
Id – динамическая составляющая тока статора;
Ist – статическая составляющая тока статора;
I(p) – изображение тока в статорной обмотке серводвигателя;
ω(p) – изображение угловой скорости вращения ротора серводвигателя (планшайбы);
φ(р) – изображение угла поворота ротора серводвигателя (планшайбы);
τ(р) – изображение превышения температуры планшайбы относительно окружающей среды.
Упомянутыми параметрами необходимо управлять, так как они играют важную роль для реализации требований точности и производительности мехатронного модуля. Процесс нагрева имеет достаточно большие постоянные времени. Самым быстродействующим контуром является контур тока, поэтому он и задает основные требования по частоте.
В силу того, что управление поворотным столом будет осуществляться цифровой системой, целесообразно выбрать минимальную частоту квантования цифрового регулятора.
Известно [18], что передаточная функция контура тока для аналоговой системы в замкнутом виде
(13)
В (13) принято: , ,
где T1 – постоянная времени контура тока,
K – коэффициент передачи,
c – коэффициент демпфирования.
Амплитудно-частотная характеристика для зависимости (13) имеет вид
(14)
Амплитудно-частотная характеристика дискретной системы определяется смещением амплитудно-частотной характеристики аналогового прототипа на величину ω0 и примет вид
(15)
Для дискретной системы АЧХ может быть выражена в виде
(16)
При выборе величины частоты смещения характеристик необходимо выполнение того условия, что превышение их суммы по сравнению с АЧХ аналогового прототипа в области частоты пропускания ωC линейной части системы должно быть в пределах допустимой погрешности. Последняя должна соответствовать технологическим требованиям. Величина погрешности определяется также по зависимости (14), в которой необходимо заменить погрешность AI(jω) на ΔAI(jω) и частоту ω на ω01.
Для настроенного на технический оптимум замкнутого контура положения коэффициент демпфирования c = 0,707. Следовательно, с учетом зависимости (14) получим
(17)
Из (17) выразим
(18)
где ΔAI(ω01) – заданное значение погрешности по отношению к аналоговому прототипу;
ω01 – значение частоты при максимальной частоте задающего сигнала – ωS_MAX .
К значению частоты, полученному в (18), необходимо прибавить частоту полосы пропускания линейной части дискретной системы, чтобы обеспечить заданную погрешность на всем диапазоне частот сигнала задания ωS:
(19)
Полученное значение частоты квантования ω0 позволяет определить период дискретности экстраполятора нулевого порядка:
(20)
Заключение
Рассмотрение проблемы повышения динамической точности воспроизведения сигнала задания поворотным столом, а также точности позиционирования на основе синергетической интеграции приводит к созданию единого приводного модуля путем объединения составляющих элементов и позволяет представить поворотный стол в виде мехатронного модуля.
В статье представлена термическая модель электродвигателя, на базе которого создан мехатронный модуль и проведен анализ потерь, возникающих при его работе.
Получены выражения передаточных функций процессов, имеющих место при работе мехатронного модуля.
Результаты исследования позволили разработать структурную схему мехатронного модуля, которая необходима при разработке системы автоматического управления. Получена аналитическая зависимость определения частоты квантования дискретного звена в цифровой системе управления.
About the authors
Vladimir E. Lysov
Samara State Technical University
Author for correspondence.
Email: 67lysov@mail.ru
Dr. Sci. Techn., Professor.
Russian Federation, 244, Molodogvardeyskaya st., Samara, 443100, Russian FederationVasily A. Polyakov
Samara State Technical University
Email: 67lysov@mail.ru
Postgraduate Student
Russian Federation, 244, Molodogvardeyskaya st., Samara, 443100, Russian FederationReferences
- Teoriya avtomaticheskogo regulirovaniya. Kn. 2: Analiz i sintez lineynykh nepreryvnykh i diskretnykh sistem avtomaticheskogo regulirovaniya / Pod red. prof. V.V. Solodovnikova. – M.: Mashinostroy-eniye, 1967. – 679 s.
- Kombarov V.V., Sorokin V.F. Ogranicheniye pogreshnosti approksimatsii krivolineynykh trayektoriy pri vybore chastoty tsikla upravleniya system CHPU s uchotom tekhnologicheskikh parametrov obo-rudovaniya. Natsional'nyy aerokosmicheskiy universitet im. Zhukovskogo N.Ye. «KHAI» // Ot-krytyye informatsionnyye i komp'yuternyye tekhnologii. – 2013. – № 59. – S. 132–139.
- Kachan A.Ya., Petrov S.A. i dr. Tekhnologiya obrabotki monokolos vysokoskorostnym trezerovani-yem // Oborudovaniye i instrument. – 2006. – № 2 (75). – S. 26–32.
- Reshetov D.N., Portman V.G. Tochnost' metallorezhushchikh stankov. – M.: Mashinostroyeniye, 1986. – 336 s.
- Avramov A.A. Prognozirovaniye – podachi pri vysokoskorostnoy metalloobrabotke / per. s angl. // Cutting Tool Enginiring. – 2002. – № 3 (54). – S. 40, 42–44.
- Kurnosov Ye.V. Rasshireniye funktsional'nykh vozmozhnostey vysokoskorostnykh shpindel'nykh uzlov // Avtomatizatsiya I sovremennyye tekhnologii. – 2005. – № 7. – S. 3–5.
- Klaus F. Wirtshaftichkeitsrechung als entschudungshilfe fur di machinencusuahe // Мachinenmarkt. – 1983/89. – № 8. – P. 114–117.
- Mikhaylov O.P., Orlova R.G., Pal'tsev A.V. Sovremennyy elektroprivod stankov s CHPU i promysh-lennykh robotov / pod redaktsiyey B.I. Cherpakova. – М.: Vysshaya shkola, 1989. – 111 s.
- Lysov V.Ye., Sidorov I.S. Analiz vliyaniya chastoty kvantovaniya tsifrovogo regulyatora polozheniya pozitsionno-sledyashchego elektroprivoda na dinamicheskiye pokazateli kachestva upravleniya // Mek-hatronika, аvtomatizatsiya, upravleniye. – 2016. – T. 17. – № 10. – S. 685–689.
- Fel'dshteyn Ye.V., Korniyevich M.A. Obrabotka detaley na stankakh s CHPU: ucheb. posobiye / 3-ye izd., dop. – Minsk: Novoye znaniye, 2008. – 229 s.
- Lebedev A.M. Sledyashchiye elektroprivody stankov s CHPU. – Energoizdat, 1988. – 223 s.
- Anuchin A.S. Sistemy upravleniya elektroprivodov. – M.: Izd. dom MEI, 2015. – 373 s.
- Koz’minykh D.V. Raschet moshchnosti elektroprivodov s uchetom stareniya bzolyatsii. – Kuyby-shevskoe knizhnoe izdatel’stvo, 1960. – 67 s.
- Andreev V.P., Sabinin Yu.A. Osnovy elektroprivoda. – M.–L.: Gosenergoizdat, 1963. – 722 s.
- Lysov V.Ye., Sarantsev S.S. Sintez korrektiruyushchego zvena sledyashchego elektroprivoda podachi koordinatno-rastochnogo stankadlya kompensatsii nelineynosti tipa «lyuft» v kinematicheskoy tsepi // Vestnik SamGTU. Seriya «Tekhnicheskiye nauki». – 2012. – № 1(32). – S. 148–156.
- Terekhov V.M. Diskretnyye i nepreryvnyye sistemy upravleniya v elektroprivodakh: ucheb. posobiye po kursu «Sistemy upravleniya elektroprivodami». – M.: MEI, 1989. – 80 s.
- Lysov V.Ye., Sidorov I.S. Analiz pogreshnosti v vosproizvedenii zadannoy trayektorii dvizheniya pozitsionno-sledyashchego elektroprivoda s uchotom diskretnosti ckstrapolyatora nulevogo poryadka // Vestnik SamGTU. Seriya «Tekhnicheskiye nauki». – 2015. – № 3 (47). – S. 142–148.
- Lysov V.Ye. Teoriya avtomaticheskogo upravleniya: ucheb. posobiye. – M.: Mashinostroyeniye, 2010. – 500 s.
Supplementary files






