Assessment of the intensity of intermodule interaction and the choice of means of its organization in vibration monitoring systems of turbine units
- Authors: Plotnikov D.A.1, Lachin V.I.1, Muzhenko A.S.1
-
Affiliations:
- Platov South-Russian State Polytechnic University (NPI)
- Issue: Vol 32, No 1 (2024)
- Pages: 102-115
- Section: Electronics, Photonics, Instrumentation and Communications
- URL: https://journals.eco-vector.com/1991-8542/article/view/634057
- DOI: https://doi.org/10.14498/tech.2024.1.7
- ID: 634057
Cite item
Full Text
Abstract
During the operation of turbine units (TU) of electric power plants, continuous monitoring of vibration levels of the main elements of the TU is necessary, which ensures the safe operation of the equipment and is performed using stationary vibration monitoring systems (VMS). Modern stationary VMS for TU have a modular structure, where the types and number of modules used are determined by the complexity of the controlled unit. The performance of a number of VMS functions requires the organization of intermodular interaction, and the efficiency of the system as a whole depends on the timeliness and reliability of information transmission. To ensure these indicators, the article analyzes one of the most complex TU, estimates the number of measuring channels of the VMS necessary to control its vibration state. It is shown that for high-power TU, the total number of vibration measurement channels and related parameters can reach up to 140. The structure of the digital VMS and the principles of network interaction of its elements are proposed, based on the information received about the required number of channels, the types and maximum number of medium-level modules in the VMS are determined. For modules of each type, the sets of transmitted data, their sizes and frequency of transmission are described, and an expression is obtained for calculating the total intensity of the data flow in the VMS system bus. It is shown that the system bus bandwidth of 300...500 kbit/s is sufficient for the normal operation of the VMS. The use of the CAN interface and the CANopen protocol for the organization of intermodule interaction is justified.
Full Text
Введение
Возникновение и развитие дефектов в различных частях роторной машины в большинстве случаев сопровождается изменением параметров вибрации её элементов [1]. Поэтому одной из наиболее универсальных и совершенных методик диагностики роторных машин, к которым относятся турбоагрегаты (ТА) электрических станций, является вибродиагностика, то есть выявление дефектов на основе анализа характеристик вибрации элементов машины [2]. В ряде случаев вибрация является не только индикатором, но и причиной развития дефектов. Более того, в некоторых ситуациях вибрация нарастает лавинообразно и требует экстренной остановки ТА для предотвращения его разрушения. Наиболее масштабным событием такого рода является авария на Саяно-Шушенской ГЭС, произошедшая 17.08.2009 [3].
В связи с вышеизложенным в процессе эксплуатации ТА электростанций необходим непрерывный контроль уровней вибрации основных элементов машины [4, 5], осуществляемый с помощью стационарных систем вибромониторинга (СВМ). От показателей точности и надёжности СВМ зависит безопасность и экономическая эффективность функционирования агрегатов.
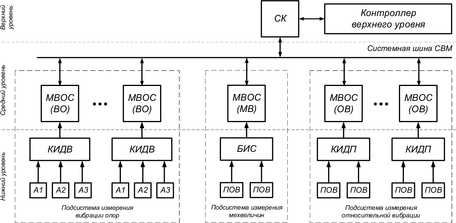
Современные стационарные СВМ ТА имеют иерархическую структуру
[6–9]. На нижнем уровне находятся первичные и вторичные преобразователи измеряемых параметров: ортогональных составляющих вибрации опор и шеек роторов, осевого расширения и сдвига ротора и некоторые другие. Информация с них поступает на средний уровень, где в результате её комплексной обработки формируются управляющие воздействия, инициирующие при необходимости аварийный останов ТА или включение сигнализации. Наконец, на верхнем уровне на основе углублённого анализа текущих и ретроспективных данных с использованием прогнозных моделей формируются рекомендации по срокам профилактических работ, проведению технического обслуживания, замене элементов агрегата. Однако оставаясь в рамках описанной иерархической структуры, СВМ могут отличаться способами объединения измерительных каналов и организации взаимодействия элементов системы, что существенно влияет на характеристики СВМ.
С целью обеспечения отказоустойчивости, отказобезопасности и ремонтопригодности системы, а также упрощения её масштабирования и конфигурирования авторами разработана структурная схема цифровой СВМ [10], приведённая на рисунке.
В соответствии со спецификой контролируемых параметров, регламентируемых документами [4, 5], все измерительные каналы СВМ делятся на ряд подсистем:
– подсистема измерения вибрации опор – контролирует параметры абсолютной вибрации опор валопровода, то есть совокупности роторов ТА;
– подсистема измерения относительной вибрации – контролирует виброперемещение роторов валопровода относительно подшипниковых опор;
– подсистема измерения мехвеличин – контролирует тепловые расширения, смещения и наклоны элементов ТА;
– подсистема измерения частоты и фазы – предоставляет информацию о частоте вращения и угловом положении ротора, необходимую для работы других подсистем;
– подсистема цифроаналогового ввода-вывода – служит для ввода дополнительных аналоговых и дискретных параметров, а также для формирования дополнительных выходных сигналов (две последние подсистемы на рисунке не показаны).
Структура модульной СВМ (Аn – акселерометр; БИС – блок измерения смещений; ВО – вибрация опор; КИДВ – контроллер интеллектуального датчика вибрации; КИДП – контроллер интеллектуального датчика перемещения; МВ – мехвеличины; МВОС – модуль ввода, отображения и сигнализации; ОВ – относительная вибрация; ПОВ – преобразователь относительной вибрации; СК – системный контроллер)
Каждая подсистема может включать несколько идентичных групп каналов, предназначенных для измерения функционально связанных однотипных параметров. Примерами таких параметров могут служить ортогональные составляющие вибрации одной опоры, одной шейки ротора и некоторые другие. Каждая группа обслуживается одним контроллером интеллектуального датчика (КИД) и одним модулем ввода, отображения и сигнализации (МВОС), общее количество которых определяется сложностью ТА. Такой подход упрощает масштабирование системы и улучшает её ремонтопригодность. Каждый МВОС может функционировать независимо от других модулей среднего уровня, но для реализации в полном объёме функций сигнализации и защиты ТА, обеспечения передачи данных на верхний уровень СВМ и взаимного контроля работоспособности МВОС взаимодействуют между собой с помощью системной шины (СШ).
Постановка задачи
В процессе адаптации СВМ к конкретному ТА количество измерительных каналов и, соответственно, МВОС может изменяться от единиц для простых агрегатов малой мощности до нескольких десятков для мощных и сложных ТА. При увеличении числа МВОС возрастает и интенсивность потоков данных по системной шине СВМ. Следовательно, возникает необходимость оценки этой интенсивности с целью обоснованного выбора интерфейса для реализации системной шины, обеспечивающего бесперебойную связь модулей в максимальной конфигурации системы.
Оценка количества измерительных каналов СВМ
Для формирования требований к интерфейсу межмодульного взаимодействия прежде всего необходимо оценить максимальное количество измерительных каналов системы. Выполним такую оценку на примере СВМ одного из наиболее сложных ТА с турбиной типа К‑800‑240 мощностью 800 МВт.
В соответствии с требованиями [4, 5] у ТА такой мощности необходимо контролировать уровни вибрации всех опор, а также вибрацию валопровода (относительные виброперемещения) по отношению ко всем опорам. Турбина К‑800‑240 [11, 12] имеет по одному ротору высокого и среднего давления и три ротора низкого давления. Кроме того, в состав рассматриваемого ТА входят роторы генератора и возбудителя. Каждый из семи роторов валопровода установлен на паре опор; таким образом, общее число опор равно четырнадцати.
Вибрация опор измеряется в трёх взаимно перпендикулярных направлениях, следовательно, в состав СВМ было включено 42 канала измерения вибрации опор. Относительное виброперемещение измеряется в двух направлениях, поэтому число каналов измерения виброперемещения составило 28. Для указанной турбины необходимо контролировать относительное расширение всех роторов (пять каналов измерения), а также абсолютное перемещение цилиндров высокого и среднего давления (два канала измерения). По требованию заказчика в состав СВМ были введены каналы измерения угла поворота ригеля фундамента, а также несколько каналов измерения унифицированных аналоговых и дискретных сигналов. Общий список измерительных каналов СВМ приведён в табл. 1.
В некоторых случаях СВМ должна также контролировать вибрацию, скорости вращения и механические параметры питательных турбонасосов (ПТН) ТА, обеспечивающих подачу воды в котёл. Каждый ПТН имеет два ротора на четырёх опорах, контролируются обычно только вертикальные и поперечные составляющие вибрации опор, а также осевой сдвиг ротора. Таким образом, для организации вибромониторинга двух ПТН дополнительно к перечисленным измерительным каналам необходимо предусмотреть каналы, указанные в табл. 2.
Таблица 1
Список основных измерительных каналов СВМ ТА
Канал измерения | Кол-во |
Вибрация | |
Составляющие вибрации опор | 42 |
Составляющие относительной вибрации ротора | 28 |
Механические величины | |
Абсолютное перемещение цилиндров | 2 |
Относительное расширение ротора | 5 |
Поворот ригеля | 2 |
Тахометр, фаза | |
Частота вращения ротора | 1 |
Отметчик фазы | 1 |
Дополнительные параметры (унифицированные сигналы) | |
Активная мощность генератора (аналоговый сигнал) | 1 |
Резерв (аналоговый сигнал) | 3 |
Резерв (дискретный сигнал) | 4 |
Таблица 2
Список дополнительных измерительных каналов СВМ ТА
Канал измерения | Кол-во |
Вибрация | |
Составляющие вибрации опор | 16 |
Механические величины | |
Осевой сдвиг ротора | 2 |
Тахометр, фаза | |
Частота вращения ротора | 2 |
С учётом сложности рассматриваемого ТА указанные количества каналов измерения вибрации можно считать близкими к максимально необходимым. С другой стороны, число каналов измерения мехвеличин и унифицированных сигналов существенно зависит от пожеланий заказчика, поэтому при проектировании СВМ следует предусмотреть возможность значительного увеличения количества этих каналов. Обобщённая информация о максимально необходимом числе измерительных каналов СВМ с учётом некоторого числа резервных каналов приведена в табл. 3. В последней колонке таблицы дана оценка вероятности того, что при адаптации СВМ к потребностям заказчика указанное число каналов придётся увеличить. Эта оценка потребуется далее при определении максимального количества модулей, используемых в системе.
Таблица 3
Общий список измерительных каналов СВМ
Канал измерения | Кол-во | Вероятность увеличения |
Вибрация | ||
Составляющие вибрации опор | 64 | Низкая |
Составляющие относительной вибрации вала | 32 | Низкая |
Механические величины | 16 | Средняя |
Тахометр, фаза | ||
Частота вращения ротора | 3 | Низкая |
Отметчик фазы | 3 | Низкая |
Дополнительные параметры (унифицированные сигналы) | 16 | Высокая |
Общее число измерительных каналов | 134 |
|
Анализ информационного обмена модулей среднего уровня
При взаимодействии модулей среднего уровня (МВОС) друг с другом они обмениваются следующей информацией:
– СК, а при его отказе – другой сконфигурированный для этого модуль, периодически передаёт короткие синхронизирующие сообщения, обозначающие начало очередного цикла измерений и вычислений, для координации работы других модулей среднего уровня;
– МВОС в каждом цикле передают на СК текущие значения обобщённых параметров вибрации по каждому каналу (среднеквадратичные значения (СКЗ) виброскорости, виброускорения, размах виброперемещения, признаки превышения пороговых уровней), а также вспомогательных параметров (расширение роторов, смещение, температура, мощность и др.);
– МВОС в каждом цикле передают соседним модулям, контролирующим смежные опоры или шейки ротора, признаки превышения пороговых уровней и текущие значения СКЗ виброскорости (размаха виброперемещения) с целью реализации алгоритмов защиты и сигнализации;
– МВОС и СК периодически (один раз за несколько циклов) передают признаки своего состояния, позволяющие другим модулям среднего уровня диагностировать отказы и исключать неисправные модули из общего алгоритма функционирования системы;
– МВОС по запросу СК передают ему сохранённые графики изменения (осциллограммы) контролируемых параметров.
Из приведённого описания можно сделать следующие выводы.
(a) В процессе взаимодействия модулей по СШ передаётся информация различной важности: некоторые данные требуют первоочередной доставки, другие могут доставляться по мере появления возможности. В связи с этим СШ должна поддерживать приоритизацию сообщений.
(b) Информация, передаваемая каждым модулем среднего уровня, в общем случае потребляется несколькими модулями. Для эффективного использования пропускной способности СПД в этом случае целесообразно передавать данные в широковещательном режиме с указанием некоторого признака, позволяющего их идентифицировать. На основе анализа этого признака другие модули будут либо принимать информацию, либо игнорировать её. Используемая в структуре СВМ шинная топология сети передачи данных обеспечивает такой режим взаимодействия без каких-либо нежелательных побочных эффектов.
Оценка интенсивности межмодульного взаимодействия
Выполним предварительную оценку интенсивности потока данных по СШ СВМ. Пусть в системе имеется M типов модулей, причём количество модулей каждого типа задано величиной mk (k = {1, 2, …, M}). Каждый модуль некоторого типа отправляет в сеть определённое количество nq,k значений параметра vq, где Q – количество параметров, q = {1, 2,…, Q}, каждый параметр имеет разрядность bq. Значения передаются модулями с периодичностью tq,k, выраженной числом циклов синхронизации между передачами. Среднее количество значений параметра q-го типа, передаваемое всеми модулями в течение одного цикла синхронизации, можно вычислить как
.
Если обозначить через TSYNC длительность цикла синхронизации, то среднюю интенсивность потока данных по шине μ можно определить по формуле
. (1)
Для предварительной оценки интенсивности потока данных по СШ СВМ в конфигурации, близкой к максимальной, составлена табл. 4, содержащая информацию о количестве, разрядности и частоте передачи параметров, формируемых каждым модулем среднего уровня. В качестве исходных данных для неё использованы сведения о максимальной конфигурации СВМ, приведённые в табл. 3.
Таблица 4
Данные для передачи по системной шине СВМ
Тип параметра q | Разрядность параметра Ъ | Название модуля | СК | МВО | МОВ | МЧФ | ММВ | МВВ | ||||||
Тип модуля к | 1 | 2 | 3 | 4 | 5 | 6 | ||||||||
Число модулей т | 1 | 22 | 16 | 3 | 4 | 2 | ||||||||
Название параметра | Кол-во | Период | Кол-во | Период | Кол-во | Период | Кол-во | Период | Кол-во | Период | Кол-во | Период | ||
1 | 16 | СКЗВУ |
|
| 3 | 1 |
|
|
|
|
|
|
|
|
2 | 16 | скзвс |
|
| 3 | 1 |
|
|
|
|
|
|
|
|
3 | 16 | РазмахВП |
|
|
|
| 2 | 1 |
|
|
|
|
|
|
4 | 16 | Средний зазор |
|
|
|
| 2 | 1 |
|
|
|
|
|
|
5 | 16 | Признаки состояния |
|
| 3 | 1 | 2 | 1 | 1 | 1 | 4 | 10 | 8 | 10 |
6 | 32 | Частота |
|
|
|
|
|
| 1 | 1 |
|
|
|
|
7 | 16 | Р1ной параметр |
|
|
|
|
|
|
|
| 4 | 10 | 8 | 10 |
8 | 8 | Синхронизация | 1 | 1 |
|
|
|
|
|
|
|
|
|
|
9 | 8 | Диагностика | 1 | 10 | 1 | 10 | 1 | 10 | 1 | 10 | 1 | 10 | 1 | 10 |
При составлении табл. 4 было принято, что значения большинства аналоговых величин передаются в нормализованной форме в виде 16-разрядных двоичных чисел с фиксированной точкой. Это обеспечивает погрешность представления данных не более ±0,001 %, вполне достаточную для решаемых задач. Исключение сделано лишь для измеренного значения частоты вращения ротора: поскольку оно используется в СВМ множеством алгоритмов обработки данных и от его точности существенно зависят погрешности вычисления других параметров вибрации, оно представлено в виде 32-разрядного числа. Для обозначения МВОС, относящихся к разным подсистемам СВМ, в табл. 4 использованы следующие сокращения: МВО – модуль вибрации опор, МОВ – модуль относительной вибрации, МЧФ – модуль частоты и фазы, ММВ – модуль мехвеличин, МВВ – универсальный модуль ввода-вывода.
Длительность цикла синхронизации TSYNC определим исходя из необходимого быстродействия СВМ. Специальные требования к скорости выполнения каких-либо функций в нормативных документах [4, 5, 13, 14] отсутствуют, однако в [4] отмечена необходимость выявления внезапных необратимых изменений СКЗ виброскорости более чем на 1 мм/с в течение 5 с на время более 10 с. Для измерения указанных временных интервалов с погрешностью 2…4 % следует анализировать СКЗ с частотой 5–10 Гц, то есть TSYNC можно принять равным 0,1 с. В таком случае среднее значение интенсивности потока данных по СШ СВМ, вычисленное по формуле (1) с использованием данных табл. 4, будет равно 49 968 бит/с.
Полученная оценка является весьма приблизительной, поскольку не учитывает такие факторы, как пиковые нагрузки, необходимость передачи служебной информации, информации по запросу. Тем не менее она позволяет выбрать интерфейс и протокол, пригодные для реализации СШ СВМ. Дальнейшие детальные исследования особенностей межмодульного взаимодействия с учётом реальной конфигурации системы и текущего вибрационного состояния ТА могут быть выполнены с помощью аналитических и имитационных моделей, разработанных как авторами [15, 16, 17], так и другими исследователями [18, 19].
Выбор интерфейса и протокола межмодульного взаимодействия
К интерфейсу межмодульного взаимодействия в СВМ предъявляются следующие требования:
– шинная топология для упрощения масштабирования системы;
– скорость передачи данных (с учётом результатов предварительной оценки и с запасом на перечисленные выше факторы) – 300–500 кбит/с;
– длина шины – до нескольких метров (в пределах приборного шкафа);
– количество подключаемых модулей – до 50–60 (табл. 4);
– простота реализации, широкий выбор однокристальных микроконтроллеров (ОМК) со встроенной поддержкой интерфейса;
– наличие стандартных протоколов, поддерживающих взаимодействие модулей в режиме реального времени;
– развитые средства выявления ошибок взаимодействия.
В настоящее время всем перечисленным требованиям, за исключением последнего, полностью удовлетворяют два интерфейса: RS‑485 [20, 21] и CAN [22, 23, 24]. Однако средства выявления и исправления ошибок взаимодействия, причём реализованные на аппаратном уровне в контроллере интерфейса, имеются только в CAN. По этой причине именно он был выбран для организации СШ среднего уровня системы.
Среди достоинств интерфейса CAN можно выделить следующие:
– ориентированность на создание распределенных информационно-измерительных и управляющих систем, работающих в режиме реального времени;
– высокая степень достоверности передаваемых данных и вероятность обнаружения ошибок, возможность автоматической повторной передачи сообщений;
– экономичная шинная архитектура, невысокая стоимость аппаратных средств;
– скорость передачи данных до 1 Мбита/с;
– наличие обновленной версии интерфейса CAN FD [25], обеспечивающей при необходимости в несколько раз большую скорость передачи [26];
– широкая поддержка со стороны производителей ОМК.
В пользу этого интерфейса говорит и тот факт, что он в настоящее время является стандартным для бортовой сети автомобилей [23, 24], где в условиях воздействия самых разнообразных помех требуется высокая надёжность работы и достоверность передаваемых данных.
Несмотря на все свои преимущества, интерфейс CAN обеспечивает лишь два низших уровня модели OSI [27]: физический и канальный. Для решения несложных коммуникационных задач этого может быть достаточно, однако в СВМ, состоящей из десятков модулей, обменивающихся значениями сотен параметров, целесообразно использование протоколов более высокого уровня, решающих задачи адресации, коррекции ошибок, синхронизации и некоторые другие. Для организации взаимодействия по интерфейсу CAN существует несколько стандартных протоколов [28], из которых был выбран протокол общего назначения CANopen, предназначенный для использования в распределённых информационно-измерительных и управляющих системах, работающих в режиме реального времени [29–31].
Протокол CANopen обеспечивает верхние пять уровней модели OSI: сетевой (адресация, маршрутизация), транспортный (доставка сообщений от отправителя к получателю без потерь, искажений и в правильном порядке), сеансовый (синхронизация взаимодействия), уровень представления (кодирование данных) и прикладной уровень. Самый верхний, прикладной уровень определяет способы настройки устройств и передачи объектов данных уровня приложения.
Выводы
Проведённое исследование показало, что в состав СВМ ТА может входить до 50–60 модулей среднего уровня, взаимодействующих между собой, причём от качества этого взаимодействия зависит общая работоспособность системы. В результате предварительной оценки, выполненной на основе анализа типов передаваемых данных и периодичности их отправки, выяснилось, что пропускной способности интерфейса межмодульного взаимодействия около 300–500 кбит/с достаточно для обеспечения бесперебойной связи модулей в максимальной конфигурации СВМ. С учётом требований к скорости и надёжности передачи данных обоснована целесообразность применения в качестве системной шины СВМ интерфейса CAN и протокола обмена данными CANopen. Последующее аналитическое и имитационное моделирование работы ряда СВМ для ТА различной сложности, а также опыт их практической реализации подтвердили корректность принятых решений.
About the authors
Dmitriy A. Plotnikov
Platov South-Russian State Polytechnic University (NPI)
Author for correspondence.
Email: dpl68@mail.ru
(Dr. Sci. (Techn.)), Professor
Russian Federation, 132, Prosveshcheniya str., Novocherkassk, Rostovskaya obl., 346428Vyacheslav I. Lachin
Platov South-Russian State Polytechnic University (NPI)
Email: lachinv@mail.ru
(Dr. Sci. (Techn.)), Professor
Russian Federation, 132, Prosveshcheniya str., Novocherkassk, Rostovskaya obl., 346428Alexander S. Muzhenko
Platov South-Russian State Polytechnic University (NPI)
Email: muzhenko97@mail.ru
Assistant
Russian Federation, 132, Prosveshcheniya str., Novocherkassk, Rostovskaya obl., 346428References
- Goldin A.S. Vibraciya rotornyh mashin [Vibration of rotary machines]. M.: Mechanical engineering, 1999. 344 p. (In Russian).
- Barkov A.V. Monitoring i diagnostika rotornyh mashin po vibracii [Monitoring and diagnostics of rotary machines by vibration]. St. Petersburg: Publishing house of the SPbGMTU Center, 2000. 169 p. (In Russian).
- The act of technical investigation of the causes of the accident that occurred on August 17, 2009 at the branch of JSC RusHydro – Sayano-Shushenskaya HPP named after P.S. Neporozhny [Electronic resource] / Federal Service for Environmental, Technological and Nuclear Supervision, 2009. http://www.rushydro.ru/file/main/global/press/news/
- html/Akt_tehrassledovaniya__prichin_avarii_na_SShGES.pdf (accessed September 18, 2022)
- GOST 25364-97 Stationary steam turbine units. Vibration standards of shaft supports and general requirements for measurements. – instead of GOST 25364-88; introduction 1.07.99. M.: Publishing House of Standards, 1998. 6 p. (In Russian)
- GOST 27165-97 Stationary steam turbine units. Vibration standards of shaft lines and general requirements for measurements. – instead of GOST 27165-86; introduction 1.07.99. M.: Publishing House of Standards, 1998. 7 p. (In Russian).
- Description of the type of average values. Control equipment for mechanical parameters of the SIVOK turbine unit [electronic resource]. Rostov-on-Don. OOO "Electron", 2017. 10 p. https://fgis.gost.ru/fundmetrology/registry/4/items/325316 (accessed December 10, 2023) (In Russian).
- Automated vibration control system, mechanical quantities and diagnostics (ASKVD) [electronic resource] / Yekaterinburg: Prosoft-Systems LLC, 2021. https://prosoftsystems.ru/solution/show/avtomatizirovannaja-sistema-kontrolja-vibracii-mehanicheskih-velichin-i-diagnostiki-askvd (accessed December 10, 2023). (In Russian).
- Vibrobit 300 equipment. User manual. VSHPA.421412 300 r. Rostov-on-Don: NPP Vibrobit LLC, 2012. 169 p. (In Russian).
- Controller equipment-measuring "Vibrobit 500" Operating manual. VSHPA.421412.501.001 R. Rostov-on-Don: NPP Vibrobit LLC, 2019. 92 p. (In Russian).
- Plotnikov D.A., Lachin V.I., Aljiyazna V.K.M. Digital technologies in vibration monitoring systems of turbine units // Safety of nuclear energy: Abstracts of the report of the 17th International Scientific and Practical Conference, May 26-28, 2021 / NRU MEPhI [et al.]. Volgodonsk: VITI NRU MEPhI, 2021. Pp. 16–19. (In Russian).
- Catalog of products of the group of companies "Power machines" [Electronic resource]. JSC "Power machines". 380 p. https://power-m.ru/upload/iblock/83b/
- SM_product_cataloge_2020.pdf (accessed December 21, 2023) (In Russian).
- Power Machines Group of Companies. Steam turbines [Electronic resource]. JSC "Power machines". 78 p. http://www.energyed.ru/res/Discipline/Engine/tur-2-5.pdf (accessed December 21, 2023) (In Russian).
- GOST 27164-86 Special purpose equipment for operational vibration control of bearings of large stationary units. Technical requirements. – introduction 1.01.88. M.: Publishing House of Standards, 1987. 4 p. (In Russian).
- GOST ISO 2954-2014 Monitoring of the condition of machines based on the results of vibration measurements on non-rotating parts. Requirements for measuring instruments. – introduction 1.11.15. Moscow: Standartinform, 2019. 18 p. (In Russian).
- Plotnikov D.A. Probabilistic method for estimating the parameters of intermodule interaction in the control system for the protection of a turbine unit by vibration. Volgodonsk: Global nuclear safety, 2021. Vol. 3. Pp. 37–51. (In Russian).
- Development of a model of intermodule interaction in vibration control systems based on the CANopen protocol / D.A. Plotnikov, V.I. Lachin, V.K.M. Aljiyazna, K.Y. Solomentsev. Novocherkassk: News of universities. Electromechanics. 2020. Vol. 2. Pp. 68–75. (In Russian).
- Plotnikov D.A., Lachin V.I., Solomentsev K.Y. Modeling of intermodular Interaction Based on the CANopen Protocol in Vibration Monitoring Systems // IOP Conf. Ser., Mater. Sci. Eng. 463 032060. 2018. https://doi.org/10.1088/1757-899X/463/3/032060
- Using bit-stuffing distributions in CAN analysis / Thomas Nolte, Hans Hansson, Christer Norström, Sasikumar Punnekkat. IEEE Real-Time Embedded Systems Workshop. 2009. https://www.researchgate.net/publication/255672829_Using_bitstuffing_distributions_in_CAN_analysis (accessed December 18, 2023).
- Sußmann N., Meroth A. Model based development and verification of CANopen components 22nd // IEEE International Conference on Emerging Technologies and Factory Automation (ETFA), 2017. Pp. 1–5. https://doi.org/10.1109/ETFA.2017.8247745
- Interface Circuits for TIA/EIA-485 (RS-485). Application Report [Electronic resource]. Texas Instruments Incorporated. 2008. https://www.ti.com/lit/an/slla036d/
- slla036d.pdf?ts=1636957884480 (accessed November 19, 2023).
- Application Note 3884. Full Guide to Serial Communication Protocol and Our RS-485 [Electronic resource]. Maxim Integrated Products, Inc. 2006 https://www.maximintegrated.com/
- en/design/technical-documents/app-notes/3/3884.html (accessed November 19, 2023).
- CAN Specification. Version 2.0 [Electronic resource]. Robert Bosch GmbH, 1991. 73 p. http://www.bosch-semiconductors.de/media/ubk_semiconductors/
- pdf_1/canliteratur/can2spec.pdf (accessed November 19, 2023).
- ISO 11898-1:2015 Road vehicles – Controller area network (CAN) – Part 1: Data link layer and physical signaling [Electronic resource]. https://www.iso.org/standard/63648.html (accessed November 19, 2023).
- GOST R ISO 11898-1-2015 Road transport. Local controller network (CAN) Part 1: Channel layer and signal transmission – introduction 1.08.2016. M.: Standartinform, 2016. 42 p. (In Russian).
- CAN with Flexible Data-Rate; Version 1.1. Aug.2011 [Electronic resource]. Robert Bosch GmbH. https://www.semiconductors.bosch.de/media/pdf/.../canliteratur/can_fd.pdf (accessed November 19, 2023).
- Lennartsson K. Comparing CAN FD with Classical CAN [Electronic resource]. 2016. https://www.kvaser.com/wp-content/uploads/2016/10/comparing-can-fd-with-classical-can.pdf (accessed November 19, 2023).
- GOST R ISO/IEC 7498-1-99 Information technology. The interconnection of open systems. The basic reference model. Part 1. The basic model. – introduction 1.01.2000. M.: Publishing House of Standards, 1999. 58 p. (In Russian).
- Standardized higher-layer protocols [Electronic resource]. © CAN in Automation, 2021. https://www.can-cia.org/can-knowledge/hlp/standardized-higher-layer-protocols/ (accessed December 5, 2023).
- CiA 301. CANopen application layer and communication profile. Version: 4.2.0 [Electronic resource]. © CAN in Automation (CiA), 2011. https://www.can-cia.org (accessed December 5, 2023).
- CANopen – The standardized embedded network [Electronic resource]. https://www.can-cia.org/canopen/ (accessed December 5, 2023).
- The Basics of CANopen. © National Instruments Corp, 2021. [Electronic resource]. http://www.ni.com/white-paper/14162/en/#toc2 (accessed December 5, 2023).
Supplementary files




