Оптимизация энергосбережения режима перекачки магистрального нефтепровода

Обложка


Цитировать

Полный текст

Аннотация

Актуальная задача повышения энергоэффективности нефтеперекачивающих станций (НПС) магистральных нефтепроводов (МН) заключается в снижении потребления электроэнергии на перекачку единицы товарной продукции. Обычно эта величина измеряется в кВт·ч на тонну перекачанной нефти. Значение удельных энергозатрат зависит от множества факторов: длины нефтепровода, реологических свойств перекачиваемой нефти, плановых объемов, напора на входе и выходе нефтеперекачивающих станций и др.

Для отдельно взятого участка магистрального нефтепровода и фиксированного временного периода, обычно в течение месяца, многие из перечисленных параметров изменяются незначительно или остаются постоянными. Например, свойства нефти в течение одного месяца не меняются, так как они определены коммерческим контрактом.

Существенным параметром, определяющим удельное электропотребление, является режим перекачки – режим работы насосных агрегатов, определяющий их производительность и среднюю мощность. В зависимости от технологических задач режимы работы постоянно изменяются в соответствии с заданным графиком. Как правило, нормативными документами задаются несколько фиксированных режимов перекачки. Таких режимов может быть от 5 до 10.

Задача оптимизации режимов перекачки заключается в отыскании минимума функции цели – удельного потребления электроэнергии за один календарный месяц работы трубопровода при условии обеспечения плана перекачки за счет оптимального подбора режимов работы НПС. В статье на примере работы МН АО «Транснефть-Приволга» описан алгоритм и результаты оптимизационного расчета, позволившего получить экономию затрат на электроэнергию при обеспечении заданного объема перекачки нефти.

Полный текст

Актуальность вопроса

Анализ влияния наиболее важных технологических параметров, характеризующих процесс транспортировки нефти, на потребление электроэнергии основным и вспомогательным оборудованием НПС приведен в [1]. Предложенная в статье математическая модель определяет электропотребление насосных станций в зависимости от объемов перекачиваемой нефти, значения входного и выходного напора в трубопроводе, физических свойств перекачиваемого продукта, а также от режима работы основного и вспомогательных комплексов электрооборудования. Математическая модель позволяет рассчитывать как суммарное потребление электроэнергии НПС, так и ее удельные, на единицу продукции, значения.

Кроме параметров, определенных в [1], нужно в обязательном порядке учесть режимы переключений отдельных насосных агрегатов с целью обеспечения требуемого технологического графика транспортировки нефти. Неизбежные процессы включения-выключения электродвигателей магистральных насосов сопровождаются повышенным потреблением электроэнергии, дополнительной нагрузкой на трансформаторные подстанции и вызывают снижение остаточного ресурса всего задействованного электрооборудования. Исследования, проведенные авторами на основе статистических данных работы НПС «Б. Черниговка» Самарского РНУ АО «Транснефть-Приволга», позволяют заложить основы алгоритма оптимального управления режимами работы НПС и за счет этого снизить удельные показатели расхода электроэнергии на перекачку единицы товарной продукции, что подтверждает важность и актуальность решения поставленной задачи.

Выявление потенциальных возможностей экономии и затрат на электроэнергию невозможно без оптимизации режимов работы НПС и сопряженного с ней участка нефтепровода [2, 5, 9, 11, 12, 14].

Режимы работы эксплуатационного участка нефтепровода

Суммарная установленная мощность электроприводов только одной насосной станции может составлять десятки мегаватт, что определяет годовое потребление электроэнергии в сотни миллионов кВт MathType@MTEF@5@5@+= feaahGart1ev3aqatCvAUfeBSjuyZL2yd9gzLbvyNv2Caerbov2D09 MBdbqedmvETj2BSbqeduuDJXwAKbYu51MyVXgarqqr1ngBPrgifHhD YfgasaacH8srps0lbbf9q8WrFfeuY=Hhbbf9v8qqaqFr0xc9pk0xbb a9q8WqFfea0=yr0RYxir=Jbba9q8aq0=yq=He9q8qqQ8frFve9Fve9 Ff0dmeaabaqaciaacaWaaeqabaqabeGaeaaakeaaiiaajugybabaaa aaaaaapeGae8xXICnaaa@3905@ час. Однако только часть этой энергии является полезно используемой. Анализ работы магистральных нефтепроводов показывает, что основной причиной, приводящей к перерасходу электроэнергии, является нерациональный выбор режимов работы насосных агрегатов [13, 14]. Регулирование работы насосов на всех НПС направлено на решение технологических задач и, как правило, не учитывает энергетических аспектов транспорта нефти.

В настоящее время регулирование производится несколькими методами. Наиболее часто встречающийся метод - ступенчатое регулирование, осуществляющееся посредством использования нескольких насосов с разными диаметрами рабочих колес. Суть метода заключается в удалении материала рабочего колеса для уменьшения его диаметра выхода D2. В свою очередь, результатом уменьшения диаметра является снижение напора и производительности насоса [5, 15, 16]. Следовательно, при обточке рабочего колеса кривая характеристики насоса понижается и при некотором значении D2 будет проходить через заданную режимную точку. У данного способа два очень существенных недостатка: во-первых, он применим только для стационарных режимов перекачки и при изменении режима неприменим; во-вторых, процесс обточки рабочего колеса необратим, для восстановления максимальной подачи необходимо иметь несколько рабочих колес с разными диаметрами. Замена рабочего колеса насоса сопряжена с остановкой агрегата и существенными затратами на ремонт, которые могут превысить получаемую выгоду от снижения потребления электроэнергии.

Дросселирование как метод регулирования производительности насосных агрегатов, несмотря на свою простоту, - самый неэффективный по затратам электроэнергии метод. До 10-25 % электроэнергии расходуется на непроизводительную работу агрегатов [17].

Наиболее энергоэффективным способом регулирования производительности насосных агрегатов с приводом от асинхронных и синхронных электродвигателей общепризнанно считается метод частотного регулирования. У этого способа есть много достоинств, включая возможность широкого регулирования производительности насосов, плавного пуска, исключающего гидравлические удары, высокий КПД во всем диапазоне частот. Единственным и основным недостатком метода остается высокая стоимость частотного преобразователя большой мощности, в несколько раз превышающая стоимость приводного электродвигателя [18].

Поэтому основным способом регулирования производительности участка магистрального нефтепровода в настоящее время остается дискретное регулирование за счет включения-отключения насосных агрегатов [18].

Для упорядочения режимов работы разрабатывается карта технологических режимов магистрального трубопровода [19]. В этом документе определяются все допустимые режимы работы насосных агрегатов. Таких режимов может быть несколько, и характеризуются они в зависимости от количества включенных агрегатов различной производительностью и, следовательно, различной мощностью потребляемой электроэнергии. Что важно, при этом меняется и удельная мощность потребления электроэнергии на единицу перекачанной нефти. В табл. 1 приведены в качестве примера данные для пяти режимов МТ «Гурьев - Куйбышев».

 

Таблица 1. Карта технологических режимов

Показатель

Номер варианта (режима)

1

2

3

4

5

Pi, кВт

4585

4086

3380

2710

1042

Производительность, qi, т/сут

45504

43728

39420

32760

21840

Удельный показатель электропотребления, Si, кВт·час/т

2,418

2,243

2,058

1,985

1,145

 

Производительность режимов изменяется с 21840 до 45504 т/сутки, а удельное потребление электроэнергии в этих режимах различается в 2,11 раза.

Задача представляемого исследования - при анализе непроизводительных потерь электроэнергии выяснить требуемое время наработки эксплуатационного участка магистрального трубопровода на каждом режиме и на этой основе определить оптимальное время наработки между переключениями и их необходимое количество по критерию минимума потребляемой электроэнергии с учетом графика прокачки нефти.

Допущения и ограничения, принятые при решении задачи

Допущения, принятые при решении оптимизационной задачи, были приняты на основании данных, приведенных в [4, 19, 20].

1. Анализируемый период - один месяц (29 суток, так как одни или двое суток резервируются на остановку МН для планового ремонта и профилактики оборудования).

2. Период дискретизации - одни сутки.

3. Физические свойства перекачиваемой нефти - определены коммерческим контрактом и в течение исследуемого периода неизменны.

4. За расчетную мощность принята средняя мощность агрегатов за сутки.

5. Мощность вспомогательного оборудования НПС в расчетах не учитывается. Учитывается только мощность основного электрооборудования по перекачке товарного продукта [1].

Обоснованность последнего допущения доказана в [1] и основывается на обработке данных по типовой НПС за два периода работы: 2003-2006 гг. - полная загрузка, 2021-2023 гг. - частичная загрузка станций.

Любая задача оптимизации связана с ограничениями, накладываемыми на варьируемые переменные и их соотношение. В рассматриваемой задаче были приняты следующие ограничения.

Первое определяется равенством (1)

t 1 + t 2 +...+ t n =T MathType@MTEF@5@5@+= feaahGart1ev3aaatCvAUfeBSjuyZL2yd9gzLbvyNv2CaerbuLwBLn hiov2DGi1BTfMBaeXatLxBI9gBaerbd9wDYLwzYbItLDharqqtubsr 4rNCHbGeaGqiFC0lf9vqKrpepC0xbbL8F4rqqrFfpeea0xe9Lq=Jc9 vqaqpepm0xbba9pwe9Q8fs0=yqaqpepae9pg0FirpepeKkFr0xfr=x fr=xb9adbaqaceGaciGaaiaabeqaamaabaabaaGcbaGaamiDamaaBa aaleaacaaIXaaabeaakiabgUcaRiaadshadaWgaaWcbaGaaGOmaaqa baGccqGHRaWkcaGGUaGaaiOlaiaac6cacqGHRaWkcaWG0bWaaSbaaS qaaiaad6gaaeqaaOGaeyypa0Jaamivaaaa@4262@ , (1)

где t 1 MathType@MTEF@5@5@+= feaahGart1ev3aqatCvAUfeBSjuyZL2yd9gzLbvyNv2CaerbuLwBLn hiov2DGi1BTfMBaeXatLxBI9gBaerbd9wDYLwzYbItLDharqqtubsr 4rNCHbGeaGqiFC0lf9vqKrpepC0xbbL8F4rqqrFfpeea0xe9Lq=Jc9 vqaqpepm0xbba9pwe9Q8fs0=yqaqpepae9pg0FirpepeKkFr0xfr=x fr=xb9adbaqaceGaciGaaiaabeqaamaabaabaaGcbaGaamiDamaaBa aaleaacaaIXaaabeaaaaa@37B1@ , t 2 MathType@MTEF@5@5@+= feaahGart1ev3aqatCvAUfeBSjuyZL2yd9gzLbvyNv2CaerbuLwBLn hiov2DGi1BTfMBaeXatLxBI9gBaerbd9wDYLwzYbItLDharqqtubsr 4rNCHbGeaGqiFC0lf9vqKrpepC0xbbL8F4rqqrFfpeea0xe9Lq=Jc9 vqaqpepm0xbba9pwe9Q8fs0=yqaqpepae9pg0FirpepeKkFr0xfr=x fr=xb9adbaqaceGaciGaaiaabeqaamaabaabaaGcbaGaamiDamaaBa aaleaacaaIYaaabeaaaaa@37B2@ ,…, t n MathType@MTEF@5@5@+= feaahGart1ev3aqatCvAUfeBSjuyZL2yd9gzLbvyNv2CaerbuLwBLn hiov2DGi1BTfMBaeXatLxBI9gBaerbd9wDYLwzYbItLDharqqtubsr 4rNCHbGeaGqiFC0lf9vqKrpepC0xbbL8F4rqqrFfpeea0xe9Lq=Jc9 vqaqpepm0xbba9pwe9Q8fs0=yqaqpepae9pg0FirpepeKkFr0xfr=x fr=xb9adbaqaceGaciGaaiaabeqaamaabaabaaGcbaGaamiDamaaBa aaleaacaWGUbaabeaaaaa@37E9@  - время работы для 1, 2, … n MathType@MTEF@5@5@+= feaahGart1ev3aqatCvAUfeBSjuyZL2yd9gzLbvyNv2CaerbuLwBLn hiov2DGi1BTfMBaeXatLxBI9gBaerbd9wDYLwzYbItLDharqqtubsr 4rNCHbGeaGqiFC0lf9vqKrpepC0xbbL8F4rqqrFfpeea0xe9Lq=Jc9 vqaqpepm0xbba9pwe9Q8fs0=yqaqpepae9pg0FirpepeKkFr0xfr=x fr=xb9adbaqaceGaciGaaiaabeqaamaabaabaaGcbaGaamOBaaaa@36C4@ -го режима соответственно, сутки; T MathType@MTEF@5@5@+= feaahGart1ev3aqatCvAUfeBSjuyZL2yd9gzLbvyNv2CaerbuLwBLn hiov2DGi1BTfMBaeXatLxBI9gBaerbd9wDYLwzYbItLDharqqtubsr 4rNCHbGeaGqiFC0lf9vqKrpepC0xbbL8F4rqqrFfpeea0xe9Lq=Jc9 vqaqpepm0xbba9pwe9Q8fs0=yqaqpepae9pg0FirpepeKkFr0xfr=x fr=xb9adbaqaceGaciGaaiaabeqaamaabaabaaGcbaGaamivaaaa@36AA@  - отчетный период времени работы нефтепровода, сутки.

Второе ограничение определяется месячной программой объема перекачки нефти

q 1 t 1 + q 2 t 2 +...+ q n t n =Q MathType@MTEF@5@5@+= feaahGart1ev3aaatCvAUfeBSjuyZL2yd9gzLbvyNv2CaerbuLwBLn hiov2DGi1BTfMBaeXatLxBI9gBaerbd9wDYLwzYbItLDharqqtubsr 4rNCHbGeaGqiFC0lf9vqKrpepC0xbbL8F4rqqrFfpeea0xe9Lq=Jc9 vqaqpepm0xbba9pwe9Q8fs0=yqaqpepae9pg0FirpepeKkFr0xfr=x fr=xb9adbaqaceGaciGaaiaabeqaamaabaabaaGcbaGaamyCamaaBa aaleaacaaIXaaabeaakiaadshadaWgaaWcbaGaaGymaaqabaGccqGH RaWkcaWGXbWaaSbaaSqaaiaaikdaaeqaaOGaamiDamaaBaaaleaaca aIYaaabeaakiabgUcaRiaac6cacaGGUaGaaiOlaiabgUcaRiaadgha daWgaaWcbaGaamOBaaqabaGccaWG0bWaaSbaaSqaaiaad6gaaeqaaO Gaeyypa0Jaamyuaaaa@484D@ , (2)

где q 1 MathType@MTEF@5@5@+= feaahGart1ev3aqatCvAUfeBSjuyZL2yd9gzLbvyNv2CaerbuLwBLn hiov2DGi1BTfMBaeXatLxBI9gBaerbd9wDYLwzYbItLDharqqtubsr 4rNCHbGeaGqiFC0lf9vqKrpepC0xbbL8F4rqqrFfpeea0xe9Lq=Jc9 vqaqpepm0xbba9pwe9Q8fs0=yqaqpepae9pg0FirpepeKkFr0xfr=x fr=xb9adbaqaceGaciGaaiaabeqaamaabaabaaGcbaGaamyCamaaBa aaleaacaaIXaaabeaaaaa@37AE@ , q 2 MathType@MTEF@5@5@+= feaahGart1ev3aqatCvAUfeBSjuyZL2yd9gzLbvyNv2CaerbuLwBLn hiov2DGi1BTfMBaeXatLxBI9gBaerbd9wDYLwzYbItLDharqqtubsr 4rNCHbGeaGqiFC0lf9vqKrpepC0xbbL8F4rqqrFfpeea0xe9Lq=Jc9 vqaqpepm0xbba9pwe9Q8fs0=yqaqpepae9pg0FirpepeKkFr0xfr=x fr=xb9adbaqaceGaciGaaiaabeqaamaabaabaaGcbaGaamyCamaaBa aaleaacaaIYaaabeaaaaa@37AF@ ,…, q n MathType@MTEF@5@5@+= feaahGart1ev3aqatCvAUfeBSjuyZL2yd9gzLbvyNv2CaerbuLwBLn hiov2DGi1BTfMBaeXatLxBI9gBaerbd9wDYLwzYbItLDharqqtubsr 4rNCHbGeaGqiFC0lf9vqKrpepC0xbbL8F4rqqrFfpeea0xe9Lq=Jc9 vqaqpepm0xbba9pwe9Q8fs0=yqaqpepae9pg0FirpepeKkFr0xfr=x fr=xb9adbaqaceGaciGaaiaabeqaamaabaabaaGcbaGaamyCamaaBa aaleaacaWGUbaabeaaaaa@37E6@  - расход 1, 2, … n MathType@MTEF@5@5@+= feaahGart1ev3aqatCvAUfeBSjuyZL2yd9gzLbvyNv2CaerbuLwBLn hiov2DGi1BTfMBaeXatLxBI9gBaerbd9wDYLwzYbItLDharqqtubsr 4rNCHbGeaGqiFC0lf9vqKrpepC0xbbL8F4rqqrFfpeea0xe9Lq=Jc9 vqaqpepm0xbba9pwe9Q8fs0=yqaqpepae9pg0FirpepeKkFr0xfr=x fr=xb9adbaqaceGaciGaaiaabeqaamaabaabaaGcbaGaamOBaaaa@36C4@ -го периодов соответственно, тыс. т/сутки; Q - требуемый объем перекачки за отчетный период времени, тыс. т.

Следующее ограничение связано с максимально допустимой мощностью установленного оборудования p max MathType@MTEF@5@5@+= feaahGart1ev3aqatCvAUfeBSjuyZL2yd9gzLbvyNv2CaerbuLwBLn hiov2DGi1BTfMBaeXatLxBI9gBaerbd9wDYLwzYbItLDharqqtubsr 4rNCHbGeaGqiFC0lf9vqKrpepC0xbbL8F4rqqrFfpeea0xe9Lq=Jc9 vqaqpepm0xbba9pwe9Q8fs0=yqaqpepae9pg0FirpepeKkFr0xfr=x fr=xb9adbaqaceGaciGaaiaabeqaamaabaabaaGcbaGaamiCamaaBa aaleaacaqGTbGaaeyyaiaabIhaaeqaaaaa@39C1@  для данного участка МН. Средняя мощность для каждого режима p i MathType@MTEF@5@5@+= feaahGart1ev3aqatCvAUfeBSjuyZL2yd9gzLbvyNv2CaerbuLwBLn hiov2DGi1BTfMBaeXatLxBI9gBaerbd9wDYLwzYbItLDharqqtubsr 4rNCHbGeaGqiFC0lf9vqKrpepC0xbbL8F4rqqrFfpeea0xe9Lq=Jc9 vqaqpepm0xbba9pwe9Q8fs0=yqaqpepae9pg0FirpepeKkFr0xfr=x fr=xb9adbaqaceGaciGaaiaabeqaamaabaabaaGcbaGaamiCamaaBa aaleaacaWGPbaabeaaaaa@37E0@  не должна превышать значения максимальной установленной мощности

p i p max MathType@MTEF@5@5@+= feaahGart1ev3aqatCvAUfeBSjuyZL2yd9gzLbvyNv2CaerbuLwBLn hiov2DGi1BTfMBaeXatLxBI9gBaerbd9wDYLwzYbItLDharqqtubsr 4rNCHbGeaGqiFC0lf9vqKrpepC0xbbL8F4rqqrFfpeea0xe9Lq=Jc9 vqaqpepm0xbba9pwe9Q8fs0=yqaqpepae9pg0FirpepeKkFr0xfr=x fr=xb9adbaqaceGaciGaaiaabeqaamaabaabaaGcbaGaamiCamaaBa aaleaacaWGPbaabeaakiabgsMiJkaadchadaWgaaWcbaGaaeyBaiaa bggacaqG4baabeaaaaa@3D8F@ .(3)

Учитывалось ограничение, связанное с максимальным количеством «горячих» и «холодных» пусков двигателей насосов под нагрузкой в единицу времени, определенное инструкцией по эксплуатации электродвигателя.

Критерий оптимальности и варьируемые факторы

В соответствии с выбранной целью исследования, заключающейся в минимизации непроизводительных расходов электроэнергии, главным параметром, характеризующим эту цель количественно, является расход электроэнергии на единицу товарной продукции, а критерием оптимальности - минимум этого параметра:

p 1 t 1 / q 1 + p 2 t 2 / q 2 +...+ p n t n / q n = Э расч. /Qmin MathType@MTEF@5@5@+= feaahGart1ev3aaatCvAUfeBSjuyZL2yd9gzLbvyNv2CaerbuLwBLn hiov2DGi1BTfMBaeXatLxBI9gBaerbd9wDYLwzYbItLDharqqtubsr 4rNCHbGeaGqiFC0lf9vqKrpepC0xbbL8F4rqqrFfpeea0xe9Lq=Jc9 vqaqpepm0xbba9pwe9Q8fs0=yqaqpepae9pg0FirpepeKkFr0xfr=x fr=xb9adbaqaceGaciGaaiaabeqaamaabaabaaGcbaGaamiCamaaBa aaleaacaaIXaaabeaakiaadshadaWgaaWcbaGaaGymaaqabaGccaGG VaGaamyCamaaBaaaleaacaaIXaaabeaakiabgUcaRiaadchadaWgaa WcbaGaaGOmaaqabaGccaWG0bWaaSbaaSqaaiaaikdaaeqaaOGaai4l aiaadghadaWgaaWcbaGaaGOmaaqabaGccqGHRaWkcaGGUaGaaiOlai aac6cacqGHRaWkcaWGWbWaaSbaaSqaaiaad6gaaeqaaOGaamiDamaa BaaaleaacaWGUbaabeaakiaac+cacaWGXbWaaSbaaSqaaiaad6gaae qaaOGaeyypa0JaamylemaaBaaaleaacaWGarGaamimeiaadgebcaWG hrGaaiOlaaqabaGccaGGVaGaamyuaiabgkziUkaab2gacaqGPbGaae OBaaaa@5A78@ , (4)

где p 1 MathType@MTEF@5@5@+= feaahGart1ev3aqatCvAUfeBSjuyZL2yd9gzLbvyNv2CaerbuLwBLn hiov2DGi1BTfMBaeXatLxBI9gBaerbd9wDYLwzYbItLDharqqtubsr 4rNCHbGeaGqiFC0lf9vqKrpepC0xbbL8F4rqqrFfpeea0xe9Lq=Jc9 vqaqpepm0xbba9pwe9Q8fs0=yqaqpepae9pg0FirpepeKkFr0xfr=x fr=xb9adbaqaceGaciGaaiaabeqaamaabaabaaGcbaGaamiCamaaBa aaleaacaaIXaaabeaaaaa@37AD@ , p 2 MathType@MTEF@5@5@+= feaahGart1ev3aqatCvAUfeBSjuyZL2yd9gzLbvyNv2CaerbuLwBLn hiov2DGi1BTfMBaeXatLxBI9gBaerbd9wDYLwzYbItLDharqqtubsr 4rNCHbGeaGqiFC0lf9vqKrpepC0xbbL8F4rqqrFfpeea0xe9Lq=Jc9 vqaqpepm0xbba9pwe9Q8fs0=yqaqpepae9pg0FirpepeKkFr0xfr=x fr=xb9adbaqaceGaciGaaiaabeqaamaabaabaaGcbaGaamiCamaaBa aaleaacaaIYaaabeaaaaa@37AE@ ,…, p n MathType@MTEF@5@5@+= feaahGart1ev3aqatCvAUfeBSjuyZL2yd9gzLbvyNv2CaerbuLwBLn hiov2DGi1BTfMBaeXatLxBI9gBaerbd9wDYLwzYbItLDharqqtubsr 4rNCHbGeaGqiFC0lf9vqKrpepC0xbbL8F4rqqrFfpeea0xe9Lq=Jc9 vqaqpepm0xbba9pwe9Q8fs0=yqaqpepae9pg0FirpepeKkFr0xfr=x fr=xb9adbaqaceGaciGaaiaabeqaamaabaabaaGcbaGaamiCamaaBa aaleaacaWGUbaabeaaaaa@37E5@  - расход 1, 2, … n MathType@MTEF@5@5@+= feaahGart1ev3aqatCvAUfeBSjuyZL2yd9gzLbvyNv2CaerbuLwBLn hiov2DGi1BTfMBaeXatLxBI9gBaerbd9wDYLwzYbItLDharqqtubsr 4rNCHbGeaGqiFC0lf9vqKrpepC0xbbL8F4rqqrFfpeea0xe9Lq=Jc9 vqaqpepm0xbba9pwe9Q8fs0=yqaqpepae9pg0FirpepeKkFr0xfr=x fr=xb9adbaqaceGaciGaaiaabeqaamaabaabaaGcbaGaamOBaaaa@36C4@ -го режима соответственно, кВт; Э расч. MathType@MTEF@5@5@+= feaahGart1ev3aaatCvAUfeBSjuyZL2yd9gzLbvyNv2CaerbuLwBLn hiov2DGi1BTfMBaeXatLxBI9gBaerbd9wDYLwzYbItLDharqqtubsr 4rNCHbGeaGqiFC0lf9vqKrpepC0xbbL8F4rqqrFfpeea0xe9Lq=Jc9 vqaqpepm0xbba9pwe9Q8fs0=yqaqpepae9pg0FirpepeKkFr0xfr=x fr=xb9adbaqaceGaciGaaiaabeqaamaabaabaaGcbaGaamylemaaBa aaleaacaWGarGaamimeiaadgebcaWGhrGaaiOlaaqabaaaaa@3A80@ - расчетный расход электроэнергии, кВт·час.

В качестве варьируемых переменных в исследовании предложено выбрать время работы агрегатов t 1 MathType@MTEF@5@5@+= feaahGart1ev3aqatCvAUfeBSjuyZL2yd9gzLbvyNv2CaerbuLwBLn hiov2DGi1BTfMBaeXatLxBI9gBaerbd9wDYLwzYbItLDharqqtubsr 4rNCHbGeaGqiFC0lf9vqKrpepC0xbbL8F4rqqrFfpeea0xe9Lq=Jc9 vqaqpepm0xbba9pwe9Q8fs0=yqaqpepae9pg0FirpepeKkFr0xfr=x fr=xb9adbaqaceGaciGaaiaabeqaamaabaabaaGcbaGaamiDamaaBa aaleaacaaIXaaabeaaaaa@37B1@ , t 2 MathType@MTEF@5@5@+= feaahGart1ev3aqatCvAUfeBSjuyZL2yd9gzLbvyNv2CaerbuLwBLn hiov2DGi1BTfMBaeXatLxBI9gBaerbd9wDYLwzYbItLDharqqtubsr 4rNCHbGeaGqiFC0lf9vqKrpepC0xbbL8F4rqqrFfpeea0xe9Lq=Jc9 vqaqpepm0xbba9pwe9Q8fs0=yqaqpepae9pg0FirpepeKkFr0xfr=x fr=xb9adbaqaceGaciGaaiaabeqaamaabaabaaGcbaGaamiDamaaBa aaleaacaaIYaaabeaaaaa@37B2@ ,…, t n MathType@MTEF@5@5@+= feaahGart1ev3aqatCvAUfeBSjuyZL2yd9gzLbvyNv2CaerbuLwBLn hiov2DGi1BTfMBaeXatLxBI9gBaerbd9wDYLwzYbItLDharqqtubsr 4rNCHbGeaGqiFC0lf9vqKrpepC0xbbL8F4rqqrFfpeea0xe9Lq=Jc9 vqaqpepm0xbba9pwe9Q8fs0=yqaqpepae9pg0FirpepeKkFr0xfr=x fr=xb9adbaqaceGaciGaaiaabeqaamaabaabaaGcbaGaamiDamaaBa aaleaacaWGUbaabeaaaaa@37E9@  для 1, 2, … n MathType@MTEF@5@5@+= feaahGart1ev3aqatCvAUfeBSjuyZL2yd9gzLbvyNv2CaerbuLwBLn hiov2DGi1BTfMBaeXatLxBI9gBaerbd9wDYLwzYbItLDharqqtubsr 4rNCHbGeaGqiFC0lf9vqKrpepC0xbbL8F4rqqrFfpeea0xe9Lq=Jc9 vqaqpepm0xbba9pwe9Q8fs0=yqaqpepae9pg0FirpepeKkFr0xfr=x fr=xb9adbaqaceGaciGaaiaabeqaamaabaabaaGcbaGaamOBaaaa@36C4@ -го режимов, сутки в месяц, и соответствующие им значения средней мощности S i MathType@MTEF@5@5@+= feaahGart1ev3aqatCvAUfeBSjuyZL2yd9gzLbvyNv2CaerbuLwBLn hiov2DGi1BTfMBaeXatLxBI9gBaerbd9wDYLwzYbItLDharqqtubsr 4rNCHbGeaGqiFC0lf9vqKrpepC0xbbL8F4rqqrFfpeea0xe9Lq=Jc9 vqaqpepm0xbba9pwe9Q8fs0=yqaqpepae9pg0FirpepeKkFr0xfr=x fr=xb9adbaqaceGaciGaaiaabeqaamaabaabaaGcbaGaam4uamaaBa aaleaacaWGPbaabeaaaaa@37C3@ , кВт·час/т.

Алгоритм поиска экстремума целевой функции

Варьируемые переменные t 1 MathType@MTEF@5@5@+= feaahGart1ev3aqatCvAUfeBSjuyZL2yd9gzLbvyNv2CaerbuLwBLn hiov2DGi1BTfMBaeXatLxBI9gBaerbd9wDYLwzYbItLDharqqtubsr 4rNCHbGeaGqiFC0lf9vqKrpepC0xbbL8F4rqqrFfpeea0xe9Lq=Jc9 vqaqpepm0xbba9pwe9Q8fs0=yqaqpepae9pg0FirpepeKkFr0xfr=x fr=xb9adbaqaceGaciGaaiaabeqaamaabaabaaGcbaGaamiDamaaBa aaleaacaaIXaaabeaaaaa@37B1@ , t 2 MathType@MTEF@5@5@+= feaahGart1ev3aqatCvAUfeBSjuyZL2yd9gzLbvyNv2CaerbuLwBLn hiov2DGi1BTfMBaeXatLxBI9gBaerbd9wDYLwzYbItLDharqqtubsr 4rNCHbGeaGqiFC0lf9vqKrpepC0xbbL8F4rqqrFfpeea0xe9Lq=Jc9 vqaqpepm0xbba9pwe9Q8fs0=yqaqpepae9pg0FirpepeKkFr0xfr=x fr=xb9adbaqaceGaciGaaiaabeqaamaabaabaaGcbaGaamiDamaaBa aaleaacaaIYaaabeaaaaa@37B2@ ,…, t n MathType@MTEF@5@5@+= feaahGart1ev3aqatCvAUfeBSjuyZL2yd9gzLbvyNv2CaerbuLwBLn hiov2DGi1BTfMBaeXatLxBI9gBaerbd9wDYLwzYbItLDharqqtubsr 4rNCHbGeaGqiFC0lf9vqKrpepC0xbbL8F4rqqrFfpeea0xe9Lq=Jc9 vqaqpepm0xbba9pwe9Q8fs0=yqaqpepae9pg0FirpepeKkFr0xfr=x fr=xb9adbaqaceGaciGaaiaabeqaamaabaabaaGcbaGaamiDamaaBa aaleaacaWGUbaabeaaaaa@37E9@  в поставленной задаче могут принимать целочисленные значения от 0 до 29. Значение t i =0 MathType@MTEF@5@5@+= feaahGart1ev3aqatCvAUfeBSjuyZL2yd9gzLbvyNv2CaerbuLwBLn hiov2DGi1BTfMBaeXatLxBI9gBaerbd9wDYLwzYbItLDharqqtubsr 4rNCHbGeaGqiFC0lf9vqKrpepC0xbbL8F4rqqrFfpeea0xe9Lq=Jc9 vqaqpepm0xbba9pwe9Q8fs0=yqaqpepae9pg0FirpepeKkFr0xfr=x fr=xb9adbaqaceGaciGaaiaabeqaamaabaabaaGcbaGaamiDamaaBa aaleaacaWGPbaabeaakiabg2da9iaaicdaaaa@39AE@  означает, что i-тый режим в течение исследуемого периода не применяется ни одного раза.

Количество всех возможных сочетаний определяется известным выражением [3]

N= p k = 30 5 =24.3 10 6 MathType@MTEF@5@5@+= feaahGart1ev3aqatCvAUfeBSjuyZL2yd9gzLbvyNv2CaerbuLwBLn hiov2DGi1BTfMBaeXatLxBI9gBaerbd9wDYLwzYbItLDharqqtubsr 4rNCHbGeaGqiFC0lf9vqKrpepC0xbbL8F4rqqrFfpeea0xe9Lq=Jc9 vqaqpepm0xbba9pwe9Q8fs0=yqaqpepae9pg0FirpepeKkFr0xfr=x fr=xb9adbaqaceGaciGaaiaabeqaamaabaabaaGcbaGaamOtaiabg2 da9iaadchadaahaaWcbeqaaiaadUgaaaGccqGH9aqpcaaIZaGaaGim amaaCaaaleqabaGaaGynaaaakiabg2da9iaaikdacaaI0aGaaiOlai aaiodacqGHflY1caaIXaGaaGimamaaCaaaleqabaGaaGOnaaaaaaa@45D4@ . (5)

Такое количество вариантов исследовать весьма проблематично. Но с учетом ограничения (2) это число значительно сокращается. Если равенство (2) задать абсолютно строгим, то множество (4) может оказаться вообще пустым. Поэтому вместо строгого равенства (2) было предложено условие, которое заключалось в том, что отклонение расчетного объема перекачиваемой нефти от заданного контрактом Q k MathType@MTEF@5@5@+= feaahGart1ev3aqatCvAUfeBSjuyZL2yd9gzLbvyNv2CaerbuLwBLn hiov2DGi1BTfMBaeXatLxBI9gBaerbd9wDYLwzYbItLDharqqtubsr 4rNCHbGeaGqiFC0lf9vqKrpepC0xbbL8F4rqqrFfpeea0xe9Lq=Jc9 vqaqpepm0xbba9pwe9Q8fs0=yqaqpepae9pg0FirpepeKkFr0xfr=x fr=xb9adbaqaceGaciGaaiaabeqaamaabaabaaGcbaGaamyuamaaBa aaleaacaWGRbaabeaaaaa@37C3@  не должно превышать наперед заданной величины e % MathType@MTEF@5@5@+= feaahGart1ev3aqatCvAUfeBSjuyZL2yd9gzLbvyNv2CaerbuLwBLn hiov2DGi1BTfMBaeXatLxBI9gBaerbd9wDYLwzYbItLDharqqtubsr 4rNCHbGeaGqiFC0lf9vqKrpepC0xbbL8F4rqqrFfpeea0xe9Lq=Jc9 vqaqpepm0xbba9pwe9Q8fs0=yqaqpepae9pg0FirpepeKkFr0xfr=x fr=xb9adbaqaceGaciGaaiaabeqaamaabaabaaGcbaGaamyzamaaBa aaleaacaGGLaaabeaaaaa@3790@ :

Δ Q % e % MathType@MTEF@5@5@+= feaahGart1ev3aqatCvAUfeBSjuyZL2yd9gzLbvyNv2CaerbuLwBLn hiov2DGi1BTfMBaeXatLxBI9gBaerbd9wDYLwzYbItLDharqqtubsr 4rNCHbGeaGqiFC0lf9vqKrpepC0xbbL8F4rqqrFfpeea0xe9Lq=Jc9 vqaqpepm0xbba9pwe9Q8fs0=yqaqpepae9pg0FirpepeKkFr0xfr=x fr=xb9adbaqaceGaciGaaiaabeqaamaabaabaaGcbaGaeuiLdqKaam yuamaaBaaaleaacaGGLaaabeaakiabgsMiJkaadwgadaWgaaWcbaGa aiyjaaqabaaaaa@3C60@ ,

где

Δ Q % = q 1 t 1 + q 2 t 2 + q 3 t 3 + q 4 t 4 + q 5 t 5 Q k 100 Q k MathType@MTEF@5@5@+= feaahGart1ev3aqatCvAUfeBSjuyZL2yd9gzLbvyNv2CaerbuLwBLn hiov2DGi1BTfMBaeXatLxBI9gBaerbd9wDYLwzYbItLDharqqtubsr 4rNCHbGeaGqiFC0lf9vqKrpepC0xbbL8F4rqqrFfpeea0xe9Lq=Jc9 vqaqpepm0xbba9pwe9Q8fs0=yqaqpepae9pg0FirpepeKkFr0xfr=x fr=xb9adbaqaceGaciGaaiaabeqaamaabaabaaGcbaGaeuiLdqKaam yuamaaBaaaleaacaGGLaaabeaakiabg2da9maalaaabaWaaeWaaeaa caWGXbWaaSbaaSqaaiaaigdaaeqaaOGaeyyXICTaamiDamaaBaaale aacaaIXaaabeaakiabgUcaRiaadghadaWgaaWcbaGaaGOmaaqabaGc cqGHflY1caWG0bWaaSbaaSqaaiaaikdaaeqaaOGaey4kaSIaamyCam aaBaaaleaacaaIZaaabeaakiabgwSixlaadshadaWgaaWcbaGaaG4m aaqabaGccqGHRaWkcaWGXbWaaSbaaSqaaiaaisdaaeqaaOGaeyyXIC TaamiDamaaBaaaleaacaaI0aaabeaakiabgUcaRiaadghadaWgaaWc baGaaGynaaqabaGccqGHflY1caWG0bWaaSbaaSqaaiaaiwdaaeqaaO GaeyOeI0IaamyuamaaBaaaleaacaWGRbaabeaaaOGaayjkaiaawMca aiabgwSixlaaigdacaaIWaGaaGimaaqaaiaadgfadaWgaaWcbaGaam 4Aaaqabaaaaaaa@6702@ . (6)

При такой постановке задачи число возможных сочетаний режимов работы, обеспечивающих заданную точность, значительно сокращается. Так, если e % =0.5 MathType@MTEF@5@5@+= feaahGart1ev3aqatCvAUfeBSjuyZL2yd9gzLbvyNv2CaerbuLwBLn hiov2DGi1BTfMBaeXatLxBI9gBaerbd9wDYLwzYbItLDharqqtubsr 4rNCHbGeaGqiFC0lf9vqKrpepC0xbbL8F4rqqrFfpeea0xe9Lq=Jc9 vqaqpepm0xbba9pwe9Q8fs0=yqaqpepae9pg0FirpepeKkFr0xfr=x fr=xb9adbaqaceGaciGaaiaabeqaamaabaabaaGcbaGaamyzamaaBa aaleaacaGGLaaabeaakiabg2da9iaaicdacaGGUaGaaGynaaaa@3ACB@ %, то число вариантов, отвечающих условиям (1) и (6), сокращается до 1276. Следует отметить, что 0.5% от планового показателя объема месячной перекачки составляет 2,5 тыс. т - примерно двадцатую часть средней суточной производительности МН. В этом случае неточность обеспечения заданной месячной производительности МН корректируется сокращением или добавлением 1-2 часов работы в резервный день.

Для такого количества «испытаний» (расчетов) по математической модели и последующего анализа полученных результатов рационально применить метод упорядоченного перебора с последующим ранжированием значений параметра оптимизации. Современные компьютерные программы легко позволяют это сделать.

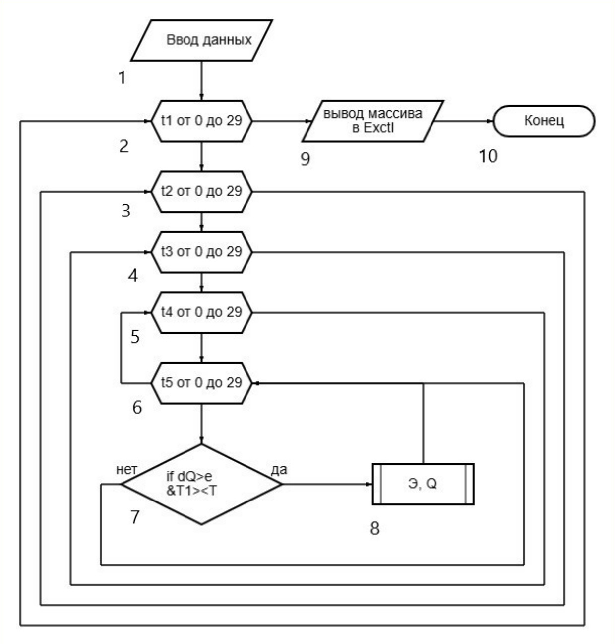
Алгоритм отбора всех удовлетворяющих условиям постановки задачи режимов представлен на рис. 1.

Задача оптимизации в общем виде ставилась как задача выбора из множества допустимых альтернативных вариантов подмножества оптимальных решений, среди которых в дальнейшем определялся окончательный оптимальный режим переключений агрегатов, обеспечивающий минимум потребления электроэнергии на единицу объема перекачанной нефти.

Подмножество всех вариантов сочетаний режимов экспортировалось из программы MatchCad в Excel в виде неупорядоченного массива данных о 1276 вариантах, в которые входили:

  • количество суток работы для каждого режима t 1 MathType@MTEF@5@5@+= feaahGart1ev3aqatCvAUfeBSjuyZL2yd9gzLbvyNv2CaerbuLwBLn hiov2DGi1BTfMBaeXatLxBI9gBaerbd9wDYLwzYbItLDharqqtubsr 4rNCHbGeaGqiFC0lf9vqKrpepC0xbbL8F4rqqrFfpeea0xe9Lq=Jc9 vqaqpepm0xbba9pwe9Q8fs0=yqaqpepae9pg0FirpepeKkFr0xfr=x fr=xb9adbaqaceGaciGaaiaabeqaamaabaabaaGcbaGaamiDamaaBa aaleaacaaIXaaabeaaaaa@37B1@ , t 2 MathType@MTEF@5@5@+= feaahGart1ev3aqatCvAUfeBSjuyZL2yd9gzLbvyNv2CaerbuLwBLn hiov2DGi1BTfMBaeXatLxBI9gBaerbd9wDYLwzYbItLDharqqtubsr 4rNCHbGeaGqiFC0lf9vqKrpepC0xbbL8F4rqqrFfpeea0xe9Lq=Jc9 vqaqpepm0xbba9pwe9Q8fs0=yqaqpepae9pg0FirpepeKkFr0xfr=x fr=xb9adbaqaceGaciGaaiaabeqaamaabaabaaGcbaGaamiDamaaBa aaleaacaaIYaaabeaaaaa@37B2@ ,…, t 5 MathType@MTEF@5@5@+= feaahGart1ev3aqatCvAUfeBSjuyZL2yd9gzLbvyNv2CaerbuLwBLn hiov2DGi1BTfMBaeXatLxBI9gBaerbd9wDYLwzYbItLDharqqtubsr 4rNCHbGeaGqiFC0lf9vqKrpepC0xbbL8F4rqqrFfpeea0xe9Lq=Jc9 vqaqpepm0xbba9pwe9Q8fs0=yqaqpepae9pg0FirpepeKkFr0xfr=x fr=xb9adbaqaceGaciGaaiaabeqaamaabaabaaGcbaGaamiDamaaBa aaleaacaaI1aaabeaaaaa@37B5@ ;
  • расчетная производительность за месяц Q, т;
  • отклонение расчетной месячной производительности от заданной, Δ Q % MathType@MTEF@5@5@+= feaahGart1ev3aqatCvAUfeBSjuyZL2yd9gzLbvyNv2CaerbuLwBLn hiov2DGi1BTfMBaeXatLxBI9gBaerbd9wDYLwzYbItLDharqqtubsr 4rNCHbGeaGqiFC0lf9vqKrpepC0xbbL8F4rqqrFfpeea0xe9Lq=Jc9 vqaqpepm0xbba9pwe9Q8fs0=yqaqpepae9pg0FirpepeKkFr0xfr=x fr=xb9adbaqaceGaciGaaiaabeqaamaabaabaaGcbaGaeuiLdqKaam yuamaaBaaaleaacaGGLaaabeaaaaa@38E2@ ;
  • затраты электроэнергии для каждого варианта режимов Э, кВт·час;
  • значение экономии электроэнергии в сравнении с фактическим за исследуемый месяц ΔЭ, кВт·час и %.

 

Рис. 1. Алгоритм метода упорядоченного перебора: 1 - блок ввода исходных данных и констант; 2…6 - вложенные циклы перебора всех возможных сочетаний периодов работы каждого технологического цикла; 7 - проверка ограничения по отклонению суммарной производительности от заданного значения и проверка условия (6), в случае нарушения одного из этих ограничений вариант отклоняется и расчет переходит к следующему варианту; 8 - подпрограмма расчета потребного месячного энергопотребления Э, кВт·час; 9 - вывод массива расчетных данных в Excel для дальнейшей обработки

 

Результаты решения оптимизационной задачи

Как отмечалось выше, в качестве объекта оптимизации был выбран участок магистрального нефтепровода «Гурьев - Куйбышев» системы ПАО «Транснефть» проектной мощностью 17,5 млн т/год. Статистические данные выбраны за один из типичных месяцев исследуемого периода, когда трубопровод работал на 47 % от проектной мощности. Оптимизационный расчет проводился для этого коэффициента загрузки МН.

За месяц по исследуемому участку МН было перекачано согласно коммерческому плану Q=1027760 MathType@MTEF@5@5@+= feaahGart1ev3aqatCvAUfeBSjuyZL2yd9gzLbvyNv2CaerbuLwBLn hiov2DGi1BTfMBaeXatLxBI9gBaerbd9wDYLwzYbItLDharqqtubsr 4rNCHbGeaGqiFC0lf9vqKrpepC0xbbL8F4rqqrFfpeea0xe9Lq=Jc9 vqaqpepm0xbba9pwe9Q8fs0=yqaqpepae9pg0FirpepeKkFr0xfr=x fr=xb9adbaqaceGaciGaaiaabeqaamaabaabaaGcbaGaamyuaiabg2 da9iaaigdacaaMc8UaaGimaiaaikdacaaI3aGaaGPaVlaaiEdacaaI 2aGaaGimaaaa@3FF0@  т нефти.

Фактическое энергопотребление составило Э факт =2004478 MathType@MTEF@5@5@+= feaahGart1ev3aqatCvAUfeBSjuyZL2yd9gzLbvyNv2CaerbuLwBLn hiov2DGi1BTfMBaeXatLxBI9gBaerbd9wDYLwzYbItLDharqqtubsr 4rNCHbGeaGqiFC0lf9vqKrpepC0xbbL8F4rqqrFfpeea0xe9Lq=Jc9 vqaqpepm0xbba9pwe9Q8fs0=yqaqpepae9pg0FirpepeKkFr0xfr=x fr=xb9adbaqaceGaciGaaiaabeqaamaabaabaaGcbaGaamylemaaBa aaleaacaWGerGaamimeiaadQdbcaWGcraabeaakiabg2da9iaaikda caaMc8UaaGimaiaaicdacaaI0aGaaGPaVlaaisdacaaI3aGaaGioaa aa@431C@  кВт·час.

Задачей оптимизации было найти такое соотношение режимов работы из пяти допустимых картой технических режимов, при котором расчетное потребление электроэнергии будет меньше Э факт MathType@MTEF@5@5@+= feaahGart1ev3aqatCvAUfeBSjuyZL2yd9gzLbvyNv2CaerbuLwBLn hiov2DGi1BTfMBaeXatLxBI9gBaerbd9wDYLwzYbItLDharqqtubsr 4rNCHbGeaGqiFC0lf9vqKrpepC0xbbL8F4rqqrFfpeea0xe9Lq=Jc9 vqaqpepm0xbba9pwe9Q8fs0=yqaqpepae9pg0FirpepeKkFr0xfr=x fr=xb9adbaqaceGaciGaaiaabeqaamaabaabaaGcbaGaamylemaaBa aaleaacaWGerGaamimeiaadQdbcaWGcraabeaaaaa@39C7@ , а в общем случае будет минимальным.

В электронных таблицах Excel данные массива всех возможных вариантов режимов перекачки были структурированы в порядке убывания величины расчетной экономии электроэнергии за месяц ΔЭ, кВт·час. Из 25 лучших вариантов 23 дают по сравнению с фактическим расходом электроэнергии за исследуемый месяц экономию от 2 158 до 44 782 кВт·час (0,11-2,23 %). Варианты, начиная с 24-го и далее, экономии энергии не дают.

Для более детального анализа в электронных таблицах были рассчитаны дополнительные параметры режимов перекачки.

В табл. 2 приведены структурированные данные по объемам перекачки для 12 лучших по энергоэффективности вариантов с учетом объема перекачки каждого из пяти режимов за расчетное количество суток q i t i MathType@MTEF@5@5@+= feaahGart1ev3aqatCvAUfeBSjuyZL2yd9gzLbvyNv2CaerbuLwBLn hiov2DGi1BTfMBaeXatLxBI9gBaerbd9wDYLwzYbItLDharqqtubsr 4rNCHbGeaGqiFC0lf9vqKrpepC0xbbL8F4rqqrFfpeea0xe9Lq=Jc9 vqaqpepm0xbba9pwe9Q8fs0=yqaqpepae9pg0FirpepeKkFr0xfr=x fr=xb9adbaqaceGaciGaaiaabeqaamaabaabaaGcbaGaamyCamaaBa aaleaacaWGPbaabeaakiabgwSixlaadshadaWgaaWcbaGaamyAaaqa baaaaa@3C48@ .

В итоговых столбцах таблицы даны значения дефицита/профицита месячного плана перекачки в тоннах ΔQ MathType@MTEF@5@5@+= feaahGart1ev3aqatCvAUfeBSjuyZL2yd9gzLbvyNv2CaerbuLwBLn hiov2DGi1BTfMBaeXatLxBI9gBaerbd9wDYLwzYbItLDharqqtubsr 4rNCHbGeaGqiFC0lf9vqKrpepC0xbbL8F4rqqrFfpeea0xe9Lq=Jc9 vqaqpepm0xbba9pwe9Q8fs0=yqaqpepae9pg0FirpepeKkFr0xfr=x fr=xb9adbaqaceGaciGaaiaabeqaamaabaabaaGcbaGaeuiLdqKaam yuaaaa@380D@  и процентах Δ Q % MathType@MTEF@5@5@+= feaahGart1ev3aqatCvAUfeBSjuyZL2yd9gzLbvyNv2CaerbuLwBLn hiov2DGi1BTfMBaeXatLxBI9gBaerbd9wDYLwzYbItLDharqqtubsr 4rNCHbGeaGqiFC0lf9vqKrpepC0xbbL8F4rqqrFfpeea0xe9Lq=Jc9 vqaqpepm0xbba9pwe9Q8fs0=yqaqpepae9pg0FirpepeKkFr0xfr=x fr=xb9adbaqaceGaciGaaiaabeqaamaabaabaaGcbaGaeuiLdqKaam yuamaaBaaaleaacaGGLaaabeaaaaa@38E2@ .

Отметим, что профицит месячной производительности в 976 т соответствует только одному варианту MathType@MTEF@5@5@+= feaahGart1ev3aqatCvAUfeBSjuyZL2yd9gzLbvyNv2Caerbov2D09 MBdbqedmvETj2BSbqeduuDJXwAKbYu51MyVXgarqqr1ngBPrgifHhD YfgasaacH8srps0lbbf9q8WrFfeuY=Hhbbf9v8qqaqFr0xc9pk0xbb a9q8WqFfea0=yr0RYxir=Jbba9q8aq0=yq=He9q8qqQ8frFve9Fve9 Ff0dmeaabaqaciaacaWaaeqabaqabeGaeaaakeaaruWqHXwAIjxAaG qbaKqzGfaeaaaaaaaaa8qacaWFwecaaa@3A49@  10. Для остальных вариантов недовыполнение программы перекачки составляет от 1376 до 10040 т.

Для того чтобы компенсировать недовыполнение плана перекачки, например для варианта MathType@MTEF@5@5@+= feaahGart1ev3aqatCvAUfeBSjuyZL2yd9gzLbvyNv2Caerbov2D09 MBdbqedmvETj2BSbqeduuDJXwAKbYu51MyVXgarqqr1ngBPrgifHhD YfgasaacH8srps0lbbf9q8WrFfeuY=Hhbbf9v8qqaqFr0xc9pk0xbb a9q8WqFfea0=yr0RYxir=Jbba9q8aq0=yq=He9q8qqQ8frFve9Fve9 Ff0dmeaabaqaciaacaWaaeqabaqabeGaeaaakeaaruWqHXwAIjxAaG qbaKqzGfaeaaaaaaaaa8qacaWFwecaaa@3A49@  3 в 10 040 т, потребуется работа агрегатов МН в режиме MathType@MTEF@5@5@+= feaahGart1ev3aqatCvAUfeBSjuyZL2yd9gzLbvyNv2Caerbov2D09 MBdbqedmvETj2BSbqeduuDJXwAKbYu51MyVXgarqqr1ngBPrgifHhD YfgasaacH8srps0lbbf9q8WrFfeuY=Hhbbf9v8qqaqFr0xc9pk0xbb a9q8WqFfea0=yr0RYxir=Jbba9q8aq0=yq=He9q8qqQ8frFve9Fve9 Ff0dmeaabaqaciaacaWaaeqabaqabeGaeaaakeaaruWqHXwAIjxAaG qbaKqzGfaeaaaaaaaaa8qacaWFwecaaa@3A49@  1 в течение 5 часов в резервные сутки, что, как правило, нежелательно, хотя и допустимо, по технологическим причинам.

На диаграмме рис. 2 в виде столбцов с накоплением показана структура перекачки для первых 12 вариантов режимов. Каждая часть столбца соответствует номеру режима (с 1 по 5 снизу вверх) в сутках, умноженному на мощность соответствующего режима. Весь столбец соответствует месячному объему перекачки для заданного варианта.

Из диаграммы видно, что суммарный объем перекачки - полная высота столбцов - меняется в пределах наперед заданной погрешности 0,5 %.

 

Рис. 2. Диаграмма объемов перекачки для лучших вариантов режимов по экономии электроэнергии

 

Таблица 2. Производительность МН для отдельных режимов работы

MathType@MTEF@5@5@+= feaahGart1ev3aqatCvAUfeBSjuyZL2yd9gzLbvyNv2Caerbov2D09 MBdbqedmvETj2BSbqeduuDJXwAKbYu51MyVXgarqqr1ngBPrgifHhD YfgasaacH8srps0lbbf9q8WrFfeuY=Hhbbf9v8qqaqFr0xc9pk0xbb a9q8WqFfea0=yr0RYxir=Jbba9q8aq0=yq=He9q8qqQ8frFve9Fve9 Ff0dmeaabaqaciaacaWaaeqabaqabeGaeaaakeaaruWqHXwAIjxAaG qbaKqzGfaeaaaaaaaaa8qacaWFwecaaa@3A49@

t 1 MathType@MTEF@5@5@+= feaahGart1ev3aqatCvAUfeBSjuyZL2yd9gzLbvyNv2CaerbuLwBLn hiov2DGi1BTfMBaeXatLxBI9gBaerbd9wDYLwzYbItLDharqqtubsr 4rNCHbGeaGqipC0lf9vqKrpepC0xbbL8F4rqqrFfpeea0xe9Lq=Jc9 vqaqpepm0xbba9pwe9Q8fs0=yqaqpepae9pg0FirpepeKkFr0xfr=x fr=xb9adbaqaceGaciGaaiaabeqaamaabaabaaGcbaGaamiDamaaBa aaleaacaaIXaaabeaaaaa@37A1@ , сут

q 1 t 1 MathType@MTEF@5@5@+= feaahGart1ev3aqatCvAUfeBSjuyZL2yd9gzLbvyNv2CaerbuLwBLn hiov2DGi1BTfMBaeXatLxBI9gBaerbd9wDYLwzYbItLDharqqtubsr 4rNCHbGeaGqipC0lf9vqKrpepC0xbbL8F4rqqrFfpeea0xe9Lq=Jc9 vqaqpepm0xbba9pwe9Q8fs0=yqaqpepae9pg0FirpepeKkFr0xfr=x fr=xb9adbaqaceGaciGaaiaabeqaamaabaabaaGcbaGaamyCamaaBa aaleaacaaIXaaabeaakiabgwSixlaadshadaWgaaWcbaGaaGymaaqa baaaaa@3BD2@ , т

t 2 MathType@MTEF@5@5@+= feaahGart1ev3aqatCvAUfeBSjuyZL2yd9gzLbvyNv2CaerbuLwBLn hiov2DGi1BTfMBaeXatLxBI9gBaerbd9wDYLwzYbItLDharqqtubsr 4rNCHbGeaGqipC0lf9vqKrpepC0xbbL8F4rqqrFfpeea0xe9Lq=Jc9 vqaqpepm0xbba9pwe9Q8fs0=yqaqpepae9pg0FirpepeKkFr0xfr=x fr=xb9adbaqaceGaciGaaiaabeqaamaabaabaaGcbaGaamiDamaaBa aaleaacaaIYaaabeaaaaa@37A2@ , сут

q 2 t 2 MathType@MTEF@5@5@+= feaahGart1ev3aqatCvAUfeBSjuyZL2yd9gzLbvyNv2CaerbuLwBLn hiov2DGi1BTfMBaeXatLxBI9gBaerbd9wDYLwzYbItLDharqqtubsr 4rNCHbGeaGqipC0lf9vqKrpepC0xbbL8F4rqqrFfpeea0xe9Lq=Jc9 vqaqpepm0xbba9pwe9Q8fs0=yqaqpepae9pg0FirpepeKkFr0xfr=x fr=xb9adbaqaceGaciGaaiaabeqaamaabaabaaGcbaGaamyCamaaBa aaleaacaaIYaaabeaakiabgwSixlaadshadaWgaaWcbaGaaGOmaaqa baaaaa@3BD4@ , т

t 3 MathType@MTEF@5@5@+= feaahGart1ev3aqatCvAUfeBSjuyZL2yd9gzLbvyNv2CaerbuLwBLn hiov2DGi1BTfMBaeXatLxBI9gBaerbd9wDYLwzYbItLDharqqtubsr 4rNCHbGeaGqipC0lf9vqKrpepC0xbbL8F4rqqrFfpeea0xe9Lq=Jc9 vqaqpepm0xbba9pwe9Q8fs0=yqaqpepae9pg0FirpepeKkFr0xfr=x fr=xb9adbaqaceGaciGaaiaabeqaamaabaabaaGcbaGaamiDamaaBa aaleaacaaIZaaabeaaaaa@37A3@ , сут

q 3 t 3 MathType@MTEF@5@5@+= feaahGart1ev3aqatCvAUfeBSjuyZL2yd9gzLbvyNv2CaerbuLwBLn hiov2DGi1BTfMBaeXatLxBI9gBaerbd9wDYLwzYbItLDharqqtubsr 4rNCHbGeaGqipC0lf9vqKrpepC0xbbL8F4rqqrFfpeea0xe9Lq=Jc9 vqaqpepm0xbba9pwe9Q8fs0=yqaqpepae9pg0FirpepeKkFr0xfr=x fr=xb9adbaqaceGaciGaaiaabeqaamaabaabaaGcbaGaamyCamaaBa aaleaacaaIZaaabeaakiabgwSixlaadshadaWgaaWcbaGaaG4maaqa baaaaa@3BD6@ , т

1

0

0

0

0

22

867 240

2

0

0

1

43 728

20

788 400

3

0

0

0

0

20

788 400

4

0

0

4

174 912

17

670 140

5

0

0

1

43 728

21

827 820

6

0

0

0

0

21

827 820

7

0

0

5

218 640

16

630 720

8

1

45 504

0

0

21

827 820

9

1

45 504

1

43 728

19

748 980

10

0

0

2

87 456

20

788 400

11

0

0

3

131 184

18

709 560

12

0

0

4

174 912

16

630 720

MathType@MTEF@5@5@+= feaahGart1ev3aqatCvAUfeBSjuyZL2yd9gzLbvyNv2Caerbov2D09 MBdbqedmvETj2BSbqeduuDJXwAKbYu51MyVXgarqqr1ngBPrgifHhD YfgasaacH8srps0lbbf9q8WrFfeuY=Hhbbf9v8qqaqFr0xc9pk0xbb a9q8WqFfea0=yr0RYxir=Jbba9q8aq0=yq=He9q8qqQ8frFve9Fve9 Ff0dmeaabaqaciaacaWaaeqabaqabeGaeaaakeaaruWqHXwAIjxAaG qbaKqzGfaeaaaaaaaaa8qacaWFwecaaa@3A49@

t 4 MathType@MTEF@5@5@+= feaahGart1ev3aqatCvAUfeBSjuyZL2yd9gzLbvyNv2CaerbuLwBLn hiov2DGi1BTfMBaeXatLxBI9gBaerbd9wDYLwzYbItLDharqqtubsr 4rNCHbGeaGqipC0lf9vqKrpepC0xbbL8F4rqqrFfpeea0xe9Lq=Jc9 vqaqpepm0xbba9pwe9Q8fs0=yqaqpepae9pg0FirpepeKkFr0xfr=x fr=xb9adbaqaceGaciGaaiaabeqaamaabaabaaGcbaGaamiDamaaBa aaleaacaaI0aaabeaaaaa@37A4@ , сут

q 4 t 4 MathType@MTEF@5@5@+= feaahGart1ev3aqatCvAUfeBSjuyZL2yd9gzLbvyNv2CaerbuLwBLn hiov2DGi1BTfMBaeXatLxBI9gBaerbd9wDYLwzYbItLDharqqtubsr 4rNCHbGeaGqipC0lf9vqKrpepC0xbbL8F4rqqrFfpeea0xe9Lq=Jc9 vqaqpepm0xbba9pwe9Q8fs0=yqaqpepae9pg0FirpepeKkFr0xfr=x fr=xb9adbaqaceGaciGaaiaabeqaamaabaabaaGcbaGaamyCamaaBa aaleaacaaI0aaabeaakiabgwSixlaadshadaWgaaWcbaGaaGinaaqa baaaaa@3BD8@ , т

t 5 MathType@MTEF@5@5@+= feaahGart1ev3aqatCvAUfeBSjuyZL2yd9gzLbvyNv2CaerbuLwBLn hiov2DGi1BTfMBaeXatLxBI9gBaerbd9wDYLwzYbItLDharqqtubsr 4rNCHbGeaGqipC0lf9vqKrpepC0xbbL8F4rqqrFfpeea0xe9Lq=Jc9 vqaqpepm0xbba9pwe9Q8fs0=yqaqpepae9pg0FirpepeKkFr0xfr=x fr=xb9adbaqaceGaciGaaiaabeqaamaabaabaaGcbaGaamiDamaaBa aaleaacaaI1aaabeaaaaa@37A5@ , сут

q 5 t 5 MathType@MTEF@5@5@+= feaahGart1ev3aqatCvAUfeBSjuyZL2yd9gzLbvyNv2CaerbuLwBLn hiov2DGi1BTfMBaeXatLxBI9gBaerbd9wDYLwzYbItLDharqqtubsr 4rNCHbGeaGqipC0lf9vqKrpepC0xbbL8F4rqqrFfpeea0xe9Lq=Jc9 vqaqpepm0xbba9pwe9Q8fs0=yqaqpepae9pg0FirpepeKkFr0xfr=x fr=xb9adbaqaceGaciGaaiaabeqaamaabaabaaGcbaGaamyCamaaBa aaleaacaaI1aaabeaakiabgwSixlaadshadaWgaaWcbaGaaGynaaqa baaaaa@3BDA@ , т

Q MathType@MTEF@5@5@+= feaahGart1ev3aqatCvAUfeBSjuyZL2yd9gzLbvyNv2CaerbuLwBLn hiov2DGi1BTfMBaeXatLxBI9gBaerbd9wDYLwzYbItLDharqqtubsr 4rNCHbGeaGqipC0lf9vqKrpepC0xbbL8F4rqqrFfpeea0xe9Lq=Jc9 vqaqpepm0xbba9pwe9Q8fs0=yqaqpepae9pg0FirpepeKkFr0xfr=x fr=xb9adbaqaceGaciGaaiaabeqaamaabaabaaGcbaGaamyuaaaa@3697@ , т

ΔQ MathType@MTEF@5@5@+= feaahGart1ev3aqatCvAUfeBSjuyZL2yd9gzLbvyNv2CaerbuLwBLn hiov2DGi1BTfMBaeXatLxBI9gBaerbd9wDYLwzYbItLDharqqtubsr 4rNCHbGeaGqipC0lf9vqKrpepC0xbbL8F4rqqrFfpeea0xe9Lq=Jc9 vqaqpepm0xbba9pwe9Q8fs0=yqaqpepae9pg0FirpepeKkFr0xfr=x fr=xb9adbaqaceGaciGaaiaabeqaamaabaabaaGcbaGaeuiLdqKaam yuaaaa@37FD@ , т

ΔQ MathType@MTEF@5@5@+= feaahGart1ev3aqatCvAUfeBSjuyZL2yd9gzLbvyNv2CaerbuLwBLn hiov2DGi1BTfMBaeXatLxBI9gBaerbd9wDYLwzYbItLDharqqtubsr 4rNCHbGeaGqipC0lf9vqKrpepC0xbbL8F4rqqrFfpeea0xe9Lq=Jc9 vqaqpepm0xbba9pwe9Q8fs0=yqaqpepae9pg0FirpepeKkFr0xfr=x fr=xb9adbaqaceGaciGaaiaabeqaamaabaabaaGcbaGaeuiLdqKaam yuaaaa@37FD@ , %

1

0

0

7

152880

1 020 120

7640 MathType@MTEF@5@5@+= feaahGart1ev3aqatCvAUfeBSjuyZL2yd9gzLbvyNv2CaerbuLwBLn hiov2DGi1BTfMBaeXatLxBI9gBaerbd9wDYLwzYbItLDharqqtubsr 4rNCHbGeaGqipC0lf9vqKrpepC0xbbL8F4rqqrFfpeea0xe9Lq=Jc9 vqaqpepm0xbba9pwe9Q8fs0=yqaqpepae9pg0FirpepeKkFr0xfr=x fr=xb9adbaqaceGaciGaaiaabeqaamaabaabaaGcbaGaeyOeI0IaaG 4naiaaiAdacaaI0aGaaGimaaaa@39A7@

0.74 MathType@MTEF@5@5@+= feaahGart1ev3aqatCvAUfeBSjuyZL2yd9gzLbvyNv2CaerbuLwBLn hiov2DGi1BTfMBaeXatLxBI9gBaerbd9wDYLwzYbItLDharqqtubsr 4rNCHbGeaGqipC0lf9vqKrpepC0xbbL8F4rqqrFfpeea0xe9Lq=Jc9 vqaqpepm0xbba9pwe9Q8fs0=yqaqpepae9pg0FirpepeKkFr0xfr=x fr=xb9adbaqaceGaciGaaiaabeqaamaabaabaaGcbaGaeyOeI0IaaG imaiaac6cacaaI3aGaaGinaaaa@3999@

2

1

32 760

7

152880

1 017 768

9992 MathType@MTEF@5@5@+= feaahGart1ev3aqatCvAUfeBSjuyZL2yd9gzLbvyNv2CaerbuLwBLn hiov2DGi1BTfMBaeXatLxBI9gBaerbd9wDYLwzYbItLDharqqtubsr 4rNCHbGeaGqipC0lf9vqKrpepC0xbbL8F4rqqrFfpeea0xe9Lq=Jc9 vqaqpepm0xbba9pwe9Q8fs0=yqaqpepae9pg0FirpepeKkFr0xfr=x fr=xb9adbaqaceGaciGaaiaabeqaamaabaabaaGcbaGaeyOeI0IaaG yoaiaaiMdacaaI5aGaaGOmaaaa@39B3@

0.97 MathType@MTEF@5@5@+= feaahGart1ev3aqatCvAUfeBSjuyZL2yd9gzLbvyNv2CaerbuLwBLn hiov2DGi1BTfMBaeXatLxBI9gBaerbd9wDYLwzYbItLDharqqtubsr 4rNCHbGeaGqipC0lf9vqKrpepC0xbbL8F4rqqrFfpeea0xe9Lq=Jc9 vqaqpepm0xbba9pwe9Q8fs0=yqaqpepae9pg0FirpepeKkFr0xfr=x fr=xb9adbaqaceGaciGaaiaabeqaamaabaabaaGcbaGaeyOeI0IaaG imaiaac6cacaaI5aGaaG4naaaa@399E@

3

3

98 280

6

131040

1 017 720

10040 MathType@MTEF@5@5@+= feaahGart1ev3aqatCvAUfeBSjuyZL2yd9gzLbvyNv2CaerbuLwBLn hiov2DGi1BTfMBaeXatLxBI9gBaerbd9wDYLwzYbItLDharqqtubsr 4rNCHbGeaGqipC0lf9vqKrpepC0xbbL8F4rqqrFfpeea0xe9Lq=Jc9 vqaqpepm0xbba9pwe9Q8fs0=yqaqpepae9pg0FirpepeKkFr0xfr=x fr=xb9adbaqaceGaciGaaiaabeqaamaabaabaaGcbaGaeyOeI0IaaG ymaiaaicdacaaIWaGaaGinaiaaicdaaaa@3A55@

0.98 MathType@MTEF@5@5@+= feaahGart1ev3aqatCvAUfeBSjuyZL2yd9gzLbvyNv2CaerbuLwBLn hiov2DGi1BTfMBaeXatLxBI9gBaerbd9wDYLwzYbItLDharqqtubsr 4rNCHbGeaGqipC0lf9vqKrpepC0xbbL8F4rqqrFfpeea0xe9Lq=Jc9 vqaqpepm0xbba9pwe9Q8fs0=yqaqpepae9pg0FirpepeKkFr0xfr=x fr=xb9adbaqaceGaciGaaiaabeqaamaabaabaaGcbaGaeyOeI0IaaG imaiaac6cacaaI5aGaaGioaaaa@399F@

4

0

0

8

174720

1 019 772

7988 MathType@MTEF@5@5@+= feaahGart1ev3aqatCvAUfeBSjuyZL2yd9gzLbvyNv2CaerbuLwBLn hiov2DGi1BTfMBaeXatLxBI9gBaerbd9wDYLwzYbItLDharqqtubsr 4rNCHbGeaGqipC0lf9vqKrpepC0xbbL8F4rqqrFfpeea0xe9Lq=Jc9 vqaqpepm0xbba9pwe9Q8fs0=yqaqpepae9pg0FirpepeKkFr0xfr=x fr=xb9adbaqaceGaciGaaiaabeqaamaabaabaaGcbaGaeyOeI0IaaG 4naiaaiMdacaaI4aGaaGioaaaa@39B6@

0.78 MathType@MTEF@5@5@+= feaahGart1ev3aqatCvAUfeBSjuyZL2yd9gzLbvyNv2CaerbuLwBLn hiov2DGi1BTfMBaeXatLxBI9gBaerbd9wDYLwzYbItLDharqqtubsr 4rNCHbGeaGqipC0lf9vqKrpepC0xbbL8F4rqqrFfpeea0xe9Lq=Jc9 vqaqpepm0xbba9pwe9Q8fs0=yqaqpepae9pg0FirpepeKkFr0xfr=x fr=xb9adbaqaceGaciGaaiaabeqaamaabaabaaGcbaGaeyOeI0IaaG imaiaac6cacaaI3aGaaGioaaaa@399D@

5

0

0

7

152880

1 024 428

3332 MathType@MTEF@5@5@+= feaahGart1ev3aqatCvAUfeBSjuyZL2yd9gzLbvyNv2CaerbuLwBLn hiov2DGi1BTfMBaeXatLxBI9gBaerbd9wDYLwzYbItLDharqqtubsr 4rNCHbGeaGqipC0lf9vqKrpepC0xbbL8F4rqqrFfpeea0xe9Lq=Jc9 vqaqpepm0xbba9pwe9Q8fs0=yqaqpepae9pg0FirpepeKkFr0xfr=x fr=xb9adbaqaceGaciGaaiaabeqaamaabaabaaGcbaGaeyOeI0IaaG 4maiaaiodacaaIZaGaaGOmaaaa@39A1@

0.32 MathType@MTEF@5@5@+= feaahGart1ev3aqatCvAUfeBSjuyZL2yd9gzLbvyNv2CaerbuLwBLn hiov2DGi1BTfMBaeXatLxBI9gBaerbd9wDYLwzYbItLDharqqtubsr 4rNCHbGeaGqipC0lf9vqKrpepC0xbbL8F4rqqrFfpeea0xe9Lq=Jc9 vqaqpepm0xbba9pwe9Q8fs0=yqaqpepae9pg0FirpepeKkFr0xfr=x fr=xb9adbaqaceGaciGaaiaabeqaamaabaabaaGcbaGaeyOeI0IaaG imaiaac6cacaaIZaGaaGOmaaaa@3993@

6

2

65 520

6

131040

1 024 380

3380 MathType@MTEF@5@5@+= feaahGart1ev3aqatCvAUfeBSjuyZL2yd9gzLbvyNv2CaerbuLwBLn hiov2DGi1BTfMBaeXatLxBI9gBaerbd9wDYLwzYbItLDharqqtubsr 4rNCHbGeaGqipC0lf9vqKrpepC0xbbL8F4rqqrFfpeea0xe9Lq=Jc9 vqaqpepm0xbba9pwe9Q8fs0=yqaqpepae9pg0FirpepeKkFr0xfr=x fr=xb9adbaqaceGaciGaaiaabeqaamaabaabaaGcbaGaeyOeI0IaaG 4maiaaiodacaaI4aGaaGimaaaa@39A4@

0.33 MathType@MTEF@5@5@+= feaahGart1ev3aqatCvAUfeBSjuyZL2yd9gzLbvyNv2CaerbuLwBLn hiov2DGi1BTfMBaeXatLxBI9gBaerbd9wDYLwzYbItLDharqqtubsr 4rNCHbGeaGqipC0lf9vqKrpepC0xbbL8F4rqqrFfpeea0xe9Lq=Jc9 vqaqpepm0xbba9pwe9Q8fs0=yqaqpepae9pg0FirpepeKkFr0xfr=x fr=xb9adbaqaceGaciGaaiaabeqaamaabaabaaGcbaGaeyOeI0IaaG imaiaac6cacaaIZaGaaG4maaaa@3994@

7

0

0

8

174720

1 024 080

3680 MathType@MTEF@5@5@+= feaahGart1ev3aqatCvAUfeBSjuyZL2yd9gzLbvyNv2CaerbuLwBLn hiov2DGi1BTfMBaeXatLxBI9gBaerbd9wDYLwzYbItLDharqqtubsr 4rNCHbGeaGqipC0lf9vqKrpepC0xbbL8F4rqqrFfpeea0xe9Lq=Jc9 vqaqpepm0xbba9pwe9Q8fs0=yqaqpepae9pg0FirpepeKkFr0xfr=x fr=xb9adbaqaceGaciGaaiaabeqaamaabaabaaGcbaGaeyOeI0IaaG 4maiaaiAdacaaI4aGaaGimaaaa@39A7@

0.36 MathType@MTEF@5@5@+= feaahGart1ev3aqatCvAUfeBSjuyZL2yd9gzLbvyNv2CaerbuLwBLn hiov2DGi1BTfMBaeXatLxBI9gBaerbd9wDYLwzYbItLDharqqtubsr 4rNCHbGeaGqipC0lf9vqKrpepC0xbbL8F4rqqrFfpeea0xe9Lq=Jc9 vqaqpepm0xbba9pwe9Q8fs0=yqaqpepae9pg0FirpepeKkFr0xfr=x fr=xb9adbaqaceGaciGaaiaabeqaamaabaabaaGcbaGaeyOeI0IaaG imaiaac6cacaaIZaGaaGOnaaaa@3997@

8

0

0

7

152880

1 026 204

1556 MathType@MTEF@5@5@+= feaahGart1ev3aqatCvAUfeBSjuyZL2yd9gzLbvyNv2CaerbuLwBLn hiov2DGi1BTfMBaeXatLxBI9gBaerbd9wDYLwzYbItLDharqqtubsr 4rNCHbGeaGqipC0lf9vqKrpepC0xbbL8F4rqqrFfpeea0xe9Lq=Jc9 vqaqpepm0xbba9pwe9Q8fs0=yqaqpepae9pg0FirpepeKkFr0xfr=x fr=xb9adbaqaceGaciGaaiaabeqaamaabaabaaGcbaGaeyOeI0IaaG ymaiaaiwdacaaI1aGaaGOnaaaa@39A7@

0.15 MathType@MTEF@5@5@+= feaahGart1ev3aqatCvAUfeBSjuyZL2yd9gzLbvyNv2CaerbuLwBLn hiov2DGi1BTfMBaeXatLxBI9gBaerbd9wDYLwzYbItLDharqqtubsr 4rNCHbGeaGqipC0lf9vqKrpepC0xbbL8F4rqqrFfpeea0xe9Lq=Jc9 vqaqpepm0xbba9pwe9Q8fs0=yqaqpepae9pg0FirpepeKkFr0xfr=x fr=xb9adbaqaceGaciGaaiaabeqaamaabaabaaGcbaGaeyOeI0IaaG imaiaac6cacaaIXaGaaGynaaaa@3994@

9

1

32 760

7

152880

1 023 852

3980 MathType@MTEF@5@5@+= feaahGart1ev3aqatCvAUfeBSjuyZL2yd9gzLbvyNv2CaerbuLwBLn hiov2DGi1BTfMBaeXatLxBI9gBaerbd9wDYLwzYbItLDharqqtubsr 4rNCHbGeaGqipC0lf9vqKrpepC0xbbL8F4rqqrFfpeea0xe9Lq=Jc9 vqaqpepm0xbba9pwe9Q8fs0=yqaqpepae9pg0FirpepeKkFr0xfr=x fr=xb9adbaqaceGaciGaaiaabeqaamaabaabaaGcbaGaeyOeI0IaaG 4maiaaiMdacaaI4aGaaGimaaaa@39AA@

0.38 MathType@MTEF@5@5@+= feaahGart1ev3aqatCvAUfeBSjuyZL2yd9gzLbvyNv2CaerbuLwBLn hiov2DGi1BTfMBaeXatLxBI9gBaerbd9wDYLwzYbItLDharqqtubsr 4rNCHbGeaGqipC0lf9vqKrpepC0xbbL8F4rqqrFfpeea0xe9Lq=Jc9 vqaqpepm0xbba9pwe9Q8fs0=yqaqpepae9pg0FirpepeKkFr0xfr=x fr=xb9adbaqaceGaciGaaiaabeqaamaabaabaaGcbaGaeyOeI0IaaG imaiaac6cacaaIZaGaaGioaaaa@3999@

10

0

0

7

152880

1028736

976

0.09

11

1

32760

7

152880

1026384

1376 MathType@MTEF@5@5@+= feaahGart1ev3aqatCvAUfeBSjuyZL2yd9gzLbvyNv2CaerbuLwBLn hiov2DGi1BTfMBaeXatLxBI9gBaerbd9wDYLwzYbItLDharqqtubsr 4rNCHbGeaGqipC0lf9vqKrpepC0xbbL8F4rqqrFfpeea0xe9Lq=Jc9 vqaqpepm0xbba9pwe9Q8fs0=yqaqpepae9pg0FirpepeKkFr0xfr=x fr=xb9adbaqaceGaciGaaiaabeqaamaabaabaaGcbaGaeyOeI0IaaG ymaiaaiodacaaI3aGaaGOnaaaa@39A7@

0.13 MathType@MTEF@5@5@+= feaahGart1ev3aqatCvAUfeBSjuyZL2yd9gzLbvyNv2CaerbuLwBLn hiov2DGi1BTfMBaeXatLxBI9gBaerbd9wDYLwzYbItLDharqqtubsr 4rNCHbGeaGqipC0lf9vqKrpepC0xbbL8F4rqqrFfpeea0xe9Lq=Jc9 vqaqpepm0xbba9pwe9Q8fs0=yqaqpepae9pg0FirpepeKkFr0xfr=x fr=xb9adbaqaceGaciGaaiaabeqaamaabaabaaGcbaGaeyOeI0IaaG imaiaac6cacaaIXaGaaG4maaaa@3992@

12

2

65520

7

152880

1024032

3728 MathType@MTEF@5@5@+= feaahGart1ev3aqatCvAUfeBSjuyZL2yd9gzLbvyNv2CaerbuLwBLn hiov2DGi1BTfMBaeXatLxBI9gBaerbd9wDYLwzYbItLDharqqtubsr 4rNCHbGeaGqipC0lf9vqKrpepC0xbbL8F4rqqrFfpeea0xe9Lq=Jc9 vqaqpepm0xbba9pwe9Q8fs0=yqaqpepae9pg0FirpepeKkFr0xfr=x fr=xb9adbaqaceGaciGaaiaabeqaamaabaabaaGcbaGaeyOeI0IaaG 4maiaaiEdacaaIYaGaaGioaaaa@39AA@

0.36 MathType@MTEF@5@5@+= feaahGart1ev3aqatCvAUfeBSjuyZL2yd9gzLbvyNv2CaerbuLwBLn hiov2DGi1BTfMBaeXatLxBI9gBaerbd9wDYLwzYbItLDharqqtubsr 4rNCHbGeaGqipC0lf9vqKrpepC0xbbL8F4rqqrFfpeea0xe9Lq=Jc9 vqaqpepm0xbba9pwe9Q8fs0=yqaqpepae9pg0FirpepeKkFr0xfr=x fr=xb9adbaqaceGaciGaaiaabeqaamaabaabaaGcbaGaeyOeI0IaaG imaiaac6cacaaIZaGaaGOnaaaa@3997@

 

На приведенной диаграмме можно проследить структуру потребления электроэнергии для каждого варианта перекачки.

Так, например, для первого варианта графика перекачки 22 суток участок работает по третьему режиму перекачки и 7 суток по пятому режиму (см. табл. 2). Для этого варианта потребуется всего два переключения режима, учитывая включение на режим MathType@MTEF@5@5@+= feaahGart1ev3aqatCvAUfeBSjuyZL2yd9gzLbvyNv2Caerbov2D09 MBdbqedmvETj2BSbqeduuDJXwAKbYu51MyVXgarqqr1ngBPrgifHhD YfgasaacH8srps0lbbf9q8WrFfeuY=Hhbbf9v8qqaqFr0xc9pk0xbb a9q8WqFfea0=yr0RYxir=Jbba9q8aq0=yq=He9q8qqQ8frFve9Fve9 Ff0dmeaabaqaciaacaWaaeqabaqabeGaeaaakeaaruWqHXwAIjxAaG qbaKqzGfaeaaaaaaaaa8qacaWFwecaaa@3A49@  3 в начале периода. Для других вариантов из представленной выборки минимальное количество переключений колеблется от 3 до 5. Заметим, что это минимально необходимое количество переключений режимов. На практике это количество из-за непредвиденных факторов (технологических, экономических, аварийных) может быть значительно больше.

На диаграмме рис. 3 показано соотношение экономии электроэнергии для рассматриваемых режимов ΔЭ % и величины дефицита/профицита прокачанной нефти ΔQ %.

 

Рис. 3. Соотношение экономии электроэнергии и разницы расчетного и планового объема перекачки

 

За базовое значение объема перекачки принято плановое задание на исследуемый период Q=1027760 MathType@MTEF@5@5@+= feaahGart1ev3aqatCvAUfeBSjuyZL2yd9gzLbvyNv2CaerbuLwBLn hiov2DGi1BTfMBaeXatLxBI9gBaerbd9wDYLwzYbItLDharqqtubsr 4rNCHbGeaGqiFC0lf9vqKrpepC0xbbL8F4rqqrFfpeea0xe9Lq=Jc9 vqaqpepm0xbba9pwe9Q8fs0=yqaqpepae9pg0FirpepeKkFr0xfr=x fr=xb9adbaqaceGaciGaaiaabeqaamaabaabaaGcbaGaamyuaiabg2 da9iaaigdacaaMc8UaaGimaiaaikdacaaI3aGaaGPaVlaaiEdacaaI 2aGaaGimaaaa@3FF0@  т, а за базовое значение по расходу электроэнергии Э факт =2004478 MathType@MTEF@5@5@+= feaahGart1ev3aqatCvAUfeBSjuyZL2yd9gzLbvyNv2CaerbuLwBLn hiov2DGi1BTfMBaeXatLxBI9gBaerbd9wDYLwzYbItLDharqqtubsr 4rNCHbGeaGqiFC0lf9vqKrpepC0xbbL8F4rqqrFfpeea0xe9Lq=Jc9 vqaqpepm0xbba9pwe9Q8fs0=yqaqpepae9pg0FirpepeKkFr0xfr=x fr=xb9adbaqaceGaciGaaiaabeqaamaabaabaaGcbaGaamylemaaBa aaleaacaWGerGaamimeiaadQdbcaWGcraabeaakiabg2da9iaaikda caaMc8UaaGimaiaaicdacaaI0aGaaGPaVlaaisdacaaI3aGaaGioaa aa@431C@  кВт·час.

В результате оптимизации режимов перекачки для заданных условий, соответствующих заданию по участку МН «Гурьев - Куйбышев» системы ПАО «Транснефть», был получен вариант управления режимами, позволяющий сэкономить 44 782 кВт·час электроэнергии, расходуемой на основной технологический процесс. По сравнению с фактическим расходом электроэнергии экономия составляет 2,24 %. Кроме этого, полученный расчетный вариант требует в идеале только двух переключений режимов перекачки, что значительно снижает динамические нагрузки на питающую сеть и сами электродвигатели магистральных насосов, повышая их ресурс и надежность.

По удельному показателю расхода электроэнергии на тонну перекачанного продукта оптимальный вариант позволяет снизить расход электроэнергии с q факт =1.95 MathType@MTEF@5@5@+= feaahGart1ev3aqatCvAUfeBSjuyZL2yd9gzLbvyNv2CaerbuLwBLn hiov2DGi1BTfMBaeXatLxBI9gBaerbd9wDYLwzYbItLDharqqtubsr 4rNCHbGeaGqiFC0lf9vqKrpepC0xbbL8F4rqqrFfpeea0xe9Lq=Jc9 vqaqpepm0xbba9pwe9Q8fs0=yqaqpepae9pg0FirpepeKkFr0xfr=x fr=xb9adbaqaceGaciGaaiaabeqaamaabaabaaGcbaGaamyCamaaBa aaleaacaWGerGaamimeiaadQdbcaWGcraabeaakiabg2da9iaaigda caGGUaGaaGyoaiaaiwdaaaa@3E06@  кВт·час/т до q опт =1.906 MathType@MTEF@5@5@+= feaahGart1ev3aqatCvAUfeBSjuyZL2yd9gzLbvyNv2CaerbuLwBLn hiov2DGi1BTfMBaeXatLxBI9gBaerbd9wDYLwzYbItLDharqqtubsr 4rNCHbGeaGqiFC0lf9vqKrpepC0xbbL8F4rqqrFfpeea0xe9Lq=Jc9 vqaqpepm0xbba9pwe9Q8fs0=yqaqpepae9pg0FirpepeKkFr0xfr=x fr=xb9adbaqaceGaciGaaiaabeqaamaabaabaaGcbaGaamyCamaaBa aaleaacaWG+qGaam4peiaadkebaeqaaOGaeyypa0JaaGymaiaac6ca caaI5aGaaGimaiaaiAdaaaa@3E07@  кВт·час/т ( 2.22 MathType@MTEF@5@5@+= feaahGart1ev3aqatCvAUfeBSjuyZL2yd9gzLbvyNv2CaerbuLwBLn hiov2DGi1BTfMBaeXatLxBI9gBaerbd9wDYLwzYbItLDharqqtubsr 4rNCHbGeaGqiFC0lf9vqKrpepC0xbbL8F4rqqrFfpeea0xe9Lq=Jc9 vqaqpepm0xbba9pwe9Q8fs0=yqaqpepae9pg0FirpepeKkFr0xfr=x fr=xb9adbaqaceGaciGaaiaabeqaamaabaabaaGcbaGaeyOeI0IaaG Omaiaac6cacaaIYaGaaGOmaaaa@39A4@ ).

Основные результаты и выводы

1. Основную часть расхода электроэнергии, 93-97 %, составляет электроэнергия, затраченная на основной технологический процесс МН - на работу электродвигателей магистральных насосов. От времени работы на определенном режиме и количества переключений зависит общий расход электроэнергии. Набор допустимых режимов определен картой технологических режимов.

2. В большинстве случаев можно обеспечить заданную программу перекачки без излишних дополнительных переключений между насосными агрегатами и за счет этого снизить расход электроэнергии и повысить ресурс работы оборудования.

3. В качестве основного критерия оптимальности режимов переключения насосных агрегатов был выбран минимум расхода электроэнергии на единицу перекачиваемой продукции q, кВт·час/т. Дополнительным критерием выступал минимум количества переключений насосных агрегатов, обеспечивающий программу перекачки.

4. Оптимизация режимов работы агрегатов и количества их переключений свелась к упорядоченному перебору 1 276 расчетных вариантов, обеспечивающих заданную программу перекачки с точностью 0,5 %. Из полученного массива вариантов были отобраны 25, в которых расход электроэнергии оказался минимальным.

5. За оптимальный принят вариант перекачки MathType@MTEF@5@5@+= feaahGart1ev3aqatCvAUfeBSjuyZL2yd9gzLbvyNv2Caerbov2D09 MBdbqedmvETj2BSbqeduuDJXwAKbYu51MyVXgarqqr1ngBPrgifHhD YfgasaacH8srps0lbbf9q8WrFfeuY=Hhbbf9v8qqaqFr0xc9pk0xbb a9q8WqFfea0=yr0RYxir=Jbba9q8aq0=yq=He9q8qqQ8frFve9Fve9 Ff0dmeaabaqaciaacaWaaeqabaqabeGaeaaakeaaruWqHXwAIjxAaG qbaKqzGfaeaaaaaaaaa8qacaWFwecaaa@3A49@  1, в котором расчетный расход электроэнергии был снижен по сравнению с фактическим для выбранного периода эксплуатации на 44 782 кВт·час (2,24 %). Этот вариант режима обеспечивается всего тремя переключениями насосных агрегатов, что является лучшим показателем для исследуемой выборки и на порядок меньше фактического количества переключений за исследуемый период эксплуатации участка МНП. Для оптимального варианта удельный расход электроэнергии на единицу перекачиваемого продукта составил 1,906 кВт·час/т, что на 2,22 % меньше, чем удельный фактический расход за исследуемый период.

6. Предложенная методика оптимизации режима работы нефтепровода на заданный период позволяет выбрать требуемый режим работы с минимальными затратами электроэнергии. Методику рекомендуется использовать при составлении месячных планов работы магистрального нефтепровода и прогнозировании величины потребления электроэнергии для выполнения этих планов.

×

Об авторах

Н. А. Носиков

ТПП «РИТЭК-Самара-Нафта» ООО «РИТЭК»; Самарский государственный технический университет

Автор, ответственный за переписку.
Email: nosikovn@yandex.ru

главный энергетик – руководитель группы главного энергетика, аспирант кафедры электромеханики и автомобильного электрооборудования

Россия, 443041, г. Самара, ул. Ленинская, 120А; 443100, г. Самара, ул. Молодогвардейская, 244

Ю. А. Макаричев

Самарский государственный технический университет

Email: makarichev2801@mail.ru

доктор технических наук, профессор, и.о. декана электротехнического факультета, заведующий кафедрой электромеханики и автомобильного электрооборудования

Россия, 443100, г. Самара, ул. Молодогвардейская, 244

Список литературы

  1. Макаричев Ю.А., Носиков Н.А. Математическая модель потребления электроэнергии на НПС // Вестник Самарского государственного технического университета. Серия: Технические науки. 2024. Т. 32, № 4. С. 106–117. doi: 10.14498/TECH.2024.4.8. EDN:JMVDFB
  2. Geunsub Kim, Gunwoo Lee, Seunghyun An, Joowon Lee. Forecasting future electric power consumption in Busan New Port using a deep learning model // The Asian Journal of Shipping and Logistics. 2023. Vol. 39, Iss. 2. Pр. 78–93. doi: 10.1016/j.ajsl.2023.04.001. EDN: BKTIVT
  3. Адлер Ю.П., Маркова Е.В., Грановский Ю.В. Планирование эксперимента при поиске оптимальных условий. М.: Наука, 1976. 278 с. EDN: TOBZDM
  4. АО «Транснефть-Приволга». Годовой отчет за 2023 год.
  5. Зайцев Л.А., Ясинский Г.С. Регулирование режимов магистральных нефтепроводов. М.: Недра, 1980. 187 с.
  6. Рахмонов И.У., Ушаков В.Я., Нажимова А.М., Обидов К.К., Сулейманов С.Р. Математическое моделирование минимизации расходов электроэнергии промышленными предприятиями с непрерывным характером производства // Известия Томского политехнического университета. Инжиниринг георесурсов. 2024. Т. 335, № 4. С. 43–51. DOI: 10.18799/ 24131830/2024/4/4423. EDN: GTEVCP
  7. ОАО «Приволжскнефтепровод». Годовой отчет за 2006 год.
  8. ОР-91.140.50-КТН-0397-24. Магистральный трубопроводный транспорт нефти и нефтепродуктов. Потребление электроэнергии (мощности). Порядок планирования и учета. М.: ПАО «Транснефть», 2024. 141 с.
  9. Устюгов Н.В., Проталинский О.М. Математическая модель потребления электроэнергии в организационно-технической системе // Вестник Астраханского государственного технического университета. Серия: Управление, вычислительная техника и информатика. 2020. № 3. С. 116–124. doi: 10.24143/2072-9502-2020-3-116-124. EDN: XAIKPX
  10. Черноруцкий И.Г. Методы принятия решений. СПб.: БХВ-Петербург, 2005. 408 с. EDN: QQIXNX
  11. Шаюхов Т.Т. Расчет удельных норм и прогнозирование электропотребления на промышленных предприятиях. Екатеринбург: УрГУПС, 2016. 74 с. (Инновационный транспорт; № 3 (21)). doi: 10.20291/2311-164X-2016-3-8-12. EDN: WXOVQX
  12. Шаюхов Т.Т. Математическое моделирование влияния внешних факторов на параметры электропотребления // Интернет-журнал «Науковедение». 2017. Т. 9, № 5. EDN: YKWHDE
  13. Шалай В.В., Мызников М.О., Кононова М.И. Пути повышения эффективности эксплуатации нефтепроводов // Нефтегазовый терминал. 2019. № 16. С. 315–319. EDN: OQDUQT
  14. Shalay V.V., Myznikov M.O., Gildebrandt M.I. Energy and resource saving in hydrocarbons transportation // AIP Conference Proceedings. 2018. Vol. 2007. doi: 10.1063/1.5051957. EDN: YCAOEH
  15. Ломакин Д.А., Коротков В.В. Корректировка характеристик центробежных насосов за счет подрезки рабочего колеса // Актуальные проблемы гуманитарных и естественных наук. 2017. EDN: YIXEQT
  16. Зайцев Л.А., Ясинский Г.С. Регулирование режимов магистральных нефтепроводов. М.: Недра, 1980. 187 с.
  17. Разбойников А.А., Барсуков Н.С. Разработка методики оценки энергетической эффективности магистрального нефтепровода // Экспозиция Нефть Газ. 2019. № 2 (69). 5 с. doi: 10.24411/2076-6785-2019-10018. EDN:JMKLKE
  18. Васильев Г.Г., Коробков Г.Е., Коршак А.А. и др. Трубопроводный транспорт нефти: В 2 т. / Под ред. С.М. Вайнштока. М.: Недра-Бизнесцентр, 2002. Т. 2. 621 с. EDN: VSGPJP
  19. АО «Транснефть-Приволга». Карта технологических режимов работы МТ «Гурьев – Куйбышев» (ТУ «Б. Черниговка – Самара»).
  20. АО «Транснефть-Приволга». Отчет «Соблюдение режима работы МН «Узень-Атырау-Самара» (технологического участка «Атырау-Самара») за 2021–2023 гг».

Дополнительные файлы

Доп. файлы
Действие
1. JATS XML
2. Рис. 1. Алгоритм метода упорядоченного перебора: 1 - блок ввода исходных данных и констант; 2…6 - вложенные циклы перебора всех возможных сочетаний периодов работы каждого технологического цикла; 7 - проверка ограничения по отклонению суммарной производительности от заданного значения и проверка условия (6), в случае нарушения одного из этих ограничений вариант отклоняется и расчет переходит к следующему варианту; 8 - подпрограмма расчета потребного месячного энергопотребления Э, кВт·час; 9 - вывод массива расчетных данных в Excel для дальнейшей обработки

Скачать (111KB)
3. Рис. 2. Диаграмма объемов перекачки для лучших вариантов режимов по экономии электроэнергии

Скачать (68KB)
4. Рис. 3. Соотношение экономии электроэнергии и разницы расчетного и планового объема перекачки

Скачать (142KB)

© Носиков Н.А., Макаричев Ю.А., 2025

Creative Commons License
Эта статья доступна по лицензии Creative Commons Attribution 4.0 International License.