Fuzzy optimization of feedback control at induction heating
- Authors: Rapoport E.Y.1, Rogachev N.G.1
-
Affiliations:
- Samara State Technical University
- Issue: Vol 29, No 2 (2021)
- Pages: 61-75
- Section: Informatics, Computer Science and Control
- URL: https://journals.eco-vector.com/1991-8542/article/view/79100
- DOI: https://doi.org/10.14498/tech.2021.4
- ID: 79100
Cite item
Full Text
Abstract
The problem of multi-criteria fuzzy-optimal feedback control of an induction heater as an object of technological thermophysics with distributed parameters is considered. A general formulation of the fuzzy optimization problem is given, including requirements for the final and intermediate states and taking into account the fuzziness of competing quality criteria. When solving the problem, interconnected electromagnetic and thermal models of the induction heating process were used. The secondary source method was used to simulate electromagnetic processes, and the differential-difference method was used to simulate thermal conductivity. The numerical method for solving the problem is based on the presentation of the control algorithm in the form of an a priori non-fixed and variable system of rules determined during the heating process. The obtained results of numerical modeling confirm the effectiveness of the proposed fuzzy-optimal method for determining the positional control of objects with distributed parameters.
Full Text
Нечеткая оптимизация в задаче позиционного управления установкой индукционного нагрева1
Введение
Первоочередной задачей, решаемой разработчиками систем управления техническими объектами, является повышение эффективности процедуры управления. Особенно это касается обладающих признаками сложных систем нелинейных многомерных технических объектов, управление которыми должно осуществляться в реальном времени. Поведение таких объектов может быть описано векторной системой уравнений вида
(1)
Здесь – вектор состояний ОУ,
– вектор управляющих воздействий,
– вектор выходных величин.
Выражение (1) является стандартной формой математической модели, представлением ОУ в пространстве состояний, вид оператора определяет динамику ОУ, оператор определяет измеряемые координаты ОУ. Оператор определяется составом используемых датчиков, его задание не представляет сложности, за исключением тех случаев, когда набор датчиков необходимо определить в ходе решения задачи проектирования.
В большинстве инженерных приложений для решения задач управления сложными объектами используются имитационные модели ОУ. Разработка адекватной имитационной модели является сложной самостоятельной задачей, первым этапом работ по автоматизации технологического процесса.
Следующей задачей является определение закона управления. Современные системы управления являются гибридными непрерывно-дискретными. Компоненты с непрерывными сигналами отражают физические законы функционирования объектов управления, а дискретные элементы моделируют работу цифровых управляющих устройств. Два класса гибридных систем – это системы программного управления и системы позиционного управления. В силу цифрового характера регулятора управляющие воздействия являются элементами множества кусочно-постоянных функций с конечным на интервале регулирования числом переключений. В силу непрерывного характера ОУ переменные состояния и измеряемые (выходные) переменные есть элементы множества непрерывных функций.
Алгоритм работы цифрового регулятора системы программного управления состоит в выработке в тактовые моменты времени управляющих сигналов . Cигнал действует на объект управления вплоть до наступления следующего тактового момента . Поиск всей совокупность управляющих сигналов происходит до начала процесса управления (до момента ) или во время процесса управления (в моменты ) исходя из требований к поведению объекта управления с использованием модели объекта и окружающей среды.
Алгоритм работы цифрового регулятора системы позиционного управления отличается от алгоритма программного управления лишь тем, что применяемая информация в виде модели объекта и среды дополняется сигналами обратных связей.
В стандартных промышленных регуляторах (ПИД, lead-lag, линейно-квадратичных) поиск управляющих сигналов, осуществляемый в ходе технологического процесса, происходит по заранее установленной несложной формуле, время вычисления управляющих сигналов мало. Это создает иллюзию непрерывности процесса управления, хотя фактически имеет место многократно повторяющаяся ступенчатая процедура вида «наступление очередного тактового момента времени – вычисление очередного сигнала управления – применение этого управления к объекту вплоть до наступления следующего тактового момента». При использовании нестандартных подходов к синтезу систем управления (адаптивные регуляторы, регуляторы с прогнозирующей моделью в контуре и т. п.) время вычисления очередного сигнала управления может быть существенно больше, однако этим эффектом «запаздывания» при вычислении сигналов управления в темпе с управляемым процессом, как правило, пренебрегают, за исключением случаев, когда принципиальную роль играет ограничение на время принятия управленческих решений.
Общим свойством большинства задач выработки управленческих решений является множественность альтернативных решений, среди которых необходимо выбрать наилучшее, и множественность критериев, определяющих качество того или иного решения. Различные методы многокритериального принятия решений, включая оценку и объединение характеристик альтернатив по двум или более критериям, рассматривались во многих работах, в том числе в [1–6]. Кроме того, большинство решений, принимаемых в реальном мире, осуществляется в среде, в которой цели и ограничения не известны точно, и, таким образом, проблема не может быть определена и представлена в четкой форме. Чтобы иметь дело с качественной, неточной информацией или даже с плохо структурированными проблемами принятия решений, было предложено в качестве инструмента использовать теорию нечетких множеств [7, 8]. Эта теория предоставляет удобный аппарат формализации неопределенностей, возникающих при моделировании и оптимизации реальных процессов. Вопросам применения нечеткой логики в различных отраслях, прямо или опосредованно связанных с производственной деятельностью, посвящена монография [9]. В этой работе отмечено, что важность процесса принятия управленческих решений возрастает с ростом сложности объектов управления.
Постановка задачи
Цель настоящей статьи – демонстрация эффективности процедуры нечеткой оптимизации применительно к проблеме синтеза цифрового регулятора для позиционного управления установкой индукционного нагрева как объектом технологической теплофизики с распределенными параметрами. Рассматриваемый метод построения систем управления с нечеткими целями их работы и ограничениями, налагаемыми как на ресурсы управления, так и на поведение объектов управления в меняющемся окружении, базируется на представлении алгоритмов управления в виде априори не фиксируемых и переменных во времени систем правил. Метод обеспечивает построение в темпе с управляемым процессом непосредственно на цифровом регуляторе реализующих эти алгоритмы вычислительных процедур, формируемых по информации о свойствах среды с учетом особенностей, обусловленных цифровым характером устройств управления [10, 11].
Два больших класса задач оптимизации – это задачи математического программирования и задачи оптимального управления. В задаче математического программирования определению подлежит оптимальное значение вектора, в задаче оптимального управления – оптимальная функция. Если временная характеристика работы регулятора дискретна, задачи оптимального управления могут быть сведены к задачам математического программирования. В гибридных непрерывно-дискретных системах управления имеет место именно такая ситуация. В силу цифрового характера регулятора управляющие воздействия являются элементами множества кусочно-постоянных функций с конечным на интервале регулирования числом переключений. Таким образом, процедуру синтеза системы правил работы программного регулятора при наличии единственного критерия качества можно сформулировать как задачу математического программирования вида
(2)
где – искомое решение, алгоритм работы цифрового регулятора;
– критерий качества;
– уравнения связи или ограничения.
Теория решения однокритериальных задач оптимизации достаточно глубоко проработана [12]. Как правило, в реальных задачах выбора наиболее предпочтительного решения, возникающих на практике, присутствует несколько критериев оптимальности. Задачи выбора решения из множества допустимых с учетом нескольких критериев оптимальности, задачи многокритериальной оптимизации широко распространены в технических приложениях. Формально многокритериальная задача задается в виде
(3)
где , а – скалярные функции аргумента , каждая их которых является математическим выражением одного критерия оптимальности.
Критерий оптимальности представляет собой вектор, компонентами которого являются несводимые друг к другу скалярные критерии оптимальности. Задача (3) в общем случае не имеет строгого решения. Существование решения, минимизирующего одновременно все скалярные критерии оптимальности, является редким исключением. При наличии нескольких критериев в задачах многокритериальной оптимизации появляется неопределенность, которая не может быть исключена с помощью расчетов. Неизбежно присутствуют субъективные факторы, связанные, например, с ранжированием частных критериев. Принципиальным моментом при решении такого рода задач является предварительная договоренность об используемом принципе оптимальности, о том, что считать самым предпочтительным решением.
В случае неравной значимости критериев используют метод лексикографической оптимизации, метод последовательных уступок или подобные эвристические человеко-машинные процедуры [13]. В тех случаях, когда все локальные критерии имеют одинаковую степень важности, решение задачи векторной оптимизации осуществляется с использованием принципа равномерности, метода идеальной точки, принципа справедливого компромисса, оптимальности по Парето [14].
В данной работе используется нечеткая логика. С использованием такого подхода проблема (3) может быть расширена так, что границы, которые отделяют приемлемые решения от неприемлемых, являются размытыми, а степень приемлемости отдельных решений представлена нечеткими числами. Для этого целевая функция должна пониматься в нечетком смысле [15]. При использовании обозначений из области нечеткой оптимизации нечеткая версия проблемы (3) может быть записана так:
(4)
где – искомое решение, алгоритм работы цифрового регулятора;
– векторная целевая функция, минимизируемый критерий качества;
– «четкие» уравнения связи и ограничения, волнистая черта «~» – символ нечеткой операции.
Пусть функции принадлежности каждого частного критерия соответствующему нечеткому множеству представляют степени выполнения целей и нечетких ограничений. Решение оптимизационной задачи (4) должно удовлетворять, насколько возможно, всем целям, т. е. максимизировать минимальное из значений . В качестве обобщенного критерия выбрана свертка частных критериев вида . Такое представление показателя качества, как показано в [9], обеспечивает максимум степени удовлетворения решения одновременно всем частным критериям в случае, когда все локальные критерии имеют одинаковую степень важности. В этом случае нечеткая проблема математического программирования (4) может быть преобразована [16] в задачу определения решения , т. е. такого алгоритма работы цифрового регулятора как набора управляющих сигналов (в общем случае векторных) или , , действующих на объект управления на временных интервалах , который обеспечивает
(5)
где функции принадлежности – это степени выполнения нечетких целей и ограничений, – «четкие» уравнения связи и ограничения.
Далее задача (5) решается известными численными методами и стандартными средствами системы MATLAB [17].
Описание процесса индукционного нагрева как объекта управления
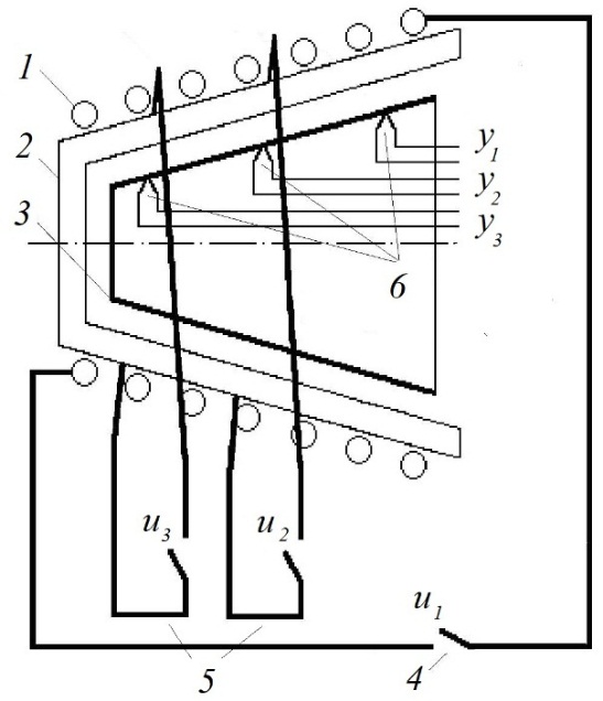
В работе рассмотрена задача многокритериального нечетко-оптимального позиционного управления объектом технологической теплофизики с распределенными параметрами на примере установки индукционного нагрева. Установка индукционного нагрева парамагнитных тонкостенных оболочек до заданных кондиций с последующей стабилизацией температуры на этом уровне представлена на рис. 1. Изделие помещается в индукционный нагреватель, состоящий из индуктора, питающегося от источника переменного тока, и теплоизоляции. Температура нагрева контролируется термопарами в трех точках, разнесенных по длине нагреваемого тела (выходные сигналы ). Температурное поле на завершающей стадии процесса должно достаточно продолжительное время быть равномерным на уровне , т. е. отклоняться от заданной температуры не более чем на . Это требование обеспечивают три управляющих воздействия: . Основной канал управления – мощность питающего индуктор источника . Этот канал позволяет воздействовать на среднюю температуру изделия, но не в состоянии существенно изменять закон распределения температуры по длине изделия. Для обеспечения требуемой равномерности нагрева индуктор снабжен дополнительными витками как устройствами выравнивания температуры по длине изделия. В разомкнутом состоянии () витки не оказывают влияния на процесс нагрева. При замыкании витка () в нем наводится противо-ЭДС. Это вызывает локальное снижение мощности нагрева в зоне размещения витка, что способствует выравниванию температуры в нагреваемом изделии.
Рис. 1. Установка индукционного нагрева: 1 – индуктор; 2 – теплоизоляция; 3 – нагреваемое изделие; 4 – источник питания; 5 – устройства выравнивания температуры по длине изделия; 6 – датчики температуры
Рассматриваемый процесс нагрева тонкой конической оболочки является многооперационным, состоит из этапа нагрева и этапа стабилизации температуры, устройства выравнивания температуры по длине изделия включаются в работу по мере необходимости вместе или поочередно, функционируя одновременно с индукционным нагревателем. В математической модели процесса индукционного нагрева как объекта управления можно выделить взаимосвязанные электромагнитную и тепловую составляющие.
Тепловые процессы описываются неоднородным одномерным уравнением теплопроводности
(6)
с краевыми условиями
, (7)
В (6), (7) – температурное поле нагреваемого изделия, зависящее от времени и пространственной координаты , – удельная мощность внутреннего тепловыделения, – тепловые потери с торцов изделия.
Достаточно эффективным для решения уравнения теплопроводности (6) – (7) с произвольным характером изменения мощности внутренних теплоисточников является используемый авторами в расчетах дифференциально- разностный метод [18]. Этот метод позволяет свести конечно-разностной аппроксимацией по пространственной переменной модель в частных производных к системе обыкновенных дифференциальных уравнений
; ; (8)
для температуры в узлах сетки.
Объемная плотность мощности внутренних теплоисточников характеризует распределение интенсивности внутреннего тепловыделения по длине нагреваемого изделия при индукционном нагреве. Расчет распределения внутренних теплоисточников является сложной самостоятельной задачей и осуществляется в ходе моделирования электромагнитных процессов. В настоящей работе в качестве базового для моделирования электромагнитных процессов в индукционных нагревателях использовался изложенный в [19] метод вторичных источников. Применение метода вторичных источников позволяет, в отличие от метода конечных разностей или конечных элементов, рассматривать лишь области, занятые источниками поля, что повышает точность и сокращает время расчетов. Расчет полей в немагнитных телах согласно [19] сведен к определению токов в элементарных соленоидах, на которые разбивается исследуемое тело, токов , в устройствах выравнивания температуры по длине изделия и тока в индукторе.
Для нахождения токов применением 2-го закона Кирхгофа к каждому из соленоидов составляется система линейных алгебраических уравнений с комплексными коэффициентами
. (9)
В выражении (9) , полное сопротивление каждого элемента , где – угловая частота питающего напряжения, . Элементы диагональной матрицы равны , где – активное сопротивление -го соленоида. Соленоиды с номерами и (устройства выравнивания температуры) могут в процессе нагрева быть замкнутыми, если , или размыкаться при , , и тогда , . Элементы матрицы равны , где – индуктивность -го соленоида, – взаимная индуктивность -го и -го соленоидов. Решение системы (9) определяет значение токов в индукторе, в устройствах выравнивания температуры по длине изделия и в соленоидах, которыми представлены составляющие электромагнитную систему тела. Токи соленоидов используются далее для определения мощности внутренних теплоисточников в (8), , . Системные связи процесса индукционного нагрева как объекта управления показаны на рис. 2.
Рис. 2. Системные связи процесса индукционного нагрева как объекта управления
Для численного моделирования электромагнитных процессов индукционного нагрева автором были разработаны специальные подпрограммы [20], составляющие в совокупности с подпрограммами расчета тепловых процессов цифровую модель индукционного нагрева парамагнитных тонкостенных оболочек (рис. 3). Модель реализована в пакете MATLAB и использовалась для нечеткой оптимизации процесса нагрева. Малое время счета на доступных вычислительных ресурсах является следствием использования упрощений, сведения задачи с распределенными параметрами к задаче с сосредоточенными.
Рис. 3. Граф-схема цифровой модели процесса индукционного нагрева
Решение задачи управления процессом индукционного нагрева
В работе была сформулирована и с использованием численной модели [20] решена задача управления процессом индукционного нагрева парамагнитных тонкостенных оболочек в установке, представленной на рис. 1. Параметры процесса индукционного нагрева представлены в таблице и на рис. 4.
Параметры индукционного нагревателя
Нагреваемое изделие – сталь марки 17Х18Н9Т | Индукционный нагреватель | ||
Теплоемкость , Дж/град | 500 | Количество витков | 10 |
Теплопроводность , Вт/(м×град) | 22 | Ширина витка , м | 0,02 |
Плотность , кг/м3 | 7900 | Электропроводность , Ом×м | 2×10-8 |
Электропроводность , Ом×м | 12×10-7 | Частота источника , Гц | 2400 |
Больший радиус , м | 0,15 | Напряжение источника , В | 250 |
Меньший радиус , м | 0,06 | Радиус, м | 0,08–0,19 |
Длина , м | 0,185 | Длина, м | 0,19 |
Рис. 4. Геометрические параметры установки индукционного нагрева: 1 – индуктор; 2 – нагреваемое изделие; 3 – устройства выравнивания температуры по длине изделия
Проблема синтеза системы продукций регулятора, оптимизирующего процесс индукционного нагрева при нечетко сформулированных требованиях к поведению объекта, сформулирована как частный случай задачи (5). Это задача определения алгоритма работы цифрового позиционного регулятора как набора управляющих сигналов (в общем случае векторных) , , действующих на объект управления на временных интервалах Алгоритм должен обеспечивать требование , , где функции принадлежности – это степени выполнения нечетких целей и ограничений при выполнении условий , – «четкие» уравнения связи и ограничения. «Четкие» уравнения связи – это модель процесса индукционного нагрева (8)–(9), «четкие» ограничения – это ограничения на вектор управляющих воздействий.
Использование позиционного способа позволяет скорректировать управление в случаях отклонения траектории процесса от желаемой вследствие неточности модели или воздействия возмущающих факторов. Однако вычисление сигнала управления происходит в тактовые моменты времени не мгновенно, возникает определенное временное запаздывание. При значительной сложности вычислений этот факт должен быть принят во внимание. Существенно сократить время вычислений можно, если использовать сигнал управления мощностью питающего индуктор источника в виде релейной функции, как это имеет место в строго оптимальной по быстродействию постановке [18], тогда .
Система правил работы цифрового программного регулятора задается следующим образом: «если , то
», ,
где – время окончания процесса.
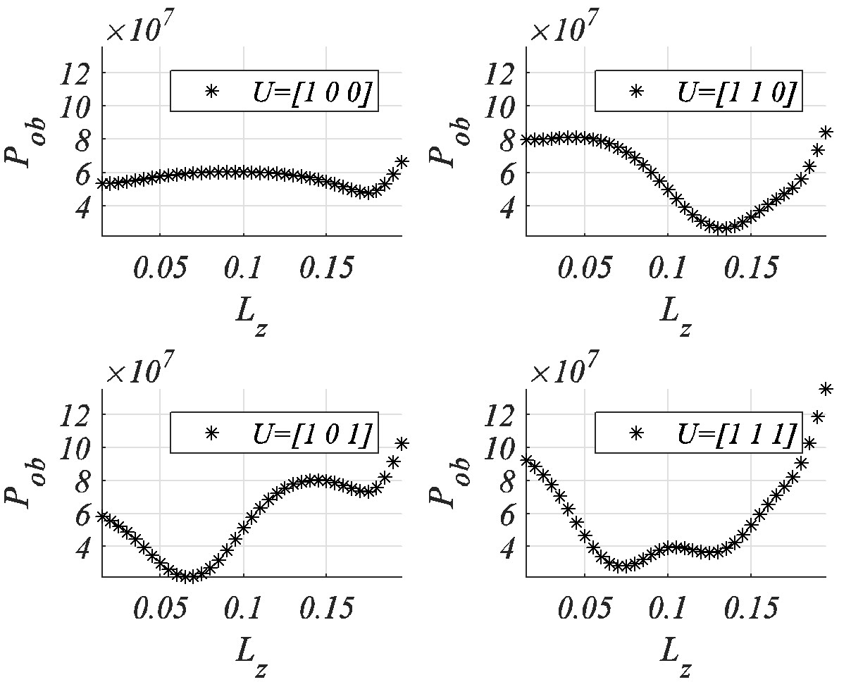
Поскольку , , на каждом из интервалов изменения управляющего воздействия возможен один из пяти режимов. Первый режим – нагрев полной мощностью с разомкнутыми витками, второй режим – нагрев полной мощностью с замкнутым первым витком, третий режим – нагрев полной мощностью с замкнутым вторым витком, четвертый режим – нагрев полной мощностью с замкнутыми первым и вторым витками, пятый режим – нулевая мощность, Зависимость формы кривой распределения мощности нагрева от величины вектора управляющих воздействий как результат моделирования электромагнитных процессов приведена на рис. 5, количество узлов сетки в электромагнитном и тепловом расчетах .
Рис. 5. Зависимость формы распределения мощности нагрева от вектора управляющих воздействий
В качестве типовой проблемы рассмотрена задача синтеза нечетко-оптимальной системы правил работы регулятора при позиционном управлении нагревом изделия до заданного значения с последующей стабилизацией температуры. Задача управления с нечеткой целью и ограничениями сформулирована следующим образом. Необходимо довести среднюю температуру объекта управления (8)–(9) (определяемую по показаниям имеющихся трех датчиков, , , ) до уровня при выполнении дополнительного условия где Это дополнительное условие означает, что максимальный перепад температур по длине не должен превышать определенного уровня в течение всего времени нагрева. Такие же условия должны выполняться на стадии стабилизации температуры при .
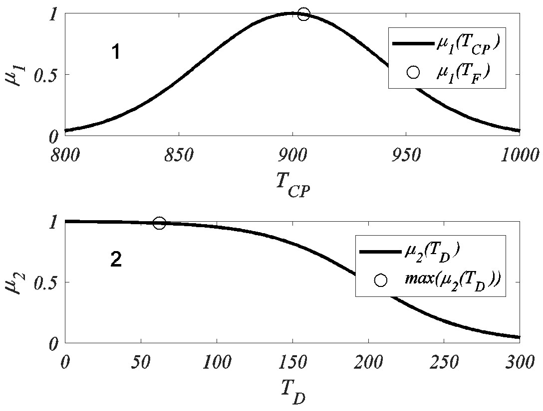
Функции принадлежности представляют степени выполнения сформулированных целей и заданы аналитически: Требование обеспечить нагрев объекта управления до уровня представлено функцией принадлежности (1 на рис. 6). Поскольку величина максимального перепада по длине в течение этапа нагрева и этапа стабилизации температуры не должна превышать 30 °С, степень выполнения этого дополнительного условия представлена функцией принадлежности (2 на рис. 6).
Рис. 6. Функции принадлежности: 1 – функция принадлежности ;2 – функция принадлежности
Решение сформулированной ранее нечетко-оптимальной задачи найдено численно из соотношения (5). Результаты расчетов представлены на рис. 6–9. Степень удовлетворения полученного решения заданным условиям составляет 0,9842.
Рис. 7. Нечетко-оптимальное управляющее воздействие
Рис. 8. Нечетко-оптимальная траектория
Рис. 9. Нечетко-оптимальное распределение температуры в конце процесса
Заключение
Рассмотрена задача многокритериального нечетко-оптимального позиционного управления объектом технологической теплофизики с распределенными параметрами на примере установки индукционного нагрева. Формулировка задачи как требование к конечному (необходимо довести среднюю температуру изделия до заданного значения) и промежуточным (имеется ограничение на перепад температур в ходе нагрева и последующей стабилизации) состояниям учитывает нечеткий характер критериев качества. Численный метод решения задачи базируется на представлении алгоритма управления в виде априори не фиксируемой и переменной во времени системы правил, определяемых в ходе технологического процесса. В качестве ресурсов управления используются три канала управления с двумя вариантами воздействия, , по каждому из каналов. Для получения информации о ходе технологического процесса, применяемой в расчетах управляющих воздействий, используются показания трех датчиков температуры, размещенных в характерных точках нагреваемого изделия. На каждом временном шаге срабатывания регулятора управляющий сигнал зависит от координат , объекта управления и корректируется по мере нагрева. Представлены результаты численного моделирования, подтверждающие эффективность предлагаемого подхода. Дальнейшее исследование будет посвящено анализу качества работы системы управления в условиях неопределенностей, связанных с неточностью модели объекта управления.
1 Исследование выполнено при финансовой поддержке РФФИ в рамках научного проекта № 19-38-90061 А, № 19-08-00232.
About the authors
Edgar Ya. Rapoport
Samara State Technical University
Author for correspondence.
Email: erapoport@mail.ru
Dr. Sci. (Techn.), Professor
Russian Federation, 244, Molodogvardeyskaya st., Samara, 443100Nikoly G. Rogachev
Samara State Technical University
Email: rogachev8@mail.ru
Postgraduate Student
Russian Federation, 244, Molodogvardeyskaya st., Samara, 443100References
- Larichev O.I. Theory and methods of decision making. Moscow: Logos, 2002. 392 p. (In Russian).
- Belton V., Stewart T.J. Criteria Decision Analysis: An Integrated Approach. Boston: Kluwer, 2002. 362 p.
- Wallenius J., Dyer J.S., Fishburn P.C. [et al]. Multiple criteria decision making, multiattribute utility theory: Recent accomplishments and what lies ahead // Management Science. 2008. V. 54. Pp. 1336–1349.
- Piyavsky S.A. New methods of decision making: theory and applications. Samara: SGASU, 2014. 118 p. (In Russian).
- Poltavsky A.V., Semenov S.S., Voronov E.M. [et al]. Methods of decision-making in the problems of assessing the quality and technical level of complex technical systems. Moscow: LENAND, 2016. 520 p. (In Russian).
- Saati T. Decision-making. Hierarchy analysis method. Moscow: Radio i svyaz', 1993. 278 p. (In Russian).
- Bellman R.E., Zadeh L.A. Decision – making in Fuzzy Environment // Management Science, 1970. Vol. 17. No. 4. Pp. 141–160.
- Bellman R., Zade L. Decision-making in Fuzzy Environment // Issues of analysis and decision-making procedures. Moscow: Mir, 1976. Pp. 172–215. (In Russian).
- Diligensky N.V., Dymova L.G., Sevastianov P.V. Fuzzy modeling and multicriteria optimization of production systems under conditions of uncertainty: technology, economics, ecology. Moscow: Mashinostroenie-1, 2004. 397 p. (In Russian).
- Rogachev G.N., Rogachev N.G. Fuzzy optimization in the problems of planning the movements of robotic warehouse loaders // Vestnik Samarskogo gosudarstvennogo tekhnicheskogo universiteta. Seriya: Tekhnicheskiye nauki. 2018. No. 1 (57). Pp. 18–30. (In Russian).
- Mitroshin V.N., Rogachev G.N., Chostkovsky B.K., Rogachev N.G. Application of fuzzy logic in optimization problems of continuous-discrete control systems for multioperational technological processes // Avtometriya. 2019. Vol. 55. No. 4. Pp. 71–78. (In Russian).
- Vasiliev F.I. Optimization methods. Moscow: Factorial Press, 2002. 824p. (In Russian).
- Podinovskiy V.V., Gavrilov V.M. Optimization according to consistently applied criteria. Moscow: LENAND, 2016. 194 p. (In Russian).
- Nogin V.D. The set and the Pareto principle. St. Petersburg: Publishing and Printing Association of Higher Educational Institutions, 2020. 100 p. (In Russian).
- Yager R.R., Zadeh L.A. An Introduction to Fuzzy Logic Applications in Intelligent Systems. Boston: Kluwer Academic Publishers, 1992. 356 p.
- Carlsson C., Fullèr R., Giove S. Optimization under fuzzy rule constraints // Belgian Journal of Operational Research, Statistics and Computer Sciences. 1998. Vol. 38 (2–3). Pp. 17–24.
- Optimization ToolboxTM User's Guide. https://www.mathworks.com/help/pdf_doc/optim/optim.pdf (accessed December 16, 2020).
- Rapoport E.Ya. Analysis and synthesis of automatic control systems with distributed parameters. Moscow: Vysshaya shkola, 2005. 291 p. (In Russian).
- Nemkov V.S., Demidovich V.B. Theory and calculation of induction heating devices. Leningrad: Energoatomizdat, 1988. 271 p. (In Russian).
- Rogachev N.G., Rogachev G.N. Modeling of electrothermal induction heating processes // Proceedings of the VI International scientific and practical conference ”Applied mathematics and informatics: modern research in the field of natural and technical sciences”, Togliatti: TSU, 2020, Pp. 395–399. (In Russian).
Supplementary files












