Технологические аспекты изготовления и подготовки макетных образцов жидкометаллических предохранителей к тепловым и коммутационным испытаниям
- Авторы: Кузнецов А.В.1, Юренков Ю.П.1, Аглиулов А.И.1
-
Учреждения:
- Ульяновский государственный технический университет
- Выпуск: Том 29, № 3 (2021)
- Страницы: 111-121
- Раздел: Электротехника
- URL: https://journals.eco-vector.com/1991-8542/article/view/83070
- DOI: https://doi.org/10.14498/tech.2021.3.7
- ID: 83070
Цитировать
Полный текст
Аннотация
Преимущества ограничителей тока на основе жидкометаллических самовосстанавливающихся предохранителей (ЖСП) вызывают интерес и потребность в развитии и продолжении исследований в направлении создания макетных и промышленных образцов ЖСП, определения области их применения. Одной из существенных причин отсутствия необходимых результатов экспериментальных исследований в литературных источниках являются технологические проблемы изготовления макетных образцов ЖСП и подготовки их к испытаниям. Особенно это ощутимо при использовании в качестве плавкой вставки металлов, агрессивных к окружающей среде, - щелочных металлов. Предложенный подход решения технологических проблем изготовления и подготовки макетных образцов к испытаниям представляет интерес и может быть использован научными группами, занимающимися исследованиями, связанными с ЖСП. Разработка и обсуждение такой технологии могут способствовать активизации исследований в направлении создания макетных образцов и получению новых практических результатов.
Полный текст
Введение
Важнейшим требованием к системам передачи и распределения электроэнергии является высокая надежность, в том числе при возникновении аварийных ситуаций, связанных с возможностью возникновения коротких замыканий (КЗ). Короткие замыкания в электрической системе приносят большой вред нормальной работе как самой системы, так и электрооборудования, что сопровождается значительным экономическим ущербом.
Для защиты от коротких замыканий используют коммутационные электрические аппараты и устройства для ограничения токов КЗ. К сожалению, в ряде случаев коммутационные аппараты не обладают достаточным быстродействием и токоограничивающими свойствами и не обеспечивают защиту элементов систем электроснабжения [1, 2]. Применение известных токоограничивающих устройств, таких как быстродействующие предохранители, взрывные предохранители, полупроводниковые выключатели, токоограничивающие реакторы и т. д., в ряде случаев не представляется возможным, поскольку они обладают следующими недостатками: недостаточность их токоограничивающих свойств и быстродействия для защиты элементов электрической сети, громоздкость и сложность конструкции, неудобства эксплуатации, высокая стоимость, существенные перенапряжения, возникающие при отключении цепи, потери активной мощности и энергии в нормальном режиме [3]. В связи с вышесказанным необходима разработка новых электрических аппаратов с токоограничивающими свойствами.
Жидкометаллические самовосстанавливающиеся предохранители
Одним из вариантов новых токоограничивающих устройств может быть устройство на основе жидкометаллических самовосстанавливающихся предохранителей (ЖСП) [1-3]. Конструкция ЖСП представлена на рис. 1.
Рис. 1. Жидкометаллический самовосстанавливающийся предохранитель: 1 - контактный вывод 1; 2 - керамическая диэлектрическая втулка; 3 - канал диэлектрической втулки, заполненный жидким металлом; 4 - контактный вывод 2; 5 - сильфон; 6 - заглушка
Жидкометаллический самовосстанавливающийся предохранитель – это электрический аппарат, в котором в качестве плавкого элемента применяется жидкий металл (индий, галлий, ртуть, щелочные металлы и т. п.), расположенный в канале диэлектрической втулки 3. При протекании по жидкометаллической плавкой вставке 3 тока короткого замыкания (КЗ) она испаряется, вызывая взрывообразное повышение давления, которое компенсируется расширением объема сильфона 5. При высоком давлении пары металла обладают значительным сопротивлением. В результате ток резко ограничивается, после чего в канале образуется электрическая дуга, которая гасится при естественном переходе тока через нулевое значение. Электрическая цепь разрывается дополнительным коммутационным аппаратом. После остывания и конденсации паров жидкого металла электрическая цепь восстанавливается.
На сегодняшний день установлено, что ЖСП и устройства на их основе обладают более высоким быстродействием, чем освоенные промышленностью электрические аппараты [1, 4, 5]. Быстродействие ЖСП при коротком замыкании, так же как и обычных предохранителей, оценивается значением интеграла отключения [4]. Чем ниже это значение, тем выше быстродействие. На рис. 2 [4] даны значения этого параметра для ЖСП на номинальный ток 63 А при использовании плавких вставок из различных металлов. Из рисунка следует, что быстродействие ЖСП с плавкими вставками из щелочных металлов (калий, натрий) выше, чем у ртути. Также по характеристикам видно, что ЖСП из любого жидкого металла обладает большим быстродействием, чем предохранитель с плавкой вставкой из серебра.
Рис. 2. Расчетные зависимости интеграла отключения ЖСП с плавкими вставками из различных материалов на номинальный ток 63 А от тока короткого замыкания (действующее значение): 1 ‒ зависимость для предохранителя с серебряной плавкой вставкой; 2 ‒ зависимость для ЖСП с плавкой вставкой из ртути; 3 ‒ зависимость для тиристора Т25; 4, 5 ‒ зависимости для ЖСП с плавкой вставкой из калия, натрия
Преимущества жидкометаллического ограничителя тока вызывают интерес и потребность в развитии и продолжении исследований в направлении создания макетных и промышленных образцов ЖСП и определения области их применения.
Уровень исследований ЖСП
К сожалению, проведенный объем исследований еще не достиг того уровня, при котором можно говорить о промышленном производстве жидкометаллических самовосстанавливающихся предохранителей [6]. В литературных источниках слабо освещены вопросы экспериментальных исследований ЖСП [4, 7-11]. Без таких результатов трудно поверить в достоверность положений и рекомендаций, полученных теоретическим путем. Требуется проведение дополнительных экспериментальных исследований тепловых и коммутационных процессов в жидкометаллическом ограничителе тока. Для реализации этих целей необходимо разработать универсальные конструкции макетных образцов ЖСП, технологию изготовления и подготовки к лабораторным исследованиям; проработать технологический процесс и выбрать необходимое лабораторное оборудование, сконструировать и изготовить приспособления, которые позволят подготовить ЖСП к тепловым и коммутационным испытаниям.
Дополнительные сложности возникают при применении в качестве плавкой вставки агрессивных к окружающей среде щелочных металлов. Их температура плавления несколько выше, чем нормальная температура окружающей среды. Необходимость заправки макетного образца связана с нагреванием щелочного металла до температуры плавления. Для натрия температура плавления равна 97,8 °С. Манипуляции с агрессивными металлами, да еще и при повышенной температуре, требуют повышенной осторожности и внимания. Нужна разработка специальной эффективной и безопасной технологии. Ее отсутствие создает препятствия на пути развития исследований.
Скорее всего, это и является причиной слабого освещения в литературных источниках результатов экспериментальных исследований. Результаты исследований отсутствуют. Разработка и обсуждение такой технологии для заинтересованных научных инициативных групп исследователей способствуют активизации исследований в направлении создания макетных образцов и получения новых практических результатов.
Подготовка ЖСП к тепловым и коммутационным испытаниям включает несколько этапов: подготовка специальной установки для заправки ЖСП, заправка макета жидким металлом.
Установка для работы со щелочными металлами
Заправка ЖСП щелочным металлом - натрием вызывает ряд трудностей. Одной из них является агрессивность натрия к окружающей среде. Он активно реагирует с воздухом () с образованием оксида натрия (), а контакт с водой приводит к взрыву с последующим образованием едкой щелочи [12]. Для работы со щелочным металлом и заправки им макетного образца ЖСП предлагается применять специальную лабораторную установку - перчаточный бокс (рис. 3). Он представляет собой герметичный контейнер, который позволяет манипулировать опасными материалами в контролируемой инертной атмосфере [13].
Рис. 3. Перчаточный бокс: 1 ‒ узел выхода газа в задней стенке; 2 ‒ смотровое окно; 3 ‒ дверка люка; 4 ‒ резиновые перчатки; 5 ‒ узел подачи газа в боковой стенке; 6 ‒ главный узел подачи газа; 7 ‒ узел подачи газа в нижней стенке
Выбор газа для создания инертной атмосферы зависит от необходимых требований к эксперименту. Чаще всего используются азот, диоксид углерода, аргон, в более редких случаях – гелий и водород [14]. Для работы с натрием вполне подходит инертный газ аргон повышенной чистоты и осушки.
Для подачи аргона из баллона используется система коммуникаций, представленная на рис. 4.
Рис. 4. Схема газоснабжения перчаточного бокса
В верхней части горловины аргонового баллона 1 установлен вентиль 2, с помощью которого можно надежно перекрыть подачу газа. С помощью аргонового редуктора 3 контролируется давление газа. Редуктор оснащен двумя манометрами, что обеспечивает стабильную, равномерную подачу газа без резких скачков. Далее через рукав высокого давления 4 газ поступает в коммуникации, которыми оборудован перчаточный бокс 9. Через манометр 5 и газовый кран 6 газ можно направить в боковую стенку перчаточного бокса 7 либо в нижнюю стенку 8. Этим обеспечивается полное вытеснение воздуха из камеры перчаточного бокса и заполнение ее аргоном. Плотность аргона выше плотности воздуха.
При нагнетании аргона в бокс воздух вытесняется в окружающую среду по коммуникации 11 в задней стенке перчаточного бокса. Коммуникация 11 представляет собой шланг, соединенный с металлической трубой, которая выведена за пределы помещения лаборатории через стену 12. При непрерывном потоке аргона через камеру перчаточного бокса в ней создается небольшое избыточное давление. Очевидно, что аргон через заглушки, рукава, дверки люка может в какой-то степени поступать в помещение. В случае избыточной утечки газа включается вентилятор 10, встроенный в стену 12, и происходит вентиляция помещения.
Макетный образец ЖСП
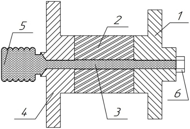
Упрощенная конструкция макетного образца ЖСП, разработанного и изготовленного на кафедре «Электроснабжение» в Ульяновском государственном техническом университете, изображена на рис. 5.
Рис. 5. Упрощенная конструкция макетного образца ЖСП
Макетный образец состоит из контактных выводов 1 и 2, демпфирующего узла 3 в виде сильфона, диэлектрической втулки 4, выполненной из нагревостойкой керамики. Для герметичности конструкции между контактными выводами 1, 2 и диэлектрической втулкой 4 расположены герметизирующие прокладки 5. Все детали конструкции помещены в металлический корпус. Контактные выводы выполнены совмещенными со штуцером-елочкой 6, 7 для присоединения гибких шлангов. Конец шланга, надетый на елочку, закрепляется обжимным хомутиком.
Такая конструкция позволяет представить ЖСП как часть трубопровода для перекачки жидкости в гидросистеме. Внутренний диаметр трубопровода определяется диаметром канала диэлектрической втулки и внутренними диаметрами контактных выводов. Для перекрытия движения жидкости используются пробковые краники 8, 9. Перекрытые пробковых краников при заполненной жидкостью гидросистеме обеспечивает возможность отсоединения ЖСП от гидросистемы. Герметичность жидкого металла, расположенного в канале диэлектрической втулки ЖСП и внутренних отверстиях контактных выводов от внешней среды, обеспечивается перекрытыми пробковыми краниками. Если в гидросистеме использовался жидкий металл, ЖСП считается заправленным и готовым для дальнейших исследований.
Перед заправкой ЖСП жидким металлом необходимо произвести промывку ЖСП и обезжиривание внутренних поверхностей. Для этого в гидросистеме используется чистый бензин, этиловый спирт. Гидросистема может представлять собой ЖСП с присоединенными к каждому контактному выводу (штуцеру-елочке) посредством гибких шлангов медицинских шприцов. Манипулируя шприцами, можно перекачивать жидкость через ЖСП попеременно в одну и другую сторону, обеспечивая промывку и обезжиривание внутренних поверхностей ЖСП. По окончании промывки ЖСП отсоединяется от системы, продувается потоком воздуха, высушивается в сушильном шкафу при повышенной температуре. После этого ЖСП готов к заправке жидким металлом.
Заправка макета жидким металлом
Заправка ЖСП жидким металлом производится в перчаточном боксе. Так как металлический натрий превращается в жидкость при температуре выше нормальной температуры окружающей среды, все элементы гидросистемы должны иметь подогрев до температуры не менее чем 97,8 °С. В состав гидросистемы для заправки ЖСП жидким металлом входит емкость для расплавленного натрия, макет ЖСП, медицинский шприц. Необходимость подогрева ЖСП обусловлена тем, что во время поступления расплавленного металла во внутреннее пространство ЖСП возможно его охлаждение за счет отдачи тепла элементам конструкции ЖСП. Образование при этом пробки делает невозможным дальнейшие манипуляции с жидким металлом.
Система подогрева элементов гидросистемы может быть выполнена на основе нагревательного элемента, в качестве которого используется проводник с высоким удельным сопротивлением и термостойкой изоляцией. Термостойкость изоляции должна быть выше температуры плавления натрия и соответственно необходимой температуры нагревания элементов гидросистемы (вполне подходит изоляция из фторопласта). Проводником обматывают подогреваемые элементы гидросистемы и подключают к источнику питания с регулируемым напряжением – например, автотрансформатору. Экспериментальным путем определяют напряжение выхода, которое соответствует установившемуся значению температуры проводника и температуры подогреваемых элементов конструкции ЖСП не ниже температуры плавления жидкого металла.
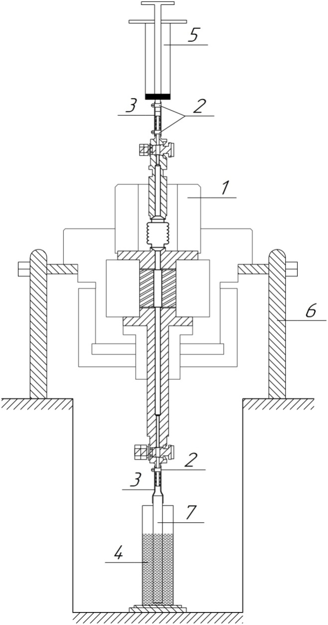
Все манипуляции с жидким металлом производятся в перчаточном боксе после его заполнения аргоном. На этапе подготовки в перчаточный бокс через специальные люки 3 (см. рис. 3) в боковых стенках помещают инструменты для манипуляций с макетом и металлический натрий в упаковке. Макет закрепляется на подставке 6 (рис. 6) в нижней стенке бокса. Монтируется гидросистема. Нижний контактный вывод-штуцер ЖСП 7 (см. рис. 5) посредством гибкой муфты из силиконового шланга 3 (см. рис. 6) соединяется со стеклянной трубочкой 7 (см. рис. 6), которая опускается в колбу с жидкостью 4 (см. рис. 6) для заправки ЖСП практически до дна. Объем жидкости в колбе рассчитывается с учетом заполнения внутреннего пространства ЖСП жидким металлом. Верхний контактный вывод-штуцер 6 (см. рис. 5) по аналогии посредством гибкого силиконового шланга соединяется с цилиндром медицинского шприца 5 (см. рис. 6). После продувки всей гидросистемы аргоном с целью вытеснения из нее воздуха можно приступать к заполнению гидросистемы жидким металлом.
Рис. 6. Исходное состояние макета ЖСП перед заправкой: 1 - упрощенная конструкция макетного образца ЖСП в сборе с корпусом; 2 - червячный хомут; 3 - силиконовый шланг; 4 - колба с расплавленным натрием; 5 - медицинский шприц; 6 - подставка для макета ЖСП; 7 - стеклянная трубка
В исходном состоянии нижняя трубка гидросистемы опущена в колбу с расплавленным натрием. Поршень цилиндра медицинского шприца находится в нижнем состоянии – состоянии всасывания жидкости (см. рис. 6). Все элементы гидросистемы прогреты до температуры плавления натрия. Для заполнения гидросистемы жидким металлом поршень шприца медленно поднимается вверх. За счет расширения объема внутреннего пространства снижается давление внутри ЖСП. Действующее на жидкий металл атмосферное давление вытесняет жидкий металл из колбы в зону пониженного давления во внутреннюю часть ЖСП.
Факт заполнения ЖСП и окончания процедуры может контролироваться визуально при появлении жидкого металла в цилиндре шприца. Важным моментом в этой процедуре является необходимость заполнения внутреннего пространства ЖСП без газовых пузырьков, которые могут остаться в лабиринтных участках, в гофрах сильфона и т. п. Избежать этого могут помочь многократная прокачка в разные стороны, создание вибрации подставки с ЖСП во время заполнения и т. п. После заполнения ЖСП жидким металлом перекрываются пробковые краники, отключается подогрев элементов гидросистемы, гидросистема размонтируется, остатки жидкого металла утилизируются в емкость с этиловым спиртом, прекращается подача газа в перчаточный бокс.
После остывания ЖСП до температуры окружающей среды удаляются остатки жидкого металла в отверстиях контактных выводов-штуцеров. Удаление и нейтрализация могут проводиться с помощью этилового спирта. Производится нейтрализация остатков жидкого металла в перчаточном боксе. Выполняется уборка перчаточного бокса и утилизация отходов.
Заправленный макет готов к дальнейшим манипуляциям в нормальных лабораторных условиях вне перчаточного бокса.
Выводы
- Преимущества ограничителей тока на основе жидкометаллических самовосстанавливающихся предохранителей (ЖСП) вызывают интерес и потребность в развитии и продолжении исследований в направлении создания макетных и промышленных образцов ЖСП, определения области их применения.
- В литературных источниках слабо освещены результаты экспериментальных исследований ЖСП. Без таких результатов трудно поверить в достоверность положений и рекомендаций, полученных теоретическим путем.
- Одной из существенных причин отсутствия результатов экспериментальных исследований являются технологические проблемы изготовления макетных образцов ЖСП и подготовки их к испытаниям. Особенно это ощутимо при использовании в качестве плавкой вставки металлов агрессивных к окружающей среде щелочных металлов.
- Предложенный подход решения технологических проблем изготовления и подготовки макетных образцов к испытаниям представляет интерес и может быть использован научными группами, занимающимися исследованиями, связанными с ЖСП.
- Разработка и обсуждение такой технологии могут способствовать активизации исследований в направлении создания макетных образцов и получения новых практических результатов.
Об авторах
Анатолий Викторович Кузнецов
Ульяновский государственный технический университет
Автор, ответственный за переписку.
Email: kav2@ulstu.ru
д.т.н., с.н.с., заведующий кафедрой «Электроснабжение»
Россия, 432027, г. Ульяновск, ул. Северный Венец, 32Юрий Петрович Юренков
Ульяновский государственный технический университет
Email: alxim2@mail.ru
старший преподаватель кафедры «Электроснабжение»
Россия, 432027, г. Ульяновск, ул. Северный Венец, 32Айрат Илгизярович Аглиулов
Ульяновский государственный технический университет
Email: agliullov_airat@mail.ru
магистрант
Россия, 432027, г. Ульяновск, ул. Северный Венец, 32Список литературы
- Кузнецов А.В., Тимиргазин Р.Ф., Юренков Ю.П. Пути совершенствования аппаратов защиты для энергосберегающих систем транспортировки и распределения электроэнергии напряжением до 1 кВ // Энергосбережение в городском хозяйстве, энергетике, промышленности: Седьмая Международная научно-техническая конференция: сборник научных трудов Т. 2. – Ульяновск: УлГТУ, 2017. – С. 252–255.
- Кузнецов А.В., Юренков Ю.П. Применение жидкометаллических самовосстанавливающихся ограничителей тока для энергосберегающих систем транспортировки и распределения электроэнергии // Вестник УлГТУ. – 2019. – № 1 (85). – С. 54–58.
- Kuznetsov A.V., Yurenkov Y.P., Mityaev A.A. The Problem of Short-circuit Current Limitation in Energy – saving Systems of Transportation and Electricity Distribution // The 12th International Symposium on Advanced Topics in Electrical Engineering (ATEE), Bucharest, Romania, 2021. Pp. 1–5.
- Кузнецов А.В. Жидкометаллические предохранители и инвестиционная привлекательность их разработки. – М.: Энергоатомиздат, 2006. – 207 с.
- Кужеков С.Л., Васильев Б.Н., Куров Н.Н. Оценка быстродействия жидкометаллического самовосстанавливающегося предохранителя // Известия высших учебных заведений. Электромеханика. – 2012. – № 2. – С. 134–136.
- Hailong H., Mingzhe R., Yi W. Experimental Research and Analysis of a Novel Liquid Metal Fault Current Limiter // IEEE transaction on power delivery. 2013. Pр. 1–8.
- Niayesh K., Tepper J., König F. A Novel current limitation principle based on application of liquid metals // IEEE transaction on companents and packaging technologies. 2006. Vol. 29, № 2. Pр. 303–309.
- Yiying L., Yi W., Chen H., Hailong H. Investigation on the behavior of GaInSn liquid metal Current Limiter // IEEE transaction on companents. 2014. № 2. Pр. 209–215.
- Zienicke E., Ben-Wen Li, Thess A., Kräzschmar A., Terhoeven P. Theoretical and Numerical Stability Analysis of the Liquid Metal Pinch Using the Shallow Water Approximation // Journal of Thermal Science. 2008. № 3. Vol. 17. Pр. 261–266.
- He H. et al. Study of Liquid Metal Fault Current Limiter for Medium-Voltage DC Power Systems // IEEE Transactions on Components, Packaging and Manufacturing Technology. Aug. 2018. Vol. 8, No. 8. Pp. 1391–1400.
- Казанцев А.А., Косорлуков И.А. Разработка жидкометаллического ограничителя тока // Электрооборудование: эксплуатация и ремонт. – 2013. – № 12. – С. 25−27.
- Костин Н.В. Техника безопасности работы в химических лабораториях. – М.: Изд-во Моск. ун-та, 1966. – 344 с.
- Хоникевич А.А. Очистка радиоактивно-загрязненных вод лабораторий и исследовательских ядерных реакторов. – М.: Атомиздат, 1974. – 312 с.
- Устройство и принцип работы перчаточного бокса с инертной атмосферой [Электронный ресурс]. – URL: https://acrylmedic.ru/post/show/1/ustroystvo_i_princip_raboty_perchatochnogo_boksa_s_inertnoy_atmosferoy (дата обращения: 01.04.2021).
Дополнительные файлы









