Automatic control system of the mechatronic module
- Authors: Lysov V.E.1, Polyakov V.A.1
-
Affiliations:
- Samara State Technical University
- Issue: Vol 29, No 3 (2021)
- Pages: 122-136
- Section: Electrical Engineering
- URL: https://journals.eco-vector.com/1991-8542/article/view/83071
- DOI: https://doi.org/10.14498/tech.2021.3.8
- ID: 83071
Cite item
Full Text
Abstract
The paper discusses a new approach to improving the accuracy of reproducing the task signal by a precision circular transfer table based on the implementation in the form of a mechatronic module. This design eliminates the disadvantages of the traditional design, such as backlash, failure when fixing the face-plate. The mechatronic module is a gearless connection between the face-plate and the electric motor. The new design required a new approach to the operation of the automatic tracking and stage positioning control system. In the process of stage positioning, thermal deformations occur, and therefore, a feature is the inclusion of an additional automatic control system for the cooling of an executive synchronous electric motor with permanent magnets in the rotor. The paper deals with the issue of the interrelationship between the positioning and tracking systems with the thermal deformation compensation system. Simulation of the operation of two systems has been carried out.
Full Text
Повышение точности воспроизведения заданной траектории движения инструмента, его позиционирования является актуальной задачей автоматизированного машиностроения. Приводные модули применяются для осуществления разнообразных сборочных устройств, лазерных технологических комплексов, позиционно-следящих приводов механообрабатывающих роботов, металлорежущих станков. Примером приводного модуля может служить поворотный стол. Оснащение металлорежущего станка поворотным столом позволяет выполнять многофункциональные операции с одной установки, что повышает точность обработки детали и расширяет функциональные возможности станка.
Существующие конструкции поворотных столов [1–3], оснащенных электроприводом, имеют существенные недостатки: неидеальность геометрических параметров отдельных деталей, упругие деформации, тепловые деформации, а также люфт в кинематической цепи. Так, на рис. 1 показана кинематическая схема прецизионного поворотного стола модели СК-36. Из рисунка видно, что люфт обусловлен наличием зазора между червяком и червячным колесом. Данный зазор необходим для исключения заклинивания передачи от тепловых деформаций. Также негативное влияние на точность угла поворота планшайбы оказывают упругие деформации соединительной муфты 2 и вала червяка. Кроме того, традиционная конструкция поворотного стола [1] требует существенных эксплуатационных расходов. Это связано с постоянным контролем уровня смазывающей жидкости в кинематической цепи передачи движения к планшайбе, контролем и минимизацией действия люфта при эксплуатации стола в силу износа трущихся поверхностей в узле передачи движения от вала электродвигателя к планшайбе поворотного стола.
Рис. 1. Функциональная схема поворотного стола СК-36: 1 – серводвигатель; 2 – соединительная муфта; 3 – червячная передача; 4, 5 – подшипниковые узлы
На сегодняшний день максимально возможная точность угла поворота планшайбы упомянутых выше поворотных столов составляет 3,5’’ угловых секунд. Данная точность определяется точностью механических узлов станка и точностью датчика, который преобразует угол поворота планшайбы в цифровой код.
Радикального увеличения точности угла поворота планшайбы можно достигнуть сокращением кинематической цепи и полным устранением люфтов. Эту задачу в наиболее полной мере решает мехатронный модуль с прямым сервоприводом – в этом случае планшайба и ротор серводвигателя являются единым кинематическим звеном. Также благодаря быстродействующим микропроцессорным системам и интеллектуальным алгоритмам управления можно достичь высоких точностей. Кроме того, необходимо компенсировать упругие и тепловые деформации.
Конструкция поворотного стола на основе синергетического объединения в одном модуле электродвигателя, механического устройства в виде планшайбы и информационного устройства в виде датчиков, контролирующих параметры движения, создает мехатронный модуль движения, который является объектом системы автоматического управления. Предлагаемый модуль может быть создан на основе синхронного электродвигателя с постоянными магнитами на роторе [7, 8], например 1FW6.
Функциональная схема мехатронного модуля движения с соответствующими системами управления показана на рис. 2.
Рис. 2. Функциональная схема мехатронного модуля движения: 1 – обмотка статора; 2 – статор двигателя; 3 – ротор двигателя; 4 – постоянные магниты на роторе двигателя; 5 – планшайба; 6 – обрабатываемая деталь; 7 – датчики температуры; 8 – вход жидкости в радиатор статора; 9 – радиатор статора; 10 – подшипники статора; 11 – датчики параметров электродвигателя; 12 – система управления координатой поворотного стола; 13 – система управления охлаждением поворотного стола
Следует отметить, что в системе управления координатой поворотного стола в режиме позиционирования планшайбы синхронный двигатель работает в режиме на удержание, то есть на упор, кроме того меняется в соответствии с режимом обработки. В этой связи ток статора носит стохастический характер. Рассмотренные режимы работы электропривода приводят к нагреву статора и соответственно передаче температуры к ротору, планшайбе и установленной на ней детали. Это делает возможным изменение геометрических размеров детали, что может привести к снижению точности обработки. В этой связи в мехатронном модуле предусмотрена система охлаждения статора.
Результат идентификации процессов, имеющих место в мехатронном модуле [5, 6], позволил представить процесс нагрева статора в виде апериодического звена:
, (1)
где KS – коэффициент, характеризующий превышение температуры к току статора;
– постоянная времени нагрева статора;
C – теплоемкость тела;
A – теплоотдача тела;
τD(p) – превышение температуры тела над окружающей средой;
I(p) – ток статора ID с учетом тока нагрузки IH.
Процесс нагрева планшайбы, детали осуществляется одновременно с нагревом статора. С учетом вентиляции в воздушном зазоре между статором и ротором передаточная функция, характеризующая процесс нагрева планшайбы, представляется апериодическим звеном вида
, (2)
где τP – превышение температуры планшайбы относительно окружающей среды;
KP – коэффициент передачи, учитывающий снижение температуры планшайбы относительно температуры статора.
Значения этих коэффициентов получены экспериментальным путем и составляют: ; .
Процесс изменения температурной деформации детали имеет сложный характер и определяется материалом и формой детали; он также описывается апериодическим звеном:
, (3)
где Zd – геометрическое изменение размеров детали в зависимости от превышения температуры детали;
КD – коэффициент, учитывающий геометрическое изменение детали от превышения температуры над окружающей средой, определяется в зависимости от материала обрабатываемой детали;
ТD – постоянная времени изменения размера детали.
Значение ТD определяется экспериментально и по отношению к ТP составляет .
Синхронный двигатель с постоянным магнитом в роторе [8, 9, 11] представляется типовым колебательным звеном:
, (4)
где ωD – частота вращения вала электродвигателя;
UD(р) – напряжение статора электродвигателя;
Км – коэффициент передачи электродвигателя, осуществляющий связь между напряжением, приложенным к статору, и частотой вращения ротора;
ТЕ – электромагнитная постоянная времени статора;
TM – электромеханическая постоянная синхронного электродвигателя.
Для стабилизации температуры статора асинхронного двигателя с постоянными магнитами используется система охлаждения. Насос прокачивает определенный объем охлаждающей жидкости через рубашку (радиатор). Насос с асинхронным приводом описывается апериодическим звеном:
, (5)
где QO(p) – производительность насоса;
U(p) – напряжение на выходе силового преобразователя системы управления температурой;
КAD – коэффициент передачи;
ТAD – постоянная времени асинхронного двигателя насоса.
Передаточная функция процесса охлаждения представляется апериодическим звеном [5, 6]:
, (6)
где τO(p) – снижение температуры планшайбы;
KO – коэффициент передачи;
TO – постоянная времени процесса охлаждения.
Для управления мехатронным модулем используется двухуровневая система управления. Уровни связаны друг с другом в силу технологических особенностей работы поворотного стола.
Первый уровень – позиционно следящая САУ, обеспечивающая точность позиционирования стола, стабилизацию скорости вращения планшайбы и оптимальную загрузку двигателя по току. Система первого уровня синтезируется на основе принципа СПР [10–12].
Второй уровень – система стабилизации температуры статора, строящаяся на основе синтеза систем стабилизации [12]. Цифровая составляющая системы управления координатой представляется экстраполятором нулевого порядка в контурах положения, скорости, тока.
С учетом приведенного выше структурная схема системы управления мехатронным модулем представлена на рис. 3.
Рассмотрим синтез регуляторов представленной системы.
Представим электродвигатель в виде структурного соединения трех звеньев.
Первое осуществляет связь между напряжением статора и током статора и имеет вид
, (7)
где RS – сопротивление обмотки статора.
Рис. 3. Структурная схема САУ мехатронного модуля:
– регулятор положения;
– регулятор скорости;
– регулятор тока;
– силовой преобразователь контура тока;
– звено якорной цепи двигателя, связывающее ток электродвигателя с напряжением ;
– электромеханическое звено, связывающее скорость ωD вращения вала электродвигателя с током I;
– звено, связывающее угол поворота ротора электродвигателя φ со скоростью ωD;
– датчик обратной связи по току;
– датчик обратной связи по скорости;
– датчик обратной связи по положению;
G – вес закрепленной на столе детали;
J – момент инерции, создаваемый деталью;
M – динамический момент;
IH – ток нагрузки;
– процесс нагрева статора электродвигателя;
– процесс нагрева планшайбы;
– процесс температурной деформации детали;
– силовой преобразователь системы управления температурой;
– насос системы охлаждения;
– процесс охлаждения
Второе звено реализует связь между частотой вращения якоря и током статора и имеет вид
, (8)
где Ce – конструктивный коэффициент двигателя;
Ф – полный магнитный поток.
Третье звено реализует связь между частотой вращения и углом поворота ротора электродвигателя:
. (9)
В этой связи передаточная функция регулятора тока примет вид
, (10)
где TSP – постоянная времени силового преобразователя контура тока.
Таким образом, регулятор в контуре тока – ПИ-регулятор.
Передаточная функция замкнутого контура тока как исходная для синтеза контура скорости примет вид
. (11)
Для синтеза контура скорости принимаем передаточную функцию замкнутого контура как апериодическое звено:
(12)
Для контура скорости принципиальным является придание ему астатизма. В этом случае действие помех не может повлиять на точность позиционирования, чтобы получить синтез астатической системы и в то же время с показателями технического оптимизма увеличим число контуров регулирования скорости до трех [10] при их последовательной оптимизации по условиям технического оптимума. Структурная схема представлена на рис. 4.
Рис. 4. Структурная схема контура скорости
Согласно принципу СПР передаточная функция WRS(p) примет вид:
. (13)
В этом случае передаточная функция замкнутого контура по скорости примет вид:
(14)
Регулятор третьего контура рассчитывается из условия технического оптимума:
(15)
откуда передаточная функция WRS1(p) определяется:
(16)
Используя методику структурных преобразований, сведем систему к одноконтурной (рис. 5), откуда группу регуляторов скорости можно заменить одним.
Рис. 5. Структурная схема одноконтурной системы регулирования скорости
На рисунке обозначено WZT(p) – передаточная функция замкнутого контура тока.
Передаточная функция эквивалентного регулятора скорости определяется:
(17)
Подставляя значения передаточных функций в (17), получим:
(18)
где .
Из (18) следует, что получен ПИ-регулятор скорости.
Для устранения перерегулирования на входе контура скорости установлен фильтр с передаточной функцией:
(19)
Передаточная функция замкнутого контура скорости с учетом фильтра имеет вид:
(20)
Для синтеза регулятора контура положения принимаем:
(21)
Из условия технического оптимума передаточная функция контура положения определяется:
(22)
откуда передаточная функция WRP(p):
(23)
т. е. получен пропорциональный регулятор.
В силу того, что система автоматического управления (САУ) координатой является цифровой, целесообразно выбрать минимальную частоту квантования цифрового регулятора. Самым быстродействующим контуром является контур тока, который в замкнутом состоянии имеет вид:
(24)
где , , c – коэффициент демпфирования.
Амплитудно-частотная характеристика для зависимости (24) имеет вид
(25)
где ω – частота сигнала задания;
ω0 – частота квантования экстраполятора.
Амплитудно-частотная характеристика, смещенная на величину ω0, примет вид
(26)
Для дискретной системы АЧХ может быть выражена в виде
(27)
При выборе величины частоты смещения характеристик необходимо выполнение того условия, что превышение их суммы по сравнению с АЧХ аналогового прототипа в области частоты пропускания ωC линейной части системы должно быть в пределах допустимой погрешности. Последняя должна соответствовать технологическим требованиям. Величина погрешности определяется также по зависимости (25), в которой необходимо заменить погрешность AI(jω) на ΔAI(jω) и частоту ω на ω01 [13, 14].
Для настроенного на технический оптимум замкнутого контура положения коэффициент демпфирования c = 0,707. Следовательно, с учетом зависимости (25) получим
(28)
Из (28) выразим
(29)
В (29) принято ΔAI(ω01) – заданное значение погрешности по отношению к аналоговому прототипу; ω01 – значение частоты при максимальной частоте задающего сигнала – ωMAX .
К значению частоты, полученному в (29), необходимо прибавить частоту полосы пропускания линейной части дискретной системы, чтобы обеспечить заданную погрешность на всем диапазоне частот сигнала задания ω:
(30)
Полученное значение частоты квантования ω0 позволяет определить период дискретности экстраполятора нулевого порядка
(31)
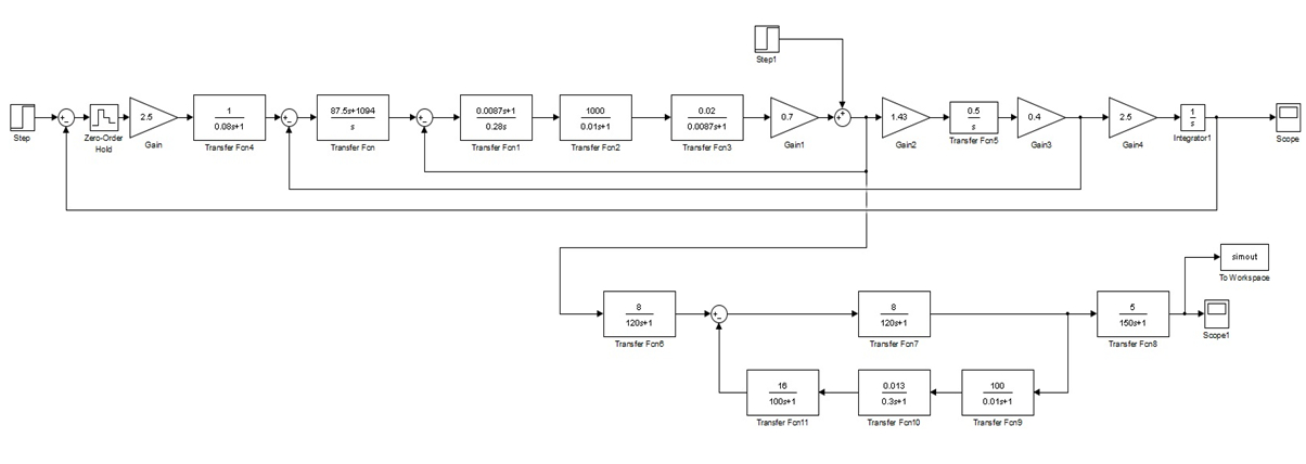
Проведенное исследование по синтезу САУ проводилось на модели в среде программирования Matlab Simulink. При моделировании использовались экспериментально полученные передаточные функции:
– процесса нагрева ;
– охлаждения ;
– силового преобразователя контура тока ;
– силового преобразователя системы управления температурой .
Передаточные функции по паспортным данным:
– звено якорной цепи двигателя ;
– электромеханическое звено ;
– насос с асинхронным приводом ;
– регулятор тока ;
– регулятор скорости ;
– фильтр ;
– регулятор положения ;
– планшайба .
Рис. 6. Модель ЦСАУ мехатронного модуля
При моделировании использовались значения параметров: KS = 8; TS = 120 с; KO = 16; TO = 100 с; KSP = 1000; KSP1 = 100; TSP = 0,01 с; RS = 1 Ом; CeФ = 20 В·с; TM = 0,1 с; KAD = 0,013; TAD = 0,3 с; QO = 5 л / мин при температуре 19 °С; KOST = 0,7 В / А; KOSS = 0,4 Вс; КOSP = 1 В.
Для рассматриваемой ЦСАУ полоса пропускания контура положения 6,3 с-1, откуда [14] . Отсюда определяется минимальная частота квантования .
Полученные при моделировании графики переходного процесса и температурных изменений размеров детали представлены на рис. 7 и рис. 8 соответственно.
Рис. 7. Переходный процесс контура положения
Рис. 8. Температурная деформация размеров детали
Полученные при моделировании изменения размеров детали порядка 0,15 мкм с учетом процессов нагрева и охлаждения соответствуют требованиям, предъявленным к прецизионным станкам.
Заключение
- В статье рассмотрена структура мехатронного модуля с системой управления положением и температурной деформацией детали.
- Рассмотрено взаимодействие систем управления позиционированием планшайбы и компенсацией температурной деформации.
- Показано, что оснащение мехатронным модулем существенно повышает точность и производительность станка.
About the authors
Vladimir E. Lysov
Samara State Technical University
Email: 67lysov@mail.ru
Dr. Sci. (Techn.), Professor
Russian Federation, 244, Molodogvardeyskaya st., Samara, 443100Vasily A. Polyakov
Samara State Technical University
Author for correspondence.
Email: 67lysov@mail.ru
Postgraduate Student
Russian Federation, 244, Molodogvardeyskaya st., Samara, 443100References
- Stol povorotnyy kantuemyy s upravleniem ot UCHPU stanka. Model’ SK-36-1204 // Rukovodstvo po ekspluatatsii SK-36-1204.00.00.000RYe. ZAO «Stan-Samara». Samara. 2015. – 8 р.
- Manfred Weck. Werkzeugmaschinen 3: Mechatronische System, Vorschubantriebe, Prozessdiagnose – Springer Berlin Heidelberg, 2006. – 424 с.
- Technical manual TNC20 DR. Johannes Heidenhain GmbH, 83301 Traunreut, Germany – October 2010. Krugovyye vstraevyyemyye elektrodvigateli 1W6. http://www.simens.ru/ad/ms
- Klyuchev V.I. Teoriya elektroprivoda. M.: Energoizdat, 2001. 520 р.
- Koz’minykh D.V. Raschet moshchnosti elektroprivodov s uchetom stareniya bzolyatsii. Kuybyshev: Kuybyshevskoe knizhnoe izdatel’stvo, 1960. 67 р.
- Poduraev Yu.V., Kuleshov V.S. Printsipy postroeniya i sovremennyye tendentsii razvitiya mekhatronnykh sistem // Mekhatronika. 2000. № 1. Рр. 5–10.
- Lysov M.S., Starikov A.V., Starikov V.A. Linearizovannaya matematicheskaya model’ sinkhronnogo elektrodvigatelya pri razlichnykh sposobakh upravleniya ego skorost’yu // Vestnik SamGTU. 2008. № 1 (18).
- Lysov M.S., Starikov A.V. Matematicheskaya model’ povorotnogo stola kak ob’’yekta upravleniya // Stin. 2009. № 4. Рр. 7–10.
- Rapoport E.Ya. Sistemy podchinennogo regulirovaniya elektroprivodov postoyannogo toka. Konspekt lektsiy. Kuybyshev, 1985. 55 р.
- Anuchin A.S. Sistemy upravleniya elektroprivodov. M.: Izd. dom MEI, 2015. 373 р.
- Lysov V.Ye. Teoriya avtomaticheskogo upravleniya ucheb. posobiye. M.: Mashinostroyeniye, 2010. 500 р.
- Lysov V.Ye., Sidorov I.S. Analiz pogreshnosti v vosproizvedenii zadannoy trayektorii dvizheniya pozitsionno-sledyashchego elektroprivoda s uchotom diskretnosti ckstrapolyatora nulevogo poryadka // Vestnik SamGTU. Ser. Tekhnicheskiye nauki. 2015. № 4 (48). Рр. 70–75.
- Lysov V.Ye., Sidorov I.S. Analiz vliyaniya chastoty kvantovaniya tsifrovogo regulyatora polozheniya pozitsionno-sledyashchego elektroprivoda na dinamicheskiye pokazateli kachestva upravleniya // Mekhatronika, Avtomatizatsiya, Upravleniye. 2016. Vol. 17. № 10. Рр. 685–689.
Supplementary files











