Identification of vehicle directional parameters using the sigma-point Kalman filters
- Authors: Chaplygin A.V.1, Kulikov I.A.1
-
Affiliations:
- Central research and development automobile and engine institute NAMI
- Issue: Vol 15, No 3 (2021)
- Pages: 57-69
- Section: Articles
- URL: https://journals.eco-vector.com/2074-0530/article/view/105548
- DOI: https://doi.org/10.31992/2074-0530-2021-49-3-57-69
- ID: 105548
Cite item
Full Text
Abstract
The article discusses the problem of identifying the parameters of the vehicle's directional movement, which are necessary for the operation of active safety systems (SAB). The inability to determine some of the parameters necessary for the functioning of the SAB by direct measurements with on-board sensors (due to the absence of corresponding sensors in production vehicles) makes it relevant to use indirect computational methods for identifying these parameters, which are based on mathematical structures called observers.
The purpose of this work is to create a system for identifying vehicle motion parameters, which, using the measurements available on board the vehicle and the mathematical apparatus of the theory of observers and optimal filters, indirectly determines unmeasured parameters that are important for the operation of active safety systems.
Based on the analysis of existing methods and tools, a diagram of the observer of the parameters of the vehicle's directional movement using the sigma-point Kalman filter is proposed. The observer identifies the lateral component of the vehicle speed vector, the coefficients of the lateral adhesion of the tires to the supporting surface and the wheel slip angles using the vehicle dynamics model and on-board inertial sensors that measure the linear acceleration and yaw rate of the vehicle.
The observer's performance and adequacy was confirmed by comparing the parameters he identifies with direct measurements made during road tests of the vehicle. There was used a root-mean-square error of identification as a measure for assessing the accuracy with respect to direct measurements of the parameters of course movement. An additional assessment of the adequacy is made by comparing the identified grip characteristic (the dependence of the coefficient of adhesion on the slip angle) with the characteristic obtained by approximation using a mathematical model of the tire. The assessment showed a good quality of identification of course movement parameters provided by the developed observer, which gives grounds to consider it a useful tool for research and development of active safety systems.
Full Text
Введение
Современные системы активной безопасности (САБ) представляют собой комплексы аппаратных и программных средств, способных управлять практически всеми основными компонентами и агрегатами автомобиля – от двигателя и тормозных механизмов до рулевого привода [1]. Расширение функциональности САБ происходит также за счет развития сенсорной части, которая в дополнение к традиционным бортовым измерительным системам (датчики угловых скоростей, ускорений, поворота рулевого колеса и т.д.) в настоящее время может включать средства технического зрения: радары, лидары, камеры. В результате наиболее развитые современные САБ способны не только обеспечивать управляемость и устойчивость движения автомобиля в критических ситуациях, но и автоматически предотвращать его столкновения с препятствиями, на появление которых по каким-либо причинам не успевает среагировать водитель.
Несмотря на интенсивное развитие сенсорной базы САБ существенная часть параметров движения автомобиля остается недоступной для прямых измерений средствами, которыми оборудуется серийный автомобиль. Основные из этих параметров – скорость поступательного движения автомобиля, проскальзывание шин, коэффициенты сцепления шин с опорной поверхностью, углы бокового увода и динамическое перераспределение веса, приходящегося на колеса. Данные параметры являются ключевыми характеристиками движения автомобиля, без которых не может обойтись работа САБ. Кроме того, необходимо отметить, что измеряемые бортовыми датчиками автомобиля параметры содержат погрешности измерений, шум, дрейф нуля и ошибки, связанные с внешними условиями. Также сами датчики могут функционировать некорректно (пример – «залипание» в нуле сигнала датчика бокового ускорения при маневрировании автомобиля на льду, описанное в [1]) или выходить из строя.
Перечисленные проблемы идентификации параметров движения автомобиля и неточности бортовых средств измерения требуют применения методов косвенной идентификации неизмеряемых и измеряемых параметров (последнее необходимо для дублирования измерений с целью повышения их надежности) [2, 3, 4]. Математические структуры, способные решать такие задачи, принято называть наблюдателями. За несколько десятилетий были созданы и описаны в литературе различные варианты наблюдателей на основе фильтра Калмана [5], скользящих режимов [6] и методов Монте-Карло [7]. Подробную классификацию наблюдателей можно найти в работе [8]. Наибольшее распространение получили наблюдатели на основе фильтра Калмана, который обладает хорошей адаптивностью к изменяющимся внешним условиям и внутренним параметрам наблюдаемых объектов, а также устойчив к возмущениям и дает высокую точность идентификации даже при сильно зашумленных измерениях, при этом не предъявляя высоких требований к вычислительным ресурсам.
При рассмотрении курсового движения автомобиля основными параметрами, которые необходимо идентифицировать, являются боковое ускорение, скорость рыскания, коэффициенты сцепления колеса с опорной поверхностью, углы бокового увода. Опубликовано большое число работ, в которых для решения этой задачи используются различные типы наблюдателей. В частности, в работах [9, 10] боковое ускорение и углы бокового увода идентифицируются при помощи велосипедной модели автомобиля и линейной модели шины. В работах [11, 12, 13] для идентификации параметров курсового движения используются наблюдатели на основе т.н. расширенного фильтра Калмана (Extended Kalman Filter, EKF). Ряд публикаций посвящен идентификации параметров курсового движения сигма-точечным фильтром Калмана (Unscented Kalman Filter, UKF) [14, 15].
В настоящей работе в качестве основы для наблюдателя параметров курсового движения автомобиля выбран сигма-точечный фильтр Калмана. Его применение обусловлено в первую очередь использованием нелинейной модели движения автомобиля. Для нелинейных систем разработано несколько алгоритмов, основанных на классическом фильтре Калмана, самым известным из которых является EKF. Его алгоритм предполагает линеаризацию модели наблюдаемого объекта на каждом временном шаге с расчетом матрицы Якоби, которая для достаточно сложных моделей имеет весьма громоздкий вид. Сигма-точечный фильтр Калмана, как описано в работе [16], при сопоставимых с EKF вычислительных затратах не требует расчета якобиана и позволяет получить более высокий порядок аппроксимации целевой функции, который достигается линеаризацией ее плотности распределения вероятностей [16].
Наблюдатель параметров курсового движения автомобиля
В предлагаемом наблюдателе параметров курсового движения автомобиля вектор идентифицируемых переменных (переменных состояния) включает в себя боковую проекцию полного вектора скорости центра масс (ЦМ) , скорость рыскания , коэффициенты бокового сцепления и углы бокового увода колес. В качестве измеряемых параметров используются угол поворота рулевого колеса (), скорость рыскания автомобиля () и боковое ускорение в ЦМ (). Последние два параметра измеряются бортовым инерциальным модулем, включающим датчик угловой скорости и линейный акселерометр.
Алгоритм работы наблюдателя разделен на два этапа: этап прогноза и этап обновления данных. На первом временном шаге работы наблюдателя необходимо задать начальное значение вектора состояния (ВС) и матрицы ковариации системы (). Они могут быть измерены каким-либо устройством или выбраны на основе априорных данных. Даже если начальные условия выбраны не совсем точно, оценка фильтра Калмана сойдется к реальному значению через некоторое конечное время. В настоящей работе начальные условия считаются априорно неизвестными, поэтому задаются нулевыми. По выбранным начальным условиям при помощи сигма-точечного преобразования (т.н. unscented transform) [16] вычисляется набор сигма-точек, которые затем используются для аппроксимации первых двух моментов ВС системы (математического ожидания и матрицы ковариации). На этапе прогноза полученные сигма-точки пропускаются через нелинейную модель наблюдаемого объекта, в результате чего рассчитываются прогнозные оценки переменных ВС, а также матрицы ковариации системы. На этапе обновления данных оценка ВС, полученная на этапе прогноза, используется в модели измерений для расчета оценок наблюдаемых параметров, которые затем сравниваются со значениями измерений , полученными от физических датчиков. Рассчитанная невязка измерений умножается на коэффициент усиления фильтра Калмана (), на основе величины которого оценкам этапов прогноза и обновления данных присваиваются весовые коэффициенты. Коэффициент усиления K вычисляется по известному алгоритму [16] с использованием матриц ковариации ВС и наблюдений. На рис. 1 представлена блок-схема описанного алгоритма наблюдателя.
Рис. 1. Блок-схема наблюдателя параметров курсового движения автомобиля
Fig. 1. Block diagram of the observer of the parameters of the course movement of the vehicle
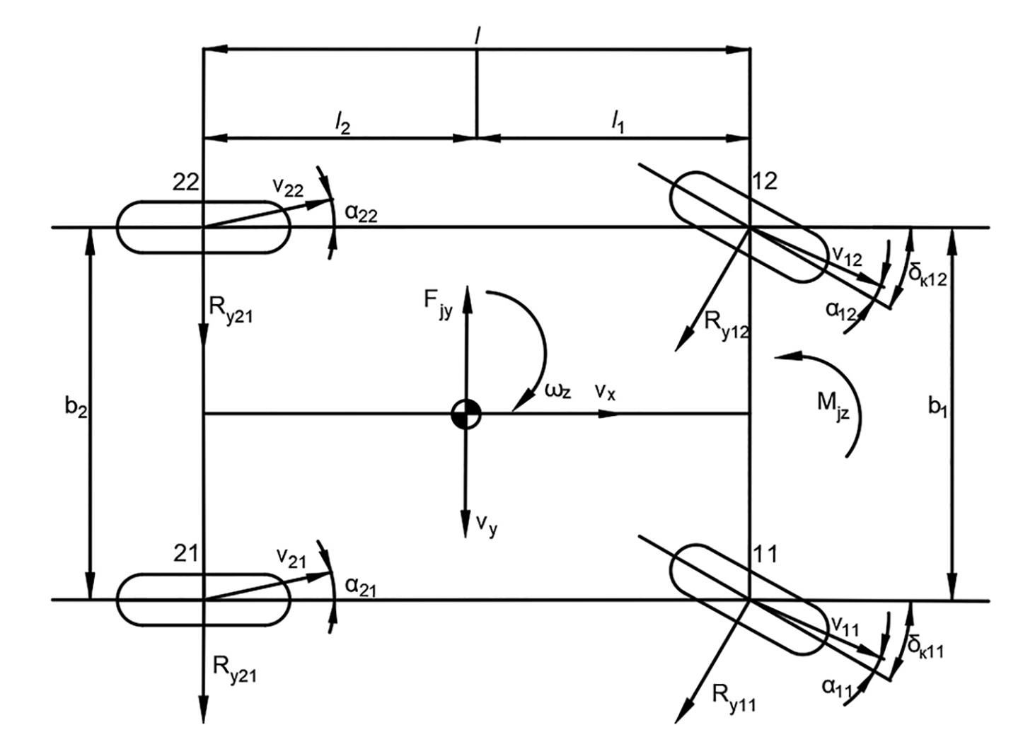
Математическая модель объекта , используемая на этапе прогноза, должна рассчитывать перечисленные параметры ВС и адекватно воспроизводить курсовое движение автомобиля на поверхностях с различными сцепными свойствами. При выводе модели принят ряд допущений: продольная скорость автомобиля в ЦМ считается известной (например, идентифицированной с помощью другого наблюдателя или по данным спутниковой навигационной системы); при выполнении траекторных маневров продольное ускорение автомобиля невелико, что позволяет считать продольные проекции касательных реакций опорной поверхности малыми и не учитывать их в уравнениях модели; поперечный наклон дорожного полотна считается пренебрежимо малым. На основании перечисленных требований и допущений была разработана модель плоскопараллельного движения автомобиля, расчетная схема которой представлена на рис. 2.
Рис. 2. Расчетная схема модели движения автомобиля
Fig. 2. Calculation scheme of the vehicle movement model
В модели номер колеса определяется двойным индексом , где – порядковый номер колесной оси, – номер колеса на соответствующей оси, начиная с колеса правого борта.
Математическое описание, выведенное на основе данной расчетной схемы, представляет собой следующую систему уравнений:
где m – масса автомобиля; – инерционный момент, действующий на автомобиль относительно оси z, – продольная проекция вектора скорости ЦМ; – инерция автомобиля относительно оси z; – боковые проекции касательных реакций опорной поверхности, действующих на соответствующие колеса автомобиля; углы поворота передних управляемых колес, которые рассчитываются при помощи угла поворота рулевого колеса и передаточной характеристики рулевого механизма; – расстояния от ЦМ до центров передней и задней осей соответственно; – колея передних колес; – колея задних колес; – боковая проекция вектора скорости в центре вращения го колеса i-й оси; – продольная проекция вектора скорости в центре вращения го колеса i-й оси; – вектор нормальных случайных процессов с нулевым математическим ожиданием и ковариационной матрицей Q, который описывает стохастический характер поведения системы. В частности, боковые коэффициенты сцепления считаются в данной модели случайными процессами.
Выражение для расчета боковых проекций касательных реакций выглядит следующим образом:
где – нормальная реакция, действующая на j-е колесо i-й оси.
Перераспределение нормальных реакций в перечной плоскости автомобиля рассчитывается на основании условия статического равновесия моментов сил, действующих на автомобиль в этой плоскости. Нормальная реакция, действующая на правый борт автомобиля (), находится из условия равновесия моментов сил относительно точки контакта колес левого борта с поверхностью дороги. Нормальная реакция, действующая на левый борт (), определяется из суммы проекций сил на вертикальную ось автомобиля z. В результате получается следующая система уравнений:
где – высота ЦМ автомобиля над поверхностью дороги; – средняя колея автомобиля; – ускорение свободного падения.
Продольная и боковая составляющие вектора скорости в центрах колес рассчитываются по следующим формулам:
Колесам левого борта в формуле расчета продольных составляющих вектора скорости и колесам передней оси в формуле расчета боковых составляющих вектора скорости соответствует знак «+».
Модель измерений представляет собой следующую систему уравнений:
;
где – вектор нормальных случайных процессов с нулевым математическим ожиданием и ковариационной матрицей R, который описывает стохастический характер модели наблюдений; – скорость рыскания, рассчитанная с помощью кинематической модели поворота автомобиля без учета бокового увода.
Для коррекции скорости рыскания и бокового ускорения в ЦМ используются прямые измерения, а коэффициенты сцепления корректируются при помощи боковых ускорений в центрах колес, для расчета которых необходимо перенести боковое ускорение, измеряемое в ЦМ, при помощи следующих формул:
где – боковое ускорение в центре вращения j-го колеса i-й оси; и – боковые ускорения в центрах передней и задней осей соответственно. Для колес левого борта в формулах используется знак «+».
Боковые ускорения в центрах осей рассчитываются следующим образом:
где – угловое ускорение автомобиля относительно оси z.
Для коррекции боковой составляющей вектора скорости ЦМ используется кинематическая велосипедная модель траекторного движения автомобиля с допущением пренебрежимо малого бокового увода. Такая модель ниже будет называться «безуводной». Скорость рыскания в этой модели рассчитывается согласно следующему выражению:
;
где – средний угол поворота управляемых колес, – колесная база автомобиля.
Использование такой модели справедливо лишь при небольшом уводе и необходимо для устранения дрейфа нуля в измерениях бортовых датчиков, который оказывает существенное влияние на переменные состояния, рассчитываемые путем интегрирования уравнений модели. Использование безуводной модели позволяет устранить этот эффект за счет центрирования коррекции с помощью сигнала , пропорционального положению рулевого колеса. Дисперсия безуводной модели в ковариационной матрице измерений задается функцией от расчетного угла увода: чем больше увод, тем больше дисперсия .
Каждому из описанных этапов работы наблюдателя соответствует своя ковариационная матрица. Для этапа прогноза это матрица ковариации процесса (Q), для этапа обновления данных – матрица ковариации измерений (R). Значения элементов матрицы ковариации измерения обычно предоставляются поставщиком измерительного оборудования или могут быть получены при калибровке этого оборудования. Матрица ковариации процесса настраивается либо эмпирически, либо при помощи алгоритмов теории оптимизации или искусственных нейронных сетей [8]. В настоящей работе обе матрицы задаются эмпирически и выглядят следующим образом:
;
,
где – дисперсия боковой составляющей вектора скорости автомобиля; –дисперсия скорости рыскания автомобиля; – дисперсия коэффициента бокового сцепления i-й оси j-го колеса; дисперсия безуводной боковой составляющей скорости автомобиля; дисперсия скорости рыскания на этапе обновления данных; – дисперсия коэффициентов бокового сцепления i-й оси j-го колеса на этапе обновления данных.
Вектор измерений выглядит следующим образом:
,
где и – боковое ускорение в ЦМ и скорость рыскания автомобиля, измеренные бортовыми датчиками.
Тестирование наблюдателя на экспериментальных данных
В данном разделе представлены результаты оценки работоспособности и адекватности наблюдателя параметров курсового движения автомобиля с использованием экспериментальных данных. В качестве объекта исследований использовался легковой автомобиль с колесной формулой 4x4, параметры которого приведены в таблице 1.
Таблица 1
Основные параметры автомобиля, используемого в исследовании
Table 1. Basic parameters of the studied vehicle
Параметр | m, кг | , кг | , кг | , м | , м | , м | , м | , кг·м² |
Величина | 2558 | 1246 | 1312 | 1,6 | 1,66 | 1,57 | 1,49 | 5500 |
где m1 и m2 – массы, приходящиеся на переднюю и заднюю оси автомобиля.
Испытания автомобиля проводились на автополигоне НИЦИАМТ ФГУП «НАМИ» в зимних условиях на опорных поверхностях, покрытых укатанным снегом и льдом, с использованием шин с шипами противоскольжения. Испытания включали в себя маневры «переставка» (рис. 3) и «поворот» в соответствии с ГОСТ 31507-2012. Высокая интенсивность данных маневров и низкое сцепление опорных поверхностей обуславливают работу шин в нелинейной области характеристики бокового сцепления, что представляет особый интерес с точки зрения активной безопасности и идентификации параметров движения. Подробное описание испытаний и используемого измерительного оборудования представлено в работе [17].
Рис. 3. Фрагмент испытаний исследуемого автомобиля
Fig. 3. Fragment of tests of the studied vehicle
При проведении испытаний использовалось оборудование, позволяющее измерять угол поворота рулевого колеса, продольную скорость автомобиля в ЦМ, боковые ускорения в ЦМ и центрах передней и задней осей, а также скорость рыскания автомобиля. Следует подчеркнуть, что измерения боковых ускорений в центрах осей использовались только как контрольные показатели для оценки адекватности идентификации параметров движения автомобиля и в наблюдателе никак не задействовались. При тестировании наблюдателя на его входы подавались требуемые для его работы параметры движения автомобиля, измеренные в процессе дорожных испытаний, а выходы сравнивались с контрольными измерениями.
На рис. 4, 5 и 6 в виде графиков показаны результаты идентификации параметров движения автомобиля в маневрах «переставка» на льду (скорость выполнения маневра 36 км/ч), «переставка» на укатанном снегу (46 км/ч) и «поворот» на льду (28 км/ч). Графики представлены в следующем порядке (сверху вниз):
- боковое ускорение в ЦМ, идентифицированное наблюдателем и измеренное с помощью бортового акселерометра (ИНС);
- скорость рыскания, идентифицированная наблюдателем и измеренная с помощью бортового датчика угловых скоростей;
- боковой коэффициент сцепления передней оси, идентифицированный наблюдателем и рассчитанный при помощи выражения , где – боковое ускорение, измеренное с помощью контрольного (испытательного) акселерометра;
Рис. 4. Результаты работы наблюдателя параметров курсового движения автомобиля в маневре «переставка» на льду
Fig. 4. The results of the work of the observer of the parameters of the course movement of the vehicle in the maneuver “rearrangement” on ice
- боковой коэффициент сцепления задней оси, идентифицированный наблюдателем и рассчитанный при помощи выражения , где – боковое ускорение, измеренное с помощью контрольного (испытательного) акселерометра;
- боковые коэффициенты сцепления каждого из колес автомобиля, идентифицированные наблюдателем;
- угол бокового увода в центре вращения каждого из колес автомобиля, идентифицированный наблюдателем.
Рис. 5. Результаты работы наблюдателя параметров курсового движения автомобиля в маневре «переставка» на укатанном снегу
Fig. 5. The results of the work of the observer of the parameters of the course movement of the vehicle in the maneuver “rearrangement” on the packed snow
Рис. 6. Результаты работы наблюдателя параметров курсового движения автомобиля в маневре «поворот» на льду
Fig. 6. The results of the work of the observer of the parameters of the course movement of the vehicle in the “turn” maneuver on ice
В качестве показателей адекватности наблюдателя были выбраны среднеквадратические ошибки (СКО) идентификации бокового ускорения в ЦМ, скорости рыскания и коэффициентов сцепления в центрах осей относительно измерений бортовых и контрольных датчиков. Для расчета СКО контрольные измерения были предварительно отфильтрованы при помощи скользящего среднего во избежание искажения результата шумовой составляющей. СКО, вычисленные в процентах, показаны на полях графиков с соответствующими переменными.
По графикам и рассчитанным СКО можно сделать вывод, что полученные величины , и коэффициентов бокового сцепления в центрах осей ( и ) адекватны режимам движения автомобиля, имевшим место в испытательных маневрах. Кроме показанных экспериментов, были проанализированы еще семь испытаний в аналогичных условиях движения. Средние СКО по всем смоделированным маневрам составили: 2,96 % по 9,1 % по , 9,83% по и 9,56% , идентифицированных наблюдателем и рассчитанных по контрольным измерениям, видно, что результат идентификации с помощью наблюдателя содержит намного меньшую шумовую составляющую, чем прямые измерения с помощью акселерометров. Следует подчеркнуть, что корректирующие данные, используемые наблюдателем для идентификации коэффициентов сцепления осей и колес, получаются на основе измерения бокового ускорения только в ЦМ, где установлен штатный бортовой акселерометр – ни в центрах осей, ни тем более в центрах вращения колес в серийных автомобилях акселерометры не устанавливаются. Для получения корректирующих данных боковое ускорение расчетным способом переносится из ЦМ в требуемые точки автомобиля с использованием производной скорости рыскания, что вносит в сигнал ускорения еще более существенную шумовую составляющую, чем та, что имеет место в контрольных измерениях боковых ускорений в центрах осей. Однако этот шум не проявляется в оценке коэффициентов сцепления, выполняемой наблюдателем, поскольку результат переноса ускорения используется им не напрямую, а служит в качестве опорного сигнала, к которому наблюдатель относится с определенной степенью доверия. Таким образом, можно констатировать, что наблюдатель позволяет выделить полезный сигнал коэффициента сцепления из весьма зашумленных исходных данных. Вместе с тем, в сигналах, идентифицированных на основе показаний акселерометра, сохранились низкочастотные гармонические составляющие, которые, очевидно, не являются шумом измерений, а связаны с колебаниями подрессоренной массы. Адекватный учет их воздействия на боковое сцепление путем моделирования кренов кузова является одной из задач в продолжении данной работы.
В качестве дополнительной оценки корректности идентификации углов увода и коэффициентов бокового сцепления колес соотношения этих параметров, рассчитанные наблюдателем, были аппроксимированы с помощью одной из распространенных эмпирических моделей шины, называемой Magic Formula (MF) [18]. В случае «чистого» бокового увода (без значительного продольного проскальзывания) MF описывает зависимость коэффициента сцепления от угла увода следующим образом:
где – максимальный коэффициент сцепления шины с опорной поверхностью в боковом направлении; – коэффициенты, задающие форму аппроксимирующей кривой.
В таблице 2 представлены величины коэффициентов MF, полученные при аппроксимации результатов двух маневров – на льду и на снегу, – а на рис. 7 показаны совмещения распределений идентифицированных точек с аппроксимирующими кривыми.
Анализ результатов аппроксимации показывает, что полученные величины параметров MF находятся в типичных для легковых шин диапазонах [18], а форма кривых и максимальные значения коэффициентов сцепления соответствуют экспериментальным данным, приводимым в публикациях [18, 19]. Идентифицированные точки имеют заметный разброс относительно аппроксимирующих кривых, что может быть обусловлено, как минимум, двумя факторами. Первым из них является использование шин с шипами противоскольжения, для которых, как показано в работе [19], подобный разброс является характерным, особенно на льду. В качестве второго фактора можно предположить вышеупомянутые низкочастотные колебания, связанные с отсутствием учета кренов подрессоренной массы в модели, на которой основан наблюдатель (влияние этого фактора будет исследовано в дальнейшей работе).
Таблица 2
Параметры аппроксимации характеристик бокового сцепления с помощью модели MF
Table 2. Parameters for approximating lateral grip characteristics using the MF model
Параметр модели MF | Опорная поверхность | |
Укатанный снег | Лед | |
0.42 | 0.21 | |
12 | 14 | |
1.5 | 1.5 | |
0.5 | 0.5 | |
Рис. 7. Сравнение идентифицированной характеристики бокового сцепления и ее аппроксимации с помощью модели MF: а) на льду; б) на укатанном снегу
Fig. 7. Comparison of the identified characteristic of lateral grip and its approximation using the MF model а) on ice; б) on packed snow
Выводы и дальнейшая работа
В работе предложена математическая структура-наблюдатель, предназначенная для идентификации параметров курсового движения автомобиля и основанная на сигма-точечном фильтре Калмана. Для идентификации используются прямые измерения бортовых датчиков и математическая модель движения автомобиля. Применение наблюдателя позволяет существенно уменьшить шумовую составляющую в измеряемых параметрах (боковое ускорение, скорость рыскания), а также идентифицировать неизмеряемые параметры курсового движения (углы бокового увода, коэффициенты сцепления). Корректность оценок подтверждается численными значениями СКО результатов идентификации относительно измерений, полученных в ходе дорожных испытаний автомобиля: 2,96% по 9,1% по , 9,83% по и 9,56% . Дополнительное подтверждение корректности идентификации характеристик сцепления шин получено путем оценки параметров аппроксимации этих характеристик с помощью эмпирической модели шины.
Вместе с тем следует отметить, что в вопросе управления системами активной безопасности интерес представляет не только текущий коэффициент сцепления шины с опорной поверхностью, но и превентивная оценка имеющегося запаса сцепления, который характеризуется максимальным значением коэффициента для данной поверхности. При наличии точной оценки этого запаса повышается эффективность САБ при вмешательстве в управление движением автомобиля и планировании маневров, предотвращающих аварийные ситуации, например, столкновения. Идентификация данного параметра является предметом дальнейшего развития описанного наблюдателя курсового движения автомобиля.
About the authors
A. V. Chaplygin
Central research and development automobile and engine institute NAMI
Author for correspondence.
Email: chaplyghin.94@mail.ru
Russian Federation, Moscow
I. A. Kulikov
Central research and development automobile and engine institute NAMI
Email: chaplyghin.94@mail.ru
PhD in Engineering
Russian Federation, MoscowReferences
- Winner H., Hakuli S., Lotz F. and Singer C. Handbook of Driver Assistance Systems. Basic Information, Components and Systems for Active Safety and Comfort, Berlin/Heidelberg:Springer International Publishing:, 2016.
- Liu W., He H., Sun F. Vehicle state estimation based on Minimum Model Error criterion combining with Extended Kalman Filter // J. Frankl. Inst. 2016. pp. 834–856. doi: 10.1016/j.jfranklin.2016.01.005
- Tsunashima H., Murakami M., Miyataa J. Vehicle and road state estimation using interacting multiple model approach // Veh. Syst. Dyn. 2006. 44. pp. 750–758. doi: 10.1080/00423110600885772
- Bechtloff J., Ackermann C., Isermann R. Adaptive state observers for driving dynamics – online estimation of tire parameters under real conditions. // In: Pfeffer P. (eds) 6th International Munich Chassis Symposium 2015. Pro-ceedings// Springer Vieweg, Wiesbaden. doi: 10.1007/978-3-658-09711-0_46
- Kalman R.E. A New Approach to Linear Filtering and Prediction Problems // Journal of Basic Engineering. 1960. Vol. 82. pp. 35-45.
- Drakunov S. and Utkin V. Sliding mode observers. Tutorial // Proceedings of 1995 34th IEEE Conference on Decision and Control, 1995. pp. 3376-3378. doi: 10.1109/CDC.1995.479009.
- Elfring J., E Torta., van de Molengraft R. Particle Filters: A Hands-On Tutorial //Sensors 2021. 21. pp. 438. doi: 10.3390/s21020438
- Jin X., Yin G., Chen N., Advanced estimation techniques for vehicle system dynamic state: A survey // Sensors. 2019. 19(19). doi: 10.3390/s19194289
- Nam K., Oh S., Fujimoto H., Hori Y. Estimation of sideslip and roll angles of electric vehicles using lateral tire force sensors through RLS and Kalman filter approaches // IEEE Trans. Ind. Electron. 2012. 60. pp. 988–1000.
- Anderson R., Bevly D.M. Using GPS with a model-based estimator to estimate critical vehicle states // Veh. Syst. Dyn. 2010. 48. pp. 1413–1438. doi: 10.23919/ACC.2004.1383774
- Kim J. Effect of vehicle model on the estimation of lateral vehicle dynamics. Int. J. Autom. Technol. 201. 11. pp. 331–337. doi: 10.1007/s12239-010-0041-1
- Liu W., He H., Sun F. Vehicle state estimation based on Minimum Model Error criterion combining with Extended Kalman Filter // J. Frankl. Inst. 2016. 353. pp. 834–856. doi: 10.1016/j.jfranklin.2016.01.005
- Zong C., Hu D., Zheng H. Dual extended Kalman filter for combined estimation of vehicle state and road friction // Chin. J. Mech. Eng. 2013. 26. pp. 313–324. doi: 10.3901/CJME.2013.02.313
- Antonov S., Fehn A., Kugi A. Unscented Kalman filter for vehicle state estimation // Veh. Syst. Dyn. 2011. 49. pp. 1497–1520.
- Davoodabadi I, Ramezani A.A, Mahmoodi M. K., Ahmadizadeh P. Identification of tire forces using Dual Unscented Kalman Filter algorithm // Nonlinear Dyn, 2014. 78. pp. 1907–1919.
- Kulikova M.V., Kulikov G.YU. Numerical methods for nonlinear filtering for signal processing and measurements. Vychislitel'nyye tekhnologii. 2016. No 4, pp. 64−98 (in Russ.).
- Kulikov I.A., Bakhmutov S.V., Barashkov A.A. Investigation of vehicle dynamics with active safety systems through virtual and road tests. Trudy NAMI. 2016. No 265, pp. 53−65 (in Russ.).
- Pacejka H.B., Besselink I. Tire and vehicle dynamics. Third Edition. Elsevier Ltd. 2012. P. 176-183. P. 202. P. 613-618.
- Svendenius J. Tire Modeling and Friction Estimation. Lund: Lund University. 2007. pp. 130-132.
Supplementary files










