Study of existing designs of the peristaltic principle pumps
- Authors: Grishin A.I.1, Lepeshkin A.V.1
-
Affiliations:
- Moscow Polytechnic University
- Issue: Vol 15, No 4 (2021)
- Pages: 9-17
- Section: Original Study Articles
- URL: https://journals.eco-vector.com/2074-0530/article/view/105593
- DOI: https://doi.org/10.31992/2074-0530-2021-50-4-9-17
- ID: 105593
Cite item
Full Text
Abstract
Peristaltic pumps are used in a wide variety of applications due to their tightness, ease of maintenance and accurate delivery. Nevertheless, the use of peristaltic pumps is limited by their disadvantages: short service life of the working body and uneven feed. This work provides an overview of the existing design solutions for pumps. The main advantages and disadvantages of the most common modern designs of peristaltic pumps are considered. The developed design solutions are presented. These solutions are designed to extend the service life of the elastic working body of the pump. These include a spiral hose design, where hose life is improved by reducing the number of cyclic compressions using just one roller. Another solution is to operate the pump with incomplete compression of the working element, which reduces the stress values and thereby prolongs the service life of the working element. The special shapes of protrusions in the compression area were developed in order to compensate the decrease in flow caused by the operation of the pump with incomplete compression of the working member. The paper provides an overview of solutions to reduce the uneven flow of a peristaltic pump. The simplest of these is the use of multiple parallel channels. In other designs, the elimination of flow pulsations is achieved with a pneumatic damper. There is also a constructive solution, in which a special algorithm of actuation of five squeeze elements is used for uniform supply, each of which compresses only its own section of the pump working body. Based on the analysis, it is shown that in order to eliminate the disadvantages of peristaltic pumps the various methods are used. Nevertheless, those methods need further improvement.
Full Text
Введение
Перистальтические насосы представляют собой гидравлические машины, в которых нагнетание жидкости происходит за счет деформации упругого рабочего органа тем или иным способом. Насосы перистальтического принципа действия получили очень широкое применение в области медицины, пищевой промышленности [1], транспортировке агрессивных химических соединений. Перистальтические насосы используют также в строительстве, горнодобывающей промышленности, на очистных сооружениях, для транспортировки и рециркуляции красящих веществ и др. Широкое применение гидромашин перистальтического принципа действия в вышеназванных областях обусловлено преимуществами этих насосов по сравнению с другими видами гидравлических машин. В частности, главным достоинством перистальтических насосов является герметичность. Во время работы насоса контакт перекачиваемой среды происходит только с внутренней поверхностью рабочего органа. Это исключает загрязнение рабочей жидкости продуктами износа механических частей насоса. К другим достоинствам перистальтических насосов относятся простота обслуживания и высокая точность дозирования. Перистальтические насосы, с другой стороны, имеют и существенные недостатки, к которым можно отнести неравномерность подачи и сравнительно малый срок службы упругого рабочего органа.
Целью настоящей работы является анализ существующих конструкций перистальтических насосов и посвященных им исследований, на основании результатов которого оценить направления их развития.
Совершенствование конструкций перистальтических насосов
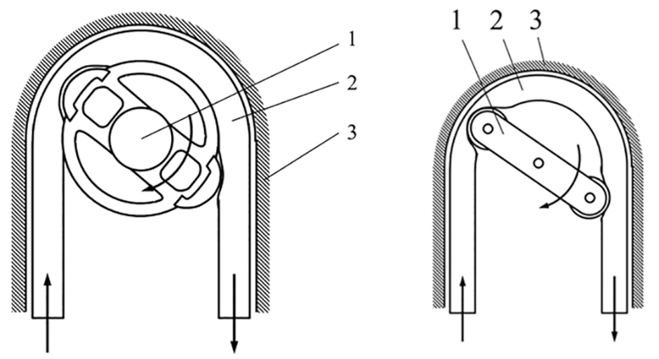
Первые перистальтические насосы [2, 3] представляли собой конструкции, показанные на рис. 1. В конструкции с линейно расположенным рабочим органом использовалась роликовая цепь, которая перемещала выжимные элементы насоса. В конструкции с расположенным по кругу шлангом использовался всего один выжимной элемент, который имеет довольно сложное строение и приводится в движение вручную.
Рис. 1. Одни из первых конструкций насоса перистальтического принципа действия: а) с линейно расположенным упругим рабочим органом; 1 – упругий рабочий орган, 2 – выжимные элементы; б) с рабочим органом, расположенным по кругу
Fig. 1. One of the first designs of a peristaltic pump: а) with a linearly located elastic working body; 1 – elastic working body, 2 – release elements; b) with a working body located in a circle
В настоящее время эти конструкции вытеснены гораздо более эффективными вариантами. Для транспортировки жидкостей и веществ с величиной подачи до 80−100 м3/ч используют конструктивные решения, показанные на рис. 2. Упругий рабочий орган в них представляет собой однородную трубку или многослойный шланг. Материалом для упругого рабочего органа служат резина, биопрен, марпрен, силикон и другие эластомеры. Упругий рабочий орган сжимается башмаками (рис. 2,а) или роликами (рис. 2,б), которых в конструкции насоса чаще всего два (реже – 3 или 4).
Рис. 2. Наиболее распространенные в настоящее время конструкции перистальтических насосов: а) с башмаками в качестве выжимных элементов; б) с роликами в качестве выжимных элементов; 1 – ротор с выжимными элементами; 2 – упругий рабочий орган; 3 – корпус
Fig. 2. The most common peristaltic pump designs today: а) with specific devices as release elements; b) with rollers as release elements; 1 – rotor with release elements; 2 – elastic working body; 3 – case
Следует заметить, что конструкция с роликами (рис. 2,б) практически полностью вытеснила конструкцию насоса с башмаками (рис. 1,а) по причине гораздо большей экономичности. Дело в том, что в конструкции с башмаками имеет место существенное трение выжимных элементов о поверхность упругого рабочего органа, вследствие чего используемый шланг сравнительно быстро изнашивается. Замена шланга вызывает не только простой оборудования, но и необходимость замены используемой смазки (например, глицерина). Из-за большего трения конструкция насоса с башмаками обычно требует и большего объема залитой в корпус насоса смазки. В совокупности обслуживание насоса с башмаками обходится в 2,5 раза дороже, чем аналогичного насоса с роликами [4]. Насосы с башмаками применяют только в тех областях, где необходимо создавать большие значения давления, максимальная величина давления для насоса с башмаками приблизительно на 0,4 МПа больше, чем у аналогичного насоса с роликами. Коэффициент полезного действия таких насосов достигает 0,45 [5], кроме того, для них существуют законченные методики расчета.
В областях, где требуются значительно меньшие подачи (до 2 мл/мин) применяются конструкции насосов с роликами и трубкой, расположенной по кругу, или конструкции с линейно расположенной трубкой. В последнем случае используются пьезоэлектрические кристаллы или другие толкатели, сжимающие трубку путем возвратно-поступательных движений. Иногда вместо трубки используют мембранную конструкцию насоса с несколькими камерами. Такие миниатюрные перистальтические насосы предназначены в первую очередь для дозирования перекачиваемых веществ.
Повышение долговечности упругого рабочего органа
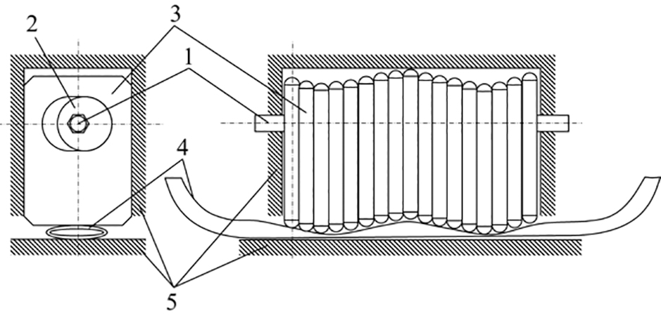
Так как частая замена упругого рабочего органа является причиной больших затрат и нередко препятствует внедрению таких насосов в производство, многие исследования, посвященные перистальтическим насосам, направлены именно на повышение срока службы упругого рабочего органа – шланга или трубки. В работе [5] представлена конструкция насоса со спирально расположенным шлангом и одним выжимным элементом (рис. 3). За счет того, что шланг насоса во время его работы сжимается только одним выжимным элементом, шланг подвергается вдвое меньшему числу циклических деформаций по сравнению с обычной конструкцией с двумя роликами. Кроме того, автор работы [5] предлагает также режим с неполным сжатием упругого рабочего органа, что приводит к меньшим величинам напряжений и повышению срока службы шланга, но влечет за собой уменьшение создаваемых величин подачи и давления. Конструкция, показанная на рис. 3, имеет также существенный недостаток – неправильная намотка шланга может привести к его повреждению во время эксплуатации. Учитывая также, что шланг должен быть вставлен через специальные пазы, можно утверждать, что его замена потребует больших затрат времени, чем в ранее рассмотренных наиболее распространенных конструкциях перистальтических насосов.
Рис. 3. Спиральное расположение упругого рабочего органа в перистальтическом насосе: 1 – упругий рабочий орган; 2 – барабан; 3 – пазы для упругого рабочего органа; 4 – вал; 5 – рычаги; 6 – ролик
Fig. 3. Spiral arrangement of an elastic working body in a peristaltic pump: 1 – elastic working body; 2 – drum; 3 – grooves for an elastic working body; 4 – shaft; 5 – levers; 6 – roller
Для уменьшения трения, которое возникает во время контакта выжимных элементов с поверхностью упругого рабочего органа вместо роликов могут быть использованы толкатели, которые приводятся в движение либо посредством кривошип-шатунного механизма, либо посредством эксцентриков. Упругий рабочий орган насоса в этом случае располагается не по кругу, а линейно. Пример такой конструкции перистальтического насоса показан на рис. 4.
Рис. 4. Перистальтический насос с линейно расположенным упругим рабочим органом и толкателями: 1 – вал; 2 – эксцентрики; 3 – толкатели; 4 – упругий рабочий орган (трубка); 5 – корпус
Fig. 4. Peristaltic pump with linear resilient working body and pushers: 1 – shaft; 2 – eccentrics; 3 – pushers; 4 – elastic working body (tube); 5 – case
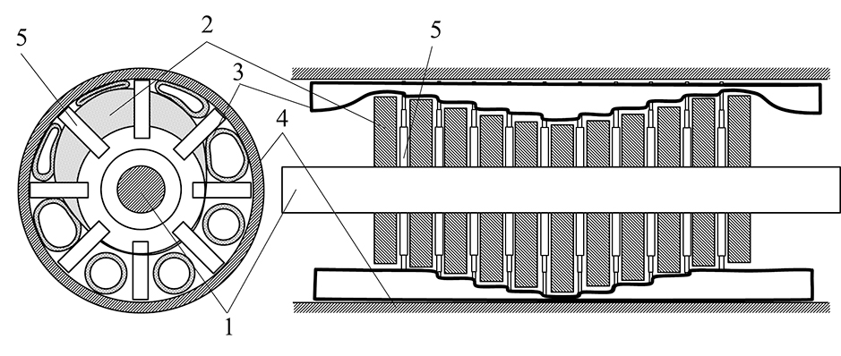
Авторы работы [6] разработали новую конструкцию предназначенного для перекачки жидкого цемента перистальтического насоса. Конструкция включает в себя два выжимных элемента, каждый из которых состоит из трех роликов – центрального, сжимающего шланг до конца, и двух боковых роликов, сжимающих шланг частично. По оценке, проведенной авторами в работе [6], благодаря такой конструкции срок службы шланга увеличивается на 25 % по сравнению с аналогичными конструкциями перистальтических насосов, используемых для перекачки жидкого цемента в области строительства.
Существуют также разработки особых плоско симметричных форм упругого рабочего органа, которые, предположительно, позволяют уменьшить величины возникающих напряжений при полном сжатии и, таким образом, продлить срок службы рабочего органа [7, 8]. При этом во время установки или замены упругого рабочего органа возникает необходимость его точного позиционирования.
Автором работы [9] проведены исследования по повышению эффективности эксплуатации перистальтического насоса с линейно расположенным упругим рабочим органом и установлено, что использование выступов специальной формы в области сжатия в совокупности с неполным сжатием рабочего органа может увеличить полезную мощность вдвое. Эффект достигается благодаря тому, что выступы в области сжатия рабочего органа первым выжимным элементом уменьшают площадь поперечного сечения и тем самым увеличивают нагнетаемый к выходному патрубку объем жидкости во время срабатывания двух других выжимных элементов. Кроме того, сравнивая напряжения (рис. 5), возникающие при полном сжатии с напряжениями при неполном сжатии из работы [9], а также используя оценку долговечности эластомеров из работы [10], получаем, что неполное сжатие продлевает срок службы упругого рабочего органа в 1,69…2,85 раз (в зависимости от используемого эластомера).
Рис. 5. Сравнение величины возникающих напряжений в зависимости от степени сжатия упругого рабочего органа
Fig. 5. Comparison of the magnitude of the arising stresses depending on the compression ratio of the elastic working body
Неравномерность подачи перистальтического насоса
Так же, как и другие виды объемных гидравлических машин, насос перистальтического принципа действия создает неравномерную пульсационную подачу (рис. 6). Этот недостаток препятствует применению перистальтических насосов в тех областях, где требуется не только стерильность, но и постоянство подачи либо ее изменение по некоторому заданному закону. В перистальтических насосах с упругим рабочим органом, расположенным по кругу, неравномерность подачи зависит от количества выжимных элементов [5] – чем их больше, тем более неравномерной получается подача насоса. Неравномерность вызвана промежутками времени, когда ролики входят в контакт с упругим рабочим органом и когда, наоборот, перестают его сжимать.
Рис. 6. Теоретическая пульсационная подача перистальтического насоса: а) насос с одним роликом, б) насос с двумя роликами
Fig. 6. Theoretical pulsation flow of peristaltic pump: a) pump with one roller, b) pump with two rollers
Исследования, посвященные миниатюрным перистальтическим насосам, показывают также, что могут иметь место существенные колебания скорости и давления на протяжении всего времени цикла работы насоса. Например, в работе [11] был получен график зависимости подачи миниатюрного перистальтического насоса от времени, показанный на рис. 7. Автором работы [12] при помощи численного моделирования получен график пульсации скорости (рис. 8) в выходном патрубке перистальтического насоса с линейно расположенным упругим рабочим органом, перекачивающим жидкость с вязкостью 20…40 мПа·с.
Рис. 7. Неравномерная подача миниатюрного перистальтического насоса
Fig. 7. Uneven flow of miniature peristaltic pump
Рис. 8. Пульсации скорости в миниатюрном перистальтическом насосе с линейным расположением упругого рабочего органа при высоких частотах срабатывания выжимных элементов: 1 – µ=20 мПа·с; 2 – µ=30 мПа·с; 3 – µ=40 мПа·с
Fig. 8. Velocity pulsations in a miniature peristaltic pump with a linear arrangement of an elastic working body at high operating frequencies of the release elements: 1 – µ=20 mPa·s; 2 – µ=30 mPa·s; 3 – µ=40 mPa·s
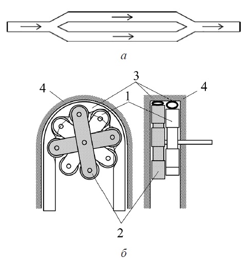
Одним из решений, позволяющих сделать подачу более равномерной, является применение в насосе нескольких параллельных каналов [13, 14], которые пережимаются выжимными элементами с определенной задержкой (рис. 9, 10), обусловленной строением привода насоса.
Рис. 9. Перистальтический насос с двумя параллельными каналами, расположенными по кругу: 1 – крестовина, 2 — ролики, 3 – упругие трубки, 4 – корпус
Fig. 9. Peristaltic pump with two parallel channels arranged in a circle: 1 – crosspiece; 2 – rollers; 3 – elastic tubes, 4 – body
Рис. 10. Перистальтический насос с несколькими параллельными каналами, расположенными линейно: 1 – вращающийся вал, 2 – эксцентрики, 3 – упругие трубки, 4 – корпус, 5 – перегородки
Fig. 10. Peristaltic pump with several parallel channels arranged in a linear manner: 1 – rotating shaft; 2 – eccentrics; 3 – elastic tubes; 4 – body; 5 – partitions
Суммарная подача от двух работающих каналов, функционирующих по предложенной в работе [15] конструкции перистальтического насоса, показана на рис. 11. Применение двух параллельных каналов вместо одного, таким образом, существенно снижает амплитуду пульсаций подачи, но не устраняет их полностью.
Рис. 11. Подача в каждом отдельном канале и суммарная подача перистальтического насоса с двумя параллельными каналами
Fig. 11. Flow in each individual channel and total flow of a peristaltic pump with two parallel channels
На самом деле достаточно часто несколько параллельных каналов используются не для выравнивания подачи, а для одновременной перекачки веществ по нескольким изолированным каналам [16]. Например, при одновременной дозировке компонентов медицинских препаратов из одного большого резервуара в несколько (до 24) маленьких сосудов (пробирок, баночек и т.д.). В таких насосах несколько трубок одновременно сжимаются при помощи устройства, напоминающего беличье колесо с четырьмя роликами-трубочками.
Выравнивание подачи в перистальтическом насосе может достигаться и другими способами. В работе [17] совершена попытка при помощи пневматического демпфера пульсаций выровнять подачу перистальтического насоса так, чтобы она имитировала биение сердца. Несмотря на то, что эта цель так и не была достигнута, применение пневматического демпфера пульсаций позволило существенно уменьшить неравномерность подачи.
В работе [18] авторы добились снижения пульсаций миниатюрного перистальтического насоса за счет применения пяти рабочих камер, которые сжимаются и отпускаются выжимными элементами в строго определенном порядке. Это позволило при величине подачи насоса 55 г/мин снизить пульсации до ± 6 г/мин, то есть до 11%. Такая конструкция, с другой стороны, является более сложной по сравнению с другими конструкциями перистальтических насосов, в которых число сжимаемых участков (или камер) обычно всего три, как, например, представлено в работах [19−20]. Кроме того, особый алгоритм срабатывания выжимных элементов требует использования точной системы управления.
Заключение
Таким образом, перистальтические насосы являются гидромашинами, конструкции которых продолжают совершенствоваться в соответствии с требованиями областей их применения, и по мере разработки новых конструкций сфера использования этих насосов, вне всяких сомнений, будет продолжать расширяться, охватывая все больше направлений в различных областях человеческой деятельности.
Обзор существующих конструктивных решений и исследований, посвященных насосам перистальтического принципа действия, показал, что для устранения таких недостатков этих насосов, как малый срок службы рабочего органа и неравномерность подачи, применяются принципиально различные подходы. При этом применяемые конструктивные решения зависят от назначения насоса, области его применения и свойств перекачиваемой жидкости.
Разработки, направленные на устранение неравномерности подачи, не являются совершенными и требуют дальнейших улучшений конструкции насоса. В частности, при применении нескольких параллельных каналов в рассмотренных работах используется только четное число каналов и остается неясным, будет ли использование нечетного числа каналов иметь преимущества, подобно использованию нечетного числа гидроцилиндров в возвратно-поступательных насосах.
Следует также заметить, что в опубликованных работах исследователи делают больший упор на повышение надежности перистальтических насосов и получения нужной или более равномерной подачи и существенно меньшее внимание уделяют анализу влияния параметров насоса на его энергетическую эффективность. Данное обстоятельство является существенным недостатком подобных исследований, так как не дает рекомендаций, позволяющих на этапе проектирования насоса отслеживать возможные изменения его коэффициента полезного действия.
На основе выявленных в проведенном обзоре недостатков современных конструкций перистальтических насосов и посвященных этим насосам исследований может быть сформулирована цель диссертационного научного исследования, заключающаяся в разработке методики проектирования перистальтического насоса с линейно расположенной трубкой и с пластинами-толкателями, используемыми в качестве выжимных элементов. Эта методика должна позволять рассчитывать основные геометрические параметры насоса в соответствии с требуемыми значениями подачи насоса и создаваемым им давлением, а также отслеживать возможные изменения его коэффициента полезного действия.
Для достижения указанной цели планируется решение следующих задач:
- разработка математических моделей течения жидкости для перистальтического насоса с линейным расположением упругого рабочего органа с использованием численного моделирования в среде, например, Star-CCM+, а также на основе с использованием квазистационарной модели и на основе уравнения Бернулли;
- создание экспериментальной установки, позволяющей оценить адекватность указанных математических моделей;
- изучение влияния материала упругого рабочего органа насоса, алгоритмов срабатывания выжимных элементов, а также формы и качества внутренней поверхности трубки (рабочего органа).
Решение этих задач с нашей точки зрения, безусловно, является актуальным на современном этапе развития этого типа гидромашин.
About the authors
A. I. Grishin
Moscow Polytechnic University
Author for correspondence.
Email: foxmccloud@rambler.ru
Russian Federation, Moscow
A. V. Lepeshkin
Moscow Polytechnic University
Email: foxmccloud@rambler.ru
PhD in Engineering
Russian Federation, MoscowReferences
- Treutel C. Peristaltic pumps in the food industry. Pumps & Systems. –Birmingham, USA: Cahaba Media Group, July 2007. P. 28−31.
- Allen E.E. Instrument for transfusion of blood. Patent US No 249285, 08.11.1881.
- Porter R., Bradley J.D. Rotary Pump. Patent US No 12753, 17.04.1855
- Loudin T. The evolution of peristaltic pump. Pump engineer. – Zutphen, Netherlands: KCI Publishing, Sep-tember 2007. P. 44−47.
- Mikheyev A.YU. Issledovaniye kharakteristiki i povysheniye nadezhnosti nasosov peristal'ticheskogo printsipa deystviya: dis. … kand. tekhn. nauk [Investigation of the characteristics and increasing the relia-bility of pumps of the peristaltic principle of operation: Dissertation for Degree of PhD in Engineering]. Ufa, 2004. 168 p.
- Kondrashchenko V.I., Emelianova I.A., Chaika D.O. Features of the Use of a Universal Hose Concrete Pump in the Construction Site // OP Conf. Series: Earth and Environmental Science vol. 272 issue 3 32107. IOP Publishing, 2019, 6 p. doi: 10.1088/1755-1315/272/3/032107
- Poryadkov L.F. Rabochaya trubka dlya peristal'ticheskogo nasosa [Operating tube for peristaltic pump]. Patent na izobreteniye No 309294, Rossiyskaya Federatsiya. Opublikovano 27.10.2007. Byul. No 30.
- Tarasov YU. D. Peristal'ticheskiy nasos [Peristaltic pump]. Patent na izobreteniye No 2290536, Rossiyskaya Federatsiya. Opublikovano 27.12.2006. Byul. No 36.
- Grishin A.I. Influence of the cross-sectional shape and length of the compressible sections on the charac-teristics of a linear peristaltic pump. Izvestiya MGTU «MAMI». 2021. No 2(48), pp. 9−17 (in Russ.). doi: 10.31992/2074-0530-2021-48-2-9-17
- Kopchenkov V.G. Treniye i iznashivaniye elastomerov v usloviyakh kontaktno-dinamicheskogo nagru-zheniya: dis. … dokt. tekhn. nauk [Friction and wear of elastomers under dynamic contact loading: Disser-tation for Degree of DrSc in Engineering]. Stavropol', 2004. 424 p.
- Skafte-Pedersen P., Hemmingsen M., Blaga F.S., Bruus H., Dufva M. A self-contained, programmable mi-crofluidic cell culture system with real-time microscopy access // Biomed Microdevices. Springer Science, Business Media. 2011. P. 385−399. doi: 10.1007/s10544-011-9615-6
- Grishin A.I. Method for calculating the characteristics of a linear peristaltic pump with incomplete com-pression of the working body. Izvestiya MGTU «MAMI». 2018. No 3, pp. 21–31 (in Russ.).
- Aznabayev B.M., Barakov V.N., Ramazanov V.N., Mukhamadeyev T.R., Bikchurayev D.R., Dibayev T.I. As-piratsionnyy nasos dlya oftal'mokhirurgicheskikh system [Ophthalmic surgery suction pump]. Patent RF 2434608 C1; opubl. 27.11.2011. Byul. No 33.
- Shlegel' I.F. Peristal'ticheskiy nasos [Peristaltic pump]. Patent RF No 2282056 S2; opubl. 20.08.2006. Byul. No 23.
- Daniel Minarik D., Beck J.E. Peristaltic pump having means for reducing flow pulsation. Patent US No 5257917, 02.11.1993.
- Jönsson A., Toppi A., Dufva M. The FAST Pump, a low-cost, easy to fabricate, SLA-3D-printed peristaltic pump for multi-channel systems in any lab // HardwareX. Elsevier. 2020, 45 p. doi: 10.1016/j.ohx.2020.e00115
- Liermann M. Active Pneumatic Pulsation Damper for Peristaltic Pump Flow Loops // Proceedings of the 2016 Bath/ASME Symposium on Fluid Power and Motion Control, FPMC2016, Bath, England. 20 16, 9 p.
- Hoffmeier K.L., Hoffman D., Feller K.-H. A First Inherently Pulsation Free Peristaltic Pump // 58th Ilmenau scientific colloquium, Technische Universität Ilmenau, 08 – 12 September 2014. 11 p.
- Lin Q., Yang B., Xie J., Tai Y. Dynamic simulation of a peristaltic micropump considering coupled fluid flow and structural motion // Journal of micromechanics and microengineering. – UK, Institute of physics pub-lishing: IOP Publishing Ltd, 2006. No 17. P. 220−228.
- Trencle F., Haeberle S., Zengerle R. Normally-closed peristaltic micropump with reusable actuator and dis-posable fluidic chip // Sensors and Actuators B: Chemical. – Elsevier Science, 2011. 154 P. 137−141. doi: 10.1016/j.snb.2009.12.069
Supplementary files














