Results of experimental studies of an agricultural tractor with an elastic-damping mechanism in a power train
- Authors: Sen'kevich S.E.1
-
Affiliations:
- Federal Scientific Agroengineering Center VIM
- Issue: Vol 15, No 4 (2021)
- Pages: 49-59
- Section: Original Study Articles
- URL: https://journals.eco-vector.com/2074-0530/article/view/105609
- DOI: https://doi.org/10.31992/2074-0530-2021-50-4-49-59
- ID: 105609
Cite item
Full Text
Abstract
Improving the operational efficiency of agricultural tractors is one of the main factors that helps to increase productivity while significantly reducing energy costs. The developments that are associated with improving the design of power transmissions for wheeled agricultural tractors are very important, because its indispensable condition is to increase labor productivity in agricultural production. Achievement of the required characteristics of agricultural tractors is determined by the properties of the power train and the interaction of associated systems. One of the main qualities of a power train should be the ability to absorb torsional vibrations and damp the load.
The article presents studies of the constructive improvement of the power transmission of an agricultural tractor by installing a developed elastic-damping mechanism using the example of a tractor of a small traction class. Considering the relevance of the topic, the article solved the problem of determining the influence of the elastic-damping mechanism installed in the power transmission of the tractor on its operation with the cultivator.
The paper analyzed the cross-correlation function and the mutual spectral density of two processes: the angular speed of rotation of the crankshaft of the engine and the angular speed of rotation of the drive wheel, which showed a change in the speed of propagation of passing frequencies of load oscillations along the shafting and displacement of the frequency of disturbing influences.
Full Text
Введение
Повышение эксплуатационной эффективности является одним из основных факторов, способствующих увеличению производительности при существенном уменьшении непроизводительных энергозатрат. Среди энергосберегающих технологий немаловажное значение имеют разработки, которые связаны с улучшением конструкции силовых передач колесных сельскохозяйственных тракторов. Для таких тракторов непременным условием является повышение производительности труда в сельскохозяйственном производстве. Решение этой проблемы встречает ряд трудностей, связанных с неустановившимися процессами при движении. Достижение требуемых характеристик тракторов определяется свойствами силовой передачи, а также взаимодействием связанных с ней систем, к которой относится главная передача и ходовая часть. Для любой из рассмотренных систем колесного движителя мобильной машины силовая передача имеет первостепенное значение для достижения необходимых качеств системы. Кроме того, свойства сельскохозяйственного трактора как системы имеют решающее значение для создания необходимых тяговых характеристик, плавности хода и уплотняющего воздействия на почву, особенно при агрегатировании с сельскохозяйственной техникой, а также характеристик траектории их движения. В целом требования к самому трактору настолько разнообразны, что удовлетворить их можно только на основе набора качеств, которые определяет потребитель. Одно из главных качеств — это способность силовой передачи поглощать крутильные колебания и демпфировать нагрузку. Причем демпфирование должно быть в нужном направлении и таким, чтобы соответствующие показатели эксплуатационных качеств получились наилучшими.
Применение различных демпферов улучшает работу сельскохозяйственных тракторов. Доказательство этого было приверено в статье [1], где при помощи методов математического моделирования и анализа доказывалось облегчение трогания составного транспортного средства при наличии упруго-деформируемых сцепок. Этот эффект обусловливается заменой одновременного трогания секций на поочередное. Эффективное взаимодействие ходовой части машины с поверхностью земли также помогают увеличить производительность и снизить потребление топлива [2]. Не только приведенные исследования, но и многие другие работы доказывают актуальность исследований в области применения упругих элементов для снижения вибронагруженности тракторов и мобильных машин, и элементов их силовых передач. Эти вопросы, исследуемые по всему миру, позволяют значительно улучшать параметры силовой передачи трактора.
Устройство, работа и преимущества упруго-демпфирующего механизма (УДМ) были подробно представлены в работах [3−5]. Продолжение исследований по изучению влияния такого механизма на работу силовой передачи представлено в работах [6−8]. В работе [9, 10] было доказано, что использование УДМ позволило повысить производительность трактора более чем на 10%, это снизило колебания внешней нагрузки на двигатель на 15...20% и расход топлива на 9%. В работах [11, 12] обосновано, что УДМ в силовой передаче трактора устраняет резонансные режимы работы в зоне реальных колебаний внешней нагрузки.
Настоящая статья является продолжением исследования влияния УДМ в силовой передаче трактора малого класса тяги (14 кН) на различные его показатели. С опорой на результаты экспериментальных измерений были проведены анализ взаимной корреляционной функции и анализ взаимной спектральной плотности двух процессов (угловой скорости вращения коленчатого вала двигателя и ведущего колеса). Они показывают изменение скорости проходящих частот нагрузки по валопроводу силовой передачи колесного трактора тягового класса 1,4, в силовую передачу которого установлен УДМ. Исследования были проведены для условий работы трактора с культиватором. Экспериментальные данные, которые использовались при проведении расчетно-теоретических исследований по определению спектральных характеристик элементов УДМ в силовой передаче, были получены автором и описаны в работах [4, 6, 9, 12]. Устройство УДМ защищено патентом на изобретение, a подробное описание приведено в работе [13]. На основе вышеизложенного в статье представлены исследования конструктивного улучшения силовой передачи трактора путем установки в его силовую передачу разработанного УДМ. Предложенное и испытанное устройство применимо не только для тракторов малого класса тяги [3, 12, 14]. Для проведения наших исследований процесса функционирования трактора был выбран универсально-пропашной трактор тягового класса 1,4 Минского тракторного завода. Серийный трактор этого завода является самым распространенным трактором в нашей стране и может работать в агрегате с прицепными, навесными и полунавесными орудиями, также осуществлять погрузочные, разгрузочные, транспортные и другие виды работ, включая комплексную механизацию пропашных и овощных культур от возделывания до уборки.
Целью данных исследований было определение влияния УДМ, установленного в силовую передачу трактора, на его работу с культиватором. С учетом поставленной цели и актуальности затронутой темы задачей исследований было определение влияния УДМ, установленного в силовую передачу трактора, на его работу с культиватором, опираясь на проведенные натурные измерения с помощью метода корреляционно-спектрального анализа.
Материалы и методы
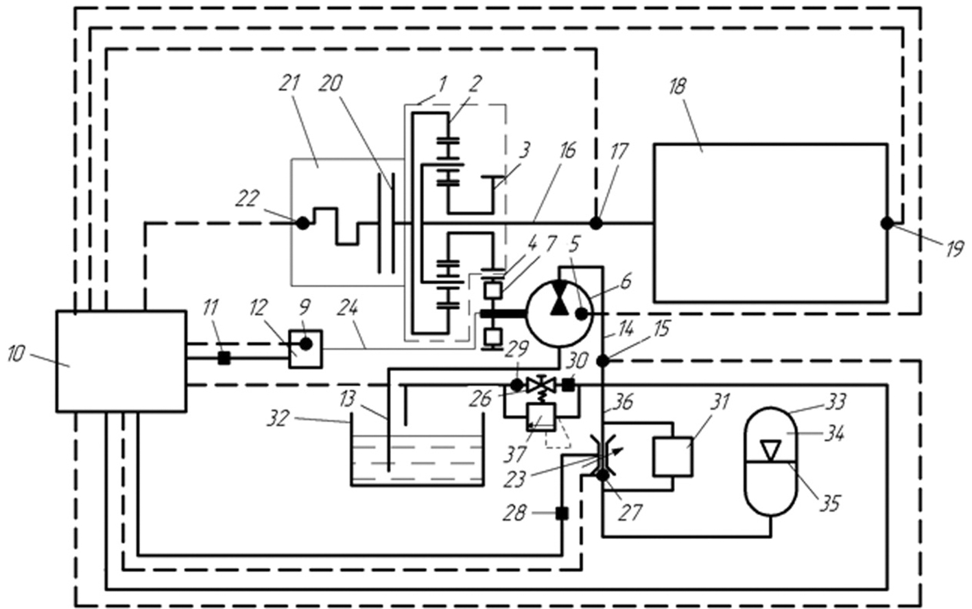
Разработанный нами УДМ служит для снижения динамической нагруженности силовой передачи. Его принципиальная схема представлена на рис. 1. Конструкция механизма защищена патентами на изобретение, а подробное устройство и работа описаны в работe [13].
На рис. 1 обозначены: 1 – планетарный редуктор; 2 – коронная шестерня; 3 – реактивное звено (солнечная шестерня); 4 – шестерня привода масляного насоса; 5 – датчик частоты вращения шестерни; 6 – масляный насос; 7 – устройство для изменения момента инерции; 8 – пружина (на рисунке не показано); 9 – датчик положения; 10 – контроллер; 11 – исполнительный элемент управления; 12 – регулятор положения; 13 – всасывающий канал (магистраль); 14 – нагнетательный канал (напорная магистраль); 15 – датчик давления масляного насоса; 16 – вал водила (первичный вал коробки передач); 17 – датчик частоты вращения первичного вала; 18 – коробка передач и вся силовая передача; 19 – датчик частоты вращения; 20 – муфта сцепления; 21 – двигатель; 22 – датчик частоты вращения двигателя; 23 – двухступенчатый регулируемый дроссель; 24 – маслопровод; 25 – предохранительный клапан; 26 – кран управления; 27 – датчик положения дросселя; 28 – исполнительный элемент управления дросселем; 29 – датчик положения крана; 30 – исполнительный элемент управления краном; 31 – демпферный клапан; 32 – гидробак; 33 – пневмогидроаккумулятор; 34 – гидроцилиндр (полость сжатого воздуха); 35 – подвижный поршень (свободный поршень); 36 – вход в дроссель; 37 – предохранительный клапан.
Рис. 1. Схема УДМ в силовой передаче трактора тягового класса 1,4 [13]
Fig. 1. Elastic damping mechanism scheme in the power transmission of a tractor of traction class 1.4 [13]
УДМ также предназначен для плавного трогания трактора при разгоне, для выполнения защитных функций от колебаний внешней нагрузки за счет демпфирующих свойств и автоматического изменения передаточного числа привода механизма.
УДМ состоит из следующих узлов и систем:
- планетарного редуктора;
- привода масляного насоса, коробки перемены передач, гидравлической системы и системы управления;
- масляных магистралей и устройств с системой дозировки, и предохранения;
- пневмогидроаккумулятора.
Коронная шестерня 2 планетарного редуктора 1 соединена с маховиком двигателя и передает крутящий момент на вал 11 привода коробки передач и на сателлиты, связанные с водилом и солнечной шестерней 3. Водило имеет жесткую связь с ведущим валом коробки перемены передач. Центральная шестерня 3 редуктора через привод 4 приводит во вращение податливое звено УДМ – гидронасос 5. Насос имеют всасывающий и нагнетательный каналы. Нагнетательный канал соединяет гидронасос с масляной полостью пневмогидроаккумулятора 22. Вторая полость пневмогидроаккумулятора, отделенная от первой поршнем с уплотнениями, заправлена сжатым воздухом. Заправка осуществляется через воздушный кран. Закон подачи масла в пневмогидроаккумулятор может изменяться регулируемым дросселем 15. Максимальное давление в нагнетательной полости насоса ограничивается предохранительным клапаном 17. Сброс масла при срабатывании клапана 17 и при открытом положении крана 18 осуществляется в бак 20.
В настоящей статье приводятся продолжение исследований, начало которых опубликовано в работе [6].
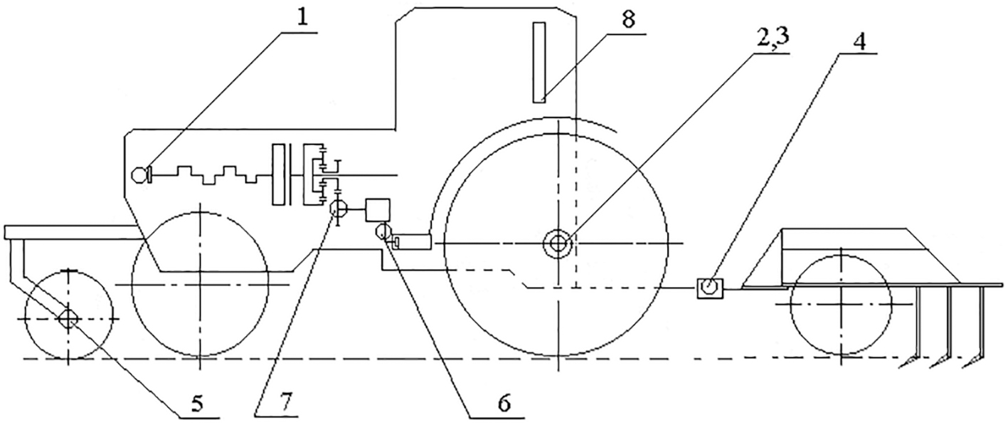
Объектом исследования является процесс функционирования трактора тягового класса 1,4, в силовую передачу которого установлен УДМ. Трактор находится в агрегате с культиватором. Трактор-макет, созданный на базе МТЗ-80, оснащен УДМ. Механизм выполнен с возможностью отключения (блокировки) для проведения сравнительных измерений. В собранном виде на тракторе элементы механизма представлены на рис. 2. На рисунке показано расположение пневмогидроаккумулятора, дросселя, предохранительного клапана и масляного насоса на раме трактора.
Рис. 2. Общий вид компоновки элементов УДМ на тракторе: 1 – пневмогидроаккумулятор; 2 – дроссель; 3 – блок предохранительных клапанов; 4 – масляный насос; 5 – манометр
Fig. 2. General view of the layout of the elastic damping mechanism elements on the tractor: 1 – pneumatic hydroaccumulator; 2 – throttle body; 3 – block of safety valves; 4 – oil pump; 5 – manometer
При подготовке трактора были проведены техническое обслуживание и регулировка основных его узлов и агрегатов. Перечень операций соответствовал техническому уходу № 2.
Для исследования динамических процессов и определения энергетических параметров работы трактора, который находился в агрегате с культиватором, применялась система автоматического накопления и обработки метрологической информации мобильного исполнения. Схема этой системы представлена на рис. 3. Все записывающее оборудование было установлено в кабине передвижной лаборатории на базе полноприводного автомобиля. Система включает в себя комплексы аппаратных и программных средств. Она состоит из бортового компьютера, платы аналого-цифрового преобразования, платы сопряжений, блок полного инструментального усилителя сигнала.
Все элементы системы смонтированы внутри передвижной лаборатории. Комплект первичных преобразователей (датчиков) установлен на исследуемом тракторе. Комплект датчиков системы, установленных на исследуемый трактор, позволяет измерять мгновенные значения следующих параметров:
Ркр – тяговое сопротивление на крюке трактора;
Мкр – крутящий момент на оси ведущего колеса трактора;
nген – частота вращения вала генератора трактора;
nшпмн – частота вращения шестерни привода масляного насоса УДМ;
Рмасл – давление масла в масляной магистрали (до дросселя) УДМ;
nкол – импульсы оборотов путеизмерительного колеса трактора;
Nкол – импульсы оборотов ведущего колеса трактора;
Gт – расход топлива.
Рис. 3. Система автоматического накопления и обработки информации (САНиОМИ)
Fig. 3. System of automatic accumulation and processing of information
Предварительно была проведена калибровка и настройка всех датчиков. После обработки калибровочной информации строились графики. Были получены уравнения аппроксимации полученных графиков, которые являются ключом при переводе кодированного сигнала в натуральные физические величины.
Методика проведения исследований [14, 15] трактора в составе с культиватором позволила изучить влияние параметров УДМ на показатели работы трактора при работе с культиватором.
Для получения одинаковых показателей при сравнительных испытаниях и снижения влияния таких параметров как КПД силовой передачи и КПД перекатывания колес, сопротивление самопередвижению трактора, контрольные опыты проводились на одном поле в течение рабочего дня [16]. Это поле учебно-опытного фермерского хозяйства на территории учебного хозяйства Азово-Черноморского инженерного института – филиала Донского государственного аграрного университета.
Общий вид испытываемого трактора-макета в агрегате с прицепным культиватором КПС-4 и измерительным комплексом лаборатории ТЛ-2 на базе автомобиля ГАЗ-66 представлен на рис. 4.
В качестве базы для сравнения при проведении опытов использовался тот же самый трактор, но с заблокированным УДМ. Управление трактором в обоих вариантах осуществлялось одним и тем же трактористом первого класса. Схема расположения датчиков на исследуемом тракторе показана на рис. 5. Лапы культиватора были установлены на глубину 10…12 см. Время опыта и пройденный путь фиксировались при помощи САНиОМИ. Обработка результатов эксперимента осуществлялась на персональном компьютере с использованием пакета программ [17]. Измерительное оборудование позволило получить числовые временные ряды, на основе которых получены вероятностные характеристики процесса работы [17, 18].
Рис. 4. Общий вид испытываемого трактора-макета в агрегате с прицепным культиватором и измерительным комплексом лаборатории ТЛ-2 на базе автомобиля ГАЗ-66
Fig. 4. General view of the tested tractor in a unit with a trailed cultivator and a measuring complex of the TL-2 laboratory based on the GAZ-66 automobile
Рис. 5. Схема установки датчиков на исследуемом тракторе при работе с культиватором: 1 – датчик оборотов коленвала двигателя; 2, 5 – датчики оборотов ведущего и путеизмерительного колес соответственно; 3 – датчик крутящего момента ведущего колеса трактора; 4 – тензометрический датчик тягового усилия; 6 – датчик давления масла; 7– датчик оборотов шестерни привода масляного насоса; 8 – счетчик для фиксирования расхода топлива
Fig. 5. Installation diagram of sensors on the investigated tractor when working with a cultivator: 1 – engine crankshaft speed sensor; 2, 5 – sensors of revolutions of the driving and track measuring wheels, respectively; 3 – torque sensor of the driving wheel of the tractor; 4 – tensometric traction force sensor; 6 – oil pressure sensor; 7– sensor of revolutions of the oil pump drive gear; 8 – counter for recording fuel consumption
Применяя классические методы анализа временных рядов, был проведен корреляционно – спектральный анализ, методика которого описана в работах [15, 18−23]. Этот анализ позволяет оценить частотные составляющие при применении УДМ в силовой передаче трактора тягового класса 1,4 [24−27].
Для оценки сходства и различия двух процессов используют функцию взаимной корреляции. С помощью этой функции можно измерить запаздывание во времени двух процессов. В нашем случае необходимо измерить скорость прохождения сигнала от датчика частоты вращения коленчатого вала двигателя (ДЧВКВД) до датчика оборотов ведущего колеса трактора (ДОВК). Изменения сигнала являются случайными, однако не верно считать, что они не связаны между собой. Колебания нагрузки, проходящие по валопроводу, будут проходить через оба датчика. Таким образом, на одном из датчиков должен появиться сигнал, очень похожий на сигнал, наблюдаемый на другом датчике (либо на ДЧВКВД, либо на ДОВК). Иначе говоря, имеется связь между двумя сигналами. Если вычислить функцию взаимной корреляции этих двух сигналов, то можно узнать величину временного запаздывания между сигналами. После чего легко определить скорость прохождения колебаний нагрузки по валопроводу. Корреляция между сигналами от датчиков при запаздывании на время принимает максимальное значение. Отношение расстояния между датчиками к временному запаздыванию определяет скорость прохождения колебаний.
, (1)
где – скорость распространения колебаний (сигнала) по валопроводу, м/с; D1-2 – расстояние между датчиками-преобразователями сигнала, м; t0 – временное запаздывание сигнала, сек.
Результаты и обсуждения
После обработки полученных сигналов от системы сбора информации нами определена взаимная корреляционная функция двух случайных процессов. Определение взаимной корреляционной функции двух случайных процессов, таких как угловая скорость вращения коленчатого вала двигателя и угловая скорость вращения ведущего колеса, позволит оценить параметры, в том числе свойства суммы и разности. На рис. 6 представлены совмещенные графики изменения взаимной корреляционной функции угловой скорости вращения коленчатого вала и угловой скорости вращения ведущего колеса (далее используется название «угловых скоростей») в опытном и серийном варианте для тракторов во время работы с культиватором, с учетом анализа сигнала от ведущего колеса к двигателю. На рис. 7 представлены совмещенные графики изменения взаимной корреляционной функции угловой скорости вращения коленчатого вала и угловой скорости вращения ведущего колеса в опытном и серийном варианте для тракторов во время работы с культиватором, с учетом анализа сигнала от двигателя к ведущему колесу. Взаимная корреляционная функция угловых скоростей представлена для двух вариантов: опытный вариант – сплошная линия; серийный вариант – прерывистая линия.
Рис. 6 и 7 показывают, что корреляция между частотой вращения коленвала двигателя и ведущим колесом в опытном и серийном вариантах стремится к нулю в начальном периоде разгона и уходит из отрицательных значений в положительные при установившемся режиме работы. При работе трактора с культиватором зависимости очень идентичны. Но несмотря на это, имеются различия в одном и в другом направлении.
Рис. 6. Совмещенные графики изменения взаимной корреляционной функции угловых скоростей опытного и серийного тракторов при агрегатировании с культиватором (анализ сигнала от двигателя к ведущему колесу)
Fig. 6. Combined graphs of changes in the cross-correlation function of angular velocities of an experimental and serial tractor when aggregated with a cultivator (analysis of the signal from the engine to the drive wheel)
Рис. 7. Совмещенные графики изменения взаимной корреляционной функции угловых скоростей опытного и серийного тракторов при агрегатировании с культиватором (с учетом анализа сигнала от ведущего колеса к двигателю)
Fig. 7. Combined graphs of changes in the cross-correlation function of angular velocities of an experimental and serial tractor when aggregated with a cultivator (taking into account the analysis of the signal from the drive wheel to the engine)
На рис. 8–10 представлены совмещенные графики изменения действительной части, мнимой части и модуля функции взаимной спектральной плотности угловой скорости вращения коленчатого вала и угловой скорости вращения ведущего колеса (далее используется название «угловых скоростей») опытного и серийного тракторов при агрегатировании с культиватором.
Рис. 8. Совмещенные графики изменения действительной части функции взаимной спектральной плотности угловых скоростей опытного и серийного тракторов при агрегатировании с культиватором
Fig. 8. Combined graphs of changes in the real part of the function of the mutual spectral density of angular velocities of an experimental and serial tractor when aggregated with a cultivator
Рис. 8 и 9 показывают, что частоты возмущающих воздействий и их величины (действительной и мнимой части) в серийном варианте имеют одинаковый характер по частотам и по дисперсиям. Сравнивая модуль взаимной спектральной плотности (рис. 10) видны идентичность опытного и серийного вариантов в процессе выполнения технологической операции.
Рис. 9. Совмещенные графики изменения мнимой части функции взаимной спектральной плотности угловых скоростей опытного и серийного тракторов при агрегатировании с культиватором
Fig. 9. Combined graphs of changes in the imaginary part of the function of the mutual spectral density of angular velocities of an experimental and serial tractor when aggregated with a cultivator
Рис. 10. Совмещенные графики изменения модуля функции взаимной спектральной плотности угловых скоростей опытного и серийного тракторов при агрегатировании с культиватором
Fig. 10. Combined graphs of changes in the modulus of the function of the mutual spectral density of angular velocities of an experimental and serial tractor when aggregated with a cultivator
Заключение
Анализ взаимной корреляционной функции двух процессов (частоты вращения коленчатого вала двигателя и ведущего колеса) показывает изменение скорости проходящих частот нагрузки по валопроводу (определяемых по формуле 1). Отношение времени прохождения (время прохождения сигнала в серийном тракторе по отношению ко времени прохождения сигнала в опытном тракторе) возмущений по валопроводу при агрегатировании трактора с культиватором уменьшается на 48.9 %. Это доказывает, что УДМ снижает скорость распространения частоты колебаний нагрузки и по валопроводу.
Анализ взаимной спектральной плотности (угловой скорости вращения коленчатого вала двигателя и ведущего колеса) показывает смещение (по отношению к серийному варианту) частоты возмущающих воздействий и уменьшение их величины при агрегатировании трактора с культиватором на 8,9 %. Величина взаимной спектральной плотности меньше в опытном варианте трактора, что может означать то, что УДМ как элемент силовой передачи поглощает часть колебаний нагрузки распространяющихся по валопроводу.
About the authors
S. E. Sen'kevich
Federal Scientific Agroengineering Center VIM
Author for correspondence.
Email: sergej_senkevich@mail.ru
Russian Federation, Moscow
References
- Popov I.P. Elastic couplings of a composite agricultural vehicle. Vestnik NGIEI. 2021. No 4(119), pp. 21−30 (in Russ.). doi: 10.24412/2227-9407-2021-4-21-30
- Melikov I., Kravchenko V., Senkevich S., Hasanova Ye., Kravchenko L. Traction and energy efficiency tests of oligomeric tires for category 3 tractors // IOP Conference Series: Earth and Environmental Science. 2019. V. 403. P. 012126. doi: 10.1088/1755-1315/403/1/012126
- Sen'kevich S.E., Vasil'yev YE.K., Sen'kevich A.A. The results of the use of a hydropneumatic damping de-vice in the power transmission of a tractor of a small traction class to improve performance. Agrotekhnika i energoobespecheniye. 2018. No 4(21), pp. 128−139 (in Russ.).
- Senkevich S., Kravchenko V., Duriagina V., Senkevich A., Vasilev E. Optimization of the Parameters of the Elastic Damping Mechanism in Class 1,4 Tractor Transmission for Work in the Main Agricultural Operations // Advances in Intelligent Systems and Computing. Springer, Cham. 2018. V. 866. P. 168−177. doi: 10.1007/978-3-030-00979-3_17
- Senkevich S.E., Sergeev N.V., Vasilev E.K., Godzhaev Z.A., Babayev V. Use of an Elastic-Damping Mecha-nism in the Tractor Transmission of a Small Class of Traction (14 kN): Theoretical and Experimental Sub-stantiation // (Chapter 6) Handbook of Advanced Agro-Engineering Technologies for Rural Business De-velopment. Hershey, Pennsylvania (USA): IGI Global, 2019. P. 149−179. doi: 10.4018/978-1-5225-7573-3.ch006
- Sen'kevich S.E. Analysis of the results of experimental studies of a tractor of class 1.4 upgraded with a hy-dropneumatic damper device in a power transmission. Agrotekhnika i energoobespecheniye. 2019. No 3(24), pp. 8−16 (in Russ.).
- Senkevich S., Duriagina V., Kravchenko V., Gamolina I., Pavkin D. Improvement of the Numerical Simula-tion of the Machine-Tractor Unit Functioning with an Elastic-Damping Mechanism in the Tractor Transmis-sion of a Small Class of Traction (14 kN) // Advances in Intelligent Systems and Computing. Springer, Cham. 2020. V. 1072. P. 204−213. doi: 10.1007/978-3-030-33585-4_20
- Senkevich S., Bolshev V., Ilchenko E., Chakrabarti P., Jasiński M., Leonowicz Z., Chaplygin M. Elastic Damp-ing Mechanism Optimization by Indefinite Lagrange Multipliers // IEEE Access, vol. 9, pp. 71784−71804, 2021, doi: 10.1109/ACCESS.2021.3078609
- Senkevich, S.E, Lavrukhin P.V., Senkevich A.A., Ivanov P.A., Sergeev N.V. Improvement of Traction and Cou-pling Properties of the Small Class Tractor for Grain Crop Sowing by Means of the Hydropneumatic Damping De-vice // Handbook of Research on Energy-Saving Technologies for Environmentally-Friendly Agricultural Development. Hershey, PA: IGI Global, 2020. P. 1−27. doi: 10.4018/978-1-5225-9420-8.ch001
- Senkevich S., Kravchenko V., Lavrukhin P., Ivanov P., Senkevich A. Theoretical Study of the Effect of an Elastic-Damping Mechanism in the Tractor Transmission on a Machine-Tractor Unit Performance While Sowing // (Chapter 17) Handbook of Research on Smart Computing for Renew-able Energy and Agro-Engineering. Hershey, Penn-sylvania (USA): IGI Global, 2020. P. 423−463. doi: 10.4018/978-1-7998-1216-6.ch017
- Sen'kevich S.E., Il'chenko YE.N., Godzhayev Z.A., Duryagina V.V. Results of field studies of a tractor of 1.4 traction class with an elastic-damping mechanism in a power drive. Izvestiya MGTU MAMI. 2020. No 4(46), pp. 76−87 (in Russ.). doi: 10.31992/2074-0530-2020-46-4-76-87.
- Sen'kevich S.E., Kryukovskaya N.S. Analysis of experimental studies of a tractor equipped with an elastic-damping mechanism in the transmission, when driving as part of a transport tractor unit. Traktory i sel'khozmashiny. 2020. No 6, pp. 59−66 (in Russ.). doi: 10.31992/0321-4443-2020-6-59-66.
- Sen'kevich S.E., Il'chenko YE.N., Kravchenko V.A., Duryagina V.V., Godzhayev Z.A., Alekseyev I.S. Avto-maticheskoye ustroystvo dlya snizheniya zhestkosti transmissii transportnogo sredstva [Automatic device for reducing the rigidity of the vehicle transmission]: patent na izobreteniye No 2739100 Rossiyskaya Fed-eratsiya; opubl. 21.12.2020, Byul. No 36.
- Kravchenko V.A., Sen'kevich A.A., Sen'kevich S.E., Maksimenko V.A. Modernization of a seeding ma-chine-tractor unit based on a 1.4 traction class tractor. Mezhdunarodnyy nauchnyy zhurnal. 2008. No 1, pp. 57−62 (in Russ.).
- Vedenyapin, G.V. Obshchaya metodika eksperimental'nogo issledovaniya i obrabotki opytnykh dannykh [General methodology for experimental research and processing of experimental data]. Moscow: Kolos Publ., 1973. 199 p.
- Sergiyenko A.B. Tsifrovaya obrabotka signalov [Digital signal processing]. Moscow: Piter Publ., 2002. 604 p.
- Liljedahl J.B., Turnquist P.K., Smith D.W., Hoki M. Tractors and their power units // Van Nostrand Rein-hold, New York. 1996. P. 364.
- Boyko B.P., Tyurin V.A. Spektr signala [Signal spectrum]: uchebno-metodicheskoye posobiye. Kazan': Ka-zanskiy federal'nyy universitet Publ., 2014. 38 p.
- Bendat, D., Pirsol A. Primeneniye korrelyatsionnogo i spektral'nogo analiza [Correlation and spectral anal-ysis applications]. Moscow: Mir Publ., 1983. 312 p.
- Myasnikova N.V., Beresten' M.P. Ekspress-analiz signalov v tekhnicheskikh sistemakh [Express analysis of signals in technical systems]. Penza: PGU Publ., 2012. 151 p.
- Myasnikova N.V., Stroganov M.P., Beresten' M.P. Spectral analysis based on the study of process ex-treme values. Datchiki sistem izmereniya, kontrolya i upravleniya: Mezhvuz. sb. nauch. tr. Penza: Izd-vo Penz. gos. tekhn. un-ta, 1995. Vyp. 15, pp. 80–82 (in Russ.).
- Khovanova N. A., Khovanov I. A. Metody analiza vremennykh ryadov [Time series analysis methods]. Ucheb. posobiye. Saratov: Izd-vo Gos-UNTS" Kolledzh" Publ., 2001. 120 p.
- Brockwell P.J., Davis R.A. Introduction to time series and forecasting. Springer. 2016. P. 425.
- Cryer J.D., Chan K.S. Time Series Analysis with Applications in R. Second Edition Springer Science & Busi-ness Me-dia. 2008. P. 492.
- Klenke A. Probability theory: a comprehensive course. Springer Science & Business Media, 2014. P. 638.
- Schmetterer L. Introduction to mathematical statistics. Springer Science & Business Media, 2012. Vol. 202.
- Turner J.C. Modern applied mathematics: probability, statistics, operational research. English University Press, 1970. P. 502.
Supplementary files













