Study of dependence of lubrication layer thickness in a plain thrust bearing of a sealed pump with a magnetic clutch on area of the working wheel equalizing holes
- Authors: Pavlovsky D.B.1, Petrov A.I.2, Protopopov A.A.2
-
Affiliations:
- Bioproekt
- Bauman Moscow State Technical University
- Issue: Vol 17, No 4 (2023)
- Pages: 339-345
- Section: Hydraulic and pneumatic systems
- URL: https://journals.eco-vector.com/2074-0530/article/view/321719
- DOI: https://doi.org/10.17816/2074-0530-321719
- ID: 321719
Cite item
Abstract
BACKGROUND: Nowadays, using sealed pumps for transferring various liquids is widespread. Increasing the service life and operation reliability of sealed pumps with a magnetic clutch is a relevant technical task.
AIM: Search for relatively simple ways of increasing the service life and operation reliability of sealed pumps with a magnetic clutch, in particular, study of influence of area of the working wheel equalizing holes on lubrication layer thickness in a thrust bearing.
METHODS: In the mathematical model, the diagram of forces acting at a rotor of a centrifugal pump with hydrostatic bearings operating with the transferred liquid was analyzed and the equilibrium equation was obtained. The influence of such centrifugal pump geometric parameters as area of the working wheel equalizing holes on lubrication layer thickness in a thrust hydrostatic bearing was taken into account in the calculation.
RESULTS: In the paper’s conclusion, there is dependency graph of lubrication layer thickness in a thrust bearing on area of the working wheel equalizing holes. As it is shown in the graph, the axial force is quite sensible to area of an equalizing hole of a centrifugal pump working wheel.
CONCLUSION: The practical value of the study lies in the formulated influence of area of the working wheel equalizing holes on lubrication layer thickness in a thrust bearing of a centrifugal pump, given in the paper’s conclusion.
Full Text
ВВЕДЕНИЕ
Герметичные насосы различной конструкции (с магнитной муфтой или герметичным электродвигателем) получили широкое распространение в химической, нефтяной, пищевой и других областях промышленности. Отсутствие утечек и длительная работа без технического обслуживания уплотнений делают данные насосы незаменимыми при перекачивании химически опасных, легковоспламеняющихся и ядовитых жидкостей.
Однако одной из особенностей данных насосов является то, что их ротор вращается в подшипниках скольжения, смазываемых перекачиваемой жидкостью, параметры которой могут быть разными. Для обеспечения долговечности таких подшипников важное значение имеет, с одной стороны, наиболее полная разгрузка ротора от осевых и радиальных сил в широком диапазоне режимов работы насоса, а с другой — точный расчёт толщины смазочного слоя в подшипнике и его несущей способности.
В данной статье приведён расчёт сил на роторе такого насоса и показано влияние этих сил на ресурс центробежного насоса.
МАТЕМАТИЧЕСКАЯ МОДЕЛЬ
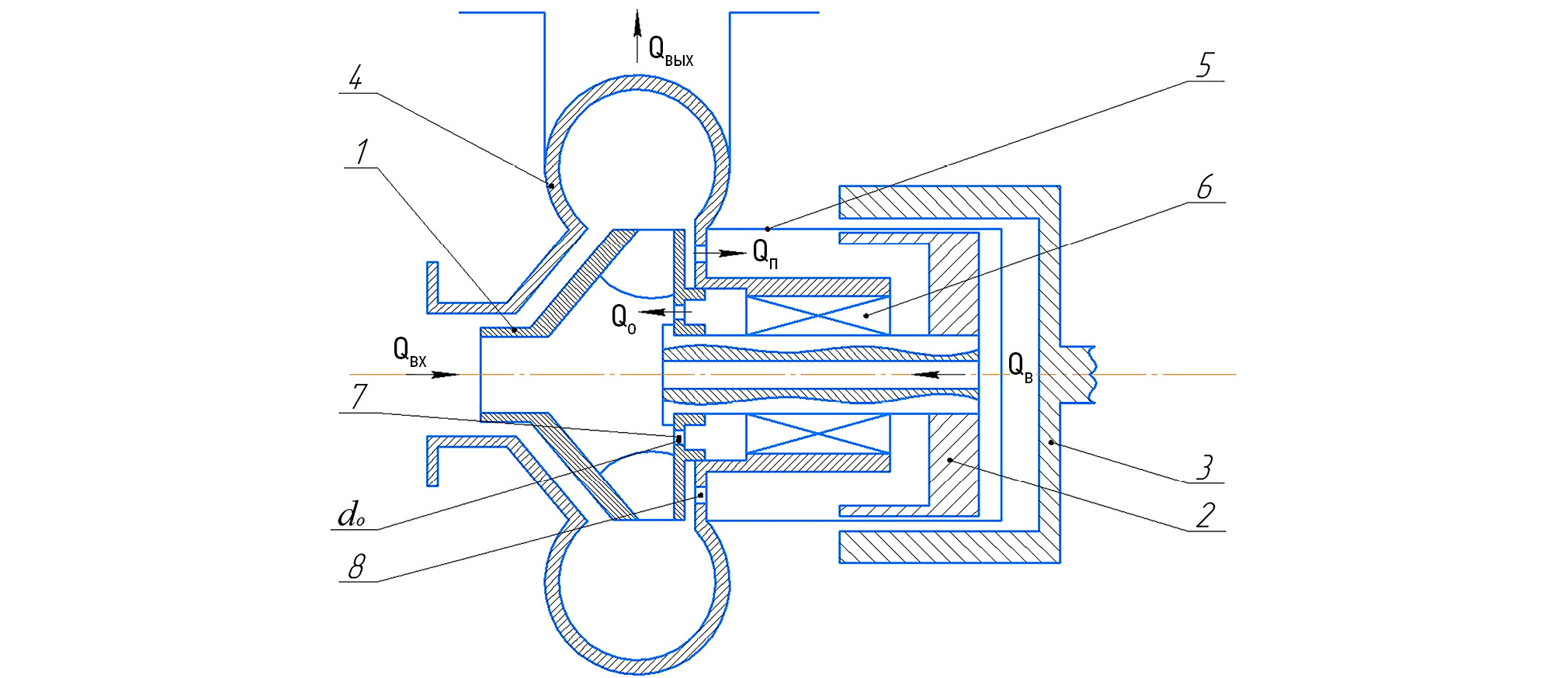
Рассмотрим конструкцию насоса (рис. 1) [1–5].
Рис. 1. Упрощённая принципиальная схема герметичного насоса.
Fig. 1. Simplified principal layout of a sealed pump.
На рис. 1 позициями обозначено: 1 — рабочее колесо; 2 — ротор с внутренней магнитной полумуфтой; 3 — внешняя магнитная полумуфта; 4 — корпус насоса с отводом; 5 — гильза магнитной муфты; 6 — гидроподшипник (упрощённо); 7 — отверстия в корпусе насоса, питающие гидроподшипник и охлаждающие магнитную муфту; 8 — разгрузочные отверстия в рабочем колесе; dо — диаметр разгрузочного отверстия; Qо — расход через разгрузочные отверстия; Qп — расход питания вспомогательных каналов; Qвх — расход входа; Qвых — расход выхода; Qв — расход, протекающий внутри вала. Принцип работы центробежного насоса следующий: рабочая жидкость поступает на вход в рабочее колесо по оси и под действием центробежных сил поступает в отвод в корпусе, а затем — к потребителю. При этом часть рабочей жидкости циркулирует в каналах слева относительно рабочего колеса и обеспечивает охлаждение магнитной муфты и смазывание гидроподшипника. Для уменьшения осевой силы у рабочего колеса есть разгрузочные отверстия.
Рассмотрим силы, действующие на детали насоса (рис. 2): — осевая сила, возникающая от поворота жидкости [6–8] в колесе, Н; — осевая сила, возникающая от вращения рабочего колеса, Н; — осевая сила, возникающая от перепада давления со стороны разгрузочных отверстий, Н; — осевая сила, возникающая от давления жидкости на поверхность внутренней полумуфты, Н; — осевая сила, воспринимаемая упорными подшипниками скольжения, Н.
Рис. 2. План сил, действующих на ротор.
Fig. 2. Diagram of forces acting at a rotor.
Осевая сила , возникающая от поворота жидкости [12–15] в колесе, определяется по формуле:
, (1)
где — подача насоса [9–11], для которой определяется величина силы, м3/с; — плотность жидкости, кг/м3; — скорость потока жидкости при входе на лопасть, м/с.
Определим разность давлений перед первым щелевым уплотнением:
, (2)
где — переносная скорость на выходе из лопасти, м/с; — давление [16] на выходе из лопасти, Па.
Тогда осевая сила , возникающая от вращения рабочего колеса, определяется по формуле:
. (3)
Рис. 3. Принципиальная схема рабочего колеса с двумя щелевыми уплотнениями и разгрузочными отверстиями.
Fig. 3. Principal layout of a working wheel with two groove seals and equalizing holes.
Формулу (3) с помощью заданных параметров колеса (рис. 3) преобразуем к виду:
, (4)
где — напор насоса при подаче , м.
Осевая сила РО, возникающая от перепада давления со стороны разгрузочных отверстий:
, (5)
где — перепад давления на разгрузочных отверстиях, Па.
Из уравнения Бернулли расход через щель равен:
, (6)
где — коэффициент расхода; — площадь щели, мм2.
Из формулы (6) выразим перепад давления на разгрузочных отверстиях колеса:
, (7)
где — расход через разгрузочные отверстия, м3/с; — суммарная площадь разгрузочных отверстий, мм2.
Перепад давления на щелевом уплотнении:
, (8)
где — расход через разгрузочные отверстия, м3/с; — суммарная площадь разгрузочных отверстий, мм2.
Примем допущение, что расход жидкости через щелевое уплотнение равен расходу через разгрузочные отверстия (пренебрежём расходом жидкости через подшипники скольжения, так как он существенно мал по сравнению с расходом жидкости через отверстия вследствие малого зазора в подшипниках): , тогда
. (9)
Давление жидкости перед щелевым уплотнением:
. (10)
Подставим (8) и (9) в (10) и далее, подставив в (7), и получим:
. (11)
Из теории подобия центробежных насосов выразим давление :
. (12)
Тогда:
. (13)
Подставим (13) в (5) получим (14):
. (14)
Осевая сила , возникающая от давления жидкости на поверхность внутренней полумуфты:
, (15)
где — давление в области герметизирующего стакана, Па; — радиус области, на которую действует давление в области герметизирующего стакана, мм.
Для числового расчёта значение было взято из результатов гидродинамического моделирования, проведённого авторами, в пакете STAR-CCM+ (рис. 4):
Рис. 4. Поле распределения давления жидкости в области магнитной муфты.
Fig. 4. Liquid pressure distribution field near the magnetic clutch.
Условие равновесия ротора (из рис. 2):
. (16)
Сила, воспринимаемая упорными подшипниками скольжения:
, (17)
где — минимальная толщина смазочного слоя, рекомендуемая величина которой должна быть больше 20 мкм, м; — число сегментов; — динамическая вязкость, Па*с; —скорость на среднем диаметре, м/с.
РЕЗУЛЬТАТЫ
Подставим (17) в (16) и с учётом численных значений для данного насоса можем получить следующую зависимость толщины смазочного слоя в упорном подшипнике скольжения от площади разгрузочных отверстий рабочего колеса (рис. 5).
Рис. 5. Зависимость толщины смазочного слоя в упорном подшипнике скольжения от площади разгрузочных отверстий рабочего колеса.
Fig. 5. Dependence of lubrication layer thickness in a thrust bearing on area of the working wheel equalizing holes.
Как видно, осевая сила весьма чувствительна к площади разгрузочного отверстия рабочего колеса центробежного насоса.
ЗАКЛЮЧЕНИЕ
Таким образом, использование разгрузочных отверстий значительно уменьшает нагрузки на рабочем колесе, соответственно, уменьшает нагрузку на упорные подшипники скольжения, что увеличивает ресурс и надёжность работы насоса в целом.
На примере данного герметичного насоса с магнитной муфтой получена математическая модель, которая позволяет корректно оценить влияние размеров разгрузочных отверстий на рабочем колесе за вторым щелевым уплотнением на толщину смазочного слоя в упорных подшипниках скольжения ротора, что позволяет не допустить появление задиров на подшипниках скольжения или заклинивания насоса из-за неразгруженной осевой силы.
ДОПОЛНИТЕЛЬНО
Вклад авторов. Д.Б. Павловский — расчёты и графики, описание методов и результатов; А.И. Петров — общее научное руководство, написание выводов, редактирование текста; А.А. Протопопов — написание аннотации и введения, поиск и обзор литературных источников, редактирование текста и формул. Авторы подтверждают соответствие своего авторства международным критериям ICMJE (все авторы внесли существенный вклад в разработку концепции, проведение исследования и подготовку статьи, прочли и одобрили финальную версию перед публикацией).
Конфликт интересов. Авторы декларируют отсутствие явных и потенциальных конфликтов интересов, связанных с публикацией настоящей статьи.
Источник финансирования. Авторы заявляют об отсутствии внешнего финансирования при проведении исследования.
ADDITIONAL INFORMATION
Authors’ contribution. D.B. Pavlovsky — calculations and graphs, writing the text of methods and results; A.I. Petrov — general scientific guidance, writing conclusions, text editing; A.A. Protopopov — writing the abstract and the background, search and review of literary sources, text and formulae editing. The authors confirm the compliance of their authorship with the international ICMJE criteria (all authors have made a significant contribution to the development of the concept, research and preparation of the article, read and approved the final version before publication).
Competing interests. The authors declare that they have no competing interests.
Funding source. This study was not supported by any external sources of funding.
About the authors
Dmitry B. Pavlovsky
Bioproekt
Email: pavlovskiy.dmb@mail.ru
ORCID iD: 0009-0005-1879-4747
Head of Department
Russian Federation, MoscowAlexey I. Petrov
Bauman Moscow State Technical University
Email: alex_i_petrov@mail.ru
ORCID iD: 0000-0001-8048-8170
SPIN-code: 7172-0320
Cand. Sci. (Tech.), Associate Professor of the Hydromechanics, Hydromachines and Hydro-Pneumoautomatics Department
Russian Federation, MoscowAlexander A. Protopopov
Bauman Moscow State Technical University
Author for correspondence.
Email: proforg6@yandex.ru
ORCID iD: 0000-0002-6069-7730
SPIN-code: 4175-5118
Cand. Sci. (Phys. and Math.), Associate Professor of the Hydromechanics, Hydraulic machines and Hydropneumoautomatics Department
Russian Federation, MoscowReferences
- Cheremushkin V, Polyakov A. Optimization of the output device of a disk pump for high viscous fluid. IOP Conf. Ser.: Mater. Sci. Eng. 2019;589:012001. doi: 10.1088/1757-899X/589/1/012001
- Isaev N, Valiev T, Morozova E, et al. Optimization of a radial guide device with a no-vane transfer channe. IOP Conf. Ser.: Mater. Sci. Eng. 2019;589:012009. doi: 10.1088/1757-899X/589/1/012009
- Abramov K. Study of multi-stage centrifugal pump guide vanes in a package of hydrodynamic simulating STAR CCM+. IOP Conf. Ser.: Mater. Sci. Eng. 2019;589:012013. doi: 10.1088/1757-899X/589/1/012013
- Boyarshinova A, Lomakin V, Petrov A. Comparison of various simulation methods of a two-phase flow in a multiphase pump. IOP Conf. Ser.: Mater. Sci. Eng. 2019;589:012014. doi: 10.1088/1757-899X/589/1/012014
- Saprykina M, Lomakin V. The evaluation of the effect of gas content on the characteristics of a Centrifugal Pump. IOP Conf. Ser.: Mater. Sci. Eng. 2019;589:012017. doi: 10.1088/1757-899X/589/1/012017
- Boyarshinova A, Lomakin V, Petrov A. Comparison of various simulation methods of a two-phase flow in a multiphase pump. IOP Conf. Ser.: Mater. Sci. Eng. 2019;589:012028. doi: 10.1088/1757-899X/589/1/012028
- Martynyuk A, Petrov A, Kuleshova M. Comparative analysis of the use of the spiral and bladed stators in a compact high-speed centrifugal pump with hydrodynamic modeling methods. IOP Conf. Ser.: Mater. Sci. Eng. 2019;589:012029. doi: 10.1088/1757-899X/589/1/012029
- Shin D-C, Morimoto Y, Sawayama J, et al. Centrifuge-based step emulsification device for simple and fast generation of monodisperse picoliter droplets. Sensors and Actuators B: Chemical. 2019;301. doi: 10.1016/j.snb.2019.127164
- Si Q, Bois G, Liao M, et al. A comparative study on centrifugal pump designs and two-phase flow characteristic under inlet gas entrainment conditions. Energies. 2020;13(1):65. doi: 10.3390/en13010065
- Lai F, Wang Y, Ei-Shahat S, et al. Numerical study of solid particle erosion in a centrifugal pump for liquid-solid flow. Journal of Fluids Engineering. 2019;141(12). doi: 10.1115/1.4043580
- Jia X-Q, Cui B-L, Zhu Z-C, et al. Experimental investigation of pressure fluctuations on inner wall of a centrifugal pump. International Journal of Turbo and Jet Engines. 2019;36(4):401-410. doi: 10.1515/tjj-2016-0078
- Guo C, Wang J, Gao M. A numerical study on the distribution and evolution characteristics of an acoustic field in the time domain of a centrifugal pump based on powell vortex sound theory. Appl. Sci. 2019;9(23):5018. doi: 10.3390/app9235018
- Wang L, Lu J, Liao W, et al. Numerical simulation of the tip leakage vortex characteristics in a semi-open centrifugal pump. Appl. Sci. 2019;9(23):5244. doi: 10.3390/app9235244
- Kim H, Posa A, Nerg J, et al. Analysis of electromagnetic excitations in an integrated centrifugal pump and permanent magnet synchronous motor. IEEE Transactions on Energy Conversion. 2019;34(4):1759-1768. doi: 10.1109/TEC.2019.2935785
- Guo C, Gao M, Wang J, et al. The effect of blade outlet angle on the acoustic field distribution characteristics of a centrifugal pump based on powell vortex sound theory. Applied Acoustics. 2019;155:297-308. doi: 10.1016/j.apacoust.2019.05.031
- Cherkassky VM. Pumps, fans, compressors. Moscow: Energiya; 1977.
Supplementary files








