Load mode control of test rigs for rubber-metal vibration isolators
- Authors: Godzhaev Z.A.1, Shekhovtsov V.V.2, Lyashenko M.V.2, Potapov P.V.2, Klementiev E.V.2
-
Affiliations:
- Federal Scientific Agroengineering Center VIM
- Volgograd State Technical University
- Issue: Vol 17, No 4 (2023)
- Pages: 375-385
- Section: Transport and transport-technological facilities
- URL: https://journals.eco-vector.com/2074-0530/article/view/340787
- DOI: https://doi.org/10.17816/2074-0530-340787
- ID: 340787
Cite item
Abstract
BACKGROUND: Confirmation of the effective performance of vibration isolators of the suspension system for cabins of wheeled and tracked vehicles is obtained on the basis of bench tests. The development of loading devices and load mode control systems for bench testing of vibration isolators based on operating modes is a relevant technical task.
AIM: Development of load mode control systems for bench testing of vibration isolators based on the analysis of their operational loads.
METHODS: Based on the analysis of the operational loads of vibration isolators of suspension systems for cabins of wheeled and tracked vehicles, technical solutions for loading devices of rigs and load mode control systems have been developed that make it possible to reproduce load modes with parameters statistically equivalent to operational load modes on the tested vibration isolators.
RESULTS: The technical solution of the rig for durability testing of rubber-metal vibration isolators with reproduction of operational loads in the vertical, longitudinal and lateral directions on the tested vibration isolator is proposed. A technical solution for the rig ensuring reproduction of load modes at durability testing of vibration isolators, in which the dynamic component of the load contains forced and natural vibrations of the protected object, is also proposed. Load mode control of the proposed rigs ensures more reliable test results due to the approximation of the load conditions of vibration isolators on the rigs to the operational ones.
CONCLUSION: The practical value of the study lies in the opportunity of using the proposed technical solutions of test rigs and load control systems for testing vibration isolators of the suspension system for cabins of wheeled and tracked vehicles with an increase in the degree of reliability of their results due to the approximation of load conditions to the operational ones.
Full Text
ВВЕДЕНИЕ
Создание и доводка конструкции новых машин сопровождаются большим объемом и разнообразием исследований и испытаний. Испытания занимают до 50–70% времени доводки конструкций [1].
Наиболее достоверными являются результаты эксплуатационных испытаний, при которых узел в составе машины подвергается нагрузкам на типовых эксплуатационных режимах. Но чаще всего эксплуатационные испытания заменяют стендовыми, позволяющими получить необходимую информацию в более сжатые сроки, многократно снизить стоимость испытательных работ, а также осуществить более качественный контроль условий нагружения испытуемого узла за счёт применения стационарной аппаратуры [2–5].
В каждом конкретном случае схема испытательного стенда и конфигурация его системы управления нагрузочными режимами определяются задачей испытаний. Если производителю необходима информация о влиянии на нагруженность испытуемого узла какого-либо конкретного фактора, при создании стенда во главу угла ставится возможность максимально точного, соответствующего условиям эксплуатации, воспроизведения при стендовых испытаниях действия именно этого фактора. Если же необходима информация о работоспособности и долговечности узла или детали, проводятся более длительные испытания для определения ресурсных показателей [1]. В этом случае, главным условием достоверности полученных результатов также является воспроизведение на стенде нагрузочных режимов, эквивалентных эксплуатационным [6, 7]. В связи с чем, важное значение имеет стендовая система управления нагрузочными режимами.
Авторами предложен и запатентован ряд технических решений стендов для испытаний виброизоляторов, системы управления нагрузочными режимами которых отвечают вышеприведённым условиям.
УПРАВЛЕНИЕ РЕЖИМАМИ НАГРУЖЕНИЙ НА СТЕНДЕ ДЛЯ ИСПЫТАНИЙ ВИБРОИЗОЛЯТОРОВ С ВОСПРОИЗВЕДЕНИЕМ ОСЕВЫХ И БОКОВЫХ НАГРУЗОК
Одной их важных задач при создании колёсных и гусеничных машин является обеспечение комфортных условий работы оператора в кабине, которое во время работы постоянно подвергается вибрационным воздействиям. Колебания широкого спектра частот и диапазона амплитуд генерируются двигателем, агрегатами силовой передачи, ходовой системой, а также передаваемыми через раму воздействиями со стороны подвески при перемещениях транспортного средства по неровностям пути. Подвеска остова машины поглощает часть энергии колебаний в вертикальном, продольном и поперечном направлениях, но существенная часть этой энергии передаётся установленной на раме кабине [6–10]. Системы подрессоривания кабин колёсных и гусеничных машин включают в себя виброизоляторы разных конструкций, но среди них наиболее часто используемыми являются резинометаллические виброизоляторы [11–18].
Способность виброизоляторов в течение нормативного срока эксплуатации снижать до необходимого уровня амплитуды воздействий на кабину со стороны рамы можно оценить по результатам их ресурсных стендовых испытаний. В ВолгГТУ создано несколько технических решений стендов для ресурсных испытаний виброизоляторов кабины транспортного средства [19–23].
В эксплуатации виброизоляторы кабины транспортного средства испытывают нагружающие воздействия от вертикальных, продольно- и поперечно-угловых колебаний кабины, причём все нагружающие воздействия отличаются амплитудами и характером протекания во времени [8–10]. Возможность воспроизведения в стендовых условиях эксплуатационных режимов нагружения виброизоляторов в, предложенном авторами, техническом решении стенда [24] обеспечивается тремя ориентированными в вертикальном, продольно-осевом и поперечно-осевом направлениях электродвигателями с регулируемой частотой вращения и установленными на их валах кулачковыми эксцентриками с одинаковым или различным профилем, взаимодействующими с нагрузочной платформой.
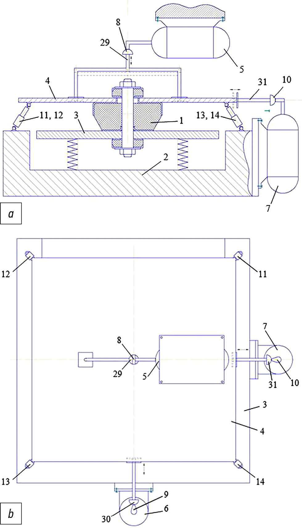
На рис. 1, а представлена конструкция стенда в разрезе, на рисунке 1, b — в плане.
Рис. 1. Конструкция стенда: а — вид сбоку (в разрезе), b — вид в плане.
Fig. 1. Design of the rig: а — side view (section); b — top view.
Стенд (рис. 1) содержит испытуемый виброизолятор 1, соединённый нижней частью с подпружиненной на опорном основании 2 платформой 3 для установки испытуемого объекта, а верхней — с нагрузочной платформой 4. Система нагружения стенда включает в себя ориентированные в вертикальном, продольно-осевом и поперечно-осевом направлениях электродвигатели 5, 6, и 7 с регулируемой частотой вращения и установленными на их валах взаимодействующими с платформой 4 кулачковыми эксцентриками 8, 9 и 10 с одинаковым или различным (рис. 2) профилем.
Рис. 2. Возможные профили кулачкового эксцентрика.
Fig. 2. Possible profiles of an eccentric cam.
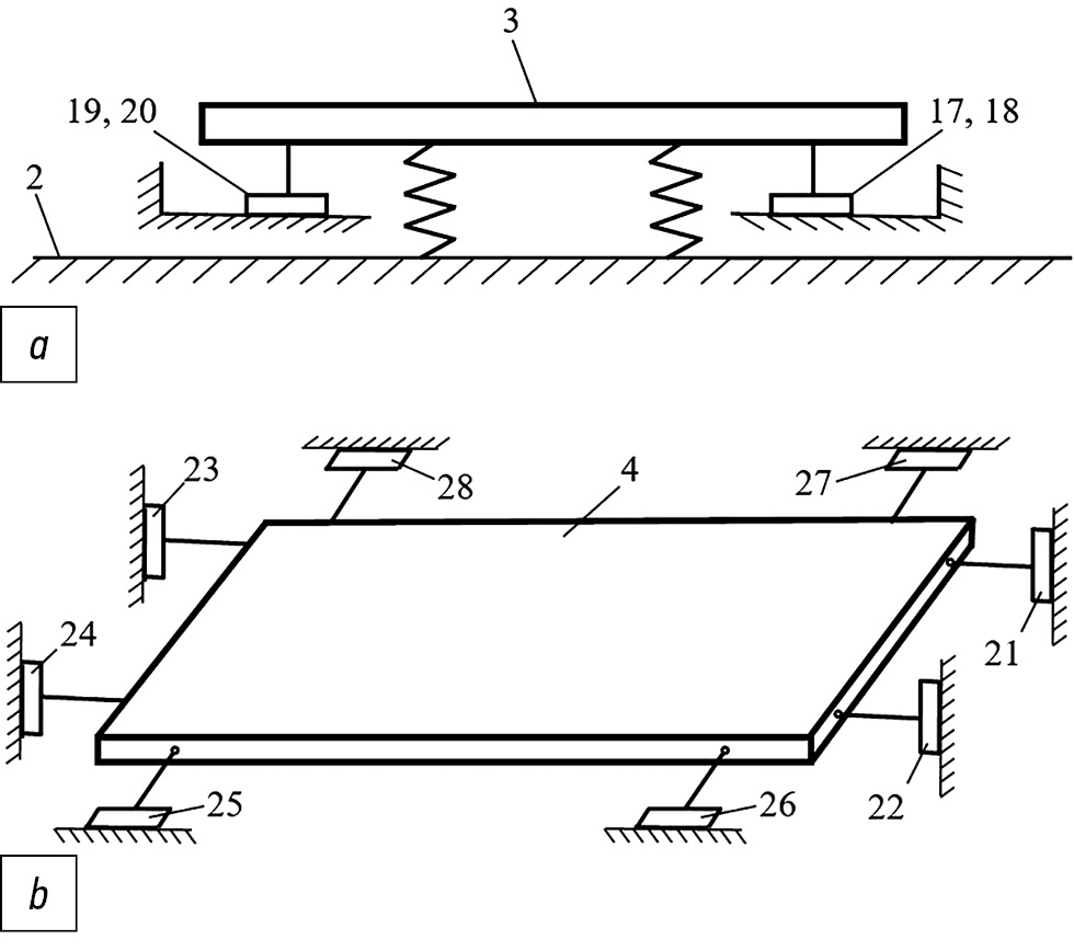
Платформы 3 и 4 соединены телескопическими стойками 11, 12, 13 и 14 (рис. 1, 3, 4), включающими в себя, установленные в цилиндрах 15, штоки 16 (рис. 3).
Рис. 3. Схема стойки.
Fig. 3. The strut scheme.
Рис. 4. Платформы для установки испытуемого объекта и нагрузочная.
Fig. 4. The loading platform and the platform for setting the tested object.
По углам платформы 3 расположены пьезодатчики 17, 18, 19 и 20 (рис. 5, а), регистрирующие её перемещения в вертикальном направлении, в продольно-осевом — 21, 22, 23 и 24 (рис. 5, b), в поперечно-осевом — 25, 26, 27 и 28 (рис. 5, b).
Рис. 5. Установка пьезодатчиков: a — для регистрации вертикальных перемещений платформы, b — для регистрации продольно- и поперечноугловых перемещений платформы.
Fig. 5. Piezosensors: a — for measuring vertical displacement of the platform; b — for measuring longitudinal and lateral displacements of the platform.
С кулачковыми эксцентриками 8, 9 и 10 взаимодействуют толкатели 29, 30 и 31, установленные в направляющих 32, 33 и 34 (рис. 6).
Рис. 6. Приводы для воспроизведения колебаний: a — в вертикальном направлении; b — в продольно осевом направлении; c — в поперечно осевом направлении.
Fig. 6. Oscillators: a — acting in vertical direction; b — acting in longitudinal direction; c — acting in lateral direction.
Профиль стержневой части толкателей и отвечающий ему профиль внутренней поверхности направляющих имеют нецилиндрическую форму, благодаря чему исключается вращение толкателей. Их концы, контактирующие с кулачковыми эксцентриками 8, 9 и 10, имеют сферическую контактную поверхность, а на противоположных концах толкателей установлены контактирующие во время работы стенда с отполированными контактными боковыми поверхностями нагрузочной платформы 4 толкающие элементы 35 и 36 цилиндрической формы также с отполированными частями контактных поверхностей (рис. 6, а и 6, b), а контактирующий с верхней поверхностью платформы 4 — толкающий элемент 37 сферической формы (рис. 6, c). На участках толкателей, расположенных между направляющими 32, 33 и 34 и толкающими элементами 35, 36 и 37, имеются подпружиненные упоры 38, 39 и 40.
Управление нагрузочными режимами осуществляется следующим образом. Перед началом испытаний на основе эксплуатационных данных о нагруженности виброизолятора разрабатывается программа, в соответствии с которой формируется нагрузочный режим. Программой определяются амплитуды и частоты нагрузок, которые должны воспроизводиться на испытуемом виброизоляторе в вертикальном, продольно- и поперечно-угловом направлениях, в соответствии с этим задаётся частота вращения каждого из электродвигателей 5, 6, и 7 (рис. 1) и установленных на их валах кулачковых эксцентриков 8, 9 и 10 (рис. 2) с заданным профилем, который определяет амплитуду нагрузки и закон ее изменения во времени. Эксцентрики при каждом обороте валов электродвигателей взаимодействуют с толкателями, которые передают воздействия на нагрузочную платформу 4. По окончании каждого цикла контактного взаимодействия толкателей с платформой 4 они возвращаются в исходное положение пружинами, действующими на упоры 38, 39 и 40.
Во время осевого перемещения толкателей за счет нецилиндрической формы их профиля и отвечающего ему профиля направляющих толкатели не имеют возможности поворота относительно своей оси, поэтому не нарушается взаимодействие установленных на их концах толкающих элементов с контактными поверхностями платформы 4, при этом трение в зоне контакта минимизируется за счёт того, что контактируют отполированные поверхности взаимодействующих тел.
Испытуемый виброизолятор 1 воспринимает воздействия от нагрузочной платформы 4, при этом часть энергии этих воздействий в материале виброизолятора превращается в тепло, а часть передаётся подпружиненной платформе 3 для установки испытуемого объекта. Перемещения этой платформы воспринимаются в вертикальном, продольно-осевом и поперечно-осевом направлениях пьезодатчиками (рис. 6).
Предусмотрена возможность контактирования толкающего элемента 37 (рис. 6, а) с нагружающей платформой 4 в точке, через которую проходит ось симметрии испытуемого виброизолятора 1, и тогда он нагружается осесимметричной вертикальной нагрузкой; а также в точке, смещённой относительно оси симметрии испытуемого видроизолятора 1, и тогда он нагружается не осесимметричной вертикальной нагрузкой.
Таким образом системой управления реализуется программа нагружения, создаваемая на основе учёта основных статистических параметров эксплуатационных нагрузочных режимов.
УПРАВЛЕНИЕ РЕЖИМАМИ НАГРУЖЕНИЙ НА СТЕНДЕ ДЛЯ ИСПЫТАНИЙ ВИБРОИЗОЛЯТОРОВ В РЕЖИМЕ ВЫНУЖДЕННЫХ И СОБСТВЕННЫХ КОЛЕБАНИЙ
Виброизоляторы в условиях эксплуатации испытывают нагрузки со статической и динамической составляющими [6–8]. Статическая составляющая — это в большинстве случаев вес подрессориваемого объекта. Динамическая составляющая — это переменные во времени воздействия на подрессориваемый объект, связанные с условиями его функционирования. В большинстве случаев эксплуатационные воздействия на подрессориваемый объект носят импульсный характер. В период между предыдущим и последующим импульсными воздействиями подрессориваемый объект в течение некоторого времени совершает вызванные этим воздействием собственные колебания на подвеске. В течение этого периода в упругом элементе виброизолятора имеют место деформации растяжения-сжатия, которые в конечном итоге сказываются на ресурсе виброизолятора. Если в стендовых условиях воспроизводится на испытуемом виброизоляторе режим вынужденных колебаний, при котором в промежутке между импульсными воздействиями не обеспечивается воспроизведение собственных колебаний подрессориваемого объекта, такой режим испытаний не в полной мере соответствует эксплуатационному и результаты таких испытаний не могут считаться достоверными.
На стенде [20] обеспечивается возможность воспроизведения как статической, так и динамической составляющих характерных для эксплуатации нагрузочных режимов, при которых динамическая составляющая представляет собой сумму вынужденных и собственных колебаний подрессориваемого объекта на подвеске.
При установке стандартных, выпускаемых промышленностью, виброизоляторов в подвеску подрессориваемых объектов необходима информация о сроке эксплуатации, в течении которого будет обеспечена нормальная работа виброизоляторов в подвеске при заданных нагрузках и как будут меняться упругодемпфирующие характеристики виброизоляторов по мере исчерпания этого срока. Такого же рода информация необходима и для вновь спроектированных и изготовленных виброизоляторов. На предлагаемом стенде обеспечивается возможность проведения необходимых для получения такой информации ресурсных испытаний виброизоляторов.
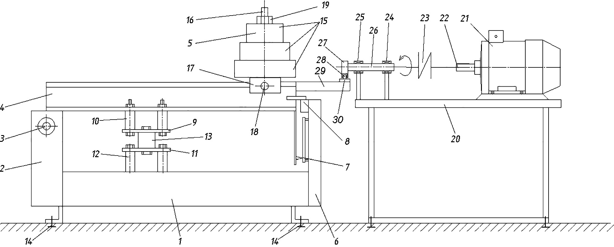
Стенд (рис. 7) содержит балку двутаврового профиля рамы 1 с горизонтальным расположением стенки, жёстко связанную с рамой 1 установленную на её конце вертикальную стойку 2, верхний конец которой осью качания 3 шарнирно связан с качающимся рычагом 4, выполненным в виде балки двутаврового профиля с вертикальным расположением стенки, установленный подвижно по всей длине качающегося рычага 4 груз 5, жёстко связанную с рамой 1 установленную на её другом конце вертикальную стойку 6 с размещёнными на ней регистрирующим 7 и спусковым 8 устройствами, верхнюю 9 опору испытуемого виброизолятора с опорными ножками 10, нижнюю 11 опору испытуемого виброизолятора с опорными ножками 12, испытуемый виброизолятор 13 и болты 14 крепления рамы 1.
Рис. 7. Схема стенда.
Fig. 7. A scheme of the rig.
Установленный подвижно по всей длине качающегося рычага 4, груз 5 (рис. 7 и рис. 8) включает в себя набор металлических дисков 15 разного диаметра и разной высоты (и, соответственно, разной массы), имеющих центральное отверстие, диаметр которого равен диаметру стягивающего болта 16, нижний конец которого жёстко связан с опорой 17 груза 5, в которой выполнены отверстия 18 для её крепления при помощи крепежа к верхней полке двутаврового профиля балки качающегося рычага 4, на верхнем конце стягивающего болта 16 установлена гайка 19, скрепляющая набор надеваемых на него металлических дисков груза 5.
Рис. 8. Качающийся рычаг.
Fig. 8. A rocking arm.
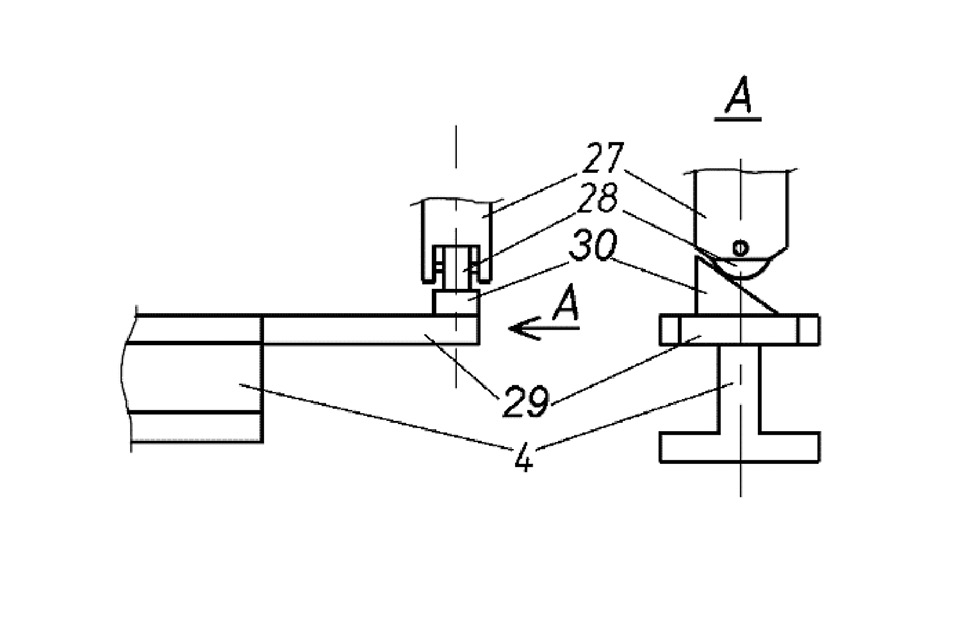
Нагрузочное устройство стенда для воспроизведения вынужденных колебаний, действующей на испытуемый виброизолятор 13 нагрузки, включает в себя (рис. 1) установленный на отдельном основании 20 приводной электродвигатель 21 постоянного тока с регулируемой частотой вращения, вал 22 которого через компенсационную муфту 23 связан с установленным в двух подшипниковых опорах 24 и 25 валом 26, на конце которого установлен нагружающий кулачок 27 с роликом 28 (рис. 7, рис. 9).
Рис. 9. Нагружающий кулачок с роликом.
Fig. 9. A loading cam with a roller.
С верхней полкой балки двутаврового профиля качающегося рычага 4 неподвижно связан установленный вдоль продольной оси этой полки кронштейн 29, на конце которого наклонная контактная площадка 30, с которой контактирует во время испытаний нагружающий кулачок 27 с роликом 28 (рис. 9).
Управление нагрузочным режимом на стенде осуществляется следующим образом. Между верхней 9 и нижней 11 опорами устанавливается испытуемый виброизолятор 13 (рис. 7). При замкнутом спусковом устройстве 8 на верхнюю полку балки рычага 4 на заданном расстоянии от стойки 2 устанавливается наборный груз 5 заданной массы. Вес груза 5, приведённый к оси испытуемого виброизолятора 13, должен соответствовать приходящейся на один виброизолятор части веса реального подрессориваемого объекта.
При срабатывании спускового устройства 8 под действием веса груза 5 балка, качающегося рычага 4, поворачивается относительно оси качания 3 и, через скреплённую с ней верхнюю опору 9, нагружает виброизолятор 13 (рис. 7). Таким образом, обеспечивается действие на виброизолятор статической составляющей нагрузки.
На конце вала 26 устанавливается нагружающий кулачок 27 с роликом 28 (рис. 9). При испытаниях величина эксцентриситета оси ролика 28 относительно оси вращения нагружающего кулачка 27 определяет амплитуду импульсного нагружающего воздействия на виброизолятор 13. Задаётся необходимая частота вращения вала электродвигателя 21 (рис. 7), определяющая частоту воспринимаемых виброизолятором вынужденных колебаний нагрузки. Таким образом, задаются параметры действующей на виброизолятор динамической составляющей нагрузки. Приводным электродвигателем 21 нагружающий кулачок 27 с роликом 28 приводится во вращение. В начальный момент контакта ролика 28 с наклонной контактной площадкой 30 импульсное нагружающее воздействие на виброизолятор 13 равно нулю, в последний момент контакта – максимуму. В течение каждого оборота кулачка 27 после прекращения контакта ролика 28 с площадкой 30 качающийся рычаг 4 и груз 5 совершают собственные колебания под действием силы упругости виброизолятора.
В таком заданном режиме осуществляются ресурсные испытания виброизолятора. При этом величина его деформации при нагружении и величина действующего на него в каждый момент времени усилия фиксируются регистрирующим устройством 7 (рис. 7), а основные параметры процесса нагружения записываются на диск ЭВМ. По завершении испытаний аналитический программный пакет ЭВМ по этой записи определяет ресурсные показатели испытуемого виброизолятора 13 и оценивает изменение во времени его виброизолирующих качеств.
На следующем этапе возможно проведение испытаний виброизолятора 13 с другими статической и динамической составляющими нагрузки. Для изменения величины статической составляющей изменяется масса груза 5 или с целью изменения плеча действия нагружающего усилия груз 5 перемещается на заданное расстояние по качающемуся рычагу 4 (рис.7 и 8), а его опора 16 фиксируется при помощи крепежа на верхней полке балки. Для изменения параметров динамической составляющей на конец вала 26 устанавливается нагружающий кулачок с роликом с другой величиной эксцентриситета его оси относительно оси вращения кулачка (рис. 9), определяющей амплитуду импульсного нагружающего воздействия на виброизолятор при вынужденных колебаниях, и задаётся определяемая этим режимом частота вращения приводного электродвигателя 21, определяющая частоту воспринимаемых испытуемым виброизолятором вынужденных колебаний нагрузки.
В итоге, за счёт того, что конструкция стенда позволяет изменять в широких пределах величину действующей на испытуемый виброизолятор статической составляющей нагрузки, а также изменять параметры динамической составляющей нагрузки обеспечивается возможность воспроизведения на стенде характерных для условий эксплуатации нагрузочных режимов, при которых динамическая составляющая представляет собой сумму вынужденных и собственных колебаний подрессориваемого объекта на подвеске.
ЗАКЛЮЧЕНИЕ
- Предложено техническое решение стенда для ресурсных испытаний резинометаллических виброизоляторов с воспроизведением на испытуемом виброизоляторе нагрузок эксплуатационного характера в вертикальном, продольно-осевом и поперечно-осевом направлениях. Конструкция стенда позволяет осуществлять нагружение виброизолятора осесимметричными и не осесимметричными нагрузками. Системой управления стенда реализуется программа нагружения, создаваемая на основе анализа основных статистических параметров эксплуатационных нагрузочных режимов, вследствие чего обеспечивается более высокая степень достоверности результатов испытаний.
- Для воспроизведения в стендовых условиях характерных для эксплуатации режимов нагружения виброизоляторов, которые в эксплуатации испытывают одновременно нагрузки со статической и динамической составляющими, предложено техническое решение стенда, обеспечивающего воспроизведение при ресурсных испытаниях нагрузочных режимов, при которых динамическая составляющая нагрузки формируется в результате вынужденных и собственных колебаний защищаемого объекта. Управление нагрузочными режимами стенда обеспечивает получение более достоверных результатов испытаний из-за приближения условий нагружения виброизолятора на стенде к эксплуатационным.
ДОПОЛНИТЕЛЬНО
Вклад авторов. З.А. Годжаев ― экспертная оценка, утверждение финальной версии; В.В. Шеховцов, М.В. Ляшенко — руководство работой, написание текста; П.В. Потапов — создание изображений, редактирование текста, обзор источников; Е.В. Клементьев — поиск публикаций по теме статьи, обзор источников. Авторы подтверждают соответствие своего авторства международным критериям ICMJE (все авторы внесли существенный вклад в разработку концепции, проведение исследования и подготовку статьи, прочли и одобрили финальную версию перед публикацией).
Конфликт интересов. Авторы декларируют отсутствие явных и потенциальных конфликтов интересов, связанных с публикацией настоящей статьи.
Источник финансирования. Исследование и публикация осуществлены при поддержке Российского научного фонда (Соглашение № 23-29-00289, от 13.01.2023, https://rscf.ru/project/23-29-00289/).
ADDITIONAL INFORMATION
Authors’ contribution. Z.A. Godzhaev ― expert opinion, approval of the final version; V.V. Shekhovtsov, M.V. Lyashenko ― work management, writing the text of the manuscript; P.V. Potapov ― editing the text of the manuscript, creating images, processing of publications; E.V. Klementiev ― search for publications, processing of publications. All authors made a substantial contribution to the conception of the work, acquisition, analysis, interpretation of data for the work, drafting and revising the work, final approval of the version to be published and agree to be accountable for all aspects of the work.
Competing interests. The authors declare that they have no competing interests.
Funding source. Research and publication were supported by Russian Scientific Foundation (Agreement № 23-29-00289, from 13.01.2023, https://rscf.ru/project/23-29-00289/).
About the authors
Zakhid A. Godzhaev
Federal Scientific Agroengineering Center VIM
Email: fic51@mail.ru
ORCID iD: 0000-0002-1665-3730
SPIN-code: 1892-8405
Professor, Dr. Sci. (Tech.), Corresponding Member of the Russian Academy of Sciences, Deputy Director for Innovational and Implemental Activities
Russian Federation, MoscowViktor V. Shekhovtsov
Volgograd State Technical University
Author for correspondence.
Email: shehovtsov@vstu.ru
ORCID iD: 0000-0002-5207-8972
SPIN-code: 1173-2370
Professor, Dr. Sci. (Tech.), Professor of the Technical Operation and Maintenance of Automobiles Department
Russian Federation, VolgogradMikhail V. Lyashenko
Volgograd State Technical University
Email: tslmv@vstu.ru
ORCID iD: 0000-0003-4502-2900
SPIN-code: 4291-3348
Professor, Dr. Sci. (Tech.), Professor of the Technical Operation and Maintenance of Automobiles Department
Russian Federation, VolgogradPavel V. Potapov
Volgograd State Technical University
Email: paulflinx@gmail.com
ORCID iD: 0000-0001-6645-6033
SPIN-code: 7042-2560
Associate Professor, Cand. Sci. (Tech.), Associate Professor of the Technical Operation and Maintenance of Automobiles Department
Russian Federation, VolgogradEvgeniy V. Klementiev
Volgograd State Technical University
Email: ts@vstu.ru
ORCID iD: 0009-0005-6187-0629
SPIN-code: 8291-1461
Head of the Laboratory of the Heat Engineering and Hydraulics Department
Russian Federation, VolgogradReferences
- Godzhaev ZA, Shekhovtsov VV. Modern design and technological methods for creating and testing mobile vehicles. Izvestiya VolgGTU. Seriya “Nazemnye transportnye sistemy”. Vyp. 4: mezhvuz. sb. nauch. st. 2011;12(85):5–8. (In Russ).
- Pobedin AV, Lyashenko MV, Shekhovtsov KV, Godzhayev ZA. Test-bench equipment for the testing of tractor cabin vibration isolators. Tractors and Agricultural Machinery. 2012;79(7):43–48. (In Russ). doi: 10.17816/0321-4443-69477
- Shekhovtsov VV, Lyashenko MV, Shevchuk VP, et al. Experimental determination of the characteristics of vibration isolators in the tractor cab. Mezhdunarodnyy nauchno-issledovatelskiy zhurnal. 2013;7(14)2:118–122. (In Russ).
- Shekhovtsov VV, Lyashenko MV, Shevchuk VP, et al. Bench equipment for testing tractor cabin vibration isolators. Mezhdunarodnyy nauchno-issledovatelskiy zhurnal. 2013;7(14)2:135–138. (In Russ).
- Shekhovtsov KV, Pobedin AV, Lyashenko MV, et al. Stand for testing vibration isolators. In: Automobile and tractor manufacturing in Russia: development priorities and personnel training: materials. international scientific-technical conf. Automobile associations Eng. (AAI), dedicated. 145th anniversary of MSTU “MAMI”. Moscow: MGTU «MAMI»; 2010;1:336–341. (In Russ).
- Pobedin AV, Kosov OD, Shekhovtsov VV, et al. Model of tractor cab suspension. In: Progress of vehicles and systems — 2009: material. international scientific and practical conference, Volgograd, October 13–15. 2009: at 2 p.m. Part 1. Volgograd: VolgGTU; 2009:222–223. (In Russ).
- Shekhovtsov VV, Pobedin AV, Lyashenko MV, et al. Development of a model and computational studies of vehicle cabin suspension. In: Design of wheeled vehicles: material. All-Russian scientific-technical conf., dedicated 100th anniversary of the start of preparations. Eng. in the automotive specialty at MSTU im. N.E. Bauman (Dec. 25–26, 2009) Moscow: MGTU im. N.E. Baumana; 2010;184–188. (In Russ).
- Godzhaev ZA, Kuzmin VA, Godzhaev TZ. Development of a hydraulic suspension system for vehicles based on various control laws. Problemy mashinostroeniya i nadezhnosti mashin. 2021;6:73–78. (In Russ). doi: 10.31857/S0235711921060080
- Shekhovtsov VV, Pobedin AV, Lyashenko MV, et al. Development and Calculation Researches of the Vehicle`s Cabin Suspension Model. In: XXIX Seminarium Kół Naukowych “Mechaników”, Warszawa, 22–23 kwietnia 2010 r.: referaty. Warszawa: Wojskowa Akademia Techniczna; 2010:453–458.
- Pobedin AV, Shekhovtsov VV, Shekhovtsov KV. Computational studies for improving the car cabin suspension. In: Kakoy avtomobil nuzhen Rossii?: mater. 69-y mezhdunar. nauch. tekhn. konf. Assotsiatsii avtomobilnykh inzhenerov (AAI). Omsk: SibADI; 2010:112–117.
- Shekhovtsov VV, Pobedin AV, Lyashenko MV, et al. Classification and Analysis of the Ways of Cabin Suspension Vibroinsulators` Characteristic Formation. In: XXIX Seminarium Kół Naukowych “Mechaników”, Warszawa, 22–23 kwietnia 2010 r.: referaty. Warszawa: Wojskowa Akademia Techniczna; 2010:449–452.
- Shekhovtsov VV, Lyashenko MV, Shevchuk VP, et al. Technical solutions for elastic-damping devices for tractor cab suspension. In: Mezhdunarodnyy nauchno-issledovatelskiy zhurnal. 2013;7(14)2:122–125. (In Russ).
- Pobedin AV, Kosov OD, Shekhovtsov VV, et al. Analysis of technical solutions for vibration isolators. In: Progress of vehicles and systems - 2009: material. international scientific and practical conference, Volgograd, October 13–15. 2009: at 2 hours Part 1. Volgograd: VolgGTU; 2009:210–211. (In Russ).
- Shekhovtsov VV, Pobedin AV, Kosov OD, et al. Analysis and classification of technical solutions for cabin suspension vibration isolators. In: Design of wheeled vehicles: material. All-Russian scientific-technical conf., dedicated 100th anniversary of the start of preparations. Eng. in automotive specialty at MSTU. N.E. Bauman (Dec. 25–26, 2009) Moscow: MGTU im. N.E. Baumana; 2010:181–184. (In Russ).
- Patent RUS 93477 / 27.04.2010. Byul. № 12. Shekhovtsov VV, Pobedin AV, Shevchuk VP, et al. Vibroizolyator. (In Russ). Accessed: 18.04.2023. Available from: https://yandex.ru/patents/doc/RU93477U1_20100427
- Patent RUS 100159 / 10.12.2010. Byul. № 34. Shekhovtsov VV, Pobedin AV, Shevchuk VP, et al. Vibroizolyator. (In Russ). Accessed: 18.04.2023. Available from: https://yandex.ru/patents/doc/RU100159U1_20101210
- Patent RUS 124340 / 20.01.2013 Byul. № 2. Shekhovtsov VV, Pobedin AV, Shevchuk VP, et al. Vibroizolyator. (In Russ). Accessed: 18.04.2023. Available from: https://yandex.ru/patents/doc/RU124340U1_20130120
- Patent RUS 136110 / 27.12.2013 Byul. № 36. Shekhovtsov KV, Sokolov-Dobrev NS, Pobedin AV, et al. Vibroizolyator kabiny transportnogo sredstva. (In Russ). Accessed: 18.04.2023. Available from: https://yandex.ru/patents/doc/RU136110U1_20131227
- Patent RUS 104714 / 20.05.2011 Byul. № 14. Shekhovtsov VV, Pobedin AV, Shevchuk VP, et al. Stend dlya ispytaniy vibroizolyatorov. (In Russ). Accessed: 18.04.2023. Available from: https://yandex.ru/patents/doc/RU104714U1_20110520
- Patent RUS 118056 / 10.07.2012 Byul. № 19. Shekhovtsov VV, Pobedin AV, Shevchuk VP, et al. Stend dlya ispytaniy vibroizolyatorov v rezhime vynuzhdennykh i sobstvennykh koleba-niy. (In Russ). Accessed: 18.04.2023. Available from: https://yandex.ru/patents/doc/RU118056U1_20120710
- Patent RUS 112416 / 10.01.2012 Byul. № 1. Shekhovtsov VV, Pobedin AV, Shevchuk VP, et al. Stend dlya ispytaniy vibroizolyatorov v rezhime vynuzhdennykh kolebaniy. (In Russ). Accessed: 18.04.2023. Available from: https://yandex.ru/patents/doc/RU112416U1_20120110
- Patent RUS 112417 / 10.01.2012. Byul. № 1. Shekhovtsov VV, Pobedin AV, Shevchuk VP, et al. Stend dlya ispytaniy vibroizolyatorov v rezhime vynuzhdennykh kolebaniy. (In Russ). Accessed: 18.04.2023. Available from: https://yandex.ru/patents/doc/RU112417U1_20120110
- Patent RUS 112415 / 10.01.2012. Byul. № 1. Shekhovtsov VV, Pobedin AV, Shevchuk VP, et al. Stend dlya ispytaniy vibroizolyatorov pri deystvii nagruzok s osevoy i bokovoy sostavlyayushchimi. (In Russ). Accessed: 18.04.2023. Available from: https://yandex.ru/patents/doc/RU112415U1_20120110
- Patent RUS 203608 / 14.04.2021. Byul. № 11. Shekhovtsov VV, Lyashenko MV, Potapov PV, et al. Stend dlya ispytaniy vibroizolyatorov kabiny transportnogo sredstva. (In Russ). Accessed: 18.04.2023. Available from: https://yandex.ru/patents/doc/RU203608U1_20210414
Supplementary files












